|
|
(21), (22) Заявка: 2005126657/06, 23.08.2005
(24) Дата начала отсчета срока действия патента:
23.08.2005
(46) Опубликовано: 10.04.2007
(56) Список документов, цитированных в отчете о поиске:
RU 2177111 C1, 20.12.2001. SU 954697 A2, 30.08.1982. SU 1602127 A1, 10.02.1997. SU 1076699 A, 28.02.1984. ЕР 0123986 A1, 07.11.1984.
Адрес для переписки:
191167, Санкт-Петербург, ул. Атаманская, 3/6, ОАО “НПО ЦКТИ”
|
(72) Автор(ы):
Белоусов Михаил Павлович (RU), Заёкин Леонид Петрович (RU), Великович Владимир Иосифович (RU), Василенко Геннадий Васильевич (RU), Лашицкий Алексей Петрович (RU)
(73) Патентообладатель(и):
Открытое акционерное общество “Научно-производственное объединение по исследованию и проектированию энергетического оборудования им. И.И. Ползунова” (ОАО “НПО ЦКТИ”) (RU)
|
(54) ГОРИЗОНТАЛЬНЫЙ ПОДОГРЕВАТЕЛЬ
(57) Реферат:
Изобретение относится к области энергетики и может быть использовано в теплообменных аппаратах регенеративных схем, систем теплоснабжения, предназначенных для подогрева воды за счет конденсации пара на трубах поверхности теплообмена. Предложен горизонтальный подогреватель, включающий корпус с патрубками входа пара, выхода его конденсата и неконденсирующихся газов, поворотную и распределительную водяные камеры с патрубками входа и выхода нагреваемой воды на распределительной камере, трубную систему, в нижней части которой установлен смешивающий воздухоохладитель, при этом смешивающий воздухоохладитель по всей длине трубной системы размещен в камере, торцевыми стенками которой являются вертикальные направляющие перегородки трубной системы, в боковой внутренней и наружной стенках камеры выполнены отверстия, а верхний и нижний листы камеры выполнены перфорированными и над ними установлены гидрозатворы, причем нижний перфорированный лист камеры установлен выше нижнего ряда труб первого хода и смещен относительно их в сторону корпуса. Заявляемое техническое решение позволяет за счет установки камеры с размещенным в ней смешивающим воздухоохладителем исключить проникновение к струям переохлажденного конденсата (в камеру) греющего пара, что позволяет исключить “запаривание” трубы отвода неконденсирующихся коррозионно-активных газов и провести греющим паром дополнительный подогрев и деаэрацию конденсата из смешивающего воздухоохладителя. 2 ил.
Изобретение относится к области энергетики и может быть использовано в теплообменных аппаратах регенеративных схем, систем теплоснабжения, предназначенных для подогрева воды за счет конденсации пара на трубах поверхности теплообмена.
Известен поверхностный подогреватель, содержащий корпус с патрубками подвода пара, отвода его конденсата и подвода конденсата из подогревателя с большим давлением пара в корпусе, распределительную водяную камеру с патрубками подвода и отвода нагреваемой воды, трубную систему, расположенную под распределительной водяной камерой. В нижней части корпуса под трубной системой за счет установки лотка выполнен воздухоохладитель смешивающего типа (SU 613159, МПК F 22 D 1/32, 1976 г.).
Недостатком известного подогревателя является недостаточно глубокое охлаждение конденсата греющего пара, поступающего в зону воздухоохладителя смешивающего типа. Это объясняется тем, что переохлаждение конденсата происходит при контакте с участком гибов труб поверхности теплообмена в конце первого и начале второго хода нагреваемой воды, когда эта вода частично нагрелась в зоне конденсации. Кроме того, при малых нагрузках, когда расход конденсата через отверстия в лотке воздухоохладителя уменьшен по сравнению с номинальным, возможно поступление пара через часть отверстий в лотке в зону воздухоохладителя и «запаривание» системы отвода неконденсирующихся газов. При больших нагрузках (по расходу конденсата) возможна неудовлетворительная деаэрация конденсата в смешивающем воздухоохладителе, что приводит к растворению в конденсате коррозионно-активных газов (воздуха) и ухудшению водно-химического режима в системе регенерации или теплоснабжения паровой турбины.
Известен подогреватель, включающий корпус с патрубком подвода пара и отвода его конденсата, распределительную водяную камеру с патрубками входа и выхода нагреваемой воды, горизонтальную трубную систему из U-образных труб или прямых труб поверхности теплообмена, часть нижних рядов труб первого хода нагреваемой воды размещена в лотке с перфорированным дном, что обеспечивает максимальное переохлаждение конденсата, поступающего в лоток. Лоток, каскад струй из перфорированного днища лотка образуют смешивающий воздухоохладитель (RU 2177111, МПК F 22 D 1/32, опубликовано 20.12.2001).
По совокупности признаков это известное техническое решение является наиболее близким к заявляемому и принято за прототип.
Недостатком известного подогревателя, принятого за прототип, является возможность поступления греющего пара в отверстия перфорации лотка при малых нагрузках (уменьшенный расход охлаждаемого конденсата). При этом греющий пар поступит к перфорированной трубе отвода неконденсирующихся коррозионно-активных газов (воздуха) и «запарит» ее, что приведет к накоплению в корпусе неконденсирующихся газов, ухудшению теплообмена и интенсификации коррозионных процессов внутри корпусных элементов подогревателя. При больших нагрузках (по расходу конденсата) не обеспечивается необходимая деаэрация в струях конденсата смешивающего воздухоохладителя и зараженный коррозионно-активными газами конденсат ухудшает водно-химический режим работы системы регенерации или теплоснабжения паротрубной установки.
Заявляемое техническое решение позволяет за счет установки камеры с размещенным в ней смешивающим воздухоохладителем исключить проникновение к струям переохлажденного конденсата (в камеру) греющего пара, что позволяет исключить “запаривание” трубы отвода неконденсирующихся коррозионно-активных газов и провести греющим паром дополнительный подогрев и деаэрацию конденсата из смешивающего воздухоохладителя.
Предложен горизонтальный подогреватель, включающий корпус с патрубками входа пара, выхода его конденсата и неконденсирующихся газов, поворотную и распределительную водяные камеры с патрубками входа и выхода нагреваемой воды на распределительной камере, трубную систему, в нижней части которой установлен смешивающий воздухоохладитель, при этом смешивающий воздухоохладитель по всей длине трубной системы размещен в камере, торцевыми стенками которой являются вертикальные направляющие перегородки трубной системы, в боковой внутренней и наружной стенках камеры выполнены отверстия, а верхний и нижний листы камеры выполнены перфорированными и над ними установлены гидрозатворы, причем нижний перфорированный лист камеры установлен выше нижнего ряда труб первого хода и смещен относительно их в сторону корпуса.
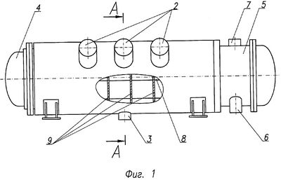
Изобретение иллюстрируется чертежами, где на фиг.1 изображен горизонтальный подогреватель, на фиг.2 – его поперечный разрез.
Горизонтальный подогреватель включает корпус 1 с патрубками входа пара 2 и выхода его конденсата 3, поворотную 4 водяную камеру и распределительную 5 водяную камеру, на которой установлены патрубки входа 6 и выхода 7 нагреваемой воды, трубную систему 8 с четырьмя ходами нагреваемой воды с вертикальными перегородками 9, между которыми располагается смешивающий воздухоохладитель в камере 10, образованный установкой боковой наружной стенкой 11 с отверстием 12, боковой внутренней стенкой 13 с отверстием 14, верхним перфорированным листом 15, над которым установлен гидрозатвор 16, нижним перфорированным листом 17 с гидрозатвором 18. Нижний перфорированный лист камеры 10 установлен выше нижнего ряда труб первого хода и смещен относительно их в сторону корпуса 1.
На нижних горизонтальных листах 19 и 20 соответственно гидрозатворов 16 и 18 может накапливаться конденсат, уровень которого определяется высотой вертикальных перегородок 21 и 22. Конденсат, накапливающийся на перегородке 19, затапливает часть труб первого хода нагреваемой воды на всей их длине.
Все листы 11, 13, 15, 17, 19-22 – вертикальные и горизонтальные листы гидрозатворов – плотно соединены с вертикальными перегородками 9. Отвод неконденсирующихся коррозионно-активных газов осуществляется через отверстие 12 и далее через патрубок 23 или горизонтальную перфорированную трубу, проходящую через все камеры 10.
Горизонтальный подогреватель работает следующим образом. Нагреваемая вода через патрубок 6 поступает в распределительную водяную камеру 5. Система перегородок в распределительной водяной камере 5 и поворотной камере 4 обеспечивает организацию четырех ходов нагреваемой воды. Количество ходов может быть как уменьшено, так и увеличено. После четвертого хода нагреваемая вода выводится из подогревателя через патрубок 7. Поток греющего пара через патрубок 2 поступает в корпус 1 и распределяется по всей длине трубной системы в зазоре, между внешним рядом труб трубной системы 8 и корпусом 1. Из этого зазора греющий пар одновременно поступает на трубы I-IV ходов нагреваемой воды (целесообразно организовать последовательное омывание паром труб в начале IV хода, затем III, II и I ходов).
Несконденсировавшаяся на трубах IV, III, II и частично I хода часть пара с повышенным в ней содержанием неконденсирующихся газов (воздуха) поступает в центральный участок труб первого хода. После этих труб пар, а точнее паровоздушная смесь, поступает в смешивающий воздухоохладитель в камеру 10.
В камере 10 на струях переохлажденного конденсата, вытекающего из отверстий верхнего перфорированного листа 15, пар из паровоздушной смеси конденсируется, концентрация неконденсирующихся газов повышается и через отверстие 12 и патрубок 19 отводится из подогревателя.
Переохлаждение конденсата, поступающего в камеру 10, обеспечивается затоплением им части труб поверхности теплообмена первого хода. Гидрозатвор 16 препятствует поступлению греющего пара через отверстие листа 15 в камеру 10. Такую же функцию выполняет гидрозатвор 18, препятствуя поступлению пара в камеру 10 через отверстия в листе 17. Вытекающий из отверстий листа 17 конденсат дополнительно нагревается и деаэрируется греющим паром. Поэтому в дальнейшем не происходит заражения коррозионно-активными газами системы теплоснабжения или регенерации паровой турбины.
Формула изобретения
Горизонтальный подогреватель, включающий корпус с патрубками входа пара, выхода его конденсата и неконденсирующихся газов, поворотную и распределительную водяные камеры с патрубками входа и выхода нагреваемой воды на распределительной камере, трубную систему, в нижней части которой установлен смешивающий воздухоохладитель, отличающийся тем, что смешивающий воздухоохладитель по всей длине трубной системы размещен в камере, торцевыми стенками которой являются вертикальные направляющие перегородки трубной системы, в боковой внутренней и наружной стенках камеры выполнены отверстия, а верхний и нижний листы камеры выполнены перфорированными и над ними установлены гидрозатворы, причем нижний перфорированный лист камеры установлен выше нижнего ряда труб первого хода и смещен относительно них в сторону корпуса.
РИСУНКИ
|
|