|
|
(21), (22) Заявка: 2005135192/06, 14.11.2005
(24) Дата начала отсчета срока действия патента:
14.11.2005
(46) Опубликовано: 10.04.2007
(56) Список документов, цитированных в отчете о поиске:
WO 97/46828 A1, 11.12.1997. SU 1409838 A1, 15.07.1988. RU 2250412 C1, 27.12.2001. RU 2221196 C1, 10.01.2004. DE 2938324 А, 09.04.1981. ЕР 0048831 А, 29.08.1981.
Адрес для переписки:
607188, Нижегородская обл., г. Саров, пр. Мира, 37, ФГУП “РФЯЦ-ВНИИЭФ”, начальнику ОПИНТИ
|
(72) Автор(ы):
Шеин Игорь Григорьевич (RU), Мишанин Сергей Владимирович (RU), Бризицкий Олег Федорович (RU), Пелепейченко Наталия Викторовна (RU)
(73) Патентообладатель(и):
Российская Федерация в лице Федерального агентства по атомной энергии (RU), Федеральное государственное унитарное предприятие “Российский федеральный ядерный центр – Всероссийский научно-исследовательский институт экспериментальной физики” (ФГУП “РФЯЦ – ВНИИЭФ”) (RU)
|
(54) ПАРОГЕНЕРАТОР
(57) Реферат:
Изобретение предназначено для производства пара и может быть использовано в различных областях промышленности, например энергетической, химической. Парогенератор содержит цилиндрический корпус, змеевик и коаксиальную вставку. Продольные кольцевые каналы между корпусом и змеевиком, между вставкой и змеевиком различны по сечению, причем первый больше второго, и сформированы с учетом обеспечения максимальной интенсификации теплообмена, а вставка выполнена разборной. Кроме того, шаг между витками змеевика выполнен минимально возможным, гарантирующим наличие зазора между соседними витками. Поверхности корпуса и вставки, формирующие продольные кольцевые каналы, могут быть выполнены профилированными. Корпус парогенератора может быть теплоизолирован. Изобретение обеспечивает повышение эффективности теплообмена. 4 з.п. ф-лы, 2 ил.
Изобретение относится к теплотехнике и может быть использовано в различных областях промышленности, например энергетической, химической.
Известен кожухотрубный змеевиковый теплообменник, в котором один теплоноситель движется внутри трубы змеевика, а другой – по каналу, образованному кожухом и витками его труб, омывая их наружную поверхность. Однако сравнительно малые скорости омывающего змеевик теплоносителя не позволяют получить высокие коэффициенты теплоотдачи (Бажан П.И. Справочник по теплообменным аппаратам. М.: Машиностроение, 1989, с.59, рис.1.17).
Известен кожухотрубный теплообменник, содержащий пучок трубных змеевиков с витками, образующими стенки продольных каналов, имеющих щелевые зазоры между трубами смежных витков, внутри каналов расположены коаксиальные гофрированные вытеснители, выполненные из полых конических элементов. Один теплоноситель движется внутри труб змеевика, другой – по каналам между поверхностью витков и коническими вытеснителями (п. РФ №2036406, F 28 D 7/02, опубл. в БИ №15, 1995 г.).
Недостатком такого теплообменника является сложность изготовления, вызванная необходимостью соблюдения точного взаимного расположения элементов конструкции (например, гофр змеевика и вытеснителей), неразборная конструкция вытеснителей исключает возможность их обслуживания, а также недостаточно эффективная организация процесса теплообмена.
Наиболее близким по технической сущности к предлагаемому изобретению является теплообменник, содержащий корпус, установленный коаксиально с корпусом стакан и размещенный в кольцевом зазоре между ними цилиндрический змеевик. Витки змеевика выполняют с одинаковым диаметром навивки (Бажан П.И. Справочник по теплообменным аппаратам. М.: Машиностроение, 1989, с.59, рис.1.16).
Продольные каналы между корпусом и змеевиком, вставкой и змеевиком сформированы произвольно, без учета возможности интенсификации теплообмена, что снижает эффективность теплообменника. К тому же конструкция стакана неразборная, что исключает возможность моделирования и оптимизации теплообмена при работе в широком диапазоне режимов функционирования теплообменника (отсутствует возможность поддержания высокой эффективности теплообмена регулировкой величины продольных каналов, используя подбор оптимальной геометрии стакана).
Задачей предлагаемого изобретения является повышение эффективности теплообмена за счет его интенсификация и обеспечение возможности моделирования и оптимизации теплообмена при работе в широком диапазоне режимов функционирования парогенератора.
Решение поставленной задачи достигается тем, что в парогенераторе, содержащем цилиндрический корпус, змеевик и коаксиальную вставку, продольные кольцевые каналы между корпусом и змеевиком, между вставкой и змеевиком сформированы с учетом обеспечения максимальной интенсификации теплообмена, а вставка выполнена разборной.
Кроме того, шаг между витками змеевика выполнен минимально возможным, гарантирующим наличие зазора между соседними витками. Поверхности корпуса и вставки, формирующие продольные кольцевые каналы, могут быть выполнены профилированными. Корпус парогенератора может быть теплоизолирован.
Обычно в кожухотрубных змеевиковых теплообменниках обтекание змеевика внешним теплоносителем осуществляется равномерно со всех сторон практически с одинаковой скоростью. Однако известно, что теплоотдача в криволинейном канале, каковым является змеевик, не одинакова по сечению канала вследствие воздействия инерционных сил. В криволинейном канале центробежные силы ориентированы по-разному по отношению к различным участкам поверхности теплообмена. Поэтому естественно, что коэффициент теплоотдачи изменяется по периметру поперечного сечения канала, а благодаря так называемым вторичным течениям средняя теплоотдача в криволинейном канале увеличивается по сравнению с теплоотдачей прямого канала. В результате вторичных течений жидкость, протекающая через центральную часть канала и имеющая наибольший температурный напор по отношению к поверхности теплообмена, направляется к внешней (вогнутой) стенке змеевика. На этом участке поверхности теплообмена температурный градиент имеет наибольшее значение, соответственно наибольшей будет и интенсивность теплообмена. По обратной причине теплообмен на внутренней (выпуклой) поверхности будет наименее интенсивен.
Кроме того, при увеличении шага между витками змеевика кривизна оси трубы уменьшается, соответственно уменьшается воздействие и инерционных сил на поток жидкости (газа). Следовательно, для улучшения теплообмена следует стремиться к минимально возможному шагу витков змеевика, предусматривающему наличие зазора между соседними витками. Минимально возможный шаг определяется по конструктивным, технологическим соображениям и исходя из ограничений по газодинамике (Щукин В.К. Теплообмен и гидродинамика внутренних потоков в полях массовых сил. М.: Машиностроение, 1980 г., стр.33-73).
Исходя из вышеизложенного, для повышения эффективности теплообмена следует организовать процесс с учетом разницы в интенсивности теплообмена по периметру витка змеевика. Повысить эффективность теплообмена позволит прохождение большей части внешнего теплоносителя с наиболее активной с точки зрения теплообмена вогнутой стороны змеевика, где коэффициент теплоотдачи наибольший. Это достигается увеличением площади сечения продольного канала, сформированного между корпусом и змеевиком, по сравнению с площадью сечения канала между змеевиком и вставкой. Тем самым увеличивается количество внешнего теплоносителя контактирующего с наиболее активной с точки зрения теплообмена поверхностью змеевика. Дополнительному повышению эффективности теплообмена будет способствовать профилированная геометрия внутренней поверхности корпуса (не показано), вызывающая разрушение пограничного слоя и турбулизацию потока внешнего теплоносителя.
Также интенсификации теплообмена будет способствовать увеличение скорости обтекания внешним теплоносителем внутренней или выпуклой части поверхности змеевика вследствие уменьшения площади сечения соответствующего продольного канала между вставкой и змеевиком. Гофрированный профиль стенки канала, сформированной витками змеевика, будет к тому же способствовать образованию вихрей в области между соседними витками, их интенсивному перемешиванию и перемещению, что также интенсифицирует теплообмен с выпуклой части поверхности змеевика.
Минимально возможный шаг, формирующий зазоры между витками змеевика, способствует перетеканию части внешнего теплоносителя в направлении от корпуса к вставке и обратно, разрушая тем самым пограничный слой, перемешивая поток и интенсифицируя теплообмен. Для дополнительной интенсификации теплообмена наружную поверхность вставки, формирующей продольный кольцевой канал, можно выполнить также профилированной (не показано).
Коэффициент теплоотдачи меняется не пропорционально изменению объема внешнего теплоносителя, проходящего через продольные кольцевые каналы между корпусом и змеевиком, змеевиком и вставкой (зависимость с числом Нуссельта не линейная). Разборная конструкция парогенератора позволяет экспериментальным путем определить оптимальный с точки зрения эффективности теплообмена диаметр вставки.
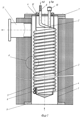
На фиг.1 изображен общий вид парогенератора.
На фиг.2 изображен элемент А (фрагмент парогенератора), иллюстрирующий зазор между соседними витками змеевика и разделение внешнего теплоносителя на два потока W1 и W2, направляющихся в продольные каналы парогенератора.
Парогенератор содержит теплоизолированный корпус 1, внутри которого установлены змеевик 2 с витками 3 равного диаметра и разборная вставка 4. Корпус 1 и вставка 4 имеют цилиндрическую форму, равно как и образующая витков 3 змеевика 2. Предложенная конструкция формирует два продольных кольцевых канала 5 и 6, образованных соответственно между корпусом 1 и змеевиком 2, змеевиком 2 и вставкой 4. Парогенератор имеет съемную крышку 7 с вводом 8 подачи воды, циркулирующей внутри змеевика 2. Подача другого (внешнего) теплоносителя, например продуктов сгорания природного газа в горелочном устройстве, осуществляется через ввод 9 снизу корпуса 1. В съемной крышке 7 для отвода пара за пределы парогенератора служит вывод 10, а охлажденный внешний теплоноситель отводится через вывод 11. Для моделирования процессов теплообмена на разных режимах работы парогенератора вставка 4 может извлекаться и заменяться. Для этой цели (монтажа и демонтажа вставки 4) предусмотрены болты 12.
Имеющиеся зазоры между витками 3 змеевика 2 позволяют внешнему теплоносителю перетекать из продольного кольцевого канала 5 в канал 6 и обратно, разрушая при этом пограничный слой, обеспечивая турбулизацию потока и наилучшее обтекание витков 3 как со стороны корпуса 1, так и со стороны вставки 4, что интенсифицирует теплообмен. Интенсификации теплообмена также будет способствовать согласование профилей корпуса 1, змеевика 2 и вставки 4. С этой целью поверхности корпуса 1 и вставки 4, формирующие продольные кольцевые каналы 5 и 6, могут быть как цилиндрическими, так и профилированными (волнообразными, с коническими участками) с определенным шагом конфузорно-диффузорных участков.
Парогенератор работает следующим образом.
В змеевик 2 через ввод 8 в крышке 7 подается вода, а внешний теплоноситель через ввод 9 одновременно подается в продольные каналы между корпусом 1 и змеевиком 2, змеевиком 2 и вставкой 4 в объеме W1 и W2 соответственно (Фиг.2). В результате взаимодействия теплоносителей вода в змеевике 2 нагревается, превращается в пар и отводится за пределы парогенератора через вывод 10, а охлажденный внешний теплоноситель отводится через вывод 11.
Типоразмер вставки 4 может меняться в зависимости от режима эксплуатации парогенератора. Для замены вставки 4 предусмотрена возможность ее демонтажа. Закрепление сменной вставки 4 на крышке 7 осуществляется при помощи болтов 12.
Формула изобретения
1. Парогенератор, содержащий цилиндрический корпус, съемную крышку со змеевиком, коаксиальную вставку, вводы/выводы теплоносителей, отличающийся тем, что продольные кольцевые каналы между корпусом и змеевиком, между вставкой и змеевиком различны по сечению, причем первый больше второго, и сформированы, исходя из возможности максимальной интенсификации теплообмена.
2. Парогенератор по п.1, отличающийся тем, что вставка выполнена разборной.
3. Парогенератор по п.1, отличающийся тем, что шаг между витками змеевика выполнен минимально возможным, гарантирующим наличие зазора между соседними витками.
4. Парогенератор по п.1, отличающийся тем, что поверхности корпуса и вставки, формирующие продольные кольцевые каналы, выполнены профилированными.
5. Парогенератор по п.1, отличающийся тем, что корпус парогенератора теплоизолирован.
РИСУНКИ
|
|