|
|
(21), (22) Заявка: 2004135673/06, 06.12.2004
(24) Дата начала отсчета срока действия патента:
06.12.2004
(43) Дата публикации заявки: 20.05.2006
(46) Опубликовано: 10.04.2007
(56) Список документов, цитированных в отчете о поиске:
SU 1201600 А, 30.12.1985. SU 420836 А, 25.03.1974. SU 653470 A, 25.03.1979. RU 18431 U1, 20.06.2001. RU 2219400 C2, 20.12.2003. SU 1153160 A, 30.04.1985. FR 2356066 A1, 20.01.1978.
Адрес для переписки:
153003, г.Иваново, ул. Рабфаковская, 34, ИГЭУ, начальнику патентно-информационного отдела, В.П. Яблокову
|
(72) Автор(ы):
Перминов Сергей Михайлович (RU), Щелыкалов Юрий Яковлевич (RU)
(73) Патентообладатель(и):
Государственное образовательное учреждение высшего профессионального образования “Ивановский государственный энергетический университет имени В.И.Ленина” (RU), Перминов Сергей Михайлович (RU), Щелыкалов Юрий Яковлевич (RU)
|
(54) САМОЗАПРАВЛЯЮЩЕЕСЯ МАГНИТОЖИДКОСТНОЕ УПЛОТНЕНИЕ ВАЛА
(57) Реферат:
Изобретение предназначено для герметизации вращающихся валов в машиностроении. В кольцевой магнитной системе полюсная приставка на торце со стороны повышенного давления имеет кольцевую камеру под магнитную жидкость, примыкающую к рабочему зазору. Кроме этого при вертикальном расположении вала камера выполнена преимущественно из диамагнитного материала, а при горизонтальном расположении вала из магнитного материала. Изобретение обеспечивает качественную заправку уплотнения с многозубцовыми полюсами, упрощает конструкцию уплотнения и технологию его заправки. 1 з.п. ф-лы, 3 ил.
Изобретение относится к машиностроению и предназначено для уплотнения вращающихся валов.
Известен уплотнительный узел SU 420836, содержащий немагнитный корпус, кольцевой постоянный магнит, полюсные приставки, на обращенных к валу поверхностях которых выполнены кольцевые канавки, и зазор, заполненный магнитной жидкостью. Его недостатком является сложность заправки уплотнения вала.
Наиболее близким к предлагаемому изобретению является магнитожидкостное уплотнение вала, преимущественно вертикальных валов /SU 1201600/.
Уплотнение вала содержит кольцевую магнитную систему, образующую с втулкой вала зазоры, заполненные магнитной жидкостью. На торцевых поверхностях втулки выполнены кольцевые канавки, в которые входят выступы корпуса, образующие с магнитной жидкостью и уплотняемой жидкой средой газонаполненную полость.
Недостатками уплотнения являются сложность и ненадежность заправки при многозубцовых полюсах.
Технический результат, достигаемый предлагаемым изобретением, заключается в качественной заправке уплотнения с многозубцовыми полюсами, то есть в заправке каждого зубца оптимальным объемом магнитной жидкости, в упрощении конструкции уплотнения и технологии его заправки.
Это достигается тем, что в кольцевой магнитной системе полюсная приставка на торце, со стороны повышенного давления, имеет кольцевую камеру под магнитную жидкость, примыкающую к рабочему зазору. Кроме этого при вертикальном расположении вала камера выполнена преимущественно из диамагнитного материала, а при горизонтальном расположении вала из магнитного материала.
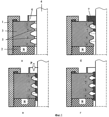
На фиг.1а изображен общий вид уплотнения, на фиг.1б – вид уплотнения с заполненной магнитной жидкостью камерой, на фиг.1в – распределение магнитной жидкости между зубцами полюсной приставки при создании перед уплотнением повышенного давления, фиг.1г – положение магнитной жидкости в зазоре уплотнения при снятии давления, на фиг.2 – горизонтальное расположение магнитожидкостного уплотнения, на фиг.3 – магнитожидкостное уплотнение с камерой из диамагнитного материала.
В корпусе 1 установлен постоянный магнит 2 с примыкающими к нему полюсными приставками 3, с обращенными к валу 4 зубцами 5. Полюсная приставка 3 на торце, со стороны повышенного давления, имеет кольцевую камеру 6, примыкающую к зазору. При вертикальном расположении вала камера выполнена преимущественно из диамагнитного материала (фиг.3), а при горизонтальном расположении вала из магнитного материала. Камера 6 заполнена магнитной жидкостью 7.
Уплотнение работает следующим образом. Постоянный магнит 2 в уплотнении служит источником магнитного поля. Создаваемый им магнитный поток полюсными приставками 3 подводится к зазору с валом 4. Зубцы полюсных приставок 5 перераспределяют магнитный поток в зазоре, и магнитное поле становится резко неоднородным. Магнитная жидкость 7 вводится в камеру 6 и удерживается от вытекания магнитным полем камеры. Магнитная жидкость втягивается магнитным полем под первый со стороны камеры зубец, и небольшой ее объем перескакивает под второй зубец. В замкнутой полости между первым и вторым зубцами создается повышенное давление, которое препятствует дальнейшему проникновению жидкости в зазор. В таком состоянии уплотнение готово к работе и может находиться в изделии или на складе. Если уплотнение находится в действующей установке, при повышении давления перед уплотнением магнитная жидкость будет проталкиваться в рабочий зазор и перераспределяться между зубцами (фиг.3), где она втягивается в области с максимальной напряженностью и образует герметичные магнитожидкостные пробки. Каждая пробка способна воспринимать перепад давлений, который определяется по формуле:
,
где 0 – магнитная постоянная,
М – намагниченность магнитной жидкости,
Н – напряженность магнитного поля в зазоре на поверхности вала,
Нmax и Hmin – максимальная и минимальная напряженности магнитного поля на границах магнитожидкостной пробки в момент удержания ею максимального перепада давлений.
Перепад давлений, удерживаемый уплотнением, определяется суммой перепадов всех магнитожидкостных пробок под зубцами.
При снятии с уплотнения перепада давлений магнитная жидкость принимает под зубцами симметричное положение и не возвращается в заправочную камеру 6 (фиг.1г).
Если заправочная камера выполнена из магнитопроводящего материала, то вал может располагаться вертикально, горизонтально и под произвольным углом. Магнитная жидкость удерживается от вытекания магнитным полем камеры. Но если вал расположен всегда вертикально, заправочная камера может изготавливаться из немагнитного материала (фиг.3) В этом случае вытеканию жидкости препятствуют силы гравитации.
Таким образом, предлагаемое изобретение обеспечивает самозаправляемость уплотнения, повышает надежность и упрощает технологию эксплуатации уплотнения.
Формула изобретения
1. Самозаправляющееся магнитожидкостное уплотнение (МЖУ) вала, содержащее кольцевую магнитную систему с полюсной приставкой с зубцами, отличающееся тем, что полюсная приставка на торце со стороны повышенного давления имеет кольцевую камеру под магнитную жидкость, примыкающую к рабочему зазору.
2. Самозаправляющееся МЖУ вала по п.1, отличающееся тем, что при вертикальном расположении вала камера выполнена преимущественно из диамагнитного материала, а при горизонтальном расположении вала из магнитного материала.
РИСУНКИ
|
|