|
|
(21), (22) Заявка: 2004135278/06, 02.12.2004
(24) Дата начала отсчета срока действия патента:
02.12.2004
(46) Опубликовано: 10.04.2007
(56) Список документов, цитированных в отчете о поиске:
SU 723281 А, 25.03.1980. SU 1048217 А, 15.10.1983. SU 806964 A, 23.02.1981. SU 1153160 A, 30.04.1985. SU 1000646 A, 28.02.1983. SU 420836 A, 25.03.1974. FR 2356066 A1, 20.01.1978.
Адрес для переписки:
153003, г.Иваново, ул. Рабфаковская, 34, ИГЭУ, начальнику патентно-информационного отдела В.П. Яблокову
|
(72) Автор(ы):
Перминов Сергей Михайлович (RU), Щелыкалов Юрий Яковлевич (RU)
(73) Патентообладатель(и):
Государственное образовательное учреждение высшего профессионального образования “Ивановский энергетический университет им. В.И.Ленина” (RU), Перминов Сергей Михайлович (RU), Щелыкалов Юрий Яковлевич (RU)
|
(54) СПОСОБ ЗАПРАВКИ МАГНИТОЖИДКОСТНОГО УПЛОТНЕНИЯ ВАЛА
(57) Реферат:
Изобретение относится к способам заправки магнитожидкостного уплотнения вала. Способ заправки многозубцового магнитожидкостного уплотнения вала заключается во введении магнитной жидкости в зазор между уплотнением и валом со стороны повышенного давления на уплотнении, при этом межзубцовые полости только на время заправки соединяют каналами с окружающей средой. Изобретение позволяет осуществить качественную заправку уплотнения, то есть под каждый зубец полюса ввести оптимальный объем магнитной жидкости, обеспечить повышенную надежность уплотнения, упрощает технологию заправки уплотнения. 2 ил.
Изобретение относится к машиностроению и предназначено для заправки магнитожидкостных уплотнений.
Известен способ заправки зазоров магнитожидкостных уплотнений магнитной жидкостью, реализованный в /1/ путем ее выдавливания из эластичных камер, расположенных в канавках полюсных наконечников, через каналы в зазор во время сборки уплотнения.
Недостатком способа является сложность и невозможность заправки многозубцовых полюсных приставок.
Известен способ заправки магнитожидкостных уплотнений магнитной жидкостью, реализованный в /2/, где магнитная жидкость подается в промежуточные полости под магнитами с помощью распределительного устройства, находящегося в полости вала, через канал и отверстия.
Недостатками данного способа являются: сложность, ненадежность, невозможность осуществления заправки при многозубцовых полюсах. Сложность заключается в необходимости последовательного точного совмещения каждого заправочного отверстия с заправочным каналом распределительного устройства в процессе заправки. Ненадежность обусловлена тем, что все заправочные отверстия выходят в полость вала, и недостаточная герметичность распределительного устройства приводит к шунтированию всех ступеней уплотнения через данную полость, а следовательно, разгерметизации уплотнения. Невозможность заправки многозубцовых полюсов объясняется тем, что вводимая в полости под магнитами жидкость из-за образования замкнутых полостей в межзубцовом пространстве дальше второго зубца не проникает.
Технический результат, достигаемый предлагаемым изобретением, заключается в качественной заправке уплотнения с многозубцовыми полюсами, где под качеством заправки понимается заправка каждого зубца требуемым объемом магнитной жидкости без разборки уплотнения в любой востребованный момент времени, в упрощении технологии его заправки.
Результат достигается тем, что магнитную жидкость вводят в зазор между уплотнением и валом со стороны повышенного давления на уплотнении, а межзубцовые полости только на время заправки соединяют каналами с окружающей средой.
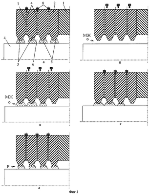
На фиг.1(а, б, в, г, д) показаны этапы заправки уплотнения по данному способу, на фиг.2 – графическое представление о распределении напряженности магнитного поля в зазоре на поверхности вала.
В магнитожидкостном уплотнении (фиг.1а) к постоянному магниту 1 примыкают полюсные приставки 2, имеющие зубцы 3, обращенные к валу 4. Каждый зазор между зубцом и валом заполнен магнитной жидкостью 5. Полости 6, образующиеся между зубцами, соединены каналами 7 с окружающей средой, а следовательно, и между собой. Каналы 7 в рабочем состоянии имеют герметичные заглушки 8.
Уплотнение работает следующим образом. Постоянный магнит 1 в уплотнении служит источником магнитного поля. Создаваемый им магнитный поток полюсными приставками 2 подводится к зазору с валом 4. Зубцы полюсных приставок 3 перераспределяют магнитный поток в зазоре, и магнитное поле становится резко неоднородным. Магнитная жидкость 5 втягивается в области с максимальной напряженностью и образует герметичные пробки с повышенным внутренним давлением. Каждая магнитожидкостная пробка способна воспринимать перепад давлений, который определяется по формуле:

где 0 – магнитная постоянная,
М – намагниченность магнитной жидкости,
Н – напряженность магнитного поля в зазоре на поверхности вала,
Нmax и Hmin – максимальная и минимальная напряженности магнитного поля на границах магнитожидкостной пробки в момент удержания ею максимального перепада давлений.
Перепад давлений, удерживаемый уплотнением, определяется суммой перепадов всех магнитожидкостных пробок под зубцами.
Заправка магнитной жидкостью рабочего зазора между полюсными приставками и валом уплотнения производится следующим образом. Из полюсной приставки удаляются герметичные заглушки 8 (фиг.1б), при этом межзубцовые полости 6 соединяются с атмосферой через каналы 7. Под многозубцовым полюсом существует волнообразное распределение магнитного поля, чередование максимумов и минимумов напряженности (фиг.2). Линии АВ – линии максимальной напряженности магнитного поля под зубцами. Линии CD – линии минимальной напряженности магнитного поля под зубцами, их можно условно назвать линиями симметрии магнитного поля, разделяющими магнитные поля двух соседних зубцов. При смещении от каждой линии CD хоть вправо, хоть влево напряженность поля будет возрастать. Магнитная жидкость стремится в первую очередь занять области с максимальной напряженностью поля. Магнитная жидкость вводится в зазор с торца полюсной приставки, которая расположена со стороны повышенного давления, создаваемого на уплотнении. При приближении к зазору жидкость захватывается магнитным полем и втягивается под первый зубец. По мере подачи жидкости объем магнитной пробки под зубцом увеличивается и наступает момент, когда правая граница пробки достигает линии симметрии магнитного поля CD, разделяющей магнитные поля двух соседних зубцов (фиг.2). Жидкость, которая переходит эту линию, захватывается магнитным полем второго зубца и переносится в область максимальной напряженности под вторым зубцом. Магнитожидкостная пробка под вторым зубцом увеличивается до тех пор, пока правая граница пробки не достигнет линии минимальной напряженности между вторым и третьим зубцом. После этого начинается процесс формирования пробки под третьим зубцом и т.д. Таким способом вводится в зазор весь объем магнитной жидкости, необходимый для заправки уплотнения (фиг.1в). Магнитная жидкость втягивается в зазор без препятствий благодаря тому, что межзубцовые полости соединены каналами с атмосферой и в них не образуется воздушных пробок с повышенным давлением. После этого каналы 7 закрываются заглушками 8 (фиг.1г). На уплотнении плавно повышают перепад давлений, и магнитная жидкость начинает последовательно перераспределяться по остальным зубцам уплотнения. Давление повышается до тех пор, пока магнитная жидкость не появится под последним зубцом с противоположной стороны уплотнения (фиг.1д). Перепад давлений с уплотнения снимается, жидкость принимает положение, близкое к показанному на фиг.1а. После чего уплотнение считается заправленным и готовым к хранению или эксплуатации.
Таким образом, предлагаемый способ позволяет осуществить качественную заправку уплотнения, то есть под каждый зубец полюса ввести оптимальный объем магнитной жидкости, обеспечить повышенную надежность уплотнения, упрощает технологию заправки уплотнения.
Источники информации
1. Авторское свидетельство СССР №779697, МКИ 2, F16J 15/54.
2. Авторское свидетельство СССР №723281, МКИ 2, F16J 15/40.
Формула изобретения
Способ заправки многозубцового магнитожидкостного уплотнения вала, заключающийся во введении магнитной жидкости в зазор между уплотнением и валом, отличающийся тем, что магнитную жидкость вводят в зазор со стороны повышенного давления на уплотнении, а межзубцовые полости только на время заправки соединяют каналами с окружающей средой.
РИСУНКИ
|
|