|
|
(21), (22) Заявка: 2005138470/11, 12.12.2005
(24) Дата начала отсчета срока действия патента:
12.12.2005
(46) Опубликовано: 10.04.2007
(56) Список документов, цитированных в отчете о поиске:
RU 2071004 C1, 27.12.1996. SU 1320575 A1, 30.06.1987. SU 1237838 A1, 15.06.1986.
Адрес для переписки:
141080, Московская обл., г. Королев, ул. Горького, 3, кв.245, Е.А. Шолоховой
|
(72) Автор(ы):
Шолохов Альберт Всеволодович (RU), Шолохова Елена Альбертовна (RU)
(73) Патентообладатель(и):
Шолохов Альберт Всеволодович (RU), Шолохова Елена Альбертовна (RU), ООО “Новая Механика” (RU)
|
(54) РЕДУКТОР
(57) Реферат:
Изобретение относится к машиностроению и может быть использовано как составная часть силовых и кинематических редукторов. Редуктор содержит корпус, ведущий и ведомый валы, зубчатое колесо с внутренней зубчатой нарезкой, эксцентрик, элементы прижатия к профилированной поверхности эксцентрика через подшипник качения в виде пружин, по крайней мере, одну пару поворотных рычагов, толкатели рычагов, подпружиненные к внутренней нарезке зубчатого колеса. Касательная плоскость в месте контакта эксцентрика и поворотного рычага проходит через центровую линию оси того же поворотного рычага. Число зубьев зубчатого колеса равно передаточному числу редуктора. Приведены математические формулы для расчета величины эксцентриситета эксцентрика редуктора, ширины зубьев зубчатого колеса по дуге его начальной окружности, расстояния от центровой линии оси рычага до линии начальной окружности зубчатого колеса. Технический результат – увеличение точности выходных характеристик редуктора за счет точного определения кинематических параметров редуктора, увеличение к.п.д. редуктора и увеличение его ресурса за счет уменьшения износа контактирующих поверхностей. 4 ил.
Изобретение относится к области механических передач и может быть использовано как составная часть силовых и кинематических редукторов. Известен редуктор, содержащий корпус, установленный в нем ведущий и ведомый валы, зубчатое колесо с внутренней зубчатой нарезкой, жестко установленное на ведомом валу, эксцентрик с профилированной поверхностью, жестко установленный на ведущем валу (а.с. СССР №214257).
Недостатком этого редуктора является сложность конструкции, невысокий к.п.д. вследствие неустранимого трения пальцев о зубья колеса, низкая надежность вследствие тяжелых условий работы упругого элемента, кроме того, наличие в конструкции передачи упругого элемента обусловливает у нее неустранимый упругий люфт.
Известен также редуктор по патенту №20710004, М. кл. 7 F 16 H, 1/00 (прототип), который содержит корпус, установленные в нем ведущий и ведомый валы, зубчатое колесо с внутренней зубчатой нарезкой, жестко установленное на ведомом валу, эксцентрик с профилированной поверхностью, жестко установленный на ведущем валу, элементы прижатия к профилированной поверхности эксцентрика, по крайней мере, одной пары поворотных рычагов, оси вращения каждого из которых установлены на корпусе и параллельны осям ведущего и ведомого валов, а расстояния от соответствующей оси вращения каждого из рычагов до оси вращения ведущего и ведомого валов равны, при этом оси ведущего и ведомого валов и оси вращения противоположных друг другу рычагов лежат в одной плоскости, толкатели, установленные на соответствующих рычагах и подпружиненные к внутренней нарезке колеса для поочередного взаимодействия с ней пружинами возврата, один конец которых закреплен на корпусе рычага, а другой – на соответствующих толкателях, при этом элементы прижатия рычагов к профилированной поверхности эксцентрика выполнены в виде пружин, одни концы которых закреплены на корпусе, а другие – на соответствующем рычаге.
Недостатками предложенного технического решения являются непроизводительные затраты мощности привода, нагрев поверхности контакта и, как следствие, износ контактирующих поверхностей, т.к. при указанном в патенте расположении рычага происходит проскальзывание (на концах активного участка профиля) поверхности эксцентрика относительно поверхности рычага.
Недостатком прототипа является также отсутствие в нем строгого критерия выбора кинематических параметров редуктора, что может сказаться на точности ожидаемых выходных характеристик редуктора.
Задачей изобретения является увеличение к.п.д. редуктора за счет минимизации непроизводительно затрачиваемой мощности, увеличение ресурса за счет уменьшения износа контактирующих поверхностей.
Задачей изобретения является также увеличение точности выходных характеристик редуктора за счет точного определения кинематических параметров редуктора, обеспечивающих заданные выходные характеристики редуктора.
Эти задачи достигаются тем, что в редукторе, содержащем корпус, установленные в нем ведущий и ведомый валы, зубчатое колесо с внутренней зубчатой нарезкой, жестко установленное на ведомом валу, эксцентрик, жестко установленный на ведущем валу, элементы прижатия к поверхности эксцентрика через подшипник качения, по крайней мере, одной пары поворотных рычагов, оси вращения каждого из которых установлены на корпусе и параллельны осям ведущего и ведомого валов, а расстояния от соответствующей оси вращения каждого из рычагов до оси вращения ведущего и ведомого валов равны, при этом оси ведущего и ведомого валов и оси вращения противоположных друг другу рычагов лежат в одной плоскости, толкатели, установленные на соответствующих рычагах и подпружиненные к внутренней нарезке колеса для поочередного взаимодействия с ней пружинами возврата, один конец которых закреплен на корпусе рычага, а другой – на соответствующих толкателях, элементы прижатия рычагов к профилированной поверхности эксцентрика выполнены в виде пружин, одни концы которых закреплены на корпусе, а другие – на соответствующем рычаге, при этом z=n, где z – число зубьев зубчатого колеса, a n – передаточное число редуктора;
,
где R – радиус начальной окружности зубчатого колеса; – ширина зубьев зубчатого колеса по дуге начальной окружности зубчатого колеса;
L2=R-L1,
где L2 – расстояние от центровой линии оси рычага до линии начальной окружности зубчатого колеса редуктора, L1 – расстояние между центровой линией ведущего и ведомого валов и центровой линией оси рычага редуктора, причем
,
где – величина эксцентриситета эксцентрика редуктора;
rmin – заданный минимальный радиус эксцентрика относительно оси вращения ведущего вала редуктора.
rэ=rmin+ ,
где rэ – радиус окружности эксцентрика.
Контактирующая поверхность поворотного рычага расположена так, что касательная плоскость в месте контакта эксцентрика и поворотного рычага проходит через центровую линию оси того же поворотного рычага.
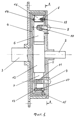
На фиг.1 изображен редуктор в разрезе; на фиг.2 изображено сечение А-А редуктора; на фиг.3 показаны кинематические параметры редуктора; фиг.4 поясняет кинематику взаимодействия эксцентрика и рычага.
Редуктор содержит корпус 1, внутри которого размещены ведущий и ведомый валы 2 и 3, зубчатое колесо 4, жестко установленное на ведомом валу 3, эксцентрик 5, жестко установленный на валу 2, два поворотных рычага 6, 7 с осями вращения 8, 9, установленными на корпусе 1, причем оси 8 и 9 параллельны осям вращения валов 2 и 3 и установлены в плоскости, проходящей через центровые линии осей 8, 9 и через оси вращения валов 2, 3. При этом расстояние от центровых линий осей 8, 9 до центровой линии валов 2, 3 одинаково.
Рычаги 6 и 7 пружинами 10, 11 прижаты к боковой поверхности эксцентрика 5. Для уменьшения трения рычаги прижаты через подшипник качения 12, насаженный на эксцентрик 5. При этом линия контакта, например, рычага 7 и подшипника 12 расположена так, что касательная плоскость – , фиг.3, в месте контакта подшипника и рычага проходит через центровую линию оси рычага 7. Такое расположение сводит к минимуму тангенциальные, относительно друг друга, перемещения рычага 7 и подшипника 12 в месте их контакта. Этим самым обеспечивается минимальный износ в местах контакта, а также минимальные непроизводительные затраты мощности. Концы пружин 10, 11 закреплены на корпусе 1. На рычагах 6, 7 установлены оси 13, 14, на которых в свою очередь установлены поворотные толкатели 15, 16. На рычагах 6, 7 установлены также пружины 17, 18, соединенные с поворотными толкателями 15, 16.
Предложенный редуктор работает следующим образом.
При вращении ведущего вала 2 и повороте эксцентрика 5 на 180° (фиг.2) поверхность подшипника 12 давит на конец поворотного рычага 7. Последний, поворачиваясь вокруг оси 9, через толкатель 15 давит на зуб ведомого колеса 4, вызывая движение колеса 4 и ведомого вала 3.
Затем боковая поверхность эксцентрика 5 через подшипник 12 давит на конец поворотного рычага 6, при этом эксцентрик 5 поворачивается на следующие 180°. Поворотный рычаг 6, поворачиваясь вокруг оси 8, через толкатель 16 давит на зуб колеса 4, вызывая последующее движение зубчатого колеса 4 и ведомого вала 3. При этом пружина 11 возвращает рычаг 7 в исходное положение, а толкатель 15 выходит из зацепления с зубом колеса 4, пропуская зуб под собой.
При завершении поворота эксцентрика 5 на 360° пружина 17 возвращает толкатель 15 в исходное положение в просвет между зубьями колеса 4. В работу снова вступает рычаг 7. При этом пружина 10 поворачивает рычаг 6 в исходное положение, а поворотный толкатель 16 выходит из зацепления с зубом ведомого колеса 4.
После поворота эксцентрика 5 еще на 180° пружина 18 толкателя 16 возвращает его в исходное положение в просвет между зубьями колеса 4.
Одному обороту эксцентрика 5 соответствует перемещение на один зуб ведомого колеса 4.
Один оборот эксцентрика равен углу 2 , в это время угол поворота ведомого вала составляет , поэтому , где n – передаточное число редуктора, а z – число зубьев зубчатого колеса.
Таким образом, в данной конструкции редуктора передаточное число равно числу зубьев зубчатого колеса, что открывает возможность создавать механические редукторы малых габаритов со значением передаточного числа до нескольких десятков и сотен единиц.
Габариты редуктора могут быть дополнительно уменьшены за счет компоновки его из нескольких последовательно соединенных ступеней. Соосное положение ведущего и ведомого валов редуктора позволяет без труда вмонтировать его в любое механическое устройство.
Ширина зубьев зубчатого колеса определится из соотношения:
,
где R – радиус начальной окружности зубчатого колеса, выбираемый исходя из прочностных свойств материала зубчатого колеса и толкателя, а также ограничений, задаваемых условиями эксплуатации редуктора.
Расстояние от центровой линии оси рычага до линии начальной окружности зубчатого колеса редуктора L2 определяется как
L2=R-L1,
где L1 – расстояние между центровой линией ведущего и ведомого валов и центровой линией оси рычага редуктора.
Для величины угла  , фиг.4, имеет место:
,
где rmax, rmin – величина максимального и минимального радиуса эксцентрика относительно оси вращения ведущего вала.
Откуда
.
Но
r0=2 ,
где – эксцентриситет эксцентрика.
Тогда
.
Или
.
Кроме того,
rэ=rmin+ ,
где rэ – радиус окружности эксцентрика.
Таким образом, указанные зависимости позволяют вычислить потребное число зубьев зубчатого колеса редуктора, ширину зубьев, расстояние от центровой линии оси рычага до линии начальной окружности зубчатого колеса редуктора, эксцентриситет эксцентрика, радиус окружности эксцентрика, что позволяет в свою очередь обеспечить бесперебойную и эффективную работу редуктора.
Редуктор технологичен в изготовлении – все его детали изготавливаются известными и отработанными в машиностроении методами.
Формула изобретения
Редуктор, содержащий корпус, установленные в нем ведущий и ведомый валы, зубчатое колесо с внутренней зубчатой нарезкой, жестко установленное на ведомом валу, эксцентрик, жестко установленный на ведущем валу, элементы прижатия к профилированной поверхности эксцентрика через подшипник качения, по крайней мере, одной пары поворотных рычагов, оси вращения каждого из которых установлены на корпусе и параллельны осям ведущего и ведомого валов, а расстояния от соответствующей оси вращения каждого из рычагов до оси вращения ведущего и ведомого валов равны, при этом оси ведущего и ведомого валов и оси вращения противоположных друг другу рычагов лежат в одной плоскости, толкатели, установленные на соответствующих рычагах и подпружиненные к внутренней нарезке колеса для поочередного взаимодействия с ней пружинами возврата, один конец которых закреплен на корпусе рычага, а другой – на соответствующих толкателях, при этом элементы прижатия рычагов к профилированной поверхности эксцентрика выполнены в виде пружин, одни концы которых закреплены на корпусе, а другие – на соответствующем рычаге, отличающийся тем, что касательная плоскость в месте контакта эксцентрика и поворотного рычага проходит через центровую линию оси того же поворотного рычага, при этом
z=n,
где z – число зубьев зубчатого колеса;
n – передаточное число редуктора,
,
где R – радиус начальной окружности зубчатого колеса;
– ширина зубьев зубчатого колеса по дуге начальной окружности зубчатого колеса,
L2=R-L1,
где L2 – расстояние от центровой линии оси рычага до линии начальной окружности зубчатого колеса редуктора;
L1 – расстояние между центровой линией ведущего и ведомого валов и центровой линией оси рычага редуктора,

где – величина эксцентриситета эксцентрика редуктора;
rmin – минимальный радиус эксцентрика относительно оси ведущего вала;
rэ=rmin+ ,
где rэ – радиус окружности эксцентрика.
РИСУНКИ
|
|