|
|
(21), (22) Заявка: 2005132697/11, 24.10.2005
(24) Дата начала отсчета срока действия патента:
24.10.2005
(46) Опубликовано: 10.04.2007
(56) Список документов, цитированных в отчете о поиске:
SU 472219 A1, 30.05.1975. SU 1180578 A1, 23.09.1985. SU 870791 A, 23.02.1986. JP 59050231 A, 23.03.1984. US 2001027905 A1, 10.10.2001.
Адрес для переписки:
193012, Санкт-Петербург, ул. Бабушкина, 123, ОАО “Звезда”
|
(72) Автор(ы):
Паюсов Валентин Изосимович (RU), Рословец Сергей Алексеевич (RU), Ложкин Борис Николаевич (RU), Демидов Виктор Сергеевич (RU), Уткин Константин Юрьевич (RU), Маслаев Андрей Борисович (RU)
(73) Патентообладатель(и):
ОАО “Звезда” (RU)
|
(54) УСТРОЙСТВО ДЛЯ ПРИЖАТИЯ ФРИКЦИОННЫХ ДИСКОВ МУФТЫ СЦЕПЛЕНИЯ
(57) Реферат:
Изобретение относится к управляемым муфтам сцепления и предназначено для установки в многоскоростных коробках передач самоходных машин различного назначения. Предложенная муфта сцепления включает ведущий и ведомый валы с концентричным расположением их шлицевых элементов, несущих фрикционные диски, крайний из которых постоянно законтактирован с поршнем, оборудованным возвратно-пружинным механизмом. Между поршнем и цилиндром кольцевая полость, которая с одного конца связана с впускным каналом маслопровода, а с другого конца – со сливными каналами, размещенными в периферийных зонах цилиндра. В сливных каналах установлены подпружиненные стержневые клапаны преимущественно в радиальных его направлениях. Технический результат заключается в создании простой по конструкции, эксплуатации и быстродействию системы. 1 з.п. ф-лы, 2 ил.
Предложенное устройство относится к управляемым муфтам сцепления и предназначено для установки в многоскоростных коробках передач машин различного назначения.
Из технической литературы известны многодисковые муфты с гидравлическим их управлениям [1], характерной особенностью которых является наличие пары поршень-цилиндр. Причем каждый из этих элементов может быть ведущим или ведомым. Так, в устройстве [1а] ведущим является цилиндр, а в устройстве [1б] поршень. Но в обоих случаях поршень-цилиндр перемещается за счет давления масла, заполняющего раздвижную кольцевую полость между этими элементами, сообщающуюся с впускным каналом маслопровода, соединенного с масляным насосом. Особенность этих устройств по [1а и 1б] та, что гидросистема в них построена таким образом, что при расцеплении муфты надо вначале слить масло из указанной выше кольцевой полости поршня-цилиндра и тем самым сузить эту полость и одновременно подать масло уже по другому каналу маслопровода в противоположную сторону для обратного перемещения поршня или цилиндра в их первоначальное исходное положение.
Такая двухпоточная гидросистема управления муфтой конструктивно сложна и не обладает быстродействием.
А отсюда актуальной задачей является изыскание более простой по конструкции, эксплуатации и быстродействию системы взаимодействия между элементами сцепной муфты при ее гидравлическом управлении.
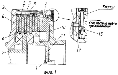
Поставленная задача конструктивно достигается тем, что в конструкцию муфты, за ближайший аналог – прототип которой взято устройство по [1б], вносятся следующие изменения. Прежде всего, подвижный поршень устанавливается с постоянным его контактом с ближайшим к нему фрикционным диском при соединении последнего с пружинно-возвратным механизмом, при размещении сливных каналов маслопровода в периферийных зонах цилиндра и установке в них стержневых подпружиненных клапанов. Причем предпочтительно стержневые подпружиненные клапана устанавливать по радиальным направлениям цилиндра. Предложенное устройство представлено на прилагаемом чертеже фиг.1 и 2. Составные конструктивные элементы устройства на фиг.1 и 2 одни и те же, разница только в положениях самой муфты – на фиг.1 она выключена, а на фиг.2 включена. Устройство включает ведущий 1 и ведомый 2 валы (которые в принципе могут поменяться местами) с концентричным расположением их шлицевых элементов 3 и 4, несущих фрикционные диски 5 и 6, установленные со смежным чередованием относительно друг друга. При этом один из крайних фрикционных дисков законтактирован с одной своей стороны с поршнем 7, а с другой стороны – с упором от пружинно-возвратного механизма 8, выполненного, к примеру, в виде нескольких подпружиненных стержней, размещенных в периферийных зонах корпуса-цилиндра 9. Поршень 7 установлен в цилиндре 9 с образованием между ними кольцевой полости 10, соединенный с впускным каналом 11 маслопровода, а с другого конца со сливными каналами 12, размещенными в периферийных (наиболее удаленных от оси вращения валов 1 и 2) зонах цилиндра 9. В сливных каналах 12 маслопровода установлены стержневые подпружиненные клапаны 13, при этом предпочтительным является их радиальные по отношению к оси вращения валов 1 и 2 направления.
Работает предложенное устройство следующим образом. Для включения муфты (см. фиг.2) масло через впускной канал 11 подают в кольцевую полость 10, в результате чего клапаны 13, сдавливая свои пружины, перекроют все сливные окна, а поршень 7 начнет двигаться влево и, воздействуя на фрикционные диски 5-6, начнет перемещать их по шлицевым элементам 3-4, одновременно сдавливая пружины возвратного механизма 8, вплоть до полного сцепления всех фрикционных дисков между собой и передачи крутящего момента с вала 1 на вал 2 (или наоборот). При выключении муфты прекращают подачу масла в канал 11 и полость 10, в результате чего пружины стержневых клапанов 13 разжимаются (см. фиг.1), сами клапаны “выстреливают” вверх, освобождая при этом канал 12 от его перекрытия и обеспечивая тем самым проход масла на его слив. Одновременно происходит отход поршня 7 (отвод его вправо) под действием пружинно-возвратного механизма 8. При этом контакт поршня 7 с ближайшим к нему фрикционным диском сохраняется, но все остальные диски от прижатия между собой расслабляются и передача крутящего момента на ведомый вал 2 прекращается.
Теперь о критериях данного изобретения.
Критерий “промышленная применимость” обеспечивается его работоспособностью и достигаемыми технико-экономическими достоинствами. Здесь необходимо отметить, что используемая однопоточная система подачи и отвода масла при постоянном контакте поршня с фрикционными дисками существенно снижает время на приведение в действие операций по включению и выключению муфты. Кроме того, использование в данной системе запорных клапанов, работающих автоматически в зависимости от давления масла в системе, также ведет к ускорению отключения муфты. Здесь особо следует отметить предпочтительно радиальную ориентацию запорных клапанов в периферийных зонах цилиндра. Периферийность их расстановки повышает давление масла от центробежной силы при вращении и тем самым ускоряет слив масла, а радиальность позволяет уравновесить центробежную силу вращающегося в цилиндре масла центробежной силой вращающегося стержневого клапана и тем самым исключает влияние частоты вращения на срабатывание клапана.
Критерий “изобретательский уровень” достигается за счет отмеченных выше существенных отличий предложенного устройства от его ближайшего аналога – постоянного контакта поршня с фрикционными дисками, однопоточной системы маслопровода и установки стержневых подпружиненных клапанов в сливных каналах, расположенных в периферийных зонах цилиндра.
Критерий “новизна” вытекает из совокупности приведенных выше признаков.
Источник информации
С.Н.Кожевников и др. Механизмы. Справочное пособие. Изд. “Машиностроение”, Москва, 1976 г.
а) рис.6.55,
б) рис.6.56.
Формула изобретения
1. Устройство для прижатия фрикционных дисков муфты сцепления, включающее ведущий и ведомый валы с концентричным расположением их шлицевых элементов, а также размещенный в цилиндре подпружиненный поршень, при наличии маслопровода с впускным и сливным каналами и кольцевой полостью поршня цилиндра, отличающееся тем, что поршень установлен с постоянным его контактом с ближайшим к нему фрикционным диском при соединении последнего с пружинно-возвратным механизмом, при размещении сливных каналов маслопровода в периферийных зонах цилиндра и установке в них стержневых подпружиненных клапанов.
2. Устройство для прижатия фрикционных дисков муфты сцепления по п.1, отличающееся тем, что стержневые клапаны установлены по радиальным направлениям цилиндра.
РИСУНКИ
MM4A – Досрочное прекращение действия патента СССР или патента Российской Федерации на изобретение из-за неуплаты в установленный срок пошлины за поддержание патента в силе
Дата прекращения действия патента: 25.10.2007
Извещение опубликовано: 10.07.2009 БИ: 19/2009
|
|