|
|
(21), (22) Заявка: 2005104558/06, 21.02.2005
(24) Дата начала отсчета срока действия патента:
21.02.2005
(46) Опубликовано: 10.04.2007
(56) Список документов, цитированных в отчете о поиске:
RU 2144440 C1, 20.01.2000. RU 2087756 C1, 20.08.1997. SU 1257305 A1, 15.09.1986. US 3768520 А, 30.10.1973. DT 2065063 A, 25.05.1972.
Адрес для переписки:
119021, Москва, Несвижский пер., 4, кв.34, С.С. Ромахину
|
(73) Патентообладатель(и):
Камалов Рустэм Наифович (RU)
|
(54) СПОСОБ ГЕНЕРИРОВАНИЯ КОЛЕБАНИЙ ЖИДКОСТНОГО ПОТОКА И ГИДРОДИНАМИЧЕСКИЙ ГЕНЕРАТОР ТАКИХ КОЛЕБАНИЙ
(57) Реферат:
Изобретение относится к механике возбуждения колебаний скорости и давления жидкости с помощью гидравлических генераторов и может быть использовано в горнодобывающей и нефтяной промышленности. Способ генерирования колебаний жидкостного потока состоит в том, что жидкость под давлением закручивают, создают не менее двух противоположно направленных вихрей, образованных закрученными жидкостными потоками с одинаковым давлением подачи. Закрученные жидкостные потоки разделяют промежуточным соплом центробежной форсунки и один из них связывают с полостью с регулируемой упругостью, а другой – с выходным соплом. Гидродинамический генератор таких колебаний содержит корпус с вихревой камерой, каналы закрутки, выходное сопло, напорную магистраль, соединенную с каналами закрутки, и установленное в вихревой камере с зазором относительно боковой стенки центральное тело, полость с регулируемой упругостью. Зазор соединен с промежуточным соплом центробежной форсунки, имеющей каналы закрутки противоположной ориентации каналам выходного сопла и сообщенной с полостью с регулируемой упругостью. Повышается эффективность генерирования колебаний за счет увеличения амплитуды колебаний расхода и давления, расширяется область применения. 2 н. и 2 з.п. ф-лы, 4 ил.
Использование: в технологических процессах, требующих значительных амплитуд колебаний расхода и давления.
Изобретение относится к технике возбуждения колебаний расхода и давления жидкости с помощью гидравлических генераторов и может быть использовано в различных областях техники:
при проведении размывочных работ и добычи полезных ископаемых, в различных технологических процессах, требующих интенсивных колебаний расхода и давления жидкости,
для привода механизмов, функционирующих в режиме периодических нагрузок,
для открытого или закрытого гидромассажа в оздоровительных и лечебных целях,
для обработки водоносных и нефтяных скважин.
Известны способы генерирования колебаний жидкостного потока, заключающиеся в том, что жидкость подают под избыточным давлением и разделяют на основной и дополнительный автономные потоки, осуществляют закручивание основного потока для образования вихря, а в дополнительном частично стравливают давление и подают на периферию вихря с окружной составляющей скорости, меньшей окружной скорости основного потока, и генератор колебаний для осуществления этого способа (Патент РФ №2087756), который содержит корпус, установленную в нем проточную камеру с каналами закрутки и выходным соплом, напорную магистраль, сообщенную с каналами закрутки, и снабжен центральным телом, установленным в проточной части с зазором относительно ее боковой стенки, дополнительной магистралью с ограничителем расхода, подключенной через зазор между центральным телом и стенкой проточной части.
Недостатками данного способа и устройства являются низкая энергетика жидкостного потока в дополнительном потоке из-за частичного стравливания давления, что уменьшает амплитуду и ограничивает верхний диапазон частот, а также сужение диапазона эксплуатации по давлению и расходу из-за наличия ограничителя расхода, который обычно обладает нелинейной расходной характеристикой или требуется существенное усложнение конструкции генератора, что ограничивает область его применения.
Известен способ генерирования колебаний жидкостного потока, состоящий в том, что жидкость под давлением закручивают, формируя жидкостной вихрь, согласно изобретению создают не менее двух противоположно направленных вихрей, образованных закрученными жидкостными потоками с одинаковым давлением подачи, периферия которых гидравлически связана с полостью с регулируемой упругостью (Патент РФ №2144440, принятый за прототип).
Известен гидравлический генератор колебаний, содержащий корпус с вихревой камерой, каналы закрутки, выходное сопло, напорную магистраль, соединенную с каналами закрутки, и установленное в вихревой камере с зазором относительно боковой стенки центральное тело, согласно изобретению снабжен полостью с регулируемой упругостью, сообщенной с вихревой камерой и через упомянутый зазор с выходным соплом, а каналы закрутки выполнены, по крайней мере, в двух плоскостях сечения вихревой камеры с взаимно противоположной ориентацией закрутки и соединены с напорной магистралью (Патент РФ №214440, принятый за прототип).
Недостатками этих способа и устройства является низкая эффективность генерирования колебаний, так как жидкостные вихри с различной закруткой закручиваются в общей камере, и, взаимодействуя между собой, уменьшают суммарную скорость, а следовательно, и суммарную скорость истечения.
Задачей данного изобретения является повышение эффективности генерирования колебаний за счет увеличения амплитуды колебаний давления и расхода и расширения области применения генераторов.
Задача изобретения достигается тем, что в известном способе генерирования колебаний жидкостного потока, состоящем в том, что жидкость под давлением закручивают, создают не менее двух противоположно направленных вихрей, образованных закрученными жидкостными потоками с одинаковым давлением подачи, согласно изобретению закрученные жидкостные потоки разделяют промежуточным соплом центробежной форсунки, и периферию одного из них связывают с полостью с регулируемой упругостью, а другой – с выходным соплом.
Задача изобретения достигается также тем, что в гидравлическом генераторе колебаний, содержащем корпус с вихревой камерой, каналы закрутки, выходное сопло, напорную магистраль, соединенную с каналами закрутки, и установленное в вихревой камере с зазором относительно боковой стенки центральное тело, полость с регулируемой упругостью, согласно изобретению зазор соединен с соплом центробежной форсунки, имеющей каналы закрутки противоположной ориентации каналам выходного сопла и сообщенной с полостью с регулируемой упругостью.
В некоторых вариантах исполнения генератора каналы закрутки могут быть выполнены винтовыми. При этом направление винтовых каналов должно быть таковым, чтобы обеспечить различную закрутку жидкостных вихрей. Роль полости с упругостью в этом случае играет податливость самой трубы с находящейся в ней жидкостью. Для уменьшения длины полости с упругостью целесообразно разместить в трубе пережатые упругие трубы с газом для обеспечения распределенной по длине трубы податливости.
В предложенном способе реализуется новый механизм возникновения автоколебаний жидкостного потока. Благодаря введению промежуточного сопла центробежной форсунки в полости с регулируемой упругостью повышается давление, создаваемое жидкостным вихрем в вихревой камере, который дополнительно поджат через промежуточное сопло центробежной форсунки жидкостным вихрем камеры закручивания. Это позволяет значительно увеличить амплитуду колебаний давления и расхода. Когда давление в полости с регулируемой упругостью увеличится до такого значения, что жидкостной поток направится через промежуточное сопло центробежной форсунки к камере закручивания, смешается с жидкостным вихрем противоположной закрутки и значительно понизит давление в камере закручивания, тогда жидкость из полости с регулируемой упругостью устремится к выходному соплу, что значительно увеличит суммарный расход жидкости через выходное сопло. Значительный отток жидкости из полости с регулируемой упругостью уменьшит давление в этой полости, что вызовет новый приток жидкости в эту полость, восстановление жидкостного вихря в камере закручивания и новый рост давления в полости с регулируемой упругостью. Нестационарное течение в форсунке циклически повторяется.
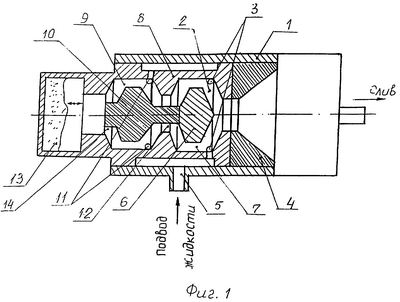
На фиг.1 представлена схема генератора для реализации предлагаемого способа.
На фиг.2 – вариант выполнения схемы генератора с винтовыми завихривающими каналами.
На фиг.3 – вариант выполнения полости с регулируемой упругостью в виде трубы, заполненной жидкостью.
На фиг 4 – вариант выполнения полости с регулируемой упругостью, заполненной жидкостью, в которой равномерно по длине распределены пережатые упругие трубы с газом.
Гидродинамический генератор колебаний содержит корпус 1, установленную в нем вихревую камеру 2 с каналами закрутки 3 и выходным соплом 4, напорную магистраль 5, сообщенную с каналами закрутки 3.
В вихревой камере 2 установлено центральное тело 6 с зазором 7 относительно ее боковой стенки. Генератор имеет промежуточное сопло центробежной форсунки 8, отделяющее камеру закручивания 9 от вихревой камеры 2. В центре камеры закручивания 9 и промежуточного сопла центробежной форсунки 8 располагается центральное тело 10. В камере закручивания 9 имеются каналы закрутки 11, направление закрутки которой противоположно каналам 3. С одной стороны камера закручивания 9 соединена с вихревой камерой 2 зазором 12, образованным промежуточным соплом центробежной форсунки 8 и центральным телом 10, а с другой стороны соединена с полостью, имеющей регулируемую упругость 13 через зазор 14, образованный камерой закручивания 9 и центральным телом 10. Для расширения диапазона рабочих частот колебаний в полости регулируемой упругости 13 располагается дополнительная полость с раскрученной упругостью 15.
Способ осуществляется следующим образом. Жидкость подают под избыточным давлением по напорной магистрали и с помощью каналов и закручивают жидкость, образуя вихрь в вихревой камере 2 и с помощью каналов 11 в камере закручивания 9 (фиг.1 и фиг.2). Истечение жидкости из камеры закручивания 9 через промежуточное сопло центробежной форсунки 8 в вихревую камеру 2 и далее в сопло 4 тормозит жидкостной вихрь в вихревой камере 2.
Жидкостной вихрь в вихревой камере 2 создает давление, препятствующее потоку из камеры закручивания 9. Давление в камере закручивания возрастает, возрастает давление и в полости с регулируемой упругостью 13. В этой полости происходит накопление жидкости с повышенным давлением. Наконец давление достигает такого значения, при котором поток устремляется через промежуточное сопло центробежной форсунки 8 в вихревую камеру 2, размывает жидкостной вихрь в этой камере, созданный каналами 3 и истекающий из сопла 4, понижается давление в вихревой камере 2, что вызывает большой приток жидкости из полости 13 и камеры закручивания 9. Давление в полости с регулируемой упругостью 13 уменьшается, уменьшается и расход через промежуточное сопло центробежной форсунки 8. Восстанавливается жидкостной вихрь в вихревой камере 2; увеличивается давление в вихревой камере 2; возрастает давление в полости с регулируемой упругостью 13. Далее цикл повторяется.
Гидродинамический генератор колебаний работает следующим образом. Жидкость от насоса напорной магистрали 5 подается через каналы закрутки 3 в вихревую камеру 2 и через каналы закрутки 11 в камеру закручивания 9. Из вихревой камеры 2 жидкостной поток через сопло 4 поступает на слив. Жидкостной поток, истекающий через каналы закрутки 11, поступает в полость с регулируемой упругостью 13. Поступлению жидкости из камеры закручивания 9 через промежуточное сопло 8 центробежной форсунки в вихревую камеру 2 препятствует высокое давление в вихревой камере 2. Происходит рост давления в полости с регулируемой упругостью 13 из-за притока в нее жидкости. При достижении определенного значения жидкость из полости с регулируемой упругостью 13, истекающая из каналов закрутки 11 через промежуточное сопло 8 центробежной форсунки, поступает в вихревую камеру 2, смешивается с потоком жидкости, истекающей из каналов закрутки 3, увеличивая суммарный расход через выходное сопло 4. Увеличенный отток жидкости из полости с регулируемой упругостью 13 вызывает уменьшение давления в ней. Жидкость, истекающая из каналов закрутки 11 с регулируемой упругостью, прекращает течь через промежуточное сопло центробежной форсунки 8 и направляется в полость с регулируемой упругостью 13, расход жидкости через выходное сопло уменьшается. Увеличение притока жидкости в полость с регулируемой упругостью 13 вызывает увеличение давления в ней. Работа циклически повторяется.
Использование изобретения позволяет повысить амплитуду колебаний давления и расхода, повысить эксплуатационные характеристики оборудования, расширить область применения.
Формула изобретения
1. Способ генерирования колебаний жидкостного потока, состоящий в том, что жидкость под давлением закручивают, создают не менее двух противоположно направленных вихрей, образованных закрученными жидкостными потоками с одинаковым давлением подачи, отличающийся тем, что закрученные жидкостные потоки разделяют промежуточным соплом центробежной форсунки и один из них связывают с полостью с регулируемой упругостью, а другой с выходным соплом.
2. Гидродинамический генератор колебаний, содержащий корпус с вихревой камерой, каналы закрутки, выходное сопло, напорную магистраль, соединенную с каналами закрутки, и установленное в вихревой камере с зазором относительно боковой стенки центральное тело, полость с регулируемой упругостью, отличающийся тем, что зазор соединен с промежуточным соплом центробежной форсунки, имеющей каналы закрутки противоположной ориентации каналам выходного сопла и сообщенной с полостью с регулируемой упругостью.
3. Генератор по п.2, отличающийся тем, что каналы закрутки выполнены в виде винтовых каналов.
4. Генератор по п.2, отличающийся тем, что в полости с регулируемой упругостью по длине расположены упругие элементы в виде пережатых резиновых труб с газом.
РИСУНКИ
MM4A – Досрочное прекращение действия патента СССР или патента Российской Федерации на изобретение из-за неуплаты в установленный срок пошлины за поддержание патента в силе
Дата прекращения действия патента: 22.02.2008
Извещение опубликовано: 10.12.2009 БИ: 34/2009
NF4A – Восстановление действия патента СССР или патента Российской Федерации на изобретение
Дата, с которой действие патента восстановлено: 10.11.2010
Извещение опубликовано: 10.11.2010 БИ: 31/2010
|
|