|
|
(21), (22) Заявка: 2005113794/06, 05.05.2005
(24) Дата начала отсчета срока действия патента:
05.05.2005
(43) Дата публикации заявки: 20.11.2006
(46) Опубликовано: 10.04.2007
(56) Список документов, цитированных в отчете о поиске:
ГАМЫНИН Н.С. Основы следящего гидравлического привода. – М.: Оборонгиз, 1962, с.7. ИВАЩЕНКО И.И. Автоматическое регулирование. – М.: Машиностроение, 1973, с.303. SU 1137256 А, 30.01.1985. GB 1341629 A, 28.12.1973. US 4437386 A, 20.03.1984.
(62) Номер и дата подачи первоначальной заявки, из которой данная заявка выделена: 98120766/09 от 05.11.1998
Адрес для переписки:
125319, Москва, ул. Усиевича, 1/5, кв.73, В.Я. Вейнбергу
|
(72) Автор(ы):
Вейнберг Вениамин Яковлевич (RU)
(73) Патентообладатель(и):
Вейнберг Вениамин Яковлевич (RU)
|
(54) ПРИВОД ДЛЯ УСТРОЙСТВА АВТОМАТИЧЕСКОГО РЕГУЛИРОВАНИЯ
(57) Реферат:
Привод предназначен для устройства автоматического регулирования приборами. Привод содержит преобразователи сигнала, вход которых предназначен для соединения с электрическим выходом регулирующего устройства, а его выход связан с входом исполнительного механизма, предназначенного для соединения с запорно-регулирующими или регулирующими органами, при этом, по меньшей мере, один преобразователь сигнала выполнен в виде микронагнетательного устройства, выход которого соединен со входом исполнительного механизма, выполненного в виде цилиндра. Технический результат – повышение надежности и качества регулирования. 1 з.п. ф-лы, 3 ил.
Привод автоматического регулирования относится к устройствам, применяемым в системах автоматического регулирования для связи устройств автоматического регулирования, например прибор ПИД-регулятор, ЭВМ или контроллеров, которые в общем можно назвать регулирующими устройствами, с запорно-регулирующими органами, состоящих из электропневмопреобразователей или электрогидропреобразователей, связанных с исполнительными механизмами. Эти устройства могут найти широкое применение в различных отраслях промышленности для автоматического регулирования технологических процессов.
Известны различные устройства автоматического регулирования, в которых используются различные пневматические или гидравлические приводы, связывающие электрический выход регулирующих приборов с запорно-регулирующими органами, например известные распределители 4/3 с управлением от электромагнита или не менее известные электропневматические преобразователи типа «сопло-заслонка», связанные с пневматическими или гидравлическими исполнительными механизмами, например пневматическим или гидравлическим цилиндром двухстороннего действия.
Недостатками известных устройств является сложность конструкции и ненадежность в работе в связи с необходимостью централизованной подачи пневматической или гидравлической среды под давлением на эти устройства.
Целью предлагаемого изобретения является повышение надежности работы устройства за счет упрощения его конструкции.
Эта цель осуществляется за счет электрической связи выхода вторичного регулирующего прибора системы автоматического регулирования с электрическим входом микронагнетательного устройства, например микрокомпрессором или микронасосом, пневматический или гидравлический выход которого соединен с, по меньшей мере, одним входом пневматического или гидравлического исполнительного механизма, например пневматического или гидравлического цилиндра.
Устройство поясняется следующими чертежами:
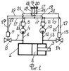
Фиг.1 – пневматическая схема устройства.
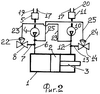
Фиг.2 – пневматическая схема устройства.
Фиг.3 – пневматическая схема устройства.
Привод содержит цилиндр 1, являющийся пневматическим или гидравлическим исполнительным механизмом с установленным в нем поршнем 2, механически соединенным со штоком 3, который предназначен для соединения с регулирующими или запорно-регулирующими органами устройства автоматического регулирования или системы автоматического регулирования. Микронагнетательное устройство 4, например микрокомпрессор или микронасос, связанное, например, механически со своим электроприводом 5, пневматический или гидравлический выход которого соединен с одним из входов цилиндра 1, например с первым входом этого цилиндра, при помощи патрубка 6, с этим же патрубком, как с выходом цилиндра 1, соединено начало патрубка 7, на окончании которого установлен стравливающий клапан 8 с электрическим исполнительным механизмом 9, например с электросоленоидом. Второе аналогичное первому микронагнетательное устройства 10, соединенное, например, механически со своим электроприводом 11, пневматический или гидравлический выход которого соединен при помощи патрубка 12 с другим, противоположным первому, вторым входом цилиндра 1. С патрубком 12, как со вторым выходом цилиндра 1, соединено начало патрубка 13, на окончании которого установлен стравливающий клапан 14 с электрическим исполнительным механизмом 15.
Клемма 16 предназначена для соединения электрического входа заявленного устройства с электрическим выходом регулирующего устройства, с его общим выходом, которая через общий электропровод 17 соединена одновременно с электроприводами 5 и 11 и с электрическими исполнительными механизмами 9 и 15. Клемма 18 предназначена для соединения электрического входа заявленного устройства с электрическим управляющим выходом регулирующего устройства, например с импульсным сигналом «больше», и через электропровод 19 соединена одновременно с электроприводом 11 и электрическим исполнительным механизмом 9. Клемма 20 предназначена для соединения электрического входа заявленного устройства с электрическим управляющим выходом регулирующего устройства, например с импульсным сигналом «меньше», и через электропровод 21 соединена одновременно с электроприводом 5 и электрическим исполнительным механизмом 15 (фиг.1).
Стравливающий клапан 8 может иметь пневматический или гидравлический исполнительный механизм 22, который трубкой 23 соединен с патрубком 12, аналогично стравливающий клапан 14 может иметь пневматический или гидравлический исполнительный механизм 24, который трубкой 25 соединен с патрубком 6 (фиг.2).
При использовании реверсивного микронагнетательного устройства 26, например реверсивного микрокомпрессора или реверсивного микронасоса, один из его переменных выходов соединен с первым входом цилиндра 1 при помощи патрубка 27, а другой переменный выход соединен со вторым входом цилиндра 1 при помощи патрубка 28, а к его реверсивному электроприводу 29 подведены электропровода 17, 19 и 21, через которые регулирующее устройство управляет направлением действия электропривода 29 и через него направлением нагнетания реверсивного микронагнетательного устройства 26. (фиг.3)
На патрубках 6, 7, 12, 13, 27 и 28, а также на трубках 23 и 25 могут быть установлены дросселя, например регулируемые дросселя, для регулировки скорости нагнетания среды и скорости движения поршня 2. Учитывая стандартность этих устройств, они на фиг.1-3 не показаны.
Микронагнетательные устройства 4, 10 и 26, включая их привода 5, 11 и 29, являются преобразователями сигнала, идущего с регулирующего устройства, например преобразователем электрического сигнала в пневматический или гидравлический сигнал.
Устройство работает следующим образом:
Электрический сигнал с регулирующего устройства, например «больше», по электропроводу 19 поступает на электропривод 11, который воздействует на микронагнетательное устройство 10, начинающее нагнетать газообразную среду, например воздух, или жидкую среду, например воду или масло, в цилиндр 1, например на поршень 2, который начинает двигаться в левую сторону, одновременно этот сигнал поступает на электрический исполнительный механизм 9, открывающий клапан 8, подсоединенный через патрубок 7 к противоположному входу цилиндра 1, в данный момент выполняющий функции выхода, по отношению к входу, через который нагнетается среда, стравливая эту среду из-под поршня 2, исключая или уменьшая величину противодавления этой среды под поршнем 2. Совершенно аналогичный процесс происходит и при поступлении сигнала «меньше» по электропроводам 21 на электропривод 5 и на электрический исполнительный механизм 15, в этом случае микронагнетательное устройство 4 начинает нагнетать среду под поршень 2, а клапан 14 начинает стравливать ее над этим поршнем, исключая противодавление этой среды, и поршень 2 начинает двигаться вправо. Если управляющий сигнал, например «+», подается раздельно по электропроводам 19 или 21, в зависимости от отклонения заданного технологического параметра, то на электропривод 11 и электрический исполнительный механизм 9, соединенные параллельно, то на электропривод 4 и электрический исполнительный механизм 15, соединенные параллельно, а общий, опорный сигнал, например «-», может подаваться постоянно на электроприводе 5 и 11, электрические исполнительные механизмы 9 и 15 одновременно.
При использовании пневматического или гидравлического исполнительного механизма 22 или 24 управляющий сигнал, например «+», с регулирующего устройства подается только на электропривод 5 или на электропривод 11 с постоянным «-», которые при работе нагнетают среду в цилиндр 1, под поршень 2 или на поршень 2, и по трубке 23 или по трубке 25, на исполнительные механизмы 22 или 24, открывая стравливающие клапаны 8 или 14, точка стравливания которых из цилиндра 1 расположена с противоположной стороны точке нагнетания в цилиндр 1 по отношению к поршню 2, тем самым исключается или уменьшается противодавление среды, мешающее продвижению поршня 2.
При использовании реверсивного микронагнетательного устройства 26 управляющие сигналы, например «+», с регулирующего устройства подаются через электропровод 19 или электропровод 21 на его реверсивный электропривод 29, при постоянной подаче «-», который управляет направлением нагнетания микронагнетательного устройства 26, нагнетающего среду на поршень 2 или под него по патрубкам 27 или 28, одновременно откачивая его из точки цилиндра 1 противоположной точке нагнетания в цилиндр 1 по отношению к поршню 2, тем самым исключается или уменьшается противодавление среды, мешающее продвижению поршня 2. Таким образом достаточно, по меньшей мере, одного микронагнетательного устройства для работы заявленного привода.
Формула изобретения
1. Привод для устройства автоматического регулирования, содержащий преобразователи сигнала, вход которых предназначен для соединения с электрическим выходом регулирующего устройства, а его выход связан с входом исполнительного механизма, предназначенного для соединения с запорно-регулирующими или регулирующими органами, отличающийся тем, что, по меньшей мере, один преобразователь сигнала выполнен в виде микронагнетательного устройства, выход которого соединен со входом исполнительного механизма, выполненного в виде цилиндра.
2. Привод для устройства автоматического регулирования по п.1, отличающийся тем, что микронагнетательное устройство выполнено реверсивным.
РИСУНКИ
MM4A – Досрочное прекращение действия патента СССР или патента Российской Федерации на изобретение из-за неуплаты в установленный срок пошлины за поддержание патента в силе
Дата прекращения действия патента: 06.05.2007
Извещение опубликовано: 27.07.2008 БИ: 21/2008
|
|