|
|
(21), (22) Заявка: 2005134901/06, 11.11.2005
(24) Дата начала отсчета срока действия патента:
11.11.2005
(46) Опубликовано: 10.04.2007
(56) Список документов, цитированных в отчете о поиске:
RU 2247865 C2, 10.03.2005. RU 2066400 C1, 10.09.1996. RU 2263228 C1, 27.10.2005. СН 572179 А, 30.01.1976.
Адрес для переписки:
125424, Москва, а/я 31, ООО “Лифт Ойл”, Д.Б. Полякову
|
(72) Автор(ы):
Поляков Дмитрий Борисович (RU), Пономарев Анатолий Константинович (RU), Шаймарданов Рамиль Фаритович (RU)
(73) Патентообладатель(и):
Общество с ограниченной ответственностью “Лифт Ойл” (RU)
|
(54) КЛАПАН ПОГРУЖНОГО НАСОСА
(57) Реферат:
Изобретение относится к области насосостроения, в частности к насосным установкам, предназначенным для подъема жидкости с больших глубин. Клапан погружного насоса содержит корпус с входной и выходной полостями и размещенными в корпусе запорным органом со штоком и седлом. Запорный орган выполнен в виде плунжера с возможностью образования запорной пары с внутренней поверхностью седла, а последнее выполнено из размещенного в опорной втулке набора подвижных в радиальном направлении и уплотненных эластичными элементами колец, посадочные поверхности которых смещены эксцентрично относительно друг друга и поджаты в осевом направлении. Запорный орган нагружен пружиной и выполнен с упорным фланцем, а опорная втулка седла выполнена с кольцевой канавкой под упорный фланец. Подвижные в радиальном направлении кольца поджаты в осевом направлении через эластичное кольцо упорной втулкой. Под запорным органом на штоке подвешен груз, пружина расположена во входной полости корпуса между грузом и упорной втулкой седла, а последнее установлено в расточке корпуса и зафиксировано относительно него посредством разжимного кольца. В результате достигается повышение надежности работы клапана и увеличение ресурса работы клапана. 2 ил.
Изобретение относится к области насосостроения, в частности к насосным установкам, предназначенным для подъема жидкости с больших глубин.
Известен клапан погружного насоса, содержащий корпус, в котором размещен запорный орган со штоком и выполнено седло, причем запорный орган выполнен в виде плунжера с возможностью образования запорной пары с внутренней поверхностью седла (патент RU №2066400, кл. F16К 15/02, 10.09.1996).
Однако данный клапан не обеспечивает требуемой надежности работы, что связано с тем, что запорная пара образована цилиндрическими сопрягаемыми поверхностями плунжера и цилиндра, а также опорным кольцом и торцевой поверхностью плунжера. В этих условиях при воздействии песка, соли и попутных газов, которые налипают на сопрягаемые поверхности и попадают между сопрягаемыми элементами запорной пары, нарушается герметичность запорной пары в результате абразивного и коррозионного воздействия указанных выше примесей. Кроме того, формирование запорной пары торцевыми поверхностями плунжера и опорного кольца может привести к значительным гидравлическим ударам.
Наиболее близким к изобретению по технической сущности и достигаемому результату является клапан погружного насоса, содержащий корпус с входной и выходной полостями и размещенными в корпусе запорным органом со штоком и седлом, причем запорный орган выполнен в виде плунжера с возможностью образования запорной пары с внутренней поверхностью седла, последнее выполнено из размещенного в опорной втулке набора подвижных в радиальном направлении и уплотненных эластичными элементами колец, посадочные поверхности которых смещены эксцентрично относительно друг друга и поджаты в осевом направлении, а запорный орган нагружен пружиной (патент RU №2247865, кл. F04В 53/10, 10.03.2005).
Однако данный клапан также не обеспечивает требуемой надежности работы. Это связано с тем, что при установке клапана совместно с погружным насосом внутри колонны насосно-компрессорных труб и установке пружины для возврата запорного органа в исходное закрытое положение последняя при остановке работы засоряется примесями перекачиваемой среды, в частности песком, оседающими в колонне труб, что может привести к негерметичности закрытия клапана. В результате при последующем запуске насоса возможна перегрузка и выход из строя электродвигателя, который приводит в действие насос.
Задачей настоящего изобретения является предотвращение засорения пружины и использование веса груза для закрытия клапана.
Техническим результатом, на достижение которого направлено изобретение, является повышение надежности работы клапана и увеличение ресурса работы клапана.
Поставленная задача решается, а технический результат достигается за счет того, что клапан погружного насоса содержит корпус с входной и выходной полостями и размещенными в корпусе запорным органом со штоком и седлом, причем запорный орган выполнен в виде плунжера с возможностью образования запорной пары с внутренней поверхностью седла, последнее выполнено из размещенного в опорной втулке набора подвижных в радиальном направлении и уплотненных эластичными элементами колец, посадочные поверхности которых смещены эксцентрично относительно друг друга и поджаты в осевом направлении, а запорный орган нагружен пружиной, при этом запорный орган выполнен с упорным фланцем, а опорная втулка седла выполнена с кольцевой канавкой под упорный фланец, при этом подвижные в радиальном направлении кольца поджаты в осевом направлении через эластичное кольцо упорной втулкой, под запорным органом на штоке подвешен груз, пружина расположена во входной полости корпуса между грузом и упорной втулкой седла, а последнее установлено в расточке корпуса и зафиксировано относительно него посредством разжимного кольца.
Анализ работы клапанов погружного насоса в составе скважинных насосных установок показывает, что конструктивные особенности выполнения клапанов оказывают существенное влияние на надежность работы всей насосной установки. В первую очередь речь идет о месте расположения пружины относительно запорного органа. Расположение пружины ниже запорного органа и выполнение последнего с упорным фланцем, расположенным в кольцевой канавке при положении клапана “закрыто” предотвращает попадание песка и других примесей в момент остановки работы погружного насоса, поскольку песок и другие механические примеси из колонны труб оседают на внешнюю плоскую поверхность упорного фланца и на сопрягаемые поверхности элементов запорной пары – между запорным органом и подвижными в радиальном направлении кольцами. В то же время, когда клапан находится в положении “открыто” и набегающий снизу поток перекачиваемой среды набегает на клапан, он в первую очередь набегает на груз, который как защитный элемент защищает пружину, отбивая механические примеси к периферии входной полости корпуса клапана. Это уменьшает контакт пружины с примесями и снижает вероятность оседания примесей между витками пружины, а при остановке работы насоса примеси оседают ниже клапана. Кроме того, груз позволяет повысить надежность срабатывания клапана, поскольку даже в случае поломки пружины груз при остановке работы насоса будет тянуть запорный элемент вниз в положение “закрыто”. Поджатие подвижных в радиальном направлении колец эластичным кольцом позволяет исключить образование зазором между подвижными кольцами и предотвращает попадание примесей между подвижными кольцами. В конечном итоге это позволяет исключить или, по крайней мере, резко снизить возможность засорения элементов конструкции клапана песком или другими механическими примесями, что снижает эрозию элементов конструкции от взаимодействия с примесями и предотвращает осаждение примесей между подвижными элементами конструкции клапана, что повышает надежность и долговечность работы клапана.
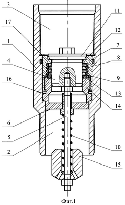
На фиг.1 представлен продольный разрез описываемого клапана с монолитным эластичным кольцом.
На фиг.2 представлен продольный разрез описываемого клапана с эластичным кольцом в виде манжеты.
Клапан погружного насоса содержит корпус 1 с входной 2 и выходной 3 полостями и размещенными в корпусе 1 запорным органом 4 со штоком 5 и седлом 6. Запорный орган 4 выполнен в виде плунжера с возможностью образования запорной пары с внутренней поверхностью седла 6, а последнее выполнено из размещенного в опорной втулке 7 набора подвижных в радиальном направлении и уплотненных эластичными элементами 8 колец 9, посадочные поверхности которых смещены эксцентрично относительно друг друга и поджаты в осевом направлении. Запорный орган 4 нагружен пружиной 10 и выполнен с упорным фланцем 11, а опорная втулка 7 седла 6 выполнена с кольцевой канавкой 12 под упорный фланец 11. Подвижные в радиальном направлении кольца 9 поджаты в осевом направлении через эластичное кольцо 13 упорной втулкой 14. Эластичное кольцо может быть выполнено из монолитного эластичного материала (фиг.1) с овальным, круглым или прямоугольным сечением, либо может быть выполнено в виде эластичной манжеты (фиг.2). Под запорным органом 4 на штоке 5 подвешен груз 15, пружина 10 расположена во входной полости 2 корпуса 1 между грузом 15 и упорной втулкой 14 седла 6, а последнее установлено в расточке 16 корпуса 1 и зафиксировано относительно него посредством разжимного кольца 17.
Клапан работает следующим образом.
Под действием пружины 10 и груза 15 запорный орган 4 опускается вниз и закрывает проходное отверстие клапана. При этом одна пара уплотнительных колец 9 под воздействием эластичных элементов 8 плотно прижимаются к поверхности выполненного в виде плунжера запорного органа 4 с противоположных сторон, а другая пара также прижимается к запорному органу 4 в перпендикулярном направлении, чем обеспечивается герметичность клапана. Зазор в осевом направлении устраняется за счет поджатия колец 9 между собой в осевом направлении за счет воздействия на них эластичного кольца 13 посредством упорной втулки 14.
При воздействии на запорный орган 4 давления снизу он поднимается и жидкость проходит через кольцевой зазор между подвижными кольцами 9 и запорным органом 4 в выходную полость 3 корпуса 1 клапана и далее по колонне труб (не показаны) на поверхность. При снятии давления снизу запорный орган 4 под воздействием пружины 10 и груза 15 и давления сверху опускается в седло 6.
Применение клапана предлагаемой конструкции обеспечивает работоспособность насосов в вертикальных и в наклонно-направленных скважинах при добыче различных сред из скважин в нефтегазовой и других отраслях промышленности.
Формула изобретения
Клапан погружного насоса, содержащий корпус с входной и выходной полостями и размещенными в корпусе запорным органом со штоком и седлом, причем запорный орган выполнен в виде плунжера с возможностью образования запорной пары с внутренней поверхностью седла, последнее выполнено из размещенного в опорной втулке набора подвижных в радиальном направлении и уплотненных эластичными элементами колец, посадочные поверхности которых смещены эксцентрично относительно друг друга и поджаты в осевом направлении, а запорный орган нагружен пружиной, отличающийся тем, что запорный орган выполнен с упорным фланцем, а опорная втулка седла выполнена с кольцевой канавкой под упорный фланец, при этом подвижные в радиальном направлении кольца поджаты в осевом направлении через эластичное кольцо упорной втулкой, под запорным органом на штоке подвешен груз, пружина расположена во входной полости корпуса между грузом и упорной втулкой седла, а последнее установлено в расточке корпуса и зафиксировано относительно него посредством разжимного кольца.
РИСУНКИ
|
|