|
|
(21), (22) Заявка: 2005131988/06, 17.10.2005
(24) Дата начала отсчета срока действия патента:
17.10.2005
(46) Опубликовано: 10.04.2007
(56) Список документов, цитированных в отчете о поиске:
RU 2004102750 А, 10.07.2005. RU 2225964 C1, 20.03.2000. RU 2168121 C1, 27.05.2001. RU 2140045 C1, 20.10.1999. US 4448348 A, 15.05.1984.
Адрес для переписки:
117587, Москва, Варшавское ш., 125, ОАО СКБ “Топаз”, начальнику отдела 23, А.Н. Зубареву
|
(72) Автор(ы):
Лускинович Петр Николаевич (RU), Зубарев Александр Николаевич (RU)
(73) Патентообладатель(и):
Открытое акционерное общество (ОАО) Специальное конструкторское бюро “ТОПАЗ” (RU), Лускинович Петр Николаевич (RU), Зубарев Александр Николаевич (RU)
|
(54) ЭЛЕКТРОРЕАКТИВНЫЙ ДВИГАТЕЛЬ
(57) Реферат:
Двигатель предназначен для создания реактивной тяги в электрореактивных двигателях, используемых в космическом пространстве и в плотных слоях атмосферы. Двигатель оснащен электронной системой управления, электрически связанной с источником электрической энергии; источник электронов подключен к потенциалу отрицательной полярности источника энергии через систему управления, а приемник электронов подключен к потенциалу положительной полярности источника энергии через систему управления и установлен на расстоянии от источника электронов, многократно превышающем длину свободного пробега электронов в газообразном рабочем теле. Источник и приемник электронов выполнены в форме токопроводящих пластин, причем поверхность источника электронов, обращенная к приемнику электронов, имеет многоигольчатую структуру. В пластине приемника электронов выполнены отверстия с образованием сетчатой или сотовой структуры. Изобретение позволяет расширить арсенал электрореактивных двигателей, упростить конструкцию и повысить экономичность двигателя. 7 з.п. ф-лы, 1 ил.
Изобретение относится к особым устройствам для создания реактивной тяги и может быть использовано при разработке электрореактивных двигателей, используемых в космическом пространстве и в плотных слоях атмосферы.
Известны электрореактивные двигатели (RU 2166667 С1, 10.05.2001; RU 2172865 С2, 10.04.2001; Корлисс У.Р. Ракетные двигатели для космических полетов. М.: Издательство иностранной литературы, 1962, с.349-353, 365-375; Фаворский О.Н., Фишгойт В.В., Янтовский Е.И. Основы теории космических электрореактивных двигательных установок. М.: Высшая школа, 1970, с.139-141).
Однако известные электрореактивные двигатели имеют сложную конструкцию и высокое потребление энергии.
Наиболее близким к заявленному изобретению является техническое решение того же назначения по патенту RU 2243408 С2, 06.08.98, МПК 7 – F03Н 5/00. Из RU 2243408 известен электрореактивный двигатель, включающий, как и заявленный, источник электрической энергии постоянного тока, источник электронов и приемник электронов.
Известный электрореактивный двигатель имеет сложную конструкцию вследствие большого количества взаимосвязанных рабочих элементов, а также предназначен для работы только в космическом пространстве.
Задача настоящего изобретения заключается в расширении арсенала технических средств определенного назначения, а именно электрореактивных двигателей, предназначенных как для космических летательных аппаратов, так и для других транспортных средств (например, самолетов), работающих в плотных слоях атмосферы. Кроме того, попутно решалась задача в упрощении конструкции и повышении экономичности двигателя.
Указанный технический результат достигается тем, что электрореактивный двигатель, содержащий источник электрической энергии постоянного тока, источник электронов и приемник электронов, согласно изобретению, снабжен электронной системой управления, электрически связанной с источником электрической энергии. Источник электронов подключен проводником к потенциалу отрицательной полярности источника электрической энергии через электронную систему управления. Приемник электронов подключен к потенциалу положительной полярности источника электрической энергии также через электронную систему управления и установлен на расстоянии от источника электронов, многократно превышающем длину свободного пробега электронов в газообразном рабочем теле. Источник электронов и приемник электронов выполнены в форме токопроводящих пластин, причем поверхность источника электронов, обращенная к приемнику электронов, имеет многоигольчатую структуру. В пластине приемника электронов выполнены отверстия с образованием сетчатой структуры.
Кроме того, для повышения экономичности при применении двигателя в плотных слоях атмосферы в качестве газообразного рабочего тела может быть использован воздух.
Целесообразно при применении двигателя в космическом пространстве в качестве газообразного рабочего тела использовать ксенон.
Предусмотрено, что для увеличения тяги двигателя путем увеличения количества молекул газа, выходящих из двигателя в окружающую среду, острия много игольчатой поверхности источника электронов могут быть выполнены из алмазоподобного материала.
С целью предотвращения лавинного пробоя между электродами рекомендуется, чтобы величина работы выхода электронов находилась в пределах от 1,5 до 4,5 электронвольт.
Рекомендуется для упрощения конструкции двигателя, чтобы токопроводящие пластины источника и приемника электронов были выполнены в форме дисков.
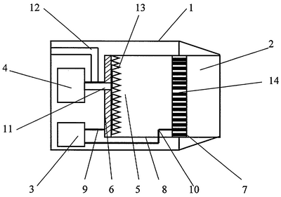
На чертеже приведена принципиальная схема электрореактивного двигателя.
Электрореактивный двигатель имеет цилиндрический корпус (1) с выходным устройством (соплом) (2) для выхода реактивной струи в окружающее пространство. В корпусе установлен блок питания (3), включающий источник электрической энергии постоянного тока и электронную систему управления, электрически связанную с источником электрической энергии. Электронная система управления состоит из преобразовательных, распределительных, регулирующих, блокирующих и защитных устройств, выполненных в виде отдельных модулей. В корпусе также установлена емкость (4) с газообразным рабочим телом и газоразрядная камера (5). Газоразрядная камера состоит из двух электродов, а именно из источника электронов (6) и приемника (он же нейтрализатор) электронов (7), заключенных в кожух (8), выполненный из непроводящего электрический ток материала. Источник электронов (6) подключен проводником (9) к потенциалу отрицательной полярности источника электрической энергии через электронную систему управления. Приемник электронов (7) подключен проводником (10) к потенциалу положительной полярности источника электрической энергии также через электронную систему управления и установлен на расстоянии от источника электронов, многократно превышающем длину свободного пробега электронов в газообразном рабочем теле. Такое расположение электродов обеспечивает режим работы двигателя без возникновения лавинного пробоя между ними, а следовательно, экономичный режим. Источник электронов снабжен каналом (11) для подвода газообразного рабочего тела, например ксенона. Использование в качестве газообразного рабочего тела ксенона обусловлено его высоким молекулярным весом, равным 130,2. Вход канала подсоединен к емкости (4) или может сообщаться с атмосферой по дополнительному каналу (12) в случае использования в качестве рабочего тела воздуха, особенно при работе двигателя в плотных слоях атмосферы. Выход канала (11) подсоединен к межэлектродному пространству (промежутку) у источника электронов (6). Источник электронов и приемник электронов выполнены в форме токопроводящих пластин. Для увеличения тяги двигателя (повышения экономичности) путем увеличения количества молекул газа, выходящих из двигателя в окружающую среду, поверхность источника электронов, обращенная к приемнику электронов, имеет многоигольчатую структуру (13). В пластине приемника электронов выполнены отверстия (14) с образованием сетчатой или сотовой структуры для входа и выхода реактивного потока молекул. Предусмотрено, что для повышения количества заряженных молекул в газоразрядной камере (5) и, как следствие, повышение экономичности двигателя острия многоигольчатой поверхности источника электронов могут быть выполнены из алмазоподобного материала ( -СН). Выполнение источника электронов с многоигольчатой структурой и из специального материала существенно снижает затраты энергии на выход электронов, что и приводит к повышению КПД двигателя. С целью предотвращения лавинного пробоя между электродами (следовательно, для обеспечения более экономичного режима работы двигателя), рекомендуется, чтобы величина работы выхода электронов находилась в пределах от 1,5 до 4,5 электронвольт. Для упрощения конструкции двигателя токопроводящие пластины источника и приемника электронов могут быть выполнены в форме дисков.
Электрореактивный двигатель работает следующим образом.
Электронная система управления обеспечивает генерацию напряжения между электродами и стабилизацию режима работы двигателя без возникновения лавинного процесса. Электронная система управления генерирует управляющее напряжение, положительный потенциал которого подается на пластину приемника электронов (7) с помощью проводника (10), а отрицательный потенциал – на источник электронов (6) с помощью проводника (9). Величина напряжения выбирается достаточной для создания напряженности электрического поля, при которой электроны инжектируются на молекулы газообразного рабочего тела, находящиеся в межэлектродном пространстве в газоразрядной камере (5), при этом молекулы газа заряжаются отрицательно. Под воздействием электрического поля в межэлектродном пространстве на отрицательно заряженные молекулы газа действует сила электростатического взаимодействия (сила Кулона). Под воздействием силы Кулона отрицательно заряженные молекулы начинают двигаться к приемнику электронов (7). В процессе направленного движения молекулы ускоряются и рассеиваются на нейтральных молекулах газа, сообщая им импульс движения. В результате в межэлектродном пространстве возникает поток заряженных и нейтральных молекул газа, направленный к приемнику электронов (7), в котором имеются отверстия для прохода газового потока. Отрицательно заряженные молекулы, подойдя к приемнику электронов, отдают электроны и становятся электронейтральными. Далее уже нейтральные молекулы, имеющие скорость, направленную по нормали к поверхности приемника электронов и находящиеся в области отверстий, проходят через отверстия в окружающее пространство, создавая при этом реактивную тягу.
При работе электрореактивного двигателя в плотных слоях атмосферы, для повышения экономичности, в качестве газообразного рабочего тела используется воздух, который по дополнительному каналу (12) и каналу (11) поступает из окружающей среды в газоразрядную камеру (5). При работе двигателя в космическом пространстве (или когда в качестве рабочего тела используется иной газ, например ксенон) газообразное рабочее тело поступает в газоразрядную камеру из емкости (4) по каналу (11), при этом дополнительный канал (12) перекрывается.
Формула изобретения
1. Электрореактивный двигатель, содержащий источник электрической энергии постоянного тока, источник электронов и приемник электронов, отличающийся тем, что двигатель снабжен электронной системой управления, электрически связанной с источником электрической энергии, источник электронов подключен проводником к потенциалу отрицательной полярности источника электрической энергии через электронную систему управления, приемник электронов подключен к потенциалу положительной полярности источника электрической энергии также через электронную систему управления и установлен на расстоянии от источника электронов многократно превышающем длину свободного пробега электронов в газообразном рабочем теле, источник электронов и приемник электронов выполнены в форме токопроводящих пластин, причем поверхность источника электронов, обращенная к приемнику электронов, имеет многоигольчатую структуру, а в пластине приемника электронов выполнены отверстия с образованием сетчатой структуры.
2. Двигатель по п.1, отличающийся тем, что в качестве газообразного рабочего тела используется воздух.
3. Двигатель по п.1, отличающийся тем, что в качестве газообразного рабочего тела используется ксенон.
4. Подогреватель по п.1, отличающийся тем, что перегородки теплообменного модуля снабжены отверстиями для последовательного сообщения каналов.
5. Подогреватель по п.1, отличающийся тем, что теплообменный модуль содержит дополнительный теплообменный элемент, расположенный в полости внутренней трубы теплообменного модуля и соединяющий его каналы.
6. Подогреватель по п.1, отличающийся тем, что он содержит шибер, расположенный в канале для подвода воздуха вблизи горелочного устройства.
7. Подогреватель по п.1, отличающийся тем, что теплообменнный модуль содержит ребра для увеличения теплообменной поверхности, расположенные между внутренней и внешней трубой и закрепленные на поверхности внутренней трубы.
8. Подогреватель по п.1, отличающийся тем, что стенки корпуса выполнены с теплоизоляцией.
РИСУНКИ
|
|