|
|
(21), (22) Заявка: 2005131862/06, 14.10.2005
(24) Дата начала отсчета срока действия патента:
14.10.2005
(46) Опубликовано: 10.04.2007
(56) Список документов, цитированных в отчете о поиске:
RU 1733683 A1, 15.05.1992. RU 1731068 A3, 30.04.1992. RU 1498937 A1, 07.08.1989. RU 430704 A1, 30.11.1986.
Адрес для переписки:
143907, Московская обл., г. Балашиха-7, пр. Ленина, 53, кв.273, Т.Х. Гарипову
|
(72) Автор(ы):
Гарипов Талгат Хайдарович (RU)
(73) Патентообладатель(и):
Гарипов Талгат Хайдарович (RU)
|
(54) МЕХАНИЧЕСКИЙ ДВИГАТЕЛЬ СИММЕТРИЧНЫЙ
(57) Реферат:
Двигатель предназначен, в частности, для приведения в движение всевозможных транспортных средств и для обеспечения работы электрогенератора. Двигатель содержит корпус, ведомый и пассивный диски и установленный между ними ведущий диск, ось которого пересекается с их осями под острым углом, вал ведомого диска выведен наружу. Ведомый и пассивный диски снабжены поршнями, размещаемыми в цилиндрах, установленных на ведущем диске с обеих сторон. К цилиндрам из общего канала подведены отверстия радиальных каналов, а из цилиндров выходят отверстия выхода, охваченные регулирующим кольцом. Общий канал соединен трубопроводом с дроссельной камерой, имеющей управляемую дроссельную заслонку. Дроссельная камера соединена с маслосборником. Механический двигатель отдает потребителю работу, которую совершает по перемещению поршней в цилиндрах. Изобретение обеспечивает возможность регулирования числа оборотов вала и экологическую безопасность. 1 ил.
Изобретение относится к энергетической технике и, в частности, может использоваться в качестве двигателя для приведения в движение автомобилей и других транспортных средств или для работы электрогенератора.
Известны радиально-поршневые гидромоторы, содержащие корпус-статор, ротор с цилиндрами и поршнями, направляющие статора, распределительный вал и устройство подвода жидкости (см. авт. свид. СССР №183075 от 09.06.1964. МКИ F 03 С 1/04).
В известном радиально-поршневом гидромоторе масло (жидкость) под давлением поступает от внешнего источника на устройство подвода масла и распределяется по цилиндрам с поршнями. Поршни передают усилие давления с помощью роликов, катящихся по направляющим статора, на ротор, который вращается и совершает работу.
К недостаткам известных радиально-поршневых гидромоторов относится то, что в них можно получать внешнюю работу, в виде вращения силового вала, за счет внешнего источника энергии, сжимающего жидкость. Все это снижает эффективность их использования, поэтому они применяются только как гидроусилители или как преобразователи давления.
Изобретение направлено на создание механического двигателя симметричного, в котором осуществляется циркуляция рабочего тела (жидкости), приводящая к непрерывному получению внешней работы (энергии) в виде вращения вала, в котором регулируется число оборотов вала и который будет работать без топлива.
Техническим результатом использования механического двигателя симметричного является то, что в нем будет осуществляться циркуляция рабочего тела, проводящая к непрерывному получению работы, в виде вращения вала.
Техническим результатом использования механического двигателя симметричного является то, что во время работы двигателя число оборотов его вала можно регулировать.
Техническим результатом использования механического двигателя симметричного является то, что он откроет новое экологически чистое направление в развитии энергетической техники.
Указанные технические результаты достигаются тем, что механический двигатель симметричный содержит герметичный корпус, в объеме которого размещаются выполненные на его противоположных стенках корпусы подшипников с центральными сквозными отверстиями, у которых оси вращения пересекающиеся в точке, определяемой конструктивным построением двигателя, и отклонены одна относительно другой под острым углом, в которые с помощью радиально-упорных подшипников устанавливаются валы ведущего диска и ведомого диска, свободные от вала плоскости торцов которых, образуя полукруги ската и подъема, взаимодействуют между собой поршнями, помещенными в полости равномерно распределенных по окружности цилиндров, размещенных на плоскости торца ведущего диска и направленных параллельно к оси вращения ведущего диска, на противоположной плоскости торца которого размещены в местах напротив, оппозитно такие же цилиндры, в полости которых помещены поршни, взаимодействующие с пассивным диском, в замкнутые объемы которых, как и в замкнутые объемы цилиндров, расположенных на противоположной плоскости торца ведущего диска, введены выполненные в теле ведущего диска по радиусам и проходящие по двум условным плоскостям для соответствующих цилиндров отверстия радиальных каналов, поперечная площадь каждого из которых не больше площади дна поршня, выходящие из расположенного в центре вала общего канала, имеющего установленную в нем с минимальным зазором закрепленную к крышке подшипников распределительную трубу, две смещенные поперечные оппозитные прорези которой, установленные к выходам радиальных каналов, равны половине ее диаметра, и выведенного на торец вала, закрытого крышкой подшипников, обеспечивающей с помощью сальникового уплотнения герметичность объема общего канала, который соединен трубопроводом с выходом из имеющей в своем объеме управляемую рычагом дроссельную заслонку дроссельной камеры, вход в которую соединен с наполненным жидким маслом маслосборником, расположенным в объеме корпуса, при этом концы выдвигаемых из цилиндров поршней закреплены с помощью шарнирных соединений, имеющих радиальные зазоры, на ведомом диске, вал которого выведен наружу, и на пассивном диске, который отодвинут от равного по наружному диаметру ведущего диска в направлении действия поршней на такое расстояние, на какое ведомый диск отодвинут от ведущего диска в направлении действия поршней, и который с помощью радиально-упорного подшипника, закрепленного в его корпусе подшипников, сделанном в центральном сквозном отверстии, установлен на опорную ось, выполненную из тела корпуса подшипников ведущего диска, так, что ее ось вращения параллельна оси вращения ведомого диска и принадлежит условной плоскости, проходящей через оси вращения ведущего и ведомого дисков, а на боковой поверхности ведущего диска, по оси радиальных каналов, выполнены соединенные с объемами цилиндров отверстия выхода, охваченные снаружи с минимальным зазором закрепленным к корпусу кольцом, две смещенные поперечные оппозитные прорези которого равны половине его диаметра и находятся у отверстий выхода, а начала и окончания их проходят по условной плоскости, принадлежащей осям вращения ведущего диска и ведомого диска, по которой проходят начала и окончания прорезей распределительной трубы, каждая из которых находится относительно этой плоскости на противоположной стороне от соответствующей ей прорези кольца.
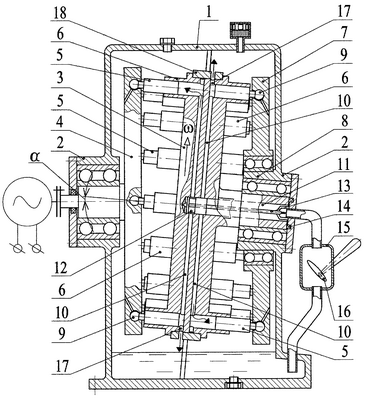
Сущность изобретения поясняется с помощью чертежей. На чертеже изображен механический двигатель симметричный, – угол наклона осей, – направление угловой скорости вращения.
Механический двигатель симметричный, далее механический двигатель, представляет автономный модуль, производящий механическую энергию. Корпус 1 механического двигателя выполнен из металла и образует герметичный объем. В объеме корпуса 1, на левой и правой стенках (см. чертеж) выполнены корпусы подшипников 2 с центральными сквозными отверстиями. Оси вращения корпусов подшипников 2 пересекаются в точке, определяемой конструктивным построением двигателя, а в месте пересечения отклонены одна относительно другой под острым углом, например, 5°. В результате оси вращения двух корпусов подшипников 2 принадлежат одной общей условной плоскости, которая проходит по продольной оси симметрии корпуса, В корпусы подшипников с помощью радиально-упорных подшипников устанавливаются валы ведущего диска 3 и ведомого диска 4. Ведущий и ведомый диски выполнены круглыми, одного диаметра и определенной толщины, а торцевые плоскости их параллельны. Каждый вал составляет единое целое с соответствующим ведущим диском 3 или ведомым диском 4 и расположен на одной оси вращения (соосно) с ним, поэтому их оси вращения совмещаются с осями вращения корпусов подшипников. При этом ось вращения ведомого диска 4 будет перпендикулярна к боковой стенке корпуса 1 (см. чертеж), потому что его вал устанавливается в корпус подшипников 2, ось вращения которого перпендикулярна к боковой стенке корпуса. Вал ведомого диска выведен наружу через уплотнение. Ведущий и ведомый диски и их валы изготовлены из легкого и прочного металла. Корпусы подшипников закрыты соответствующими крышками подшипников. Обращенные друг к другу свободные от вала плоскости торцов ведущего и ведомого дисков взаимодействуют между собой, например, шестнадцатью одинаковыми круглыми цилиндрическими поршнями 5. Поршни изготовлены из легкого и прочного материала. Поршни 5 помещены в круглые цилиндрические полости одинаковых цилиндров 6, и они в них подвижны. Цилиндры 6 размещены на плоскости торца ведущего диска и равномерно распределены по его наибольшей окружности, но за край его не выступают. Цилиндры 6, например, выполнены из тела ведущего диска 3. Оси вращения цилиндров направлены параллельно к оси вращения ведущего диска 3. На второй (на противоположной) плоскости торца ведущего диска 3, на таком же диаметре окружности, как упомянутые цилиндры, выполнены из тела ведущего диска в таких же местах оппозитно такие же шестнадцать цилиндров 6. В полости этих цилиндров 6 также помещены поршни 5, взаимодействующие с пассивным диском 7, который параллелен ведомому диску 4. В пассивном диске 7, в его центральном сквозном отверстии, сделан корпус подшипников. В этот корпус подшипников установлен радиально-упорный подшипник, с помощью которого пассивный диск 7 крепится на опорную ось 8, выполненную из тела корпуса подшипников 2 ведущего диска. Ось вращения опорной оси 8 параллельна оси вращения ведомого диска 4 и проходит по условной плоскости, принадлежащей осям вращения ведущего и ведомого дисков. При этом пассивный диск 7 отодвинут от равного по наружному диаметру ведущего диска 3 в направлении действия поршней на такое расстояние, на какое от ведущего диска отодвинут в направлении действия поршней ведомый диск 4. Концы поршней 5, которые выдвигаются из цилиндров с обеих сторон ведущего диска 3, закреплены с помощью, например, шаровых шарнирных соединений 9 на плоскости торца ведомого диска 4 и на плоскости торца пассивного диска 7, которые, в виду наклона их плоскостей торцов к оси вращения ведущего диска, образуют по полукругу ската и подъема. В данном случае конструктивного построения двигателя оси вращения корпусов подшипников 2 пересекаются в точке, лежащей на плоскости контакта шарниров 9 с ведомым диском. Шарнирные соединения 9 имеют радиальный зазор, поэтому направление осей зазоров совпадает с направлением радиусов ведомого и пассивного дисков, позволяя каждому шарнирному соединению описывать свою траекторию.
Для смазки шарнирных соединений к ним подведены выполненные в теле ведомого и пассивного дисков отверстия-ловушки. В замкнутые объемы цилиндров 6, расположенных на обеих плоскостях торцов ведущего диска 3, введены выполненные по радиусам в теле ведущего диска отверстия одинаковых радиальных каналов 10, которые при этом проходят по одной и по второй соответствующим расположению цилиндров условным плоскостям, параллельным плоскостям торцов ведущего диска. Входы отверстий радиальных каналов в цилиндры не должны перекрываться поршнями 5. Поперечная площадь радиального канала 10 равна или меньше площади дна поршня 5. Однако отношение площади дна поршня 5 к поперечной площади радиального канала 10 не должно быть больше, например, трех. Отверстия радиальных каналов, образуя два кольцевых ряда выходящих отверстий, соединяются с общим каналом 11, выполненным в центре вала ведущего диска 3, в виде глухого отверстия. Диаметр окружности общего канала подбирается таким, чтобы выходящие отверстия радиальных каналов не касались друг друга. Вход в общий канал выведен на торец вала ведущего диска 3. На боковой поверхности общего канала имеются продольные углубления, которые не доходят до выходящих отверстий радиальных каналов.
В общем канале размещается, прилегая к его стенке с минимальным зазором, распределительная труба 12. На распределительной трубе 12 выполнены две одинаковые смещенные относительно друг друга поперечные прорези, расположенные противоположно, оппозитно. Размер прорезей вглубь равен половине диаметра распределительной трубы, а в ширину их размер равен диаметру отверстия радиальных каналов. Продольные кромки прорезей, образующие их начала и окончания, острые, так как имеют скосы от их внутреннего диаметра к наружному. Периметр распределительной трубы в месте прорезей состоит из прорези и закрытой стороны. Одна прорезь и закрытая сторона распределительной трубы расположены на уровне одного ряда выходящих из общего канала отверстий радиальных каналов, а закрытая сторона и другая прорезь – на другом. Распределительная труба 12 закрепляется к крышке подшипников с помощью центрального стержня 13, поэтому крышку подшипников, закрывающую торец вала ведущего диска 3 и соответственно корпус подшипников 2, крепят к корпусу подшипников так, чтобы начала и окончания прорезей распределительной трубы 12 проходили по условной плоскости, принадлежащей осям вращения ведущего и ведомого дисков. Внутренняя поверхность крышки подшипников контактирует с помощью установленного в ее теле сальникового уплотнения 14 с торцом вала ведущего диска, обеспечивая герметичность объема общего канала. В объем общего канала 11 через крышку подшипников вводится трубопровод. Трубопровод соединен с выходом из герметичной дроссельной камеры 15. В объеме дроссельной камеры 15 установлена управляемая с помощью рычага дроссельная заслонка 16, предназначенная для изменения гидравлического сопротивления потока. Вход в дроссельную камеру 15 соединяется трубопроводом с маслосборником, расположенным в объеме корпуса 1. Маслосборник наполняется неиспаряющимся жидким маслом до расчетного уровня. Масло в механическом двигателе является рабочим телом, присутствие которого в определенном месте, при определенном условии (сжатие масла центробежной силой) выводит данную механическую систему из устойчивого состояния в возбужденное (эксцитативное) состояние и обеспечивает работу. При этом на боковой поверхности ведущего диска 3 (на ободе) по оси отверстий радиальных каналов 10 выполнены равные между собой отверстия выхода 17. Каждое отверстие выхода 17 соединяет объем цилиндра 6 с объемом корпуса 1. Поперечная площадь отверстия выхода 17 делается меньшей, чем площадь дна поршня. Отверстия выхода 17 по боковой поверхности ведущего диска охвачены закрепленным к корпусу 1 кольцом 18. Кольцо 18 прилегает к боковой поверхности ведущего диска с минимальным зазором, и оно по ней скользит. В кольце 18 выполнены смещенные относительно друг друга две одинаковые поперечные прорези, которые параллельны его торцам. Прорези на кольце 18 расположены противоположно, оппозитно. Вглубь размер прорезей равен половине диаметра кольца 18, а в ширину размер их равен диаметру отверстий выхода 17. Периметр кольца в месте прорезей состоит из прорези и закрытой стороны. Одна прорезь и закрытая сторона кольца находятся на уровне одного ряда отверстий выхода 17, а закрытая сторона и другая прорезь – на другом. Начала и окончания прорезей кольца 18 проходят по условной плоскости, принадлежащей осям вращения ведущего и ведомого дисков. При этом кольцо 18 устанавливают на корпусе 1 так, чтобы его любая прорезь находилась относительно условной плоскости, принадлежащей осям вращения ведущего и ведомого дисков, на противоположной стороне от соответствующей ей прорези распределительной трубы 12, связанной с ней одним рядом радиальных каналов. В результате если прорези распределительной трубы 12 при вращении дисков на полукругах скатов открывают вход в объемы цилиндров со стороны радиальных каналов, то в это время закрытые стороны кольца 18 закрывают их объемы со стороны корпуса, и наоборот.
Рабочее вращение дисков механического двигателя осуществляется в направлении увеличения наполнения объемов цилиндров, у которых отверстия выхода 15 при этом закрываются закрытыми сторонами кольца 16. Если механический двигатель изготовлен больших размеров, то в нем, для снятия больших осевых нагрузок действия поршней на ведущий, ведомый и пассивный диски, производится установка их валов на радиальные подшипники, а соответствующие плоскости торцов ведущего, ведомого и пассивного дисков упираются в упорные подшипники, установленные в корпусы подшипников соосно с радиальными. Причем ведущий диск 3 должен упираться в два упорных подшипника, удерживающих его с двух сторон от осевого смещения. Отмечаем, что условная плоскость, проходящая через середину толщины ведущего диска 3 параллельно его торцевым плоскостям, делит механический двигатель на симметричные технологические части. Это уравновешивает действие неуравновешенной центробежной силы, возникающей, если двигатель будет несимметричным. В корпусе 1 имеются отверстия для залива и слива масла с ввинчиваемыми в них пробками, фильтр-сопун для связи с атмосферой, а также герметичное окно контроля уровня масла. Напротив прорезей кольца 16 устанавливается закрепленный к корпусу отбойник масла. Корпус 1 имеет опоры, которыми он крепится к раме. Вал механического двигателя может быть соединен с редуктором транспортного средства или с электрогенератором. Механический двигатель снабжается стартером и аккумулятором, с помощью которых обеспечивается его запуск.
Работа механического двигателя симметричного осуществляется следующим образом (см. чертеж). В стационарно работающем механическом двигателе рабочее тело, масло, в дальнейшем масло, заполняет весь объем тракта, по которому оно циркулирует, это: трубопровод, дроссельная камера 15, общий канал 11, радиальные каналы 10 и объемы в цилиндрах 6, незанятые поршнями 5. Вращение взаимодействующих между собой ведущего 3, ведомого 4 и пассивного 7 дисков с расчетной скоростью, позволяющей получать внешнюю работу, осуществляется в направлении увеличения наполнения объемов цилиндров маслом, отверстия выхода 17 у которых при этом закрываются закрытыми сторонами кольца 18.
Чтобы облегчить описание работы механического двигателя, можно воспользоваться тем, что условная плоскость, проходящая через середину толщины ведущего диска 3 параллельно его торцевым плоскостям, делит механический двигатель на симметричные технологические части. Поэтому будем рассматривать, например, левую технологическую часть (см. чертеж) механического двигателя, где взаимодействуют поршнями 5 ведущий диск 3 и ведомый диск 4. Пусть при вращении дисков двигателя точка отсчета находится на ведущем диске 3, на стороне прорези кольца 18. Тогда масло из открытых отверстий выхода 17 ведущего диска будет выбрасываться, выталкиваемое поршнями 5, из объемов цилиндров 6, потому что на стороне полукруга подъема расстояние между установленными под углом друг к другу дисками сокращается. На масло, выбрасываемое из отверстий выхода, поперечная площадь которых меньше площади дна поршня, действует центробежная сила, помогающая его выходу. Но из радиальных каналов 10, связанных через объемы цилиндров 5 с этими отверстиями выхода 17, масло так выйти не может, потому что выходы в них из общего канала 11 закрыты закрытой стороной распределительной трубы 12, а выталкиваемое из цилиндров поршнями масло создает в каналах гидрозатвор.
При вращении дисков отверстия выхода подходят по порядку к концу прорези кольца 18, а выходы радиальных каналов из общего канала подходят к концу закрытой стороны распределительной трубы 12. При этом в подошедшем первом цилиндре 6, связанном с отверстием выхода 17, поршень 5 будет находиться в нижнем положении, и вытеснение масла им из цилиндра закончено. В следующий момент вращения дисков отверстия выхода 17 на ведущем диске по порядку закрываются закрытой стороной кольца 18, а выходящие отверстия радиальных каналов 10 по порядку открываются в результате совмещения их с прорезью распределительной трубы 12. Масло из радиальных каналов под действием центробежной силы начнет перемещаться и заполнять объемы цилиндров. На место масла, уходящего в цилиндры 6 из радиальных каналов 10, в радиальные каналы, в силу неразрывности потока, поступает масло из общего канала 11, в который оно всасывается из маслосборника, проходя по трубопроводу и по дроссельной камере 15. Поступающее в общий канал 11 масло будет в нем вращаться вместе с ведущим диском, так как оно соприкасается с продольными углублениями на поверхности общего канала. При этом находящееся в каждом радиальном канале 10 и вращающееся с постоянной угловой скоростью вместе с ведущим диском 3 масло представляет подвижный, перемещающийся в канале столб жидкости, на который как на тело диска действует сила инерции, состоящая из касательной силы инерции и нормальной силы инерции.
На столб заключенного в радиальном канале масла, направленного по радиусу, действует нормальная сила инерции, известная как центробежная сила. Действие центробежной силы направлено от центра, значит на слой масла, находящийся у входа в цилиндр, действует давление заключенного в радиальном канале подвижного столба масла, которое представляет центробежную силу давления этого масла (РЦБ). Центробежная сила давления масла каждого радиального канала давит на заключенное в соответствующем объеме цилиндра масло, повышая в нем давление, которое передается на поршни 5, в виде силы давления поршня (РП). Если площадь дна поршня больше поперечной площади радиального канала, то по закону гидростатики сила давления поршня на ведомый диск будет больше, чем центробежная сила давления масла на величину отношения площадей. Так как размещенные в цилиндрах поршни подвижны, то они под действием давления выталкиваются из них и через шарниры 9 передают силу давления поршней на ведомый диск. Поршни 5 в данном случае находятся на полукруге ската ведомого диска, поэтому силы давления каждого поршня, проецируясь по касательной на плоскость полукруга ската, представляют скатывающие силы поршней (FСК). Скатывающие силы поршней имеют плечо приложения, равное радиусу окружности расположения цилиндров, поэтому образуют моменты сил поршней (МП), которые вращают диски. А это указывает на то, что центробежная сила давления масла каждого задействованного радиального канала 10 способом выталкивания поршня 5 из цилиндра 6 (распирающая сила поршня 5 в цилиндре) отталкивается поршнем 5 на полукруге ската от вращающегося в том же направлении ведомого диска. 4. То есть центробежная сила давления масла совершает внешнюю работу на полукруге ската по перемещению каждого поршня 5 в цилиндре при постоянном давлении и обеспечивает на них образование моментов сил поршней. Полученные на полукруге ската моменты сил поршней превосходят касательные силы инерции вращающихся дисков, силы гидравлического сопротивления в тракте циркуляции масла и силы трения. Поэтому на полукруге ската цилиндры 6 будут постоянно заполняться всасываемым из маслосборника, а затем сжатым в радиальных каналах центробежной силой маслом, на которое в свою очередь давит центробежная сила давления масла радиальных каналов, выталкивающая из цилиндров на ведомый диск связанные с ним шарнирно поршни, с сохранением сил давления поршней, обеспечивающих безостановочную работу двигателя. Когда при вращении дисков соответствующие отверстия выхода 17 подходят по порядку к началу прорези кольца 18, а соответствующие радиальные каналы 10 – к началу закрытой стороны распределительной трубы 12, в подошедшем первом цилиндре 6, связанном с соответствующим радиальным каналом, поршень 5 будет находиться в верхнем положении, и заполнение маслом цилиндра действием центробежной силы давления масла, поступающего из радиального канала, закончено.
В следующий момент времени отверстия выхода 17, совмещаясь с прорезью кольца 18, по порядку открываются, а входы в радиальные каналы 10 закрытой стороной распределительной трубы 12 по порядку закрываются, и масло из объемов цилиндров, как описано выше, под действием давления поршней 5, выталкиваемых из цилиндров 6, будет выбрасываться из отверстий выхода 17. При этом точка отсчета на вращающихся дисках двигателя совершила полный оборот, один цикл, который не отличается от последующих циклов. Соответственно оппозитная точка отсчета на правой технологической части механического двигателя (см. чертеж) также совершила полный оборот, один цикл. Значит справа центробежная сила давления масла также совершает работу по перемещению каждого поршня 5 в цилиндре 6 на полукруге ската пассивного диска. Отмечаем, что заполнение маслом объемов цилиндров 6, а также их опорожнение, осуществляется одновременно, с обеих сторон ведущего диска 3. Поэтому работающий механический двигатель уравновешен. Силы давления поршней (распирающие силы) давят на скатываемые полукруги ведомого и пассивного дисков и, проецируясь по касательной линии на их наклонные плоскости, представляют скатывающие силы поршней. Скатывающие силы поршней от ведомого и пассивного дисков, имея плечи приложения, равные радиусам окружности расположения цилиндров, образуют симметричные моменты сил поршней, приложенные к вращающимся дискам. Полученные на полукругах ската моменты сил поршней вращают диски и обеспечивают безостановочную работу двигателя. Поэтому работа центробежных сил давления масла всех задействованных радиальных каналов, в виде приложенных к взаимодействующим дискам симметричных моментов сил поршней, передается на вал механического двигателя в непрерывной последовательности.
Трение в подшипниках и гидравлическое сопротивление поступающего в цикл масла в данном механическом двигателе сведены к минимуму. Дроссельная заслонка 16 в дроссельной камере 15 с помощью рычага переводится в такое положение, когда вся получаемая работа будет равна трению в подшипниках, расчетному гидравлическому сопротивлению тракта и гидравлическому сопротивлению, возникающему в дроссельной камере 15. То есть механический двигатель будет работать на холостом ходу. Переход в оптимальный режим вращения со снятием с вала двигателя полезной работы, используемой потребителем, осуществляется открытием дроссельной заслонки 16 на необходимый угол. А масло, выбрасываемое из отверстий выхода 17, ударяется об отбойник и разбрызгивается по объему корпуса 1. Большие капли масла стекают вниз, в маслосборник, откуда оно всасываются на циркуляцию, на непрерывную работу механического двигателя. Мелкие капли масла заполняют объем корпуса и участвуют в смазывании трущихся поверхностей, например шарнирных соединений.
Энергия, которая заставляет в механическом двигателе непрерывно вращаться взаимодействующие между собой с помощью поршней ведущий 3, ведомый 4 и пассивный 7 диски, представляет работу, которую совершает по перемещению поршней в цилиндрах развиваемая столбами жидкого масла, заключенных в радиальных каналах 10, центробежная сила давления масла, приложенная к каждому объему масла, заключенному в цилиндрах 6, которые в данный момент вращения дисков находятся у полукругов ската ведомого и пассивного дисков, а соответствующие радиальные каналы закрыты закрытой стороной кольца 16. Определяется центробежная сила давления столба масла, заключенного в каждом радиальном канале ведущего диска 3, как РЦБ=m·аЦС, где аЦС= 2·R – центростремительное ускорение, – угловая скорость вращения, R – радиус окружности расположения цилиндров, m=SК·h· – масса заключенного в радиальном канале масла, SК – площадь отверстия радиального канала на входе в цилиндр, h R – высота радиального канала (столба масла), – удельная плотность масла. Центробежная сила давления столба масла в каждом радиальном канале 10 действует на сообщающийся с ним объем масла (сосуд), заключенный в цилиндре 6, и поднимает в нем давление до рЦ=РЦБ/SК. Если площадь дна цилиндра больше поперечной площади радиального канала, то сила давления на дно поршня будет больше центробежной силы давления масла. Согласно закону гидростатики РП=РЦБ·SП/SК, где РП – сила давления поршня (распирающая сила), SП – площадь поршня. При этом возникающая в каждом радиальном канале 10 центробежная сила давления масла совершает работу при постоянном давлении рЦ по перемещению поршней 5 в цилиндрах на полукругах скатов ведомого и пассивного дисков и определяется как А=n· l·РЦБ·SП/SК или А=n· l·РЦБ, если SП=SК, где n – количество задействованных на скатываемых полукругах поршней, l – перемещение поршня на полукруге ската от положения l1 до положения l2. Силы давления поршней давят на полукруги скатов ведомого и пассивного дисков и, проецируясь по касательной линии на плоскости полукругов скатов, представляют скатывающие силы действия поршней, и каждая определяется как FCK=PП·sin , где – действующий угол наклона осей дисков, равный углу наклона между дисками, который изменяется в первой четверти круга от 0 до , а во второй четверти круга от до 0. Направленные по полукругам скатов ведомого и пассивного дисков скатывающие силы поршней, имея плечи приложения, равные радиусам окружности расположения цилиндров, образуют симметричные моменты сил поршней MП=2·FCK·R. Момент сил поршней, передаваемый на вал, определяется как их сумма МпОБЩ= 2·FCK·R.
Запуск механического двигателя симметричного осуществляется, например, электрическим стартером, питающимся от аккумулятора. Стартер входит кинематически в зацепление с валом ведомого диска 4 двигателя, а затем он осуществляет вращение связанных с ним ведомого, ведущего и пассивного дисков в направлении увеличения объемов цилиндров 6, выходные отверстия 17 которых закрываются закрытыми сторонами кольца 18. Дроссельная заслонка 16 дроссельной камеры открывается полностью. При быстром раскручивании взаимодействующих друг с другом ведомого, ведущего и пассивного дисков воздух, выталкиваемый поршнями 5 из объемов цилиндров 6, выходит на стороне прорезей кольца 18 из отверстий выхода. А когда при вращении дисков эти цилиндры с поршнями окажутся на стороне закрытых сторон кольца 18, когда отверстия выхода 17 их закрыты, воздух под действием разрежения, в результате вытягивания поршней из цилиндров 6, будет входить из радиальных каналов 10 в объемы каждого цилиндра. На освобождающиеся объемы, в радиальные каналы 10 и в объемы цилиндров 6 будет поступать воздух из общего канала, из трубопровода и из дроссельной камеры 15. Но вход в указанные объемы для воздуха закрыт уровнем масла (масляной пробкой). Поэтому в указанных объемах возникает разреженность. Масло под действием внешнего давления поступает по трубопроводу в дроссельную камеру 15, откуда по трубопроводу масло поступит в общий канал, а из него по радиальным каналам 10 в объемы цилиндров. Через определенный промежуток времени воздух из объемов цилиндров вытесняется маслом и механический двигатель будет безостановочно вращаться, работать. Стартер выходит из зацепления и отключается. А механический двигатель с помощью прикрытия дроссельной заслонки 16 переходит в оптимальный режим работы.
Формула изобретения
Механический двигатель симметричный, содержащий герметичный корпус, в объеме которого размещаются выполненные на его противоположных стенках корпусы подшипников с центральными сквозными отверстиями, у которых оси вращения, пересекающиеся в точке, определяемой конструктивным построением двигателя, отклонены одна относительно другой под острым углом, в которые с помощью радиально-упорных подшипников устанавливаются валы ведущего диска и ведомого диска, свободные от вала плоскости торцов которых, образуя полукруги ската и подъема, взаимодействуют между собой поршнями, помещенными в полости равномерно распределенных по окружности цилиндров, размещенных на плоскости торца ведущего диска и направленных параллельно к оси вращения ведущего диска, на противоположной плоскости торца которого размещены в местах напротив оппозитно такие же цилиндры, в полости которых помещены поршни, взаимодействующие с пассивным диском, в замкнутые объемы которых, как и в замкнутые объемы цилиндров, расположенных на противоположной плоскости торца ведущего диска, введены выполненные в теле ведущего диска по радиусам и проходящие по двум условным плоскостям для соответствующих цилиндров отверстия радиальных каналов, поперечная площадь каждого из которых не больше площади дна поршня, выходящие из расположенного в центре вала общего канала, имеющего установленную в нем с минимальным зазором закрепленную к крышке подшипников распределительную трубу, две смещенные поперечные оппозитные прорези которой, установленные к выходам радиальных каналов, равны половине ее диаметра, и выведенного на торец вала, закрытого крышкой подшипников, обеспечивающей с помощью сальникового уплотнения герметичность объема общего канала, который соединен трубопроводом с выходом из имеющей в своем объеме управляемую рычагом дроссельную заслонку дроссельной камеры, вход в которую соединен с наполненным жидким маслом маслосборником, расположенным в объеме корпуса, при этом концы выдвигаемых из цилиндров поршней закреплены с помощью шарнирных соединений, имеющих радиальные зазоры, на ведомом диске, вал которого выведен наружу, и на пассивном диске, который отодвинут от равного по наружному диаметру ведущего диска в направлении действия поршней на такое расстояние, на какое ведомый диск отодвинут от ведущего диска в направлении действия поршней, и который с помощью радиально-упорного подшипника, закрепленного в его корпусе подшипников, сделанном в центральном сквозном отверстии, установлен на опорную ось, выполненную из тела корпуса подшипников ведущего диска, так, что ее ось вращения параллельна оси вращения ведомого диска и принадлежит условной плоскости, проходящей через оси вращения ведущего и ведомого дисков, а на боковой поверхности ведущего диска по оси радиальных каналов выполнены соединенные с объемами цилиндров отверстия выхода, охваченные снаружи с минимальным зазором закрепленным к корпусу кольцом, две смещенные поперечные оппозитные прорези которого равны половине его диаметра и находятся у отверстий выхода, а начала и окончания их проходят по условной плоскости, принадлежащей осям вращения ведущего диска и ведомого диска, по которой проходят начала и окончания прорезей распределительной трубы, каждая из которых находится относительно этой плоскости на противоположной стороне от соответствующей ей прорези кольца.
РИСУНКИ
|
|