|
|
(21), (22) Заявка: 2003109434/06, 11.07.2002
(24) Дата начала отсчета срока действия патента:
11.07.2002
(30) Конвенционный приоритет:
19.07.2001 (пп.1-8) DE 10135141.0
(43) Дата публикации заявки: 20.10.2004
(46) Опубликовано: 10.04.2007
(56) Список документов, цитированных в отчете о поиске:
DE 2439981 A, 04.03.1976. JP 2000087829 A, 28.03.2000. SU 391282 A, 25.07.1973. SU 2423 A, 28.02.1927. US 5617758 A, 08.04.1997. US 5508566 A, 16.04.1996.
(85) Дата перевода заявки PCT на национальную фазу:
12.05.2003
(86) Заявка PCT:
DE 02/02533 (11.07.2002)
(87) Публикация PCT:
WO 03/008798 (30.01.2003)
Адрес для переписки:
101000, Москва, М.Златоустинский пер., 10, кв.15, ЕВРОМАРКПАТ, пат.пов. И.А.Веселицкой, рег. № 11
|
(72) Автор(ы):
СИМС Ханс-Дитер (DE), РИХТЕР Инго (DE), ХАРТМАН Свен (DE), БРАУН Ханс (DE), КУГЛЕР Юрген (DE)
(73) Патентообладатель(и):
РОБЕРТ БОШ ГМБХ (DE)
|
(54) СТАРТЕР
(57) Реферат:
Изобретение относится к электрооборудованию двигателей внутреннего сгорания, а именно к стартерам. Технический результат заключается в упрощении конструкции стартера. Согласно изобретению стартер включает в себя электродвигатель, приводной и выходной валы. Электродвигатель обеспечивает вращение приводного вала, с которым кинематически связан выходной вал, перемещаемый вдоль продольной оси и снабженный шестерней привода, вводимой в зацепление с зубчатым венцом маховика двигателя. Выдвижение выходного вала для введения шестерни привода в зацепление с указанным зубчатым венцом обеспечивается предусмотренной на статоре электродвигателя стартера полюсной трубкой, которая при подаче электрического тока на электродвигатель стартера поворачивается вокруг продольной оси электродвигателя. При этом предусмотрено устройство, позволяющее непосредственно преобразовывать поворот полюсной трубки в осевое перемещение, передаваемое на выходной вал. 7 з.п. ф-лы, 5 ил.
Настоящее изобретение относится к стартеру для двигателя внутреннего сгорания (ДВС), имеющему электродвигатель, приводимый во вращение этим электродвигателем приводной вал и кинематически связанный с этим приводным валом выходной вал, перемещаемый вдоль его продольной оси и снабженный шестерней привода, вводимой в зацепление с зубчатым венцом маховика ДВС, при этом выдвижение выходного вала для введения шестерни привода в зацепление с указанным зубчатым венцом обеспечивается предусмотренным на статоре электродвигателя стартера элементом – полюсной трубкой, который при подаче электрического тока на электродвигатель стартера поворачивается вокруг продольной оси электродвигателя.
В качестве стартеров для ДВС широко используются так называемые стартеры с инерционным приводом шестерни. Подобные стартеры с инерционным приводом шестерни имеют электродвигатель, приводной вал которого кинематически связан с выходным валом, перемещаемым вдоль его продольной оси. Приводной вал на его дальнем от электродвигателя стартера конце имеет крутую резьбу, с которой взаимодействует имеющий возможность поворота и поступательного перемещения поводковый хвостовик выходного вала. Этот поводковый хвостовик выходного вала через обгонную муфту соединен с хвостовиком, на котором расположена шестерня привода. При включении электродвигателя стартера выходной вал вместе с его поводковым хвостовиком, обгонная муфта и хвостовик с шестерней привода начинают перемещаться вперед, обеспечивая введение шестерни привода в зацепление с зубчатым колесом, кинематически связанным с валом ДВС, обычно в зацепление с зубчатым венцом маховика ДВС. Функцию по такому механическому введению шестерни привода в зацепление с зубчатым венцом маховика ДВС обычно выполняет механическое реле, которое, как правило, дополнительно берет на себя также переключательные функции по включению-выключению электродвигателя стартера. С подобным объединением функции по введению шестерни привода в зацепление с зубчатым венцом маховика с переключательной функцией связана необходимость установки на стартере соответствующего реле. Поскольку стартер расположен в зоне деформаций кузова транспортного средства, в случае дорожно-траспортного происшествия существует опасность соприкосновения находящихся под напряжением аккумуляторной батареей частей реле стартера с находящимся под потенциалом “массы” кузовом автомобиля и тем самым короткого замыкания. Стартер описанной выше конструкции известен, например, из DE 19625057 С1.
Из более ранней заявки DE 10016706.3 известен стартер без устанавливаемого на нем реле, которое берет на себя функцию по введению шестерни привода в зацепление с зубчатым венцом маховика. Работа такого стартера основана на так называемом принципе инерционного привода шестерни с торможением. Электродвигатель этого стартера имеет полюсную трубку, которая при подаче электрического тока на электродвигатель поворачивается вокруг продольной оси электродвигателя. Одновременно с этим поворотом полюсной трубки в действие приводится тормозной механизм, создающий действующий на поводковый хвостовик выходного вала тормозной момент. Под действием этого тормозного момента поводковый хвостовик начинает перемещаться вперед по крутой резьбе приводного вала электродвигателя, в результате чего шестерня привода стартера вводится в зацепление с зубчатым венцом маховика ДВС. Согласно рассмотренным в указанной заявке вариантам осуществления изобретения тормозной механизм состоит либо из соединенного с поводковым хвостовиком тормозного барабана, к которому прижимается тормозной клин, либо он состоит из собачки, перемещаемой относительно соединенного с поводковым хвостовиком с фрикционным замыканием диска, при этом тормозной момент передается на поводковый хвостовик за счет геометрического замыкания между собачкой и диском. Для изменения положения тормозного клина либо собачки требуется направленное по радиусу поводкового хвостовика усилие, создаваемое с помощью соответствующего механизма за счет преобразования поворотного движения полюсной трубки.
В изобретении предлагается стартер для ДВС, имеющий электродвигатель, приводимый во вращение этим электродвигателем приводной вал и кинематически связанный с этим приводным валом выходной вал, перемещаемый вдоль его продольной оси и снабженный шестерней привода, вводимой в зацепление с зубчатым венцом маховика ДВС. Выдвижение выходного вала для введения шестерни привода в зацепление с указанным зубчатым венцом обеспечивается предусмотренной на статоре электродвигателя стартера полюсной трубкой, которая при подаче электрического тока на электродвигатель стартера поворачивается вокруг продольной оси электродвигателя.
Отличие предлагаемого в изобретении стартера заключается в том, что в нем предусмотрено устройство, позволяющее непосредственно преобразовывать поворот полюсной трубки, совершаемый ей вокруг продольной оси электродвигателя при подаче электрического тока на электродвигатель стартера, в осевое перемещение, передаваемое на выходной вал. Подобное решение позволяет отказаться от применения в стартере реле, инициирующего выдвижение выходного вала для введения шестерни привода в зацепление с зубчатым венцом маховика. Помимо этого преобразование поворотного движения полюсной трубки в осевое перемещение, передаваемое на выходной вал. удается реализовать с использованием простых технических средств.
Предпочтительные варианты осуществления изобретения приведены в зависимых пунктах формулы.
Так, в частности, согласно одному из таких предпочтительных вариантов возможность преобразования поворотного движения полюсной трубки в осевое перемещение, передаваемое на выходной вал, обеспечивается благодаря тому, что предусмотрены направляющая поверхность и скользящий по ней направляющий элемент, при этом направляющая поверхность либо направляющий элемент кинематически связана, соответственно связан, с перемещаемым в осевом направлении выходным валом, а направляющий элемент либо соответственно направляющая поверхность расположен, соответственно расположена, на не перемещающейся в осевом направлении вместе с выходным валом части стартера. При этом полюсная трубка кинематически связана с направляющей поверхностью или направляющим элементом таким образом, чтобы направляющий элемент при повороте полюсной трубки скользил по направляющей поверхности. В этом случае направляющей поверхности и направляющему элементу придана такая форма, чтобы при скольжении направляющего элемента по направляющей поверхности выходной вал совершал осевое перемещение. С целью уменьшить трение между направляющей поверхностью и направляющим элементом между ними можно предусмотреть шарики, ролики или иные тела качения.
Согласно еще одному предпочтительному варианту на выходном валу установлен выступающий в основном в радиальном направлении диск, который имеет возможность поворота вокруг продольной оси выходного вала и в осевом направлении опирается на пружину, усилие которой направлено в направлении выдвижения приводного вала. Усилие подобной пружины способствует введению шестерни привода стартера в зацепление с зубчатым венцом маховика ДВС.
Полюсная трубка может быть с геометрическим и/или силовым замыканием соединена с диском таким образом, чтобы при повороте элемента статора имеющийся у диска направляющий элемент скользил по поднимающейся в направлении выдвижения выходного вала направляющей поверхности, а диск совершал при этом вместе с выходным валом осевое перемещение.
Направляющая поверхность или направляющий элемент может располагаться, например, на полюсной трубке.
Полюсная трубка, относящаяся к статору электродвигателя, предпочтительно устанавливается с возможностью поворота вокруг продольной оси электродвигателя, при этом предусмотрен пружинящий элемент, который противодействует вращающему моменту, возникающему при подаче электрического тока на электродвигатель и действующему на эту полюсную трубку.
Между диском и корпусной деталью стартера целесообразно установить пружинящий элемент, воздействующий на диск и тем самым на выходной вал усилием, направленным против направления выдвижения выходного вала.
Аналогично обычному стартеру с инерционным приводом шестерни в предлагаемом в изобретении стартере также целесообразно, чтобы приводной вал приводил выходной вал в движение с помощью крутой резьбы.
Чертежи
Ниже изобретение более подробно рассмотрено на примере нескольких вариантов его осуществления со ссылкой на прилагаемые чертежи, на которых показано:
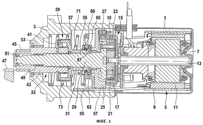
на фиг.1 – продольный разрез стартера,
на фиг.2-4 – вид в перспективе фрагмента стартера с находящимися в различных положениях полюсной трубкой и выходным валом и
на фиг.5 – фрагмент установленного на выходном валу диска со взаимодействующей с ним и проходящей через него лапкой полюсной трубки.
Описание вариантов осуществления изобретения
Показанный на фиг.1 в продольном разрезе стартер имеет состоящий из двух частей корпус, при этом в первой корпусной детали 1 размещен электродвигатель стартера, а во второй корпусной детали 3 размещен расположенный со стороны привода подшипник стартера. Электродвигатель стартера имеет известную конструкцию и состоит из статора 5 и установленного в нем с возможностью вращения ротора 7. Статор 5 имеет полюсную трубку 9 и расположенные в ней полюсы 11, выполненные в виде постоянных магнитов. Полюсная трубка 9 образует элемент, замыкающий магнитную цепь, в которую входят полюса 11 статора, расположенные концентрично вокруг ротора 7. Ротор 7 имеет вал 13 электродвигателя, с которым (валом) жестко без возможности вращения относительно него соединен шихтованный пакет сердечника. В не показанных на чертеже пазах этого шихтованного пакета сердечника расположены одна или несколько обмоток ротора.
Выступающий из электродвигателя стартера вал 13 кинематически связан с редуктором, предпочтительно с планетарным редуктором 15. При этом вал 13 электродвигателя приводит во вращение солнечное колесо 17, которое зацепляется с сателлитами 19 и 21, которые в свою очередь обкатываются по колесу 23 с внутренними зубьями. Колесо 23 с внутренними зубьями соединено с промежуточной опорой 25. Сателлиты 19 и 21 удерживаются водилом 27. Промежуточная опора 25 установлена в корпусной детали 3 стартера неподвижно, без возможности вращения относительно этой корпусной детали. Водило 27 жестко соединено с приводным валом 29 без возможности вращения относительно него, например выполнено за одно целое с ним.
На приводной вал 29 надет поводковый хвостовик 31 выходного вала 33. Приводной вал 29 и поводковый хвостовик 31 кинематически связаны между собой крутой резьбой 35. Такая соединяющая между собой приводной вал 29 и поводковый хвостовик 31 крутая резьба представляет собой так называемый механизм включения. Поводковый хвостовик 31 переходит в наружное кольцо 37 обгонной муфты 39 (механизма свободного хода). Наружное кольцо 37 обгонной муфты 39 через не показанные на чертеже зажимные элементы приводит во вращение внутреннее кольцо 41, которое соединено с хвостовиком 43 шестерни привода, которым (хвостовиком) оканчивается выходной вал 33. Этот хвостовик 43 на его конце, выступающем из корпусной детали 3 стартера, имеет шестерню 45 привода. При вращении вала 13 электродвигателя хвостовик 43 шестерни привода выдвигается вперед выполненным в виде крутой резьбы 35 механизмом включения, соединяющим между собой приводной вал 29 и выходной вал 33, в результате чего шестерня 45 вводится в зацепление с зубчатым венцом 47 маховика, через который во вращение приводится вал не показанного на чертеже двигателя внутреннего сгорания (ДВС). Процесс введения шестерни привода в зацепление с указанным зубчатым венцом и процесс ее выведения из такого зацепления более подробно описаны ниже.
В показанном на фиг.1 варианте приводной вал 29 установлен внутри выходного вала 33 с возможностью вращения относительно него в двух последовательно расположенных в осевом направлении подшипниках 49 и 51. Помимо этого выходной вал 33 установлен в корпусной детали 3 в подшипнике 53 с возможностью вращения вокруг своей продольной оси.
Полюсная трубка 9 электродвигателя стартера установлена с возможностью поворота вокруг продольной оси электродвигателя (вала 13 электродвигателя) на определенный угол (составляющий примерно от 10 до 30°). На полюсной трубке 9 расположена одна или несколько, предпочтительно три, лапки 55, которые входят внутрь корпусной детали 3, в которой размещен редуктор для привода выходного вала 33. Каждая из лапок 55 полюсной трубки 9 пропущена сквозь соответствующую выемку 57, предусмотренную на наружной боковой поверхности промежуточной опоры 25, установленной в корпусной детали 3 без возможности вращения относительно нее. Каждая из выемок 57 в промежуточной опоре 25 имеет по два ограничителя 59 и 61, которые ограничивают поворот полюсной трубки 9 вокруг продольной оси электродвигателя. Одна из таких имеющихся у промежуточной опоры 25 выемок 57 вместе с обоими ее ограничителями 59 и 61 и пропущенная через нее лапка 55 полюсной трубки 9 показаны на фиг.2-4, где в перспективе изображен фрагмент стартера.
При подаче на электродвигатель стартера электрического тока на полюсную трубку 9 начинает действовать вращающий момент, обусловленный силами электромагнитного взаимодействия между ротором и статором, в результате чего полюсная трубка 9 начинает поворачиваться в определенном направлении, например по часовой стрелке, вокруг продольной оси электродвигателя. В конструкции стартера предусмотрен не показанный на чертежах пружинящий элемент, который противодействует этому вращающему моменту, приложенному к полюсной трубке 9. Такой пружинящий элемент можно расположить, например, у промежуточной опоры 25. Величина действующего на полюсную трубку 9 вращающего момента зависит от силы тока. протекающего в обмотке ротора.
На поводковый хвостовик 31 выходного вала 33 установлен выступающий в основном в радиальном направлении диск 63, который имеет возможность поворота вокруг продольной оси этого поводкового хвостовика 31 выходного вала 33. Диск 63 застопорен или зафиксирован от осевого смещения в направлении, противоположном направлению выдвижения выходного вала 33. Подобная фиксация обеспечивается, например, с помощью надетого на поводковый хвостовик 31 стопорного кольца 65, к которому и прилегает этот диск 63. Стопорное кольцо 65 в свою очередь зафиксировано от осевого смещения в направлении, противоположном направлению выдвижения выходного вала 33, упорным кольцом 67. На поводковый хвостовик 31 с обращенной к обгонной муфте 39 стороны диска 63 надето опорное кольцо 69, поджимаемое к диску 63 пружиной 71, опирающейся на наружное кольцо 37 обгонной муфты 39. Эта пружина с учетом выполняемой ею функции при введении шестерни 45 привода в зацепление с зубчатым венцом 47 в дальнейшем называется буферной пружиной 71. Между диском 63 и корпусной деталью 3 установлена еще одна пружина 73, которая, как и буферная пружина 71, прикладывает к диску 63, а тем самым и к выходному валу 33 усилие в направлении, противоположном направлению выдвижения выходного вала 33. Эта вторая пружина 73 в последующем описании названа выключающей пружиной, поскольку она способствует выведению шестерни 45 привода из зацепления с зубчатым венцом 47. Для создания описанных выше усилий, необходимых для введения шестерни привода в зацепление с зубчатым венцом маховика, соответственно для ее выведения из такого зацепления, можно использовать и иные пружинящие элементы, устанавливаемые в других местах стартера, отличных от показанных на чертежах. Так, например, выключающую пружину 73 можно расположить также между хвостовиком 43 перемещаемого в осевом направлении выходного вала 33 и обращенным к шестерне привода концом зафиксированного от осевого перемещения приводного вала 29.
Ниже процесс введения шестерни привода в зацепление с зубчатым венцом маховика подробно рассмотрен со ссылкой на фиг.2-4, на которых показаны различные стадии этого процесса.
Для каждой лапки 55 полюсной трубки 9 диск 63 имеет на его наружном крае углубление 75, размеры которого подобраны с таким расчетом, чтобы каждая из лапок 55 полюсной трубки 9 входила в это углубление без зазора в радиальном направлении, но могла перемещаться в нем в осевом направлении. Тем самым диск 63 при повороте полюсной трубки 9 может поворачиваться вместе с ней на поводковом хвостовике 31, но одновременно с этим может также перемещаться в осевом направлении относительно полюсной трубки 9. Диск 63 имеет по меньшей мере один выпуклый участок 77, обращенный в осевом направлении к полюсной трубке 9. В зоне каждого такого выпуклого участка 77, имеющегося у диска 63, на неподвижной промежуточной опоре 25 имеется обращенный к диску 63 осевой выступ 79. Этот выступ 79 имеет направляющую поверхность 81, по которой может скользить имеющийся у диска 63 выпуклый участок 77, при этом выпуклому участку 77 и сопряженной с ним направляющей поверхности 81 придана такая форма, чтобы диск 63 при скольжении его выпуклого участка 77 по направляющей поверхности 81 перемещался вперед в сторону шестерни привода.
На фиг.2 стартер показан в исходном положении, когда его электродвигатель обесточен. В этом случае на полюсную трубку 9 еще не действует вращающий момент, и она упирается в левый ограничитель 59, образованный стенкой выемки 57 в промежуточной опоре 25. В этом исходном положении выходной вал 33 вместе с установленным на нем диском 63 отведен назад в сторону электродвигателя стартера настолько, что имеющийся у диска 63 уступ прилегает к промежуточной опоре 25. При подаче электрического тока на электродвигатель стартера на полюсную трубку 9 начинает действовать вращающий момент, который в показанном на фиг.2-4 варианте направлен по часовой стрелке, если смотреть с того конца стартера, который расположен со стороны шестерни привода. По мере увеличения силы тока в обмотке ротора электродвигателя полюсная трубка 9 вместе с ее лапками 55 начинает поворачиваться в сторону второго ограничителя 61, который образован стенкой предусмотренной для каждой такой лапки 55 выемки 57 в промежуточной опоре 25.
Как показано на фиг.3, каждая имеющаяся у полюсной трубки 9 лапка 55 при ее повороте одновременно поворачивает диск 63, имеющийся у которого выпуклый участок 77 скользит по направляющей поверхности 81 неподвижного выступа 79 на промежуточной опоре 25 и при этом вместе с выходным валом 33 перемещается вперед в сторону зубчатого венца 47 маховика ДВС. Таким путем выходной вал 33 сначала выдвигается до соприкосновения зубьев шестерни 45 привода стартера с зубьями зубчатого венца 47 маховика ДВС. С помощью крутой резьбы 35, соединяющей между собой приводной вал 29 и поводковый хвостовик 31, выходной вал 33 вместе с зубчатым венцом шестерни 45 привода выдвигается дальше вперед, преодолевая усилие буферной пружины 71, и одновременно поворачивается до тех пор, пока зубья шестерни 45 привода не окажутся напротив впадин между зубьями зубчатого венца 47 маховика ДВС и пока шестерня 45 привода в результате дальнейшего выдвижения выходного вала окончательно не войдет в зацепление с зубчатым венцом 47. На этом выдвижение выходного вала 33, соответственно его перемещение вперед, заканчивается.
На фиг.3 полюсная трубка 9 и диск 63 показаны в положении, соответствующем этому положению зацепления шестерни привода с зубчатым венцом маховика. При последующем повороте полюсной трубки 9 до упора ее соответствующих лапок в ограничитель 61, образованный стенкой выемки 57 в неподвижной промежуточной опоре 25, диск 63 продолжает перемещаться вперед против усилия буферной пружины 71 до тех пор, пока он надвинется на торец по меньшей мере одного сформированного на промежуточной опоре 25 и обращенного в осевом направлении уступа 83. В этом положении диск 63 вместе с выходным валом 33 застопорены от дальнейшего перемещения. Это положение показано на фиг.4.
По завершении описанного выше процесса введения шестерни привода в зацепление с зубчатым венцом маховика вал ДВС приводится во вращение шестерней 45 выходного вала 33, приводимого во вращение электродвигателем стартера, до тех пор, пока ДВС не запустится. После пуска ДВС нагрузка электродвигателя стартера снижается, в результате чего сила тока в цепи тока электродвигателя падает и вследствие этого уменьшается вращающий момент, действующий на полюсную трубку 9. Как только действующий на полюсную трубку 9 вращающий момент станет меньше некоторого значения, в кинематической цепи начнет преобладать усилие не показанной на чертеже возвратной пружины полюсной трубки, в результате чего диск 63 разблокируется и начнет вместе с выходным валом 33 отжиматься выключающей пружиной 73 в сторону электродвигателя стартера. При этом диск 63, скользя по направляющей поверхности 81 неподвижного выступа 79, будет поворачиваться вместе с полюсной трубкой 9 против часовой стрелки до тех пор, пока полюсная трубка 9 вместе с ее лапками 55 не повернется назад до их упора в ограничитель 59, образованный стенкой соответствующей выемки 57 в промежуточной опоре 25. В ходе этого процесса шестерня 45 привода вновь выводится из зацепления с зубчатым венцом 47 маховика ДВС. Такой же процесс вывода шестерни привода из зацепления с зубчатым венцом маховика происходит и при обесточивании электродвигателя стартера, например при отпускании ключа зажигания.
В одном из вариантов конструктивного исполнения рассмотренного выше стартера предлагается несколько иначе выполнять диск 63 и промежуточную опору 25. Если в описанном выше варианте уступ 83 входил в отверстие в диске 63 и представлял собой радиальный упор для этого отверстия в диске 63, то согласно другому варианту предлагается, с одной стороны, выполнять в диске 63 отверстие в виде слегка изогнутой прорези между двумя выпуклыми участками 77. С другой стороны, в соответствии с этим вариантом уступ 83 предлагается располагать не в зоне направляющей поверхности 81, а на осевом торце выступа 79.
Таким образом, единственный уступ 83 в этом варианте выполнен в виде штифта, выступающего в осевом направлении из выступа 79. Этот штифт изготовлен из металла и запрессован в промежуточную опору 25. Подобный штифт, преимущество которого заключается в его высокой износостойкости, вместо его запрессовки в промежуточную опору 25 можно также заливать в ее материал в процессе ее экструзии или литья под давлением. Помимо этого такой штифт, выполненный предпочтительно из стали, можно также соединять с промежуточной опорой ультразвуковой сваркой или же ввинчивать в нее.
Поскольку уступ при его выполнении из металла обладает более высокой износостойкостью, диск 63 можно выполнить более тонким, связанные с чем преимущества состоят в снижении массы диска и стартера в целом и в снижении момента инерции масс.
Для преобразования поворотного движения полюсной трубки 9 в осевое перемещение выходного вала 33 можно использовать и различные иные схемы, отличные от показанного на фиг.1-4 варианта. В принципе для подобного преобразования используется устройство, состоящее из направляющей поверхности и скользящего по ней направляющего элемента, при этом направляющая поверхность либо направляющий элемент кинематически связана, соответственно связан, с перемещаемым в осевом направлении выходным валом, а направляющий элемент либо направляющая поверхность расположен, соответственно расположена, на не перемещаемой в осевом направлении вместе с выходным валом части стартера. При этом полюсная трубка 9 должна быть кинематически связана с направляющей поверхностью или с направляющим элементом таким образом, чтобы при повороте полюсной трубки 9 направляющий элемент мог скользить по направляющей поверхности. Помимо этого направляющей поверхности и направляющему элементу необходимо придавать такую форму, чтобы при скольжении направляющего элемента по направляющей поверхности выходной вал 33 совершал осевое перемещение. В показанном на фиг.5 примере, где показан фрагмент полюсной трубки 9 и установленного на выходном валу 33 диска 63, направляющая поверхность образована лапкой 55 полюсной трубки 9. Иными словами, лапка 55 полюсной трубки, расположенная в углублении 75 диска 63, имеет участок со скошенными боковыми поверхностями 85 и 87, сходящимися в сторону диска 63. Эти боковые поверхности 85, 87 образуют направляющие поверхности для ограничивающих углубление 75 уступов 89 и 91. При повороте полюсной трубки 9 либо уступ 89 скользит по боковой поверхности 85, либо уступ 91 скользит по боковой поверхности 87 лапки полюсной трубки 9, что сопровождается перемещением вперед диска 63. Уступы 89 и 91 с целью уменьшить вероятность их торможения при их скольжении по боковым поверхностям 85, соответственно 87 лапки полюсной трубки 9, выполнены скругленными.
С целью уменьшить в описанных выше вариантах трение между направляющей поверхностью и направляющим элементом между ними можно предусмотреть шарики, ролики или иные тела качения.
Формула изобретения
1. Стартер для двигателя внутреннего сгорания (ДВС), имеющий электродвигатель (5, 7), приводимый во вращение этим электродвигателем (5, 7) приводной вал (29) и кинематически связанный с этим приводным валом (29) выходной вал (33), перемещаемый вдоль его продольной оси и снабженный шестерней (45) привода, вводимой в зацепление с зубчатым венцом (47) маховика ДВС, при этом выдвижение выходного вала (33) для введения шестерни (45) привода в зацепление с указанным зубчатым венцом (47) обеспечивается предусмотренной на статоре (5) электродвигателя (5, 7) стартера полюсной трубкой (9), которая при подаче электрического тока на электродвигатель (5, 7) стартера поворачивается вокруг продольной оси электродвигателя, отличающийся тем, что предусмотрено устройство (55, 63, 77, 79, 85, 87, 89, 91), позволяющее непосредственно преобразовывать поворот полюсной трубки (9) в осевое перемещение, передаваемое на выходной вал (33).
2. Стартер по п.1, отличающийся тем, что указанное устройство состоит из направляющей поверхности (81, 85, 87) и скользящего по ней направляющего элемента (77, 89, 91), при этом направляющая поверхность (81, 85, 87) либо направляющий элемент (77, 89, 91) кинематически связана соответственно связан с перемещаемым в осевом направлении выходным валом (33), а направляющий элемент (77, 89, 91) либо соответственно направляющая поверхность (81, 85, 87) расположен, соответственно расположена, на не перемещающейся в осевом направлении вместе с выходным валом (33) части (25) стартера, полюсная (9) трубка кинематически связана с направляющей поверхностью (81, 85, 87) или направляющим элементом (77, 89, 91) таким образом, чтобы направляющий элемент (77, 89, 91) при повороте полюсной трубки (9) скользил по направляющей поверхности (81, 85, 87), и направляющей поверхности (81, 85, 87) и направляющему элементу (77, 89, 91) придана такая форма, чтобы при скольжении направляющего элемента (77, 89, 91) по направляющей поверхности (81, 85, 87) выходной вал (33) совершал осевое перемещение.
3. Стартер по п.1, отличающийся тем, что на выходном валу (33) установлен выступающий в основном в радиальном направлении диск (63), который имеет возможность поворота вокруг продольной оси выходного вала (33) и в осевом направлении опирается на пружину (71), усилие которой направлено в направлении выдвижения приводного вала.
4. Стартер по п.2 или 3, отличающийся тем, что полюсная трубка (9) с геометрическим и/или силовым замыканием соединена с диском (63) таким образом, чтобы при повороте полюсной трубки (9) имеющийся у диска (63) направляющий элемент (77) скользил по поднимающейся в направлении выдвижения выходного вала (33) направляющей поверхности (81), а диск (63) совершал при этом вместе с выходным валом (33) осевое перемещение.
5. Стартер по п.2, отличающийся тем, что направляющая поверхность (85, 87) или направляющий элемент расположена, соответственно расположен, на полюсной трубке (9).
6. Стартер по п.2, отличающийся тем, что полюсная трубка (9), относящаяся к статору (5) электродвигателя стартера, установлена с возможностью поворота вокруг продольной оси электродвигателя и предусмотрен пружинящий элемент, который противодействует вращающему моменту, возникающему при подаче электрического тока на электродвигатель и действующему на полюсную трубку (9).
7. Стартер по п.3, отличающийся тем, что между диском (63) и корпусной деталью (3) стартера установлен пружинящий элемент (73), воздействующий на диск (63) и тем самым на выходной вал (33) усилием, направленным против направления выдвижения выходного вала.
8. Стартер по любому из пп.1-3, отличающийся тем, что приводной вал (29) приводит выходной вал (33) в движение с помощью крутой резьбы (35).
РИСУНКИ
MM4A – Досрочное прекращение действия патента СССР или патента Российской Федерации на изобретение из-за неуплаты в установленный срок пошлины за поддержание патента в силе
Дата прекращения действия патента: 12.07.2009
Извещение опубликовано: 20.07.2010 БИ: 20/2010
|
|