|
|
(21), (22) Заявка: 2005110009/06, 06.04.2005
(24) Дата начала отсчета срока действия патента:
06.04.2005
(46) Опубликовано: 10.04.2007
(56) Список документов, цитированных в отчете о поиске:
WO 9954609 А, 28.10.1999. US 6050079 А, 18.04.2000. RU 2098649 C1, 10.12.1997. RU 2193678 C2, 27.11.2002. RU 2159335 C1, 20.11.2000. SU 1515828 A1, 20.07.1987.
Адрес для переписки:
614990, г.Пермь, ГСП, Комсомольский пр-кт, 93, ОАО “Авиадвигатель”, отдел защиты интеллектуальной собственности
|
(72) Автор(ы):
Тункин Анатолий Иванович (RU)
(73) Патентообладатель(и):
Открытое акционерное общество “Авиадвигатель” (RU)
|
(54) ТУРБОКОМПРЕССОР ГАЗОТУРБИННОГО ДВИГАТЕЛЯ
(57) Реферат:
Изобретение относится к газотурбинным двигателям авиационного и наземного применения и позволяет повысить надежность и экономичность двигателя за счет уменьшения потерь в тракте. Турбокомпрессор газотурбинного двигателя с задней опорой, расположенной под камерой сгорания. Внутри турбокомпрессора выполнены две полости охлаждения воздуха, первая внутренняя выполнена в передней части ротора компрессора между валами, а вторая расположена над первой полостью вокруг задней опоры турбокомпрессора между внутренними наружными фланцами, при этом в валу турбокомпрессора выполнены перепускные отверстия. Внутри второй полости охлаждения воздуха образована обечайками внутренних фланцев полость сброса воздуха. 1 з.п. ф-лы, 1 ил.
Изобретение относится к газотурбинным двигателям авиационного и наземного применения.
Известна задняя опора турбокомпрессора, расположенная под камерой сгорания, где охлаждение и наддув опоры под камерой сгорания и охлаждение турбины выполнено по каналам, проходящим через проточную часть между компрессором и камерой сгорания (патент WO 99/54609).
Недостатком известной конструкции является загромождение проточной части, что увеличивает потери в тракте и подогрев охлаждающего воздуха.
Наиболее близким к заявляемому изобретению является турбокомпрессор газотурбинного двигателя, охлаждение валов ротора которого и внутренних обойм подшипников осуществляется холодным воздухом, проходящим внутри вала турбокомпрессора. Охлаждение фланцев опор и наддув масляных полостей опор турбокомпрессора, расположенных под камерой сгорания, осуществляется воздухом с подводом его через стойки камеры сгорания, а на охлаждение турбины отбирается воздух за компрессором (патент US 6050079).
Недостатком известной конструкции, принятой за прототип, является наличие сложной двухсторонней подачи воздуха на охлаждение опор турбокомпрессора, расположенных под камерой сгорания, подвод воздуха через стойки камеры сгорания загромождает проточную часть, увеличивает потери в тракте.
Техническая задача, на решение которой направлено заявляемое изобретение, заключается в повышении надежности и экономичности двигателя за счет уменьшения потерь в тракте путем исключения магистрали подвода воздуха через газовоздушный тракт между компрессором и камерой сгорания.
Сущность технического решения заключается в том, что в турбокомпрессоре газотурбинного двигателя с расположенной под камерой сгорания задней опорой, согласно изобретению внутри турбокомпрессора выполнены две полости охлаждения воздуха, первая внутренняя выполнена в передней части ротора компрессора между валами, а вторая расположена над первой полостью вокруг задней опоры турбокомпрессора между внутренними и наружными фланцами, при этом в валу турбокомпрессора выполнены перепускные отверстия. Внутри второй полости охлаждения воздуха образована обечайками внутренних фланцев полость сброса воздуха.
Выполнение двух полостей охлаждения воздуха внутри турбокомпрессора, первой внутренней – в передней части ротора компрессора между валами, а второй – над первой полостью вокруг задней опоры турбокомпрессора между наружными и внутренними фланцами, исключает подвод воздуха через газовоздушный тракт между компрессором и камерой сгорания, что уменьшает потери в тракте и повышает экономичность двигателя.
Выполнение перепускных отверстий в валу турбокомпрессора обеспечивает охлаждение ротора турбины.
Полость сброса воздуха, образованная обечайками внутренних фланцев, исключает попадание утечек горячего воздуха в масляную полость подшипника, что повышает надежность двигателя.
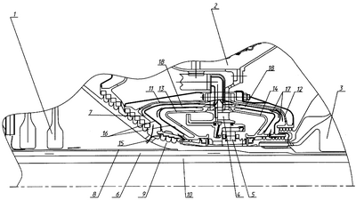
На чертеже изображен продольный разрез турбокомпрессора.
Турбокомпрессор газотурбинного двигателя состоит из компрессора 1, камеры сгорания 2, турбины 3. Задняя опора 4 с подшипником 5 расположена под камерой сгорания 2. Внутри турбокомпрессора выполнены две полости охлаждения воздуха 6 и 7, разделенные трубой 8, установленной в роторе компрессора. Первая внутренняя полость охлаждения 6 выполнена в передней части ротора компрессора между валами 9 и 10, а вторая полость 7 расположена над первой 6 вокруг задней опоры 4 турбокомпрессора между наружными 11, 12 и внутренними 13, 14 фланцами, при этом в валу 9 турбокомпрессора выполнены перепускные отверстия 15. Внутри второй полости охлаждения 7 образована внутренними обечайками 16, 17 полость сброса воздуха 18.
При работе двигателя охлаждающий воздух первой полости охлаждения 6, который отбирается из проточной части, например, перед компрессором 1, проходит внутри ротора под трубой 8 и далее направляется между валами 9 и 10 в сторону турбины 3. Воздух второй полости охлаждения воздуха 7 отбирается из-за середины компрессора высокого давления и направляется между трубой 8 и ступицами дисков и далее через перепускные отверстия 15 вала 9 внутри наружных фланцев 11 и 12 и далее на охлаждение ротора турбины. Вторая полость охлаждения 7, служащая для охлаждения ротора турбины, также теплоизолирует опору 5 подшипника 4 от подвода тепла со стороны камеры сгорания. Полость сброса воздуха 18, образованная обечайками 16, 17 внутри второй полости охлаждения 7, исключает попадание утечек горячего воздуха в масляную полость подшипника 5, что также повышает надежность турбокомпрессора.
Формула изобретения
1. Турбокомпрессор газотурбинного двигателя с расположенной под камерой сгорания задней опорой, отличающийся тем, что внутри турбокомпрессора выполнены две полости охлаждения воздуха, первая внутренняя выполнена в передней части ротора компрессора между валами, а вторая расположена над первой полостью вокруг задней опоры турбокомпрессора между внутренними и наружными фланцами, при этом в вале турбокомпрессора выполнены перепускные отверстия.
2. Турбокомпрессор газотурбинного двигателя по п.1, отличающийся тем, что внутри второй полости охлаждения воздуха образована обечайками внутренних фланцев полость сброса воздуха.
РИСУНКИ
|
|