|
|
(21), (22) Заявка: 2005124985/06, 08.08.2005
(24) Дата начала отсчета срока действия патента:
08.08.2005
(46) Опубликовано: 10.04.2007
(56) Список документов, цитированных в отчете о поиске:
DE 505830 A, 26.08.1930. DE 3617365 A1, 26.11.1987. GB 324743 A, 06.02.1930. US 4834033 A, 30.05.1989. FR 617183 A, 15.02.1927. RU 2117789 C1, 20.08.1998. RU 2178527 C2, 20.01.2002.
Адрес для переписки:
454080, г.Челябинск, а/я 12828, П.И. Чернявских
|
(72) Автор(ы):
Чернявских Павел Иванович (RU), Чернявских Александр Павлович (RU), Чернявских Дмитрий Николаевич (RU)
(73) Патентообладатель(и):
Чернявских Павел Иванович (RU), Чернявских Александр Павлович (RU), Чернявских Дмитрий Николаевич (RU)
|
(54) МНОГОЦИЛИНДРОВЫЙ БЕСШАТУННЫЙ ОППОЗИТНЫЙ ЧЕТЫРЕХТАКТНЫЙ ДВИГАТЕЛЬ ВНУТРЕННЕГО СГОРАНИЯ
(57) Реферат:
Изобретение относится к машиностроению, в частности к конструкции многоцилиндровых бесшатунных двигателей внутреннего сгорания. Технический результат заключается в уменьшении габаритов и металлоемкости двигателя. Сущность изобретения состоит в том, двигатель внутреннего сгорания содержит два закрепленных оппозитно на общем картере как минимум восьмицилиндровых блока с цилиндрами, расположенными симметрично и параллельно оси вала двигателя. В цилиндрах размещены поршни, попарно оппозитно закрепленные на штоках. Над каждым блоком цилиндров расположено по газораспределительному узлу. Картер выполнен в форме полого цилиндра с фланцами с обеих сторон, а во фланцах выполнены окна для поршневых штоков. В корпусе картера параллельно его оси выполнены как минимум четыре паза, а между фланцами над пазами в корпусе картера и параллельно им установлены планки с пазами. Вал двигателя имеет увеличенный в диаметре по сравнению с двумя полуосями центральный узел, расположенный в полости картера. На цилиндрической поверхности центрального узла вала выполнена замкнутая синусоидальная профильная канавка. Две полуоси вала с установленными на них подшипниками качения проходят через центральные отверстия в блоках цилиндров. Каждые четыре поршня с использованием двух штоков и жесткой перемычки между штоками попарно оппозитно соединены в Н-образные штокопоршневые узлы (ШПУ). При этом на межштоковой перемычке перпендикулярно осям штоков и валу двигателя установлена ось с тремя роликами. Один из роликов входит в синусоидальную канавку, выполненную на боковой поверхности центральной части вала, и передает полезную работу на вал двигателя, а два других ролика входят соответственно в паз картера и в паз направляющей планки, воспринимают тангенциальные нагрузки и обеспечивают перемещение штокопоршневого узла параллельно оси двигателя. 5 з.п. ф-лы, 18 ил.
Изобретение относится к машиностроению, а именно к конструкции бесшатунных многоцилиндровых двигателей внутреннего сгорания.
Цель изобретения – уменьшение габаритов и металлоемкости бесшатунного двигателя внутреннего сгорания, достигаемых за счет упрощения конструкции узлов и деталей, служащих для передачи на рабочий вал двигателя энергии расширения газов при сгорании топлива в цилиндрах.
Известны многоцилиндровые четырехтактные, в том числе бесшатунные, двигатели внутреннего сгорания, в которых передача энергии от расширения газов при сгорании топлива в одном из цилиндров на поршни цилиндров, в которых происходят подготовительные такты (выпуск, впуск, сжатие), осуществляется через механические, чаще всего многозвенные шарнирные передаточные устройства, каковыми являются либо шатуны или штоки и коленчатые валы, либо качающиеся косые или пространственные шайбы, либо системы шарнирно соединенных рычагов, либо зубчатые рейки и шестерни. При этом значительная часть энергии от сгорания в цилиндрах топлива расходуется на преодоление сил трения в узлах трансмиссий, а рабочий вал двигателя используется как один из основных узлов этой трансмиссии.
Близким к патентуемому по технической сущности является оппозитный двигатель внутреннего сгорания (см. патент РФ №2089733, МПК F01B 3/04, 9/06, F02B 75/24, 75/32 опубл. 10.09.1997), который содержит, по крайней мере, два оппозитно расположенных поршня, связанных между собой общим штоком, зафиксированным от проворота, с кулачковым элементом в центральной части, взаимодействующим со втулкой с зубчатым венцом через канавку синусоидальной формы, что позволяет при осевом смещении штока провернуть втулку и передать момент потребителю. В данном двигателе передача энергии на рабочий вал происходит при сгорании топлива (рабочем ходе) в каждом из двух цилиндров, а при подготовительных тактах – выпуске, впуске и сжатии – энергия “отнимается” у потребителя. Кроме того, для приведения в действие механизма газораспределения требуются дополнительные многозвенные шарнирные узлы трансмиссии. Кроме того, при данной конструкции двигатель не сбалансирован кинематически.
Наиболее близким по технической сущности является выбранный за прототип (Заявка РФ на изобретение №2001124006/06 от 03.09.2001 г. и патент РФ на полезные модели №29963 с приоритетом от 19.09.2001) “импульсивный двигатель внутреннего сгорания”, в котором поршни в оппозитно расположенных цилиндрах соединены штангами (штоками), а два параллельно расположенных штока основных и дополнительных пар поршней жестко соединены и имеют шарнирно закрепленные на межтоковых перемычках шатуны, взаимодействующие с двусторонней обгонной муфтой, кинематически связанной с валом отбора мощности.
Недостатком данной конструкции является кинематическая несбалансированность системы, сложность конструкции механизма передачи энергии от поршней к потребителю, а также необходимость дополнительных узлов и деталей трансмиссии для обеспечения работы газораспределительной системы.
Изобретение решает задачу уменьшения габаритов и металлоемкости двигателя внутреннего сгорания, а также повышения его КПД, достигаемых за счет совершенствования конструкции механизма передачи энергии от поршня в цилиндре с рабочим ходом (тактом), к поршням в цилиндрах со вспомогательными (подготовительными – выпуск, впуск, сжатие) тактами и передачи эффективной (полезной) работы от поршней на рабочий вал двигателя. Кроме того, в патентуемом двигателе газораспределительный механизм установлен непосредственно на рабочем валу двигателя без системы трансмиссии.
Согласно изобретению многоцилиндровый двигатель внутреннего сгорания содержит два закрепленных оппозитно на общем для них картере как минимум восьмицилиндровых блока с цилиндрами, расположенными симметрично и параллельно оси вала веретенообразной формы, центральная часть которого расположена в полости картера, поршни, попарно оппозитно закрепленные на штоках, два газораспределительных узла, расположенных над блоками цилиндров. Картер выполнен в форме полого цилиндра с фланцами с обеих сторон, при этом во фланцах выполнены окна для поршневых штоков. В корпусе картера параллельно его оси выполнены как минимум четыре паза, а между фланцами над пазами в корпусе картера и параллельно им установлены планки с пазами. Вал веретенообразной формы имеет центральный, расположенный в полости картера, увеличенный в диаметре по сравнению с двумя полуосями узел, на цилиндрической поверхности которого выполнена замкнутая синусоидальная профильная канавка с амплитудой размаха синусоиды, равной ходу поршня между “верхним” и “нижним” мертвыми положениями, длина синусоиды равна двум ее периодам. Две полуоси вала с установленными на них подшипниками качения проходят через центральные отверстия в блоках цилиндров. Каждые четыре поршня с использованием двух штоков и жесткой перемычки между штоками попарно оппозитно соединены в Н-образные штокопоршневые узлы – ШПУ. При этом на межштоковой перемычке перпендикулярно осям штоков и валу двигателя установлена ось с, по меньшей мере, тремя роликами – кулачками. Один из роликов входит в синусоидальную канавку, выполненную на боковой поверхности центральной части вала, и передает полезную работу на вал двигателя, а два других ролика входят соответственно в паз картера и в паз направляющей планки, воспринимают тангенциальные нагрузки и обеспечивают перемещение штокопоршневого узла параллельно оси двигателя. Число штокопоршневых узлов, расположенных вокруг вала, не менее четырех, при этом их может быть четыре, восемь или шестнадцать, а штоки поршней могут быть выполнены регулируемой длины. Газораспределительные механизмы выполнены раздельно для каждого из оппозитно расположенных блоков цилиндров в виде закрепленных на полуосях вала двигателя шайб или втулок с, как минимум, четырьмя сегментами-кулачками, при этом каждый из кулачков последовательно воздействует на одноименные клапаны как минимум, четырех цилиндров, расположенных вокруг вала. Смазка двигателя осуществляется дозированной подачей масла, распыленного и в смеси с негорючим газом подаваемого либо через осевое отверстие в вале двигателя и радиальные каналы в зону полости картера с последующей подачей масляно-газовой смеси через подшипники качения полуосей вала и откачкой смеси через штуцеры в крышках головок блоков цилиндров, либо подачей масляно-газовой смеси через штуцеры в крышках головок блоков цилиндров, полости между полуосями вала и блоками цилиндров с откачкой смеси из полости картера. В качестве газовой составляющей компонентов смазки используется азот или углекислый газ, или охлажденные отработанные газы двигателя.
Устройство и принцип работы двигателя поясняется чертежами, на которых изображено:
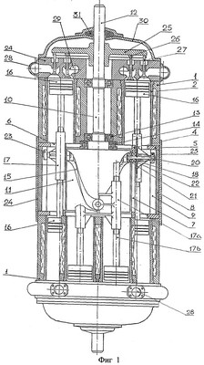
Фиг.1 – продольный разрез двигателя.
Фиг.2 – картер двигателя, продольный разрез.
Фиг.2а – картер двигателя, поперечный разрез.
Фиг.2b – картер двигателя без направляющих планок, продольный разрез.
Фиг.2с – картер двигателя, вид А на фиг 2b.
Фиг.3 – поперечный разрез двигателя при положении поршней в середине между крайними (мертвыми) точками.
Фиг.3a – поперечный разрез двигателя при положении поршней в крайних (мертвых) точках.
Фиг.4 – вал двигателя с установленными на него подшипниками.
Фиг.5 – штокопоршневый узел.
Фиг.5а – штокопоршневый узел, вид по стрелке “Б” на фиг.5.
Фиг.5b – штокопоршневый узел, поперечный разрез по оси роликов-кулачков.
Фиг.6 – схема расположения штокопоршневых узлов вокруг вала.
Фиг.7 – схема-разверстка синусоидальной канавки на цилиндрической части вала и последовательность циклов в цилиндрах двигателя.
Фиг.8 – схема расположения сегментных кулачков на газораспределительной шайбе.
Фиг.9, 9а – вариант исполнения штоков регулируемой длины.
Фиг.10, 10а – варианты прохождения смазочно-охлаждающего состава (вещества) через полости двигателя.
На чертежах используются следующие обозначения:
1 – блок цилиндров,
2 – гильза цилиндра(цилиндр),
3 – картер двигателя,
4 – корпус картера,
5 – фланец картера,
6 – окна во фланце для поршневых штоков,
7 – паз в корпусе картера,
8 – направляющая планка,
9 – паз в направляющей планке,
10 – вал двигателя,
11 – центральный узел вала,
12 – полуоси вала,
13 – упорные подшипники вала,
14 – радиальные подшипники вала,
15 – синусоидальная профильная канавка,
16 – поршень,
17 – шток поршня,
17а – средний узел поршневого штока,
17b – полушток поршневой,
18 – межштоковая перемычка,
19 – Н-образный штоко-поршневой узел,
20 – ось опорных роликов,
21 – ролик-кулачок,
22 – ролик-опора в картере,
23 – ролик-опора в направляющей планке,
24 – головка блока цилиндров,
25 – шайба газораспределительного механизма,
26 – кулачок газораспределительного механизма,
27 – клапан,
28 – коллектор впускной,
29 – коллектор выпускной,
30 – крышка головки цилиндров,
31 – сальник (уплотнение),
32 – осевое отверстие системы смазки,
33 – радиальные каналы системы смазки,
34 – обечайка картера,
35 – фиксатор штока,
36 – штуцер системы смазки и охлаждения,
K1 – кулачок впускных клапанов нечетных цилиндров,
К2 – кулачок впускных клапанов четных цилиндров,
К3 – кулачок выпускных клапанов нечетных цилиндров,
К4 – кулачок выпускных клапанов четных цилиндров,
– угол опережения открытия клапанов,
– угол перекрытия клапанов.
Два, по меньшей мере, восьмицилиндровых блока цилиндров 1 (Фиг.1), в которых цилиндры 2 расположены симметрично вокруг и параллельно оси двигателя, оппозитно закреплены на картере 3 (Фиг.2, 2а), состоящем из корпуса 4 в форме полого цилиндра, и двух фланцев 5, жестко закрепленных с обеих сторон корпуса картера 4 и имеющих окна 6 для поршневых штоков. В корпусе картера 4 выполнены, по меньшей мере, четыре симметрично расположенных паза 7, параллельных оси картера, а между фланцами 5 картера 3 параллельно пазам 7 в его корпусе установлены направляющие планки 8 с пазами 9. Вал 10 веретенообразной формы (Фиг.4) имеет центральный, увеличенный в диаметре по сравнению с двумя полуосями узел 11 цилиндрической формы, расположенный в полости картера 3 и зафиксированный от осевого смещения двумя упорными подшипниками 13, установленными на вал между центральным его узлом 11 и блоками цилиндров 1, и две полуоси 12 вала 10, расположенные соосно и симметрично с двух сторон от центрального узла 11, которые с использованием подшипников качения 14 закреплены в оппозитно расположенных блоках цилиндров 1. На боковой поверхности среднего цилиндрического узла 11 вала 10 выполнена замкнутая синусоидальная профильная канавка 15 с амплитудой размаха синусоиды, равной ходу поршня между “верхним” и “нижним” мертвыми положениями, а длина синусоиды равна двум ее периодам. Поршни 16 (Фиг.5, 5а) попарно оппозитно закреплены на концах штоков 17, а каждая пара параллельно расположенных штоков 17 соединена жесткой перемычкой 18 и образует Н-образные штокопоршневые узлы (ШПУ) 19. Поршни 16 Н-образных ШПУ 19 входят в оппозитно расположенные цилиндры 2 двух блоков цилиндров 1, при этом число ШПУ 19, расположенных вокруг вала 10 – не менее четырех. На каждой межштоковой перемычке 18 Н-образных ШПУ 19 перпендикулярно осям штоков 17 и оси вала 10 двигателя жестко закреплена ось 20 (Фиг.5b), на которой на подшипниках качения установлены три ролика-кулачка, один из которых 21, ближний к оси двигателя, входит в синусоидальную канавку 15 центрального узла 11 вала двигателя 10 и, перемещаясь по ней, создает крутящий момент и передает полезную работу от поршней 16 на вал двигателя, а два других ролика 22 и 23 входят соответственно в паз 7 корпуса картера 4 и в паз 9 направляющей планки 8 и выполняют роль ползунов (крейцкопфов), воспринимают радиальные (тангенциальные) нагрузки и обеспечивают перемещение Н-образных ШПУ 19 вдоль и параллельно оси вала 10 двигателя.
Каждый из межпоршневых штоков 17 выполнен из трех деталей, как вариант, для облегчения конструкции в форме отрезков тонкостенных труб (Фиг.9, 9а): центральный 17а с внутренней резьбой с обеих сторон и двух отрезков (полуштоков) 17b с наружной резьбой на одном конце и поршнем 16, жестко закрепленным на другом конце полуштока. Соединение деталей 17а, 17b в один конструктивный узел, как вариант, на резьбе (фиг.9, 9а) с фиксацией установленного положения (длины) позволяет регулировать длину штоков в значительном диапазоне и, соответственно, объем камер сгорания и степень сжатия, что обеспечивает возможность использования в двигателе различных видов топлива.
Две головки цилиндров 24 закрывают блоки цилиндров 1. В головках цилиндров размещены клапаны 27 и коллекторы 28, 29 впускной и выпускной газораспределительных систем, механизмы или узлы топливоподачи (не показаны), детали системы зажигания (при необходимости).
Два механизма газораспределения, по одному для каждого из блоков цилиндров, выполнены либо в виде шайб 25 (Фиг.8) с сегментами (кулачками) 26, либо в виде кулачковых втулок (не показаны), установленных непосредственно на полуосях 12 рабочего вала двигателя, что исключает необходимость дополнительных узлов трансмиссии.
В вале 10 двигателя вдоль его оси выполнено отверстие 32, а в его центральном цилиндрическом узле 11, как вариант, через синусоидальную канавку 15 выполнено N – количество радиальных отверстий 33 для подачи в полость картера смазочно-охлаждающего состава – смеси негорючего (для предотвращения возгорания) газа с ограниченно дозированным количеством смазочного вещества.
Патентуемая конструкция позволяет в широком диапазоне варьировать рабочим объемом и, соответственно, мощностью двигателя за счет изменения длины цилиндров, а значит и хода поршней при незначительном изменении габаритов, в данном случае – длины двигателя. При этом большое количество деталей и узлов, в частности поршни 16, межштоковые узлы 18 с роликами 21, 22, 23, головки блоков цилиндров 24, газораспределительные шайбы 25 с сегментными кулачками 26, крышки головок блоков цилиндров 30 могут использоваться в двигателях различной мощности, что упрощает задачу создания типоразмерного ряда двигателей различной мощности с минимальными технологическими изменениями при их производстве. Кроме того, поршни для патентуемого двигателя конструктивно, а значит и технологически проще, чем поршни для шатунных двигателей.
Четырехтактный бесшатунный двигатель внутреннего сгорания работает следующим образом.
При сгорании топлива (рабочем ходе) в одном из цилиндров 2 поршень 16 перемещает штокопоршневой узел 19 от одного крайнего положения к другому, а в трех других цилиндрах, объединенных этим ШПУ, происходят подготовительные такты – выпуск, впуск, сжатие, при этом передача энергии от поршня в цилиндре с рабочим ходом на поршни в цилиндрах с подготовительными тактами происходит через жесткую конструкцию, а на рабочий вал 10 двигателя через ролик-кулачок 21, установленный на ось 20 на межштоковой перемычке 18 и взаимодействующий с валом 10 через синусоидальную канавку 15 на его центральном узле 11 передается только полезная (эффективная) работа.
За каждое перемещение ШПУ 19 от одного крайнего положения к другому вал 10 проворачивается на 90° (Фиг.7), т.е. за один полный оборот вала 10 каждый штокопоршневой узел 19 совершает четыре возвратно-поступательных перемещения, при этом во всех цилиндрах происходят все четыре такта. Два ролика 22 и 23, установленных на оси 20 на межштоковой перемычке 18, взаимодействуют соответственно с картером 3 через паз 7 в его корпусе 4 и направляющей планкой 8 через паз 9 обеспечивают перемещение ШПУ 19 вдоль оси двигателя, при этом ролики 22 и 23 воспринимают тангенциальные нагрузки, а на поршни действуют только осевые нагрузки, которые через штоки 17 и ролик 21, взаимодействующий с валом через синусоидальную канавку 15, создают крутящий момент рабочему валу 10 и обеспечивают передачу энергии потребителю.
Вокруг вала 10 симметрично расположено как минимум четыре штокопоршневых узла, при этом при вращении вала 10 два ШПУ 19, расположенных около вала диаметрально противоположно, движутся в одну, а два других ШПУ движутся в противоположную стороны, что полностью уравновешивает двигатель кинематически и не требует дополнительно балансирующих узлов и деталей.
Вал 10 через синусоидальную канавку 15 и ролики 21 взаимодействует со всеми ШПУ 19, таким образом синхронизирует работу всех цилиндров 2 двигателя. Кроме того, центральный узел 11 вала 10 выполняет роль маховика и, как вариант, роль ротора центробежного насоса системы смазки двигателя. Так как за один оборот рабочего вала 10 штокопоршневые узлы 19, а значит и каждый из поршней 16 совершают четыре перемещения между “верхними” и “нижними” мертвыми положениями, т.е. в каждом из цилиндров 16 за один оборот вала 10 происходят все четыре такта, газораспределительные механизмы 25 установлены непосредственно на рабочий вал двигателя 10 на его полуосях 12 над головками блоков цилиндров 24. При этом газораспределительные механизмы выполнены, как вариант, в виде шайб 25 (Фиг.8) с кулачками 26 в форме сегментов, расположенных на плоскостях шайб 25, обращенных к головкам блоков цилиндров 24. При симметричном расположении цилиндров 2 вокруг вала 10 и прохождении одноименных тактов последовательно в четырех цилиндрах 2 каждый из сегментных кулачков 26 последовательно по ходу вращения вала за один его оборот воздействует на четыре клапана 27. Таким образом, для обеспечения синхронной работы шестнадцати клапанов 27 каждого блока цилиндров 1 требуется только по четыре сегмента-кулачка 26 на каждой из газораспределительных шайб (Фиг.8). Кулачок К1 за один оборот вала двигателя последовательно открывает впускные клапаны нечетных цилиндров (Фиг 7), кулачок К2 – впускные клапаны четных цилиндров, кулачок К3 – выпускные клапаны нечетных цилиндров, кулачок К4 – выпускные клапаны четных цилиндров. На Фиг.8 – – угол опережения открытия клапанов, – угол перекрытия выпускных и впускных клапанов, при этом значения углов и устанавливаются в процессе изготовления кулачковой шайбы и не требуют корректировки при эксплуатации двигателя, так как нет многозвенных трансмиссионных узлов привода газораспределительных механизмов.
В двигателе используются только подшипники качения, что обеспечивает минимальные потери энергии на взаимодействии узлов и деталей в самом двигателе и, кроме того, позволяет обеспечить надежную работу двигателя при более высоких температурах, его узлов и деталей.
Смазка узлов и деталей двигателя (Фиг.10, 10а) осуществляется подачей масляно-газовой смеси через осевое отверстие 32 вала 10 двигателя и N – количества радиальных отверстий 33 в синусоидальную канавку 15 вала 10, что обеспечивает подачу смазки в картер и на подшипники силового 21 и поддерживающих 22 и 23 роликов, при этом центральный узел 11 вала двигателя выполняет роль ротора центробежного маслонасоса, а повышение давления в полости картера 3 обеспечивает перетекание масляно-газовой смеси через отверстия (не показаны) в блоках цилиндров в полости между полуосями вала 12 и блоками цилиндров 1, обеспечивая смазку подшипников вала, а затем и кулачков и штоков клапанов газораспределительного механизма, одновременно выполняет роль охлаждающей среды.
Патентуемый двигатель может работать при любом его пространственном положении.
Формула изобретения
1. Многоцилиндровый двигатель внутреннего сгорания, содержащий два закрепленных оппозитно на общем для них картере как минимум восьмицилиндровых блока с цилиндрами, расположенными симметрично и параллельно оси вала веретенообразной формы, центральная часть которого расположена в полости картера, поршни, попарно оппозитно закрепленные на штоках, два газораспределительных узла, расположенных над блоками цилиндров, отличающийся тем, что картер выполнен в форме полого цилиндра с фланцами с обеих сторон, при этом во фланцах выполнены окна для поршневых штоков, в корпусе картера параллельно его оси выполнены как минимум четыре паза, а между фланцами над пазами в корпусе картера и параллельно им установлены планки с пазами, вал веретенообразной формы имеет центральный, расположенный в полости картера, увеличенный в диаметре по сравнению с двумя полуосями узел, на цилиндрической поверхности которого выполнена замкнутая синусоидальная профильная канавка с амплитудой размаха синусоиды, равной ходу поршня между “верхним” и “нижним” мертвыми положениями, длина синусоиды равна двум ее периодам, две полуоси вала с установленными на них подшипниками качения проходят через центральные отверстия в блоках цилиндров, каждые четыре поршня с использованием двух штоков и жесткой перемычки между штоками попарно оппозитно соединены в Н-образные штокопоршневые узлы (ШПУ), при этом на межштоковой перемычке перпендикулярно осям штоков и валу двигателя установлена ось с, по меньшей мере, тремя роликами-кулачками, один из которых входит в синусоидальную канавку, выполненную на боковой поверхности центральной части вала, и передает полезную работу на вал двигателя, а два других ролика входят соответственно в паз картера и в паз направляющей планки, воспринимают тангенциальные нагрузки и обеспечивают перемещение штокопоршневого узла параллельно оси двигателя, при этом число штокопоршневых узлов, расположенных вокруг вала, не менее четырех.
2. Двигатель по п.1, отличающийся тем, что число штокопоршневых узлов, расположенных вокруг вала, может быть четыре, восемь или шестнадцать.
3. Двигатель по п.1, отличающийся тем, что штоки выполнены регулируемой длины.
4. Двигатель по п.1, отличающийся тем, что газораспределительные механизмы выполнены раздельно для каждого из оппозитно расположенных блоков цилиндров в виде закрепленных на полуосях вала двигателя шайб или втулок с, как минимум, четырьмя сегментами-кулачками, при этом каждый из кулачков последовательно воздействует на одноименные клапаны как минимум четырех цилиндров, расположенных вокруг вала.
5. Двигатель по п.1, отличающийся тем, что смазка двигателя осуществляется дозированной подачей масла, распыленного и в смеси с негорючим газом подаваемого либо через осевое отверстие в вале двигателя и радиальные каналы в зону полости картера с последующей подачей масляно-газовой смеси через подшипники качения полуосей вала и откачкой смеси через штуцеры в крышках головок блоков цилиндров, либо подачей масляно-газовой смеси через штуцеры в крышках головок блоков цилиндров, полости между полуосями вала и блоками цилиндров с откачкой смеси из полости картера.
6. Двигатель по п.5, отличающийся тем, что в качестве газовой составляющей компонентов смазки используется азот, или углекислый газ, или охлажденные отработанные газы двигателя.
РИСУНКИ
|
|