|
|
(21), (22) Заявка: 2003120751/06, 07.07.2003
(24) Дата начала отсчета срока действия патента:
07.07.2003
(43) Дата публикации заявки: 10.01.2005
(46) Опубликовано: 10.04.2007
(56) Список документов, цитированных в отчете о поиске:
RU 2197623 C2, 27.01.2003. SU 608010 А, 24.04.1978. SU 1673740 А1, 30.08.1991. US 5713200 A, 03.02.1998. GB 1421137 А, 14.01.1976. FR 2831612 A1 02.05.2003. DE 10132672 A, 16.01.2003.
Адрес для переписки:
390014, г.Рязань, Военный автомобильный институт, НИО, А.Д. Герасимову
|
(72) Автор(ы):
Швец Эльмир Александрович (RU), Герасимов Александр Дмитриевич (RU), Рябцовских Иван Васильевич (RU), Колесниченко Наталья Валентиновна (RU)
(73) Патентообладатель(и):
Военный автомобильный институт (RU)
|
(54) УСТРОЙСТВО ДЛЯ ПОДВОДА ОТРАБОТАВШИХ ГАЗОВ ДВИГАТЕЛЯ ВНУТРЕННЕГО СГОРАНИЯ К ТУРБИНЕ ТУРБОКОМПРЕССОРА
(57) Реферат:
Изобретение относится к двигателестроению и может быть использовано в системах выпуска отработавших газов. Устройство для подвода отработавших газов двигателя внутреннего сгорания к турбине турбокомпрессора, содержащее выхлопные трубы, соединенные с турбокомпрессором, смесительную камеру, при этом в смесительной камере установлена заслонка, размещенная на неподвижной оси, причем положение заслонки задается электромагнитной системой управления заслонкой, содержащей вращающийся диск с постоянным магнитом, два геркона, соединенных через усилитель тока и электрические проводники с двумя соленоидами. Изобретение обеспечивает улучшение очистки цилиндров двигателя внутреннего сгорания от отработавших газов и повышение мощности и коэффициента полезного действия турбокомпрессора. 1 ил.
Изобретение относится к двигателестроению и может быть использовано в системах выпуска отработавших газов.
Известно устройство (Патент Российской Федерации №2197623, МПК F02В 37/02, 2003 г.) для подвода отработавших газов двигателя внутреннего сгорания к турбине турбокомпрессора, содержащее выхлопную трубу, соединенную с турбокомпрессором, причем в устройство включены смесительная камера и дополнительная выхлопная труба, соединенная с третьим и четвертым цилиндрами двигателя, а основная выхлопная труба соединена с первым и вторым цилиндрами, при этом смесительная камера выполнена двухканальной и расположена между выхлопными трубами и турбокомпрессором, а в их разделительной стенке выполнены каналы в виде усеченного конуса, расположенные под острым углом к оси смесительной камеры.
Однако известное устройство не обеспечивает достаточную очистку цилиндров двигателя от отработавших газов, а следовательно, и наполнение их свежим зарядом. Кроме того, в смесительной камере не создается надежный затвор для исключения перетекания отработавших газов, движущихся по одной выхлопной трубе к турбокомпрессору в другую выхлопную трубу, что приводит к уменьшению импульса давления газов. При прохождении газов через конусные сужающиеся каналы происходит повышение скорости их истечения и увеличение трения их о стенки каналов, а при их выходе из каналов в смесительную камеру возникают местные турбулентные возмущения газов. Все вышеперечисленные факторы приводят к уменьшению энергии газового потока, к снижению мощности и коэффициента полезного действия турбокомпрессора.
Технический результат направлен на улучшение очистки цилиндров двигателя от отработавших газов и в целом на повышение мощности и коэффициента полезного действия турбокомпрессора.
Технический результат достигается тем, что устройство для подвода отработавших газов двигателя внутреннего сгорания к турбине турбокомпрессора, содержащее выхлопные трубы, соединенные с турбокомпрессором, смесительную камеру, при этом в смесительной камере установлена заслонка, размещенная на неподвижной оси, причем положение заслонки задается электромагнитной системой управления, содержащей вращающийся диск с постоянным магнитом, два геркона, соединенных через усилитель и электрические проводники с двумя соленоидами.
Отличительными признаками от прототипа является то, что в смесительной камере устанавливается заслонка, размещенная на неподвижной оси и ее положение задается электромагнитной системой управления заслонкой, содержащей вращающийся диск с постоянным магнитом, два геркона, соединенных через усилитель и электрические проводники с двумя соленоидами.
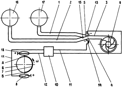
На чертеже представлено устройство для подвода отработавших газов двигателя внутреннего сгорания к турбине турбокомпрессора.
Устройство содержит выхлопные трубы 1, 2 и 3, смесительную камеру 4, заслонку 5, турбокомпрессор 9 и электромагнитную систему управления заслонкой 5.
Электромагнитная система управления заслонкой 5 состоит из вращающегося диска 6 с закрепленным на нем постоянным магнитом 7, герконов 8 и 18, соединенных через усилитель электрического тока 10 и электрические проводники 11 и 12 с соленоидами (катушки с сердечниками) 13 и 14. Вращающийся диск 6 имеет угловую скорость вращения, в два раза меньшую по сравнению со скоростью вращения коленчатого вала двигателя.
На наружной поверхности вращающегося диска 6 закреплен постоянный магнит 7, выполненный в виде сегмента. Постоянный магнит 7 имеет переднюю А и заднюю Б кромки.
Устройство работает следующим образом.
В момент открытия выпускного клапана цилиндра 16 двигателя внутреннего сгорания отработавшие газы поступают в выхлопную трубу 2. В этот момент передняя кромка А постоянного магнита 7 будет находиться напротив геркона 18. Под действием магнитного поля, создаваемого постоянным магнитом 7, контакты геркона 18 замыкаются, и электрический ток от положительного полюса источника постоянного тока через электрические проводники 11 и усилитель тока 10 поступает в катушку соленоида 13 и далее на отрицательный полюс источника тока. Под действием электромагнитной силы, возникающей в катушке соленоида 13, заслонка 5 повернется относительно неподвижной оси 15 и перекроет выхлопную трубу 1. При этом отработавшие газы из цилиндра 16 поступают по выхлопным трубам 2 и 3 к турбокомпрессору 9. Импульс давления отработавших газов, поступающих в турбокомпрессор 9, способствует наиболее полному использованию энергии отработавших газов и позволяет повысить при одинаковом расходе газов мощность и кпд турбокомпрессора 9.
При перекрытии заслонкой 5 выхлопной трубы 1 в ней возникает колебательный процесс изменения давления, то есть давление в выхлопной трубе 1 цилиндра 17 будет то повышаться, то понижаться.
Длина трубопровода 1 должна быть подобрана таким образом, чтобы в момент открытия выпускного клапана цилиндра 17 в выпускном трубопроводе у цилиндра 17 создавалось разрежение. При этом перепад давлений между давлением газов в цилиндре 17 и давлением отработавших газов в выхлопной трубе 1 будет возрастать, а следовательно, и количество отработавших газов, выходящих из цилиндра, будет увеличиваться. При этом возрастет импульс давления и энергия отработавших газов, что позволит повысить мощность и кпд турбокомпрессора 9.
Длина трубопровода 2 подбирается таким образом, чтобы в момент открытия выпускного клапана цилиндра 16 в выпускном трубопроводе у цилиндра 16 создавалось разряжение.
При вращении коленчатого вала происходит и поворот вращающегося диска 6. При совмещении кромки А постоянного магнита 7 с герконом 8 контакты его под действием магнитного поля замыкаются. При этом задняя кромка Б постоянного магнита 7 не будет находиться напротив геркона 18 и поэтому контакты его разомкнутся. Электрический ток от положительного полюса источника постоянного тока через контакты геркона 8, электрические проводники 11, усилитель тока 10 будет поступать в обмотку соленоида 14, а в обмотку соленоида 13 поступать не будет. Поэтому заслонка 5, поворачиваясь на неподвижной оси 15, перекроет выхлопную трубу 2, откроет выхлопную трубу 1, и отработавшие газы из цилиндра 17 будут в виде импульса давления поступать в турбокомпрессор 9.
При дальнейшем вращении коленчатого вала проворачивается и вращающийся диск 6 и при совмещении кромки А постоянного магнита 7 с герконом 18 контакты последнего под действием магнитного поля замыкаются. При этом задняя кромка Б постоянного магнита 7 не будет находиться против геркона 8 и поэтому контакты его разомкнутся. Электрический ток от положительного полюса источника постоянного тока через контакты геркона 18, электрические проводники 12, усилитель тока 10 будет поступать в обмотку соленоида 13, а в обмотку соленоида 14 поступать не будет. При этом заслонка 5, поворачиваясь на неподвижной оси 15, перекроет выходную трубу 1, откроет выхлопную трубу 2, и отработавшие газы из цилиндра 16 через смесительную камеру 4, выхлопную трубу 3 будут в виде импульса давления поступать в турбокомпрессор 9.
Из вышесказанного следует, что электромагнитная система управления положением заслонки 5 в смесительной камере 4 осуществляет выпуск отработавших газов из одного цилиндра и перекрытие выхлопной трубы другого цилиндра, что создает оптимальные условия для использования импульсов давления отработавших газов и, как следствие, обеспечивает повышение мощности и кпд турбокомпрессора 9. Таким образом, предлагаемое устройство обеспечивает создание необходимых условий для обеспечения импульсного наддува (с переменным давлением газов в выпускном трубопроводе), что позволит увеличить мощность и кпд турбокомпрессора.
Формула изобретения
Устройство для подвода отработавших газов двигателя внутреннего сгорания к турбине турбокомпрессора, содержащее выхлопные трубы, соединенные с турбокомпрессором, смесительную камеру, отличающееся тем, что в смесительной камере установлена заслонка, размещенная на неподвижной оси, причем положение заслонки задается электромагнитной системой управления заслонкой, содержащей вращающийся диск с постоянным магнитом, два геркона, соединенных через усилитель тока и электрические проводники с двумя соленоидами.
РИСУНКИ
MM4A – Досрочное прекращение действия патента СССР или патента Российской Федерации на изобретение из-за неуплаты в установленный срок пошлины за поддержание патента в силе
Дата прекращения действия патента: 08.07.2007
Извещение опубликовано: 20.02.2009 БИ: 05/2009
|
|