|
|
(21), (22) Заявка: 2003127379/06, 09.09.2003
(24) Дата начала отсчета срока действия патента:
09.09.2003
(43) Дата публикации заявки: 20.03.2005
(46) Опубликовано: 10.04.2007
(56) Список документов, цитированных в отчете о поиске:
RU 2183751 C1, 20.06.2002. RU 2065980 C1, 27.08.1996. RU 2023176 C1, 15.11.1994. ЕР 1262641 А1, 04.12.2002. US 5357755 A, 25.10.1994.
Адрес для переписки:
390014, г.Рязань, Военный автомобильный институт, НИО, А.Д. Герасимову
|
(72) Автор(ы):
Швец Эльмир Александрович (RU), Герасимов Александр Дмитриевич (RU), Кушнарев Андрей Владимирович (RU), Крайнюков Андрей Викторович (RU), Подлеснов Юрий Николаевич (RU), Козолий Валерий Леонидович (RU)
(73) Патентообладатель(и):
Военный автомобильный институт (RU)
|
(54) УСТРОЙСТВО ОЧИСТКИ ОТРАБОТАВШИХ ГАЗОВ ДИЗЕЛЯ ОТ САЖИ
(57) Реферат:
Устройство очистки отработавших газов дизеля от сажи содержит ротационную камеру с входным и выходным патрубками, завихритель и сажесборник с электрической нагревательной спиралью, окислительный и восстановительный блоки с каталитическим дожигающим элементом, осевой вентилятор с приводом через шестеренчатый конический редуктор от электродвигателя постоянного тока, управляемого включателем. Редуктор снабжен обтекателем отработавших газов, а сажесборник соединен трубопроводами удаления продуктов сгорания сажи с трубкой, размещенной в выходном патрубке. Устройство также содержит электромеханическую систему управления нагревом электрической нагревательной спирали сажесборника и регулирования удаления продуктов сгорания сажи из сажесборника в выходной патрубок. Система управления нагревом включает источник света, фоторезистор, установленные во впускном патрубке, причем фоторезистор соединен электрической цепью через блок управления с электромагнитом включения электрической нагревательной спирали в сажесборнике и электромагнитом управления удалением продуктов сгорания сажи из сажесборника. Изобретение позволяет повысить эффективность очистки отработавших газов дизеля от сажи, снизить расход топлива и повысить мощность дизеля и надежность его работы. 1 ил.
Изобретение относится к области машиностроения и может быть использовано для очистки отработавших газов в выпускных системах дизелей.
Известно устройство очистки отработавших газов дизельного двигателя от твердых частиц (патент РФ №2065980, МПК F 01 N 3/02, 2002 г.), содержащее ротационную камеру сгорания с расположенными в ней каталитическим дожигающим устройством, со сквозными продольными каналами, при этом устройство содержит разделенные цилиндрической сепарирующей полостью завихритель и сажесборник, внутри которого коаксиально расположено каталитическое дожигающее устройство, а на поверхности сквозных продольных каналов нанесен каталитический керамический слой на основе оксида алюминия гамма-модификации с добавлением оксидов Cu, Cr, Ni, Со и оксидов редкоземельных металлов в сумме до 8 мас.%, а завихритель выполнен в виде крыльчатки.
Однако известное устройство создает повышенное сопротивление движущемуся потоку отработавших газов в связи с наличием завихрителя, выполненного в виде крыльчатки, а также сажесборника и каталитического дожигающего устройства, выполненных в виде цилиндрических керамических кассет. Повышенное сопротивление потоку отработавших газов вызывает ухудшение очистки цилиндров двигателя от отработавших газов, приводит к уменьшению количества свежего заряда воздуха, поступающего в цилиндры, к усиленному сажеобразованию, снижению мощности и экономичности дизеля, к снижению надежности его работы. Кроме того, крупные частицы сажи необходимо периодически удалять из сажесборника механическим путем посредством разборки устройства. Никаким другим способом осуществить удаление сажи невозможно, т.к. крышек, люков в конструкции не предусмотрено.
Механическое удаление сажи из сажесборника ведет к увеличению времени, затрачиваемого на выполнение технического обслуживания двигателя.
В рассматриваемом устройство нет отдельных восстановительных и окислительных блоков для нейтрализации оксидов азота, оксида углерода и углеводородов.
Прототипом предлагаемого устройства является фильтр, устройство и работа которого раскрываются ниже.
Известен фильтр для очистки отработавших газов дизеля (патент РФ №2183751, МПК F 01 N 3/22, 1996 г.), содержащий ротационную камеру с входным и выходным патрубками, в которой размещен завихритель, сажесборник и фильтрующий элемент, причем сажесборник расположен по длине ротационной камеры, являясь теплоизолятором, и выполнен из керамической путанки с уложенным в нее электронагревателем, при этом керамическая путанка ограничена стенкой корпуса и перфорированным цилиндром, фильтрующий элемент выполнен в виде пакета из чередующихся гофрированных и плоских слоев с нанесенным на них каталитическим покрытием, плоские слои образованы путанкой из металлической проволоки, ограниченной жаропрочной сеткой, кроме того, сам фильтрующий элемент ограничен в передней части жаропрочной сеткой, а в задней части – диском с отверстиями напротив плоских слоев.
Недостатками известного фильтра для очистки отработавших газов дизеля являются затраты времени до 2-3 часов после окончания рабочей смены на выжигание сажевых частиц в сажесборнике с использованием напряжения электрической сети 220 В, снижение надежности работы фильтра из-за накопления сажи в сажесборнике, значительное сопротивление потоку отработавших газов, создаваемого завихрителем. Повышенное сопротивление потоку отработавших газов приводит к снижению мощности дизеля, ухудшению его экономичности и надежности работы.
Технический результат направлен на обеспечение эффективной очистки отработавших газов дизеля от сажи, снижение расхода топлива и повышение мощности дизеля, улучшение надежности его работы.
Технический результат достигается тем, что устройство очистки отработавших газов дизеля от сажи, содержащее ротационную камеру с входным и выходным патрубками, завихритель и сажесборник с электрической нагревательной спиралью, при этом устройство дополнительно содержит окислительный и восстановительный блоки с каталитическим дожигающим элементом, осевой вентилятор с приводом через шестеренчатый конический редуктор от электродвигателя постоянного тока, управляемого включателем, причем редуктор снабжен обтекателем отработавших газов, а сажесборник соединен трубопроводами удаления продуктов сгорания сажи с трубкой, размещенной в выходном патрубке, электромеханическую систему управления нагревом электрической нагревательной спирали сажесборника и регулирования удаления продуктов сгорания сажи из сажесборника в выходной патрубок, которая содержит источник света, фоторезистор, установленные во впускном патрубке, причем фоторезистор соединен электрической цепью через блок управления с электромагнитом включения электрической нагревательной спирали в сажесборнике и электромагнитом управления удалением продуктов сгорания сажи из сажесборника.
Отличительными признаками от прототипа является то, что устройство очистки отработавших газов дизеля от сажи дополнительно содержит окислительный и восстановительный блоки с каталитическим дожигающим элементом, осевой вентилятор с приводом через шестеренчатый конический редуктор от электродвигателя постоянного тока, управляемого включателем, причем редуктор снабжен обтекателем отработавших газов, а сажесборник соединен трубопроводами удаления продуктов сгорания сажи с трубкой, размещенной в выходном патрубке, электромеханическую систему управления нагревом электрической нагревательной спирали сажесборника и регулирования удаления продуктов сгорания сажи из сажесборника в выходной патрубок, которая содержит источник света, фоторезистор, установленные во впускном патрубке, причем фоторезистор соединен электрической цепью через блок управления с электромагнитом включения электрической нагревательной спирали в сажесборнике и электромагнитом управления удалением продуктов сгорания сажи из сажесборника.
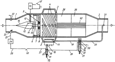
На чертеже изображено устройство, содержащее входной 1 и выходной 2 патрубки и ротационную камеру 3. В ротационной камере 3 выполнены наклонные окна 4, соединяющие ротационную камеру 3 с сажесборником 5. Через окна 4 от потока отработавших газов, движущихся через ротационную камеру 3, удаляются частицы сажи. Для обеспечения направленного потока отработавших газов перед ротационной камерой 3 установлен осевой вентилятор 6 с завихрителем. Завихритель имеет ступицу 7 и направляющие лопатки 8. В центре ступицы 7 закреплен шариковый подшипник 9, на котором вращается вал 10 привода вентилятора. В передней части ротационной камеры 3 установлен шестеренчатый конический редуктор. На переднем конце вала 10 выполнена ведомая коническая шестерня 11, находящаяся в зацеплении с ведущей конической шестерней 12. Ведущая коническая шестерня 12 получает вращение от вала 13 электродвигателя постоянного тока 14, управляемого включателем 15. Для уменьшения сопротивления движению газов шестеренчатый конический редуктор закрыт обтекателем 16.
В сажесборнике 5 установлена электрическая нагревательная спираль 17, управляемая включателем 18. Сажесборник 5 соединен трубопроводами 19 и 20 с трубкой 21, размещенной в выходном патрубке 2. Через трубку 21 осуществляется отсос продуктов сгорания сажи из сажесборника 5.
С целью включения электрической нагревательной спирали 17 и отсоса продуктов сгорания через трубку 21 в выходной патрубок 2, только в период образования в цилиндрах дизеля сажи в устройстве применена электромеханическая схема управления удалением сажи из сажесборника 5 в выходной патрубок 2.
Электромеханическая схема управления содержит источник света 22, фоторезистор 23, блок управления 24, электрические проводники 25, 26, 27, 28, включатель 41, электромагнит включения электрической нагревательной спирали 17 в сажесборнике 5 и электромагнит управления отсосом сажи из сажесборника 5 в выходной патрубок 2.
Электромагнит включения электрической нагревательной спирали 17 состоит из электрической обмотки 29, сердечника 30, который размещен в корпусе 31. Под сердечником 30 установлена пружина 32.
Электромагнит управления отсосом сажи из сажесборника 5 в выходной патрубок 2 содержит электрическую обмотку 33 и сердечник 34, установленный в корпусе 35. Сердечник имеет в верхней части радиальное отверстие 36, а снизу на торец сердечника действует пружина 37.
За сажеотделителем в устройстве для очистки отработавших газов дизеля от сажи размещены восстановительный 38 и окислительный 39 блоки, предназначенные соответственно для нейтрализации оксидов азота, углеводородов и оксида углерода. В центре восстановительного 38 и окислительного 39 блоков размещено каталитическое дожигающее устройство 40, предназначенное для сжигания мелких частиц сажи при контакте с керамикой, поры которой покрыты металлами-катализаторами. Основу пористой керамики составляет оксид алюминия с добавлением оксидов Cu, Cr, Ni и Со.
Устройство работает следующим образом. При пуске дизеля водитель включает включатели 15 и 41. При включении включателя 15 электрический ток от источника постоянного тока поступает в обмотки электродвигателя постоянного тока 14. Крутящий момент от вала 13 электродвигателя постоянного тока 14 передается через ведущую коническую шестерню 12 и ведомую коническую шестерню 11, вал привода 10 на осевой вентилятор 6.
Отработавшие газы из входного патрубка 1 нагнетаются осевым вентилятором 6 в направляющие лопатки 8 завихрителя, и поток отработавших газов приобретает вращательное движение. Под действие центробежных сил вращающихся масс крупные частицы сажи перемещаются к стенкам ротационной камеры 3 и попадают в наклонные окна 4, из которых попадают в сажесборник 5.
При включении включателя 41 световой поток, излучаемый источником света 22, воздействует на фоторезистор 23, в котором вследствие фотоэлектрического эффекта облучения фотонами возникает электрический ток. Интенсивность освещения фоторезистора 23 зависит от содержания в потоке отработавших газов сажевых частиц. Чем меньше сажевых частиц содержится в потоке отработавших газов, тем более интенсивный световой поток воздействует на фоторезистор, а следовательно, в нем будет возникать электрический ток большей величины.
В этом случае электрический ток от фоторезистора 23 поступает по электрическому проводу 25 в блок управления 24 электромеханической схемы управления регулирования нагревом электрической нагревательной спирали 17 сажесборника 5 и регулирования удаления продуктов сгорания сажи из сажесборника 5. При этом включатель 18 будет находиться в выключенном положении и по электрической нагревательной спирали 17 ток протекать не будет, а по обмотке 33 ток протекать будет, и сердечник 34 перекроет канал удаления продуктов сгорания сажи. Если в потоке отработавших газов содержится значительное количество сажевых частиц, то интенсивность освещения фоторезистора 23 снижается и в нем возникает электрический ток меньшей величины. Блок управления 24 не будет коммутировать ток управления и, следовательно, в электрической обмотке 29 электромагнита включения нагрева электрической нагревательной спирали 17 и в электрической обмотке 33 электромагнита управления удалением сажи из сажесборника 5 электрический ток протекать не будет. Под действием пружины 32 сердечник 30 опустится до соприкосновения с торцом корпуса 31. Контакты включателя 18 будут замкнуты и электрический ток из источника постоянного тока будет поступать в электрическую нагревательную спираль 17. В сажесборнике 5 повышается температура, и находящиеся в нем частицы сажи сгорают и удаляются по трубопроводу 19 через радиальное отверстие 36 сердечника 34 электромагнита управления удалением продуктов сгорания сажи из сажесборника 5, трубопровод 20 в трубку 21 и далее в выходной патрубок 2. При этом сердечник 34 электромагнита управления удалением продуктов сгорания сажи из сажесборника 5 будет находиться в нижнем положении под действием пружины 37, так как электрический ток через электрическую обмотку 33 не протекает.
Если в потоке отработавших газов количество сажевых частиц незначительно, то интенсивность светового потока движущегося от источника света 22 к фоторезистору 23 увеличивается, следовательно, и блок управления 24 будет коммутировать ток большой силы. При прохождении тока большой силы через электрическую обмотку 29 электромагнита включения электрической нагревательной спирали 17 в сажесборнике 5, вокруг обмотки возникает магнитное поле, под действием которого сердечник 30, преодолевая сопротивление пружины 32, перемещается вверх и размыкает контакты включателя 18. При этом электрический ток в электрическую нагревательную спираль 17 поступать не будет, следовательно, уменьшится нагрузка на генератор автомобиля.
Кроме того, при прохождении тока большой силы через электрическую обмотку 33 электромагнита управления удалением продуктов сгорания сажи из сажесборника 5 в выходной патрубок 2 в обмотке 33 возникает магнитное поле, под действием которого сердечник 34 перемещается вверх, преодолевая сопротивление пружины 37. В этом случае радиальное отверстие 36 не будет совпадать с трубопроводами 19 и 20 и движение отработавших газов из сажесборника 5 в выходной патрубок 2 происходить не будет. При этом в выходной патрубок 2 не будут удаляться вместе с небольшим количеством отработавших газов оксиды азота углеводороды и оксид углерода, что исключит загрязнение окружающей среды этими вредными компонентами.
После прохождения потока отработавших газов сажеотделителя и отделения в последнем крупных частиц сажи отработавшие газы поступают в восстановительный 38 и в окислительный блоки 39, в которых происходит нейтрализация оксидов азота, углеводородов и оксида углерода. Мелкие частицы сажи, вращающиеся в потоке газов в центре ротационной камеры, попадают в каталитическое дожигающее устройство 40, в котором сгорают в присутствии металлов-катализаторов.
Таким образом, устройство очистки отработавших газов дизеля от частиц сажи позволяет минимизировать суммарное гидравлическое сопротивление при минимальном расходе топлива, эффективно отделять из потока отработавших газов сажу, сжигать ее и удалять продукты сгорания сажи, минуя восстановительный и окислительный блоки.
Формула изобретения
Устройство очистки отработавших газов дизеля от сажи, содержащее ротационную камеру с входным и выходным патрубками, завихритель и сажесборник с электрической нагревательной спиралью, отличающееся тем, что устройство дополнительно содержит окислительный и восстановительный блоки с каталитическим дожигающим элементом, осевой вентилятор с приводом через шестеренчатый конический редуктор от электродвигателя постоянного тока, управляемого включателем, причем редуктор снабжен обтекателем отработавших газов, а сажесборник соединен трубопроводами удаления продуктов сгорания сажи с трубкой, размещенной в выходном патрубке, электромеханическую систему управления нагревом электрической нагревательной спирали сажесборника и регулирования удаления продуктов сгорания сажи из сажесборника в выходной патрубок, которая содержит источник света, фоторезистор, установленные во впускном патрубке, причем фоторезистор соединен электрической цепью через блок управления с электромагнитом включения электрической нагревательной спирали в сажесборнике и электромагнитом управления удалением продуктов сгорания сажи из сажесборника.
РИСУНКИ
MM4A – Досрочное прекращение действия патента СССР или патента Российской Федерации на изобретение из-за неуплаты в установленный срок пошлины за поддержание патента в силе
Дата прекращения действия патента: 10.09.2007
Извещение опубликовано: 10.03.2009 БИ: 07/2009
|
|