|
|
(21), (22) Заявка: 2005125335/06, 09.08.2005
(24) Дата начала отсчета срока действия патента:
09.08.2005
(46) Опубликовано: 10.04.2007
(56) Список документов, цитированных в отчете о поиске:
SU 1548478 A1, 07.03.1990. DE 4431088 A1, 07.03.1996. US 2725956 A, 06.12.1955. US 2688316 A, 07.09.1954. SU 92815 A, 30.08.1960. SU 92731 A, 07.06.1960. SU 86816 A, 04.02.1962.
Адрес для переписки:
193012, Санкт-Петербург, ул. Бабушкина, 123, ОАО “Звезда”
|
(72) Автор(ы):
Паюсов Валентин Изосимович (RU), Шор Вячеслав Васильевич (RU), Горохов Владимир Михайлович (RU), Мясников Герман Ильич (RU), Владимиров Олег Константинович (RU)
(73) Патентообладатель(и):
ОАО “Звезда” (RU)
|
(54) СИСТЕМА ОТВОДА МАСЛА В КАРТЕР ДВИГАТЕЛЯ ВНУТРЕННЕГО СГОРАНИЯ
(57) Реферат:
Изобретение относится к области двигателестроения, а конкретно к объектам работы картерных систем ДВС. Система содержит резервуар картерных газов с его маслоотстойником, соединенным посредством перепускной трубы с масляным картером двигателя. Внутри перепускной трубы вмонтирован стройный насос, связанный с масляным насосом двигателя, добирающим масло из картера. Изобретение позволяет производить эффективную циркуляцию картерного масла с одновременным его частичным восстановлением от очистки картерных газов. Изобретение также позволяет осуществить разный по высоте врез перепускной трубы в масляный картер. 2 ил.
Предлагаемое изобретение относится к области двигателестроения, а конкретно к объектам работы картерных систем ДВС.
В настоящее время циркуляция масла в картерных системах двигателей осуществляется следующим образом. Присутствующие в верхней полости картера газы собираются в сосуд-резервуар, в котором они проходят маслоотделительную обработку, в результате чего отделенное масло скапливается в нижнем отстойнике резервуара, откуда затем отводится обратно в картер. При этом в существующих конструкциях [1, 2] отвод масла в картер осуществляют по нисходящей линии путем простого его слива, что обеспечивается верхним расположением маслоотстойника относительно уровня масла в картере. Однако в ряде случаев, особенно при установке энергоблоков на подвижных средствах, актуальным становится вопрос снижения высотных размеров устанавливаемого там оборудования, чему отвечает нижнее по отношению к уровню масла в картере расположение маслоотстойника газового резервуара, что соответственно ведет к уменьшению высоты всей агрегатной установки.
В связи с этим задачей данного изобретения является построение такой системы отвода масла в картер ДВС, которая позволяла бы снизить габаритные размеры устанавливаемого оборудования и одновременно сделать работу предлагаемой системы более эффективной.
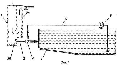
Предложенное устройство поясняется прилагаемыми чертежами, где
на фиг.1 показана универсальная схема взаимодействия двух рассмотренных агрегатов – картера 1 двигателя и резервуара 2 картерных газов с его верхней камерой маслоотделителя 2а и нижним маслоотстойником 2б. Конструктивные элементы 1 и 2б соединены между собой посредством перепускной трубы 3, внутри которой смонтирован струйный насос-эжектор 4, связанный посредством маслопровода 5 с масляным насосом 6 двигателя, забирающим масло из картера 1.
Под универсальностью схемы по фиг.1 понимается то, что она позволяет конструктивно «раздвигать» по высоте элементы 1 и 2, в результате чего осуществлять разный по высоте врез трубы 3 в картер 1. На фиг.2 схематично представлена разработанная в ОАО «Звезда» конструкция резервуара 2 картерных газов, когда он своей срединной частью «насажен» на коленчатый вал 7 двигателя и выполнен в торцевой стенке картера. Такая схема ведет к наиболее компактной высотной расстановке газового резервуара 2 и картера 1. Однако основной в правовом отношении считаем универсальную схему по фиг.1, поскольку она подразумевает в себе существование схемы по фиг.2 и ей подобных.
Работа предложенного устройства по фиг.1 и 2 осуществляется следующим образом. При работе двигателя над поверхностью масла в картере 1 скапливаются картерные газы с взвешенными каплями масла – «туманом», которые заходят в окна верхней секции 2а газового резервуара, внутри которого располагаются интенсификаторы отделения масла из газов (на фиг.1 и 2 они не показаны, как не имеющие прямого отношения к основным признакам заявляемого объекта). Пройдя секцию 2а, газы очищаются от масла, а масло скапливается в нижнем отстойнике 2б, откуда это масло поступает в перепускную трубу 3 и далее струйным насосом 4 впрыскивается в масляную ванну картера 1. Существенным отличительным свойством работы предложенного устройства является то, что струйным насосом 4 впрыскивается в картер 1 не только масло из отстойника 2б, но и масло, забранное из картера 1 масляным насосом 6 и по маслопроводу 5 подаваемое в струйный насос 4. Причем доля этого масла в общем суммарном потоке будет определяющей, и такая циркуляция масла, забранного из картера и возвращенного затем туда обратно, будет снижать общую температуру масла в картере 1 и тем самым повышать надежность и эффективность работы всего двигателя.
Полагаем, что предложенная система отвода масла в картер двигателя обладает всеми критериями изобретения.
Так, критерий «промышленной применяемости» заявляемого объекта можно считать подтвержденным ввиду апробации этого устройства, натурно выполненного по фиг.2 на ОАО «Звезда».
Критерий «новизна» определяется новым подходом к решению вопроса о вентиляции картера. Так, предложенное устройство допускает любое взаимное расположение резервуара картерных газов относительно самого картера – когда отстойник масла в резервуаре был выше уровня масла в картере, что характерно для существующих схем вентиляции картера [1, 2], так и для случая, когда перелив масла в картер из отстойника осуществляют ниже устоявшегося уровня масла в картере (фиг.1 и 2).
Теперь о критерии «изобретательский уровень». Он определяется введением в рассматриваемую систему струйного насоса, вмонтированного в перепускную трубу, связующую маслоотстойник с картером. Здесь надо упомянуть, что введение струйного насоса-эжектора в вентиляционную систему картера само по себе было известно ранее [1, 2], однако оно было выполнено там по-другому и для иных целей, а именно для отвода картерных газов из верхней полости картера в выхлопную трубу. Вытекание же масла из отстойника резервуара в сам картер осуществлялось там по нисходящей линии, и принудительной откачки для этого не требовалось. В нашем предложении струйный насос-эжектор транспортирует не газ, а масло, и работает он не в верхней полости газового резервуара, а в нижней отстойной его части, связанной непосредственно с картером.
Источники информации
1. Силовой агрегат СА.10. Руководство по эксплуатации СА.10.00.000РЭ, СССР, Москва, стр.147, рис.43.
2. Дизель 3А-6Д49. Техническое описание и инструкция по эксплуатации, с.41, 42, рис.40.
Формула изобретения
Система отвода масла в картер ДВС, включающая резервуар картерных газов с его маслоотстойником, соединенным посредством перепускной трубы с картером двигателя, оборудованного масляным насосом, отличающаяся тем, что внутри перепускной трубы вмонтирован струйный насос, связанный с масляным насосом двигателя.
РИСУНКИ
MM4A – Досрочное прекращение действия патента СССР или патента Российской Федерации на изобретение из-за неуплаты в установленный срок пошлины за поддержание патента в силе
Дата прекращения действия патента: 10.08.2007
Извещение опубликовано: 10.03.2009 БИ: 07/2009
|
|