|
|
(21), (22) Заявка: 2005100808/06, 11.01.2005
(24) Дата начала отсчета срока действия патента:
11.01.2005
(30) Конвенционный приоритет:
12.01.2004 FR 04 00213
(43) Дата публикации заявки: 20.06.2006
(46) Опубликовано: 10.04.2007
(56) Список документов, цитированных в отчете о поиске:
US 6059526 А, 09.05.2000. US 6170831 A, 09.01.2001. RU 2208190 С2, 10.07.2003. RU 2244131 С2, 20.06.2003. RU 2213895 C2, 27.10.2002. DE 19618475 A, 13.11.1997. DE 19803502 А, 12.08.1999.
Адрес для переписки:
191186, Санкт-Петербург, а/я 230, “АРС-ПАТЕНТ”, пат.пов. В.М.Рыбакову, рег. № 90
|
(72) Автор(ы):
ПЛОНА Даниэль (FR), ДЮССЕРЕ-ТЕЛЬМОН Ги (FR)
(73) Патентообладатель(и):
СНЕКМА МОТОРС (FR)
|
(54) УПЛОТНЯЮЩЕЕ УСТРОЙСТВО ДЛЯ ТУРБИНЫ ВЫСОКОГО ДАВЛЕНИЯ ТУРБОМАШИНЫ
(57) Реферат:
Изобретение предназначено для уплотняющего устройства, расположенного между двумя статичными частями турбомашины. Устройство содержит щеточное уплотнение, образованное эластичными уплотняющими волокнами, которые, по меньшей мере, частично находятся в пазу. У каждого волокна имеются основной участок и второй участок, соединенные изогнутым участком, причем второй участок волокна имеет свободный конец, обеспечивающий плотное соприкосновение с уплотняемой поверхностью второй статичной части. Уплотняющее устройство дополнительно содержит изогнутую в сечении гибкую прокладку, свободный конец которой упирается одновременно в свободные концы вторых участков волокон щеточного уплотнения и в уплотняемую поверхность. В результате свободные концы вторых участков волокон щеточного уплотнения постоянно соприкасаются с уплотняемой поверхностью. Такое выполнение устройства позволит обеспечить относительно невысокую результирующую проницаемость и его способность адаптироваться к разрывам и/или деформациям уплотняемой поверхности. 5 з.п. ф-лы, 3 ил.
Область техники, к которой относится изобретение
Настоящее изобретение относится к области уплотняющих устройств, предназначенных для уменьшения проходного сечения между различными полостями турбомашины, например в турбине высокого давления.
Уровень техники
Уплотняющие устройства, находящиеся в горячих зонах турбомашины, работают в условиях значительных изменений величины зазоров, которые приводят к общему относительному смещению корпусов и к термическим деформациям. В частности, если одна из уплотняемых частей турбомашины, как, например, ряды выходных направляющих лопаток турбины высокого давления, разделяется на сектора, область действия уплотняющего устройства не является непрерывной, и уплотнения, не разделенные на сектора, оказываются неэффективны.
Разработаны различные типы уплотнений, обеспечивающих герметичность горячих зон турбомашин. Например, из патентных документов US 4781388, US 5480162 и US 6170831 известны так называемые щеточные уплотнения, образованные отрезками, например, металлической щетины (проволоки), с одного конца впаянными или вставленными в гнезда, причем их свободные концы соприкасаются с поверхностью уплотняемой области. Подобные щеточные уплотнения позволяют, таким образом, адаптироваться к изменениям величины зазора, которые имеют место в зоне уплотняющего устройства. Щетина щеточного уплотнения в этой конструкции может адаптироваться к деформированным поверхностям и к разрывам (отсутствию непрерывности) уплотняемой области.
В статических условиях, при малых относительных смещениях уплотняемой области применяют известные щеточные уплотнения, щетина которых ориентирована в радиальном или осевом направлении. При наличии же значительных относительных смещений более эффективно использование промежуточной конструкции с изогнутой щетиной щеточного уплотнения, как описано в патентном документе US 6059526, поскольку такое выполнение позволяет обеспечить изгибание щетины на большой длине.
Тем не менее, использование щеточных уплотнений в статических условиях связано с некоторыми неудобствами. Результирующая проницаемость щетины, образующей такие уплотнения, слишком велика для обеспечения эффективного уплотнения. Это утверждение, в частности, справедливо для случая металлической щетины, диаметр щетинок (волокон) которой должен превышать 75 мкм, чтобы обеспечить сохранение необходимых механических свойств в условиях воздействующих на уплотнение разностей давлений.
Щеточные уплотнения с изогнутой щетиной также не являются полностью удовлетворительными. В частности, их результирующая проницаемость слишком высока для обеспечения полной герметичности уплотняемой области. Кроме того, если уплотняемая поверхность содержит разрывы и/или деформации, порожденные, в частности, радиальными и/или осевыми относительными смещениями элементов уплотняемой области турбомашины, щеточные уплотнения с изогнутой щетиной не могут адаптироваться к различным случайным геометрическим шероховатостям, что приводит к возникновению под щетками значительных зон утечек.
Раскрытие изобретения
Задача, на решение которой направлено настоящее изобретение, заключается в устранении вышеописанных недостатков известных решений и в разработке уплотняющего устройства, обеспечивающего относительно невысокую результирующую проницаемость и способного адаптироваться к разрывам и/или деформациями уплотняемой поверхности.
Для решения поставленной задачи предлагается уплотняющее устройство, расположенное между двумя статичными частями турбомашины с целью разделения двух полостей с различными давлениями. Устройство по изобретению содержит щеточное уплотнение, образованное эластичными уплотняющими волокнами (щетинками), которые, по меньшей мере частично, находятся в пазу одной из двух статичных частей. При этом у каждого волокна имеется основной участок и второй участок, соединенные изогнутым участком. Основной участок каждого волокна, по меньшей мере, частично заключен в пазе, а второй участок волокна имеет свободный конец, выступающий из паза так, чтобы обеспечить плотное соприкосновение с уплотняемой поверхностью второй статичной части. Устройство по изобретению характеризуется тем, что дополнительно содержит изогнутую в сечении гибкую прокладку, которая, по меньшей мере частично, охватывает основные участки волокон щеточного уплотнения. У гибкой прокладки имеется свободный конец, упирающийся одновременно в свободные концы вторых участков волокон щеточного уплотнения и в уплотняемую поверхность. В результате свободные концы вторых участков волокон щеточного уплотнения постоянно соприкасаются с уплотняемой поверхностью.
Часть гибкой прокладки, упирающаяся в свободные концы волокон щеточного уплотнения, позволяет удерживать эти свободные концы волокон в постоянном соприкосновении с уплотняемой поверхностью. Кроме того, часть гибкой прокладки, упирающаяся в уплотняемую поверхность, повышает результирующую герметичность уплотняющего устройства. Далее, гибкость этой прокладки позволяет компенсировать радиальные и/или осевые относительные смещения статичных частей таким образом, что уплотняющее устройство адаптируется к различным случайным геометрическим неоднородностям (шероховатостям) уплотняемой поверхности.
В соответствии с одной из полезных особенностей изобретения гибкая прокладка имеет изогнутое сечение, по существу, в форме буквы омега ( ).
В соответствии с другой полезной особенностью изобретения свободный конец гибкой прокладки, упирающийся в свободные концы вторых участков волокон щеточного уплотнения и в уплотняемую поверхность, расположен со стороны полости, имеющей более низкое давление.
В соответствии с еще одной своей полезной особенностью устройство по изобретению содержит кольцо, удерживающее основные участки волокон щеточного уплотнения в пазу статичной части.
Краткое описание чертежей
Другие свойства и достоинства настоящего изобретения станут ясны из нижеследующего описания, содержащего ссылки на прилагаемые чертежи, иллюстрирующие один из примеров осуществления изобретения, не налагая каких-либо ограничений. На чертежах:
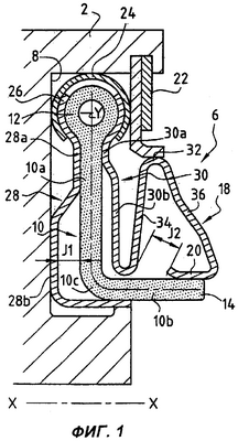
– фиг.1 изображает в осевом разрезе уплотняющее устройство по изобретению, установленное в пазу неподвижной части турбомашины;
– фиг.2 изображает в осевом разрезе часть турбомашины, оборудованную уплотняющим устройством по фиг.1;
– фиг.3 иллюстрирует деформацию уплотняющего устройства по фиг.1 при наличии разрыва в уплотняемой поверхности.
Осуществление изобретения
На фиг.1-3 представлено в осевом разрезе уплотняющее устройство по одному из вариантов осуществления изобретения. Цифрами 2 и 4 на этих чертежах обозначены соответственно первая и вторая статичные части турбомашины, имеющей продольную ось Х-Х. Эти две статичные части 2 и 4 могут, например, быть элементами турбины высокого давления турбомашины. Термин “статичные” подразумевает, что эти части считаются неподвижными, но могут, тем не менее, иметь радиальные и/или осевые относительные смещения.
Уплотняющее устройство 6 расположено в пазу 8 первой статичной части 2 турбомашины. В другом варианте уплотняющее устройство может быть расположено в пазу второй статичной части 4. Устройство 6 позволяет обеспечить герметичное уплотнение между двумя полостями Р1 и Р2 турбомашины, причем, в качестве примера, давление в полости Р2 может быть ниже, чем давление в полости Р1.
Уплотняющее устройство 6 содержит щеточное уплотнение 10, содержащее щетину из волокон или отрезков проволоки. Щетинки могут быть изготовлены путем скручивания волокон из металла или композитного материала. Один из концов 12 каждого волокна (щетинки) обычно закреплен вокруг оси Y, например, методом припаивания. Противоположные концы 14 волокон свободны и плотно соприкасаются с уплотняемой поверхностью 16 второй статичной части 4 турбомашины.
Точнее, каждое волокно выполненного таким образом щеточного уплотнения 10 содержит первый (основной) участок 10а и второй участок 10b, соединенные изогнутым участком 10с. Основные участки 10а волокон, по меньшей мере, частично находятся в пазу 8 первой статичной части 2 турбомашины, а вторые участки 10b волокон выступают наружу из этого паза таким образом, чтобы обеспечить плотное соприкосновение их свободных концов 14 с уплотняемой поверхностью 16.
В соответствии с настоящим изобретением уплотняющее устройство 6 дополнительно содержит изготовленную, например, из металла гибкую, изогнутую в сечении прокладку 18, которая, по меньшей мере, частично охватывает основные участки 10а волокон щеточного уплотнения 10 и имеет свободный конец 20, упирающийся одновременно в свободные концы 14 вторых участков 10b волокон щеточного уплотнения 10 и в уплотняемую поверхность 16.
Таким образом, свободный конец 20 прокладки 18 позволяет удерживать свободные концы 14 вторых участков 10b волокон щетины в постоянном соприкосновении с уплотняемой поверхностью 16. Кроме того, поскольку свободный конец 20 прокладки 18 находится в соприкосновении с уплотняемой поверхностью 16, это повышает результирующую герметичность уплотняющего устройства 6.
В предпочтительном варианте предусмотрено также удерживающее кольцо 22, позволяющее удерживать основные участки 10а волокон щеточного уплотнения 10 в пазу 8 первой статичной части 2. Это удерживающее кольцо 22 закреплено в канавке паза 8 первой статичной части 2. Также может быть предусмотрен С-образный обод 24, по меньшей мере, частично охватывающий закрепленные концы 12 волокон щеточного уплотнения 10 и удерживаемый в пазу 8 благодаря наличию удерживающего кольца 22.
В соответствии с одной из полезных особенностей изобретения гибкая прокладка 18 имеет поперечное сечение в форме буквы омега ( ). Первый лепесток 26 этой буквы омега, по меньшей мере, частично охватывает закрепленные концы 12 волокон щеточного уплотнения 10.
Первый лепесток 26 продолжается вовнутрь паза 8 первой ветвью 28, участок 28а которой прилегает к внешним краям основных участков 10а волокон щеточного уплотнения 10. Для обеспечения некоторой аксиальной гибкости волокон щеточного уплотнения 10 при взаимодействии уплотняющего устройства 6 с разрывами в уплотняемой поверхности 16 в осевом направлении другой участок 28b первой ветви 28 не соприкасается с основными участками 10а волокон щеточного уплотнения 10, отходя, таким образом, от этих участков волокон с образованием заднего зазора J1.
Первый лепесток 26 продолжается вовне паза 8 второй ветвью 30, участок 30а которой также прилегает к внешним краям основных участков 10а волокон щеточного уплотнения 10. Аналогичным образом, для обеспечения некоторой аксиальной гибкости волокон щеточного уплотнения 10 16 другой участок 30b второй ветви 30 не соприкасается с основными участками 10а волокон щеточного уплотнения 10.
Гибкая прокладка 18 в форме буквы омега содержит второй лепесток 32. Этот второй лепесток 32 прижимается в радиальном направлении к удерживающему кольцу 22, закрепленному в пазу 8 первой статической части 2. Второй лепесток 32 продолжается внутрь паза 8 третьей ветвью 34, соединенной со второй ветвью 30. Второй лепесток 32 продолжается вовне паза 8 четвертой ветвью 36, свободный конец 20 которой упирается одновременно в свободные концы 14 вторых участков 10b волокон щеточного уплотнения 10 и в уплотняемую поверхность 16. Кроме того, между этим свободным концом 20 и третьей ветвью 34 имеется передний зазор J2.
В соответствии с другой полезной особенностью изобретения этот свободный конец 20 гибкой прокладки 18 (который также является свободным концом четвертой ветви 36) расположен со стороны полости Р2, имеющей более низкое давление.
Таким образом, гибкая прокладка 18, а точнее, ее свободный конец 20 позволяет предотвратить радиальное выгибание свободных концов 14 вторых участков 10b волокон щеточного уплотнения 10 в направлении полости Р2 под воздействием разницы давлений в полостях Р1 и Р2. Такое радиальное выгибание свободных концов вторых участков волокон щеточного уплотнения могло бы вызвать “отлипание” щетины щеточного уплотнения, которая перестала бы соприкасаться с уплотняемой поверхностью. Это привело бы к повышению результирующей проницаемости уплотняющего устройства.
В соответствии с еще одной полезной особенностью изобретения изогнутые участки 10с волокон щеточного уплотнения 10 изогнуты с образованием прямого угла так, что вторые участки 10b волокон щеточного уплотнения расположены, по существу, перпендикулярно основным участкам 10а.
Также в соответствии с полезной особенностью изобретения щеточное уплотнение 10 расположено таким образом, что основные участки 10а его волокон расположены, по существу, перпендикулярно продольной оси Х-Х турбомашины, а вторые участки 10b его волокон расположены, по существу, параллельно той же продольной оси Х-Х.
Ниже приведено краткое описание принципов работы уплотняющего устройства по изобретению, следующих очевидным образом из вышеприведенного описания.
Уплотняющее устройство 6 изображено на фиг.1 находящимся в свободном состоянии, т.е. в отсутствие установленной второй статичной части турбомашины. В этой конфигурации свободный конец 20 гибкой прокладки 18 плотно соприкасается со свободными концами 14 вторых участков 10b волокон щеточного уплотнения 10. Кроме того, свободный конец 20 гибкой прокладки 18 слегка выступает в осевом направлении за свободные концы 14 вторых участков 10b волокон.
Когда вторую статичную часть 4 турбомашины прижимают в осевом направлении к первой статичной части 2 турбомашины (конфигурация, соответствующая нормальному состоянию – фиг.2), гибкая прокладка 18, а точнее, ее четвертая ветвь 36, подвергается аксиальной деформации таким образом, что передний зазор J2′ уменьшается по сравнению с конфигурацией уплотняющего устройства в свободном состоянии (J2′
Аналогичным образом, основные участки 10а волокон щеточного уплотнения 10 подвергаются аксиальной деформации вовнутрь паза 8, приводящей к уменьшению заднего зазора J1′ (J1′
Кроме того, прижатие прокладки 18 к уплотняемой поверхности 16 позволяет удерживать уплотняющее устройство 6 в соприкосновении с уплотняемой поверхностью 16, в частности, при наличии на последней разрывов и/или деформаций. Эта конфигурация изображена на фиг.3.
На этой фигуре изображено уплотняющее устройство 6 при наличии в уплотняемой поверхности 16 аксиального разрыва, представленного зазором J3. Такой разрыв J3 может возникнуть вследствие относительного радиального смещения первой и второй статичных частей 2, 4 турбомашины. Он также может быть вызван наличием значительных термических деформаций одной из этих двух статичных частей 2, 4.
В этом случае свободные концы 14 волокон щеточного уплотнения 10 остаются в плотном соприкосновении с уплотняемой поверхностью 16. Это обеспечивается гибкостью волокон щеточного уплотнения, основные участки 10а которых подвергаются легкой деформации в направлении выхода из паза 8 по сравнению с их нормальной рабочей конфигурацией (фиг.2). Таким образом, задний зазор J1” снова увеличивается по сравнению с нормальной рабочей конфигурацией (J1”>J2′).
Гибкость прокладки 18 позволяет уплотняющему устройству 6 возвращаться в нормальное рабочее положение (фиг.2) при исчезновении аксиального разрыва уплотняемой поверхности 16. Сразу после исчезновения аксиального разрыва основные участки 10а волокон щеточного уплотнения 10 вследствие своей упругости снова принимают свою исходную форму (фиг.2).
В результате уплотняющее устройство 6 по изобретению точно адаптируется к различным деформациям и/или разрывам, которые могут возникнуть на уплотняемой поверхности 16. Свободные концы 14 волокон щеточного уплотнения 10 находятся в постоянном соприкосновении с уплотняемой поверхностью, обеспечивая хорошее уплотнение между двумя статичными частями турбомашины.
Формула изобретения
1. Уплотняющее устройство, установленное между двумя статичными частями (2, 4) турбомашины с целью разделения двух полостей (P1, P2) с различными давлениями и содержащее щеточное уплотнение (10), образованное эластичными уплотняющими волокнами, которые, по меньшей мере, частично находятся в пазу (8) одной из двух указанных статичных частей (2), причем у каждого волокна имеется основной участок (10а) и второй участок (10b), соединенные изогнутым участком (10с), и основной участок (10а) волокна, по меньшей мере, частично заключен в указанном пазу (8), а второй участок (10b) волокна имеет свободный конец (14), выступающий из паза (8) так, чтобы обеспечить плотное соприкосновение с уплотняемой поверхностью (16) второй статичной части (4), отличающееся тем, что дополнительно содержит изогнутую в сечении гибкую прокладку (18), которая, по меньшей мере, частично охватывает основные участки (10а) волокон щеточного уплотнения (10) и имеет свободный конец (20), упирающийся одновременно в свободные концы вторых участков (10b) волокон щеточного уплотнения (10) и в уплотняемую поверхность (16) так, что свободные концы (14) вторых участков (10b) волокон щеточного уплотнения (10) постоянно соприкасаются с уплотняемой поверхностью (16).
2. Устройство по п.1, отличающееся тем, что гибкая прокладка (18) имеет изогнутое сечение, по существу, в форме буквы омега.
3. Устройство по п.1, отличающееся тем, что свободный конец (20) гибкой прокладки (18), упирающийся в свободные концы (14) вторых участков (10b) волокон щеточного уплотнения (10) и в уплотняемую поверхность (16), расположен со стороны полости (Р2), имеющей более низкое давление.
4. Устройство по п.1, отличающееся тем, что дополнительно содержит кольцо (22), удерживающее основные участки (10а) волокон щеточного уплотнения (10) в пазу (8) статичной части (2).
5. Устройство п.1, отличающееся тем, что изогнутые участки (10с) волокон щеточного уплотнения (10) изогнуты с образованием прямого угла так, что вторые участки (10b) волокон щеточного уплотнения (10) расположены, по существу, перпендикулярно основным участкам (10а) волокон щеточного уплотнения.
6. Устройство по любому из пп.1-5, отличающееся тем, что щеточное уплотнение (10) расположено таким образом, что основные участки (10а) волокон расположены, по существу, перпендикулярно продольной оси (Х-Х) турбомашины, а вторые участки (10b) волокон расположены, по существу, параллельно указанной продольной оси (Х-Х) турбомашины.
РИСУНКИ
PD4A – Изменение наименования обладателя патента СССР или патента Российской Федерации на изобретение
(73) Новое наименование патентообладателя:
СНЕКМА (FR)
Адрес для переписки:
191186, Санкт-Петербург, а/я 230, АРС-ПАТЕНТ
Извещение опубликовано: 20.02.2009 БИ: 05/2009
).>
).
|
|