|
|
(21), (22) Заявка: 2004108041/06, 18.09.2002
(24) Дата начала отсчета срока действия патента:
18.09.2002
(30) Конвенционный приоритет:
20.09.2001 FR 0112133
(43) Дата публикации заявки: 20.05.2005
(46) Опубликовано: 10.04.2007
(56) Список документов, цитированных в отчете о поиске:
FR 2786222 А, 19.11.2000. ЕР 1002972 А, 24.05.2000. US 5797723 А, 25.08.1998. FR 2649463 А, 11.01.1991. SU 1200609 A1, 30.10.1990. SU 1771407 A1, 20.05.1995.
(85) Дата перевода заявки PCT на национальную фазу:
20.04.2004
(86) Заявка PCT:
FR 02/03182 (18.09.2002)
(87) Публикация PCT:
WO 03/025350 (27.03.2003)
Адрес для переписки:
191186, Санкт-Петербург, а/я 230, “АРС-ПАТЕНТ”, пат.пов. В.М.Рыбакову, рег. № 90
|
(72) Автор(ы):
АНТЮН Серж Луи (FR), ГАЗО Патрик Пьер Бернар (FR), МАРШИ Марк (FR), РОССЕ Патрис Жан-Марк (FR)
(73) Патентообладатель(и):
СНЕКМА МОТОРС (FR)
|
(54) УСТРОЙСТВО ДЛЯ УПЛОТНЕНИЯ СТЫКОВ С ПОМОЩЬЮ УПЛОТНЯЮЩИХ ПЛАСТИН
(57) Реферат:
Изобретение относится к уплотнению, применяемому в турбомашинах между аэродинамическим каналом, по которому проходят горячие газы, и объемом, в который подается охлаждающий воздух, например, для охлаждения соплового аппарата. Турбомашина содержит сопловой аппарат, установленный аксиально между двумя корпусными элементами и состоящий из нескольких секторов, содержащих сопловые лопатки, расположенные между элементами внутренних и внешних полок. Элементы внутренних и внешних полок, по меньшей мере, в двух соседних секторах содержат уплотняющие прокладки, расположенные радиально в зазоре, отделяющем указанные элементы от корпусного элемента, для предотвращения протекания текучих сред между указанными элементами. Прокладки двух соседних секторов состыкованы между собой, а их стык закрыт стыковой накладкой, расположенной между указанными прокладками, и удерживающим устройством, удерживающим прокладки в герметизирующем положении. Удерживающее устройство состоит из лапы, расположенной в одном из секторов и проходящей в периферическом направлении по краю указанного сектора. Свободный конец лапы прижат к стыковой накладке в зоне, расположенной вне указанного сектора. Изобретение позволяет обеспечить герметичность уплотнения между корпусом и полками секторов за счет ограничения углового смещения лапы и установки ее свободного конца на соседнем секторе. 6 з.п. ф-лы, 6 ил.
Область техники, к которой относится изобретение
Изобретение относится к уплотнению, применяемому в турбомашинах между аэродинамическим каналом, по которому проходят горячие газы, и объемом, в который подается охлаждающий воздух, например, для охлаждения соплового аппарата.
Точнее, изобретение касается устройства для уплотнения стыков соплового аппарата, установленного в аксиальном направлении между двумя конструктивными элементами. При этом сопловой аппарат состоит из нескольких секторов, содержащих сопловые лопатки, расположенные между элементами внутренней и внешней полок. По меньшей мере, указанные элементы двух соседних секторов содержат уплотняющие прокладки, расположенные радиально в пространстве, отделяющем указанный элемент полки от соседнего корпусного элемента, для предотвращения протекания текучих сред между указанными элементами. Соответствующие прокладки двух смежных секторов состыкованы между собой, а их стык покрыт стыковой накладкой, расположенной между состыкованными прокладками и устройством, удерживающим прокладки в герметизирующем положении.
Уровень техники
Уплотняющие устройства с использованием прокладок в виде тонких пластинок широко применяются для предотвращения протекания текучих сред между внутренним и внешним кольцевыми каналами камеры сгорания, в которых циркулирует воздух, охлаждающий сопловой аппарат и подвижные лопатки, и каналом, по которому проходят горячие газы, поступающие из камеры сгорания.
Эти прокладки размещают в кольцевых пространствах, отделяющих элементы полки от корпусного элемента, плотно прижимая их для обеспечения герметичности к образующей поверхности указанных элементов.
Подобные прокладки подвержены действию давления, приложенного к их противоположным сторонам. В общем случае давление охлаждающего газа выше давления горячих газов, поэтому прокладки располагают таким образом, чтобы эта разность давлений способствовала улучшению искомой герметизации. Тем не менее, поскольку авиационные турбомашины эксплуатируются в существенно различных условиях, возможно возникновение многочисленных проблем, связанных, в частности, с расширением, вибрацией и небольшими вариациями давления на некоторых этапах полета.
Поэтому устройства уплотнения содержат вспомогательные средства, оказывающие постоянное давление на прокладки в целях удержания их в герметизирующем положении.
Так, в патентной публикации FR 2649463 описан уплотняющий стык с прокладками, в котором прокладки скользят по аксиально расположенным штифтам, причем на них оказывают давление пружины, содержащие часть, закрепленную при помощи шплинта.
В патентной публикации FR 2786222 описаны уголки для поддержки прокладок, имеющие один конец, прижимающийся к уплотняющей прокладке, и другой конец, загнутый в форме скобы и вставленный в паз в одном из элементов конструкции для фиксации аксиального положения. Прокладки и поддерживающие уголки содержат загнутые лапы, позволяющие уголкам дополнительно зафиксировать аксиальное положение прокладок. В этом документе предусмотрен поддерживающий уголок, опирающийся на два смежных сектора соплового аппарата и оказывающий давление на стыковую накладку.
В этих двух известных решениях эластичные элементы оказывают воздействие на прокладку, расположенную в секторе, в котором установлена пружина или поддерживающий уголок.
Раскрытие изобретения
Удерживающее устройство, используемое в сопловом аппарате турбомашины по настоящему изобретению, характеризуется тем, что состоит из лапы, расположенной в одном из секторов соплового аппарата и проходящей в периферическом направлении по краю указанного сектора, причем свободный конец указанной лапы прижат к стыковой накладке, расположенной в зоне вне указанного сектора.
Данная лапа предпочтительно прикреплена к сектору двумя соединениями, расположенными с взаимным угловым смещением. Одно из данных соединений предпочтительно выполнено с возможностью скольжения в периферическом направлении.
Такая конструкция позволяет ограничить угловые смещения лапы и контролировать положение точки ее приложения.
Соединения предпочтительно образованы аксиально ориентированными заклепками, стержни которых проведены через отверстия, выполненные в лапе. Прокладки также могут сдвигаться на стержнях заклепок.
Соединение, выполненное с возможностью скольжения, снабжено конструкцией, содержащей скобу, постоянно прижимающую указанную лапу к прокладке. Второе соединение лапы предпочтительно расположено на конце лапы, противоположном ее свободному концу, и зафиксировано в аксиальном направлении.
Краткое описание чертежей
Другие свойства и достоинства настоящего изобретения станут ясны из нижеследующего описания, содержащего ссылки на прилагаемые чертежи, которые иллюстрируют пример осуществления изобретения.
На чертежах:
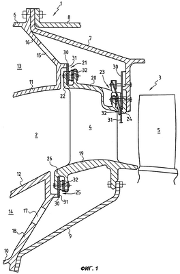
– на фиг.1 представлен вид в разрезе части турбомашины, иллюстрирующий пример конструкции, в которой может использоваться устройство для уплотнения по изобретению;
– на фиг.2 представлен радиальный вид верхней части удерживающего устройства, воздействующего на уплотняющие прокладки двух смежных секторов соплового аппарата;
– на фиг.3 представлен аксиальный вид удерживающего устройства, изображенного на фиг.2;
– фиг.4 изображает в перспективе прижимную лапу по изобретению;
– фиг.5 изображает в перспективе устройство крепления лапы, изображенной на фиг.4, при помощи заклепки и скобы;
– на фиг.6 представлен аксиальный вид стыковой накладки.
Осуществление изобретения
Турбомашина 1, изображенная на фиг.1, содержит камеру 2 сгорания и турбину 3 высокого давления, состоящую из одной или нескольких ступеней. Каждая ступень турбины содержит ряд сопловых лопаток 4 и ряд подвижных (рабочих) лопаток 5. Эти ряды, как известно, чередуются. Турбина высокого давления установлена на конструкции, содержащей, с радиально внешней стороны, внешний корпус 6 камеры сгорания, внешнее кольцо 7 турбины и корпус 8 турбины, соединенные болтами. С радиально внутренней стороны турбины 3 расположен внутренний корпус 9 турбины, соединенный с внутренним корпусом 10 камеры сгорания. Камера 2 сгорания имеет кольцевую форму и ограничена внешней стенкой 11 и внутренней стенкой 12. Как и в известных решениях, охлаждающий воздух распространяется под высоким давлением вокруг кольцевой камеры 2 сгорания во внешнем кольцевом канале 13, ограниченном внешним корпусом 6 и внешней стенкой 11 камеры 2 сгорания, а также во внутреннем кольцевом канале 14, ограниченном внутренним корпусом 10 и внутренней стенкой 12 камеры 2 сгорания. Охлаждающий воздух проходит вдоль турбины через отверстия 15, выполненные в стенке 16, соединяющей передние концы внешнего корпуса 6 и внешней стенки 11 камеры 2 сгорания, охлаждая сопловые лопатки 4. Охлаждающий воздух проходит также через отверстия 17, выполненные в стенке 18, соединяющей передние концы внутреннего корпуса 10 и внутренней стенки 12 камеры 2 сгорания, охлаждая внутренние полки 19 сопловых лопаток 4.
Ряд сопловых лопаток 4 выполнен в виде нескольких единых секторов S, каждый из которых содержит несколько сопловых лопаток 4, соединенных элементами бандажных (наружных) полок 20 и элементами замковых (внутренних) полок 19. Необходимо предотвратить любые утечки воздуха между элементами полок 19, 20 секторов S и примыкающими к ним элементами конструкции.
Соответственно, первый уплотняющий элемент установлен в зазор 21 между задним концом 22 элементов внешней полки 20 и стенкой 16, в зазор 23 между передним концом 24 элементов внешней полки 20 и внешним кольцом 7 турбины, а также в зазор 25 между задним концом 26 элементов внутренней полки 19 и стенкой 18.
Каждый из уплотняющих элементов состоит из нескольких изогнутых и стыкующихся между собой уплотняющих прокладок (пластинок) 30, каждая из которых расположена в одном секторе S соплового аппарата и прилегает к бортику 40, образованному в секторе S на заднем конце 22 и переднем конце 24 элемента внешней полки 20, а также на заднем конце 26 элементов внутренней полки 19. Эти прокладки 30 ориентированы в радиальном направлении наружу в случае прокладок, закрывающих зазоры 21 и 23, и внутрь в случае прокладок 30, закрывающих зазор 25. Прокладки имеют образующую, соприкасающуюся со смежными элементами конструкции.
Две смежные прокладки 30a, 30b одного уплотняющего элемента соединяются в плоскости Р1, разделяющей последовательно расположенные сектора S1 и S2. Как видно из фиг.2, стык между этими двумя прокладками 30a и 30b закрыт стыковой накладкой 31, расположенной между смежными краями этих прокладок и удерживающим устройством, обеспечивающим герметичность стыка.
Удерживающее устройство содержит закругленный свободный конец 32 прижимной лапы 33, прикрепленной к одному из секторов, например S1, при помощи двух заклепок 40а, 40b, закрепленных, соответственно, в выступах 41а, 41b элемента полки 19 или 20. Стержни этих заклепок проведены сквозь отверстия, выполненные в прижимной лапе 33, прокладке 30a и стыковых накладках 31а и 31b. Противоположный по отношению к свободному концу 32 конец 34 лапы 33 загнут в форме буквы U и содержит цилиндрические отверстия 50а, 50b, обеспечивающие фиксацию в периферическом направлении (по окружности); таким образом, этот конец 34 фиксируется в аксиальном направлении. Соединение между заклепкой 40b и лапой 33 обеспечено скобой 43, которая прижимает средний участок лапы 33 к прокладке 30a, причем в периферическом направлении это соединение не зафиксировано. Как показано на фиг.3, лапа 33 проходит в периферическом направлении над элементом полки сектора S1. Однако ее свободный конец 32, прилегающий к стыковой накладке 31а, находится вне сектора S1 и в примере, представленном на фиг.2 и 3, в зоне сектора S2. Из фиг.3 видно, что противоположные концы стыковой накладки 31 содержат вырезы 35, через которые проходят стержни соседних заклепок, расположенных в смежных секторах S1 и S2.
На фиг.4 представлен перспективный вид прижимной лапы 33. На ее конце 34 выполнены цилиндрические отверстия 50а и 50b, через которые проходит стержень заклепки 40а. На фиг.4 также изображено продолговатое отверстие 51, через которое проходит стержень заклепки 40b, что позволяет создать соединение, не зафиксированное в периферическом направлении.
На фиг.5 изображена заклепка 40b и скоба, надевающаяся на выступ 41b, причем участок 52 скобы 43 прижимается к средней части лапы 33, окружающей отверстие 51.
На фиг.6 изображена стыковая накладка 31, закрывающая смежные концы двух соседних прокладок 30a и 30b. Противоположные концы этой стыковой накладки 31 содержат вырезы 35, через которые проходят стержни двух соседних заклепок 40а и 40b, установленных в двух смежных секторах.
Формула изобретения
1. Турбомашина, содержащая сопловой аппарат, установленный аксиально между двумя корпусными элементами и состоящий из нескольких секторов, содержащих сопловые лопатки, расположенные между элементами внутренних и внешних полок, причем указанные элементы, по меньшей мере, в двух соседних секторах содержат уплотняющие прокладки (30), расположенные радиально в зазоре, отделяющем указанные элементы от корпусного элемента, для предотвращения протекания текучих сред между указанными элементами, причем соответствующие прокладки двух соседних секторов состыкованы между собой, а их стык закрыт стыковой накладкой (31), расположенной между указанными прокладками, и удерживающим устройством, удерживающим прокладки в герметизирующем положении, отличающаяся тем, что удерживающее устройство состоит из лапы (33), расположенной в одном из секторов (S1) и проходящей в периферическом направлении по краю указанного сектора, причем свободный конец (32) лапы (33) прижат к стыковой накладке (31) в зоне, расположенной вне указанного сектора (S1).
2. Турбомашина по п.1, отличающаяся тем, что лапа (33) прикреплена к сектору (S1) двумя соединениями, расположенными с взаимным угловым смещением.
3. Турбомашина по п.2, отличающаяся тем, что одно из соединений выполнено с возможностью скольжения в периферическом направлении.
4. Турбомашина по п.3, отличающаяся тем, что соединения образованы аксиально ориентированными заклепками (40а, 40b), проведенными через отверстия, выполненные в лапе (33).
5. Турбомашина по п.4, отличающаяся тем, что соединение, выполненное с возможностью скольжения, снабжено конструкцией, содержащей скобу (43), постоянно прижимающую лапу (33) к прокладке (30).
6. Турбомашина по п.5, отличающаяся тем, что второе соединение лапы (33) расположено на ее конце (34), противоположном ее свободному концу (32), и зафиксировано в аксиальном направлении.
7. Турбомашина по любому из пп.4-6, отличающаяся тем, что на противоположных концах стыковой накладки (31) выполнены вырезы (35), через которые проведены две соседние заклепки (40а, 40b) двух смежных секторов (S1, S2).
РИСУНКИ
PD4A – Изменение наименования обладателя патента СССР или патента Российской Федерации на изобретение
(73) Новое наименование патентообладателя:
СНЕКМА (FR)
Адрес для переписки:
191186, Санкт-Петербург, а/я 230, АРС-ПАТЕНТ
Извещение опубликовано: 20.02.2009 БИ: 05/2009
|
|