|
|
(21), (22) Заявка: 2002123307/06, 27.08.2002
(24) Дата начала отсчета срока действия патента:
27.08.2002
(30) Конвенционный приоритет:
28.08.2001 FR 0111188
(43) Дата публикации заявки: 10.03.2004
(46) Опубликовано: 10.04.2007
(56) Список документов, цитированных в отчете о поиске:
US 5720431 А, 24.02.1998. US 5813836 А, 29.09.1998. US 6168381 B1, 02.01.2001. US 5660524 A, 26.08.1997. US 5702232 А, 30.12.1997. US 3191908 А, 29.06.1965. SU 1287678 A2, 20.02.1997.
Адрес для переписки:
191186, Санкт-Петербург, а/я 230, “АРС-ПАТЕНТ”, пат.пов. В.М.Рыбакову, рег. № 90
|
(72) Автор(ы):
БУРРЬЁ Изабель (FR), ЭНО Патрис (FR), ПИКО Филипп (FR)
(73) Патентообладатель(и):
СНЕКМА МОТОРС (FR)
|
(54) ЛОПАТКА ГАЗОВОЙ ТУРБИНЫ С УСОВЕРШЕНСТВОВАННЫМИ КОНТУРАМИ ОХЛАЖДЕНИЯ
(57) Реферат:
Лопатка газовой турбины для авиационного двигателя снабжена, по меньшей мере, тремя охлаждающими контурами. Первый охлаждающий контур содержит, по меньшей мере, одну полость на вогнутой стороне пера лопатки, вытянутую в радиальном направлении вблизи вогнутой поверхности пера. Второй охлаждающий контур независим от первого охлаждающего контура и содержит, по меньшей мере, одну полость на выпуклой стороне пера, вытянутую в радиальном направлении вблизи выпуклой поверхности пера. Третий охлаждающий контур независим от первого и второго охлаждающих контуров и содержит, по меньшей мере, одну центральную полость, расположенную в центральной части пера лопатки между полостью на вогнутой стороне пера и полостью на выпуклой стороне пера, по меньшей мере, одну полость вблизи входной кромки пера, соединительные отверстия, связывающие центральную полость и полость вблизи входной кромки пера, а также выпускные отверстия, сообщающиеся с указанной полостью вблизи входной кромки пера и выходящие на входную кромку пера. Изобретение позволяет понизить температуру передней кромки пера лопатки. 9 з.п. ф-лы, 5 ил.
Область техники, к которой относится изобретение
Настоящее изобретение относится к усовершенствованию лопаток газовой турбины для авиационного двигателя. Более конкретно изобретение относится к контуру охлаждения таких лопаток.
Уровень техники
Известно, что вращающиеся лопатки газовой турбины авиационного двигателя, особенно турбины высокого давления подвергаются при работе турбины воздействию очень высоких температур со стороны газов сгорания. Эти температуры достигают значений, существенно превышающих температуры, которые способны выдерживать без повреждений различные детали, вступающие в контакт с данными газами. Это обстоятельство ограничивает срок службы подобных деталей.
С другой стороны, известно, что повышение температуры газов в турбине высокого давления повышает эффективность двигателя и, следовательно, отношение тяги двигателя к весу самолета, приводимого в движение этим двигателем. В связи с этим предпринимаются попытки создать турбинные лопатки, способные выдерживать все более высокие температуры.
Известен подход к решению данной проблемы путем снабжения лопаток контурами охлаждения, предназначенными для снижения температуры лопаток. При использовании подобных контуров охлаждающий воздух, как правило, подается внутрь пера лопатки через ее корневую часть (хвостовик), проходит через лопатки по траектории, определяемой полостями, сформированными внутри пера, и выводится через выпускные (перфорационные) отверстия в поверхности пера.
В качестве примера может быть указан известный метод, который заключается в выполнении лопатки с центральной полостью, в которую через корневую часть подается охлаждающий воздух с тем, чтобы оказать “ударное воздействие” (т.е. создать скоростной напор) на входную кромку лопатки. Однако поскольку указанная полость отделена от горячих газов только стенкой лопатки, воздух, проходящий через указанную полость, нагревается по мере приближения к входной кромке.
В патенте США №5720431 описана лопатка, снабженная центральной полостью, которая окружена радиальными полостями, расположенными на выпуклой и вогнутой сторонах лопатки. В названном документе описаны также отверстия, позволяющие воздуху проходить между центральной полостью и радиальными полостями. В результате воздух, который проходит через радиальные полости, нагревается в незначительной степени и почти не теряет своей эффективности в отношении защиты входной кромки лопатки от горячих газов.
Сущность изобретения
Настоящее изобретение направлено на решение задачи уменьшения недостатков известных решений путем усовершенствования лопаток газовых турбин, точнее их контуров охлаждения таким образом, чтобы понизить температуру передней кромки пера лопатки. Тем самым достигается повышение срока службы лопаток.
В рамках решения названной задачи изобретение предусматривает создание лопатки газовой турбины для авиационного двигателя. Лопатка по изобретению характеризуется тем, что снабжена:
по меньшей мере, первым охлаждающим контуром, содержащим, по меньшей мере, одну полость на вогнутой стороне пера лопатки, вытянутую в радиальном направлении вблизи вогнутой поверхности пера;
по меньшей мере, вторым охлаждающим контуром, независимым от первого охлаждающего контура и содержащим, по меньшей мере, одну полость на выпуклой стороне пера, вытянутую в радиальном направлении вблизи выпуклой поверхности пера; и
по меньшей мере, одним третьим охлаждающим контуром, независимым от первого и второго охлаждающих контуров и содержащим, по меньшей мере, одну центральную полость, расположенную в центральной части пера лопатки между полостью на вогнутой стороне пера и полостью на выпуклой стороне пера, по меньшей мере, одну полость вблизи входной кромки пера, соединительные отверстия, связывающие центральную полость и полость вблизи входной кромки пера, а также выпускные отверстия, сообщающиеся с указанной полостью вблизи входной кромки пера и выходящие на входную кромку пера.
Наличие полостей, окружающих центральную полость, а также использование независимых охлаждающих контуров для различных полостей позволяет обеспечить, по существу, однородную защиту пера лопатки по всей ее высоте. В результате входная кромка пера получает эффективное охлаждение более холодным воздухом.
В дополнение охлаждение выпуклой и вогнутой поверхностей в центральной части пера лопатки обеспечивается двумя полностью независимыми охлаждающими контурами. Тем самым становится возможным независимое управление температурами вогнутой и выпуклой поверхностей пера путем управления расходом охлаждающего воздуха, подаваемого в каждый из этих контуров.
Кроме того, отсутствует радиальная циркуляция воздуха в полости, расположенной вблизи входной кромки пера. Охлаждающий воздух выпускается непосредственно в поток газов сгорания через выпускные отверстия, расположенные во входной кромке. Это позволяет избегнуть возмущающего влияния поперечного потока на воздействие струй воздуха, подаваемых со скоростным напором.
Далее для увеличения внутреннего теплопереноса полость на вогнутой стороне пера первого охлаждающего контура и полость на выпуклой стороне пера второго охлаждающего контура имеют высокое характеристическое отношение. Более конкретно наибольший размер в поперечном сечении каждой из этих полостей, по меньшей мере, в три раза превышает другой ее размер.
В особо предпочтительном варианте выполнения лопатка по изобретению дополнительно снабжена, по меньшей мере, одним четвертым и одним пятым охлаждающими контурами, причем каждый из пяти охлаждающих контуров выполнен независимым от всех других контуров.
Как четвертый, так и пятый охлаждающие контура содержат, по меньшей мере, по одной полости, расположенной соответственно в задней части пера лопатки и вблизи выходной кромки пера, а также по впускному отверстию для воздуха на радиальном конце соответствующей полости для подачи охлаждающего воздуха в соответствующий контур. При этом как в четвертом, так и в пятом охлаждающих контурах предусмотрены выпускные отверстия, сообщающиеся с полостью соответствующего охлаждающего контура и выходящие соответственно на вогнутую поверхность пера и на его выходную кромку.
Для усиления теплопереноса вдоль стенок полостей полости некоторых охлаждающих контуров снабжены дефлекторами. Так, в полостях, входящих в состав первого и второго охлаждающих контуров, имеются дефлекторы, расположенные на наружных боковых стенках этих полостей. В полостях, входящих в состав четвертого и пятого охлаждающих контуров, дефлекторы расположены напротив друг друга на вогнутой и выпуклой боковых стенках соответствующей полости.
Предпочтительно также, чтобы первый и второй охлаждающие контуры имели не одну, а, по меньшей мере, соответственно три и четыре полости, расположенные соответственно на вогнутой и на выпуклой сторонах пера лопатки.
При таком выполнении лопатки первый охлаждающий контур содержит одно впускное отверстие для воздуха на радиальном конце первой полости этого контура, первый канал, соединяющий другой радиальный конец данной первой полости со смежным радиальным концом второй полости того же контура, и второй канал, соединяющий другой радиальный конец второй полости со смежным радиальным концом третьей полости на вогнутой стороне пера.
Соответственно второй охлаждающий контур содержит, по меньшей мере, два впускных отверстия для воздуха на радиальном конце первой и второй полостей на выпуклой стороне пера, первый и второй каналы, соединяющие другие радиальные концы указанных первой и второй полостей со смежным радиальным концом третьей полости на вогнутой стороне пера, и третий канал, соединяющий другой радиальный конец третьей полости со смежным радиальным концом четвертой полости данного охлаждающего контура.
Кроме того, в первом и втором охлаждающих контурах предусмотрены выпускные отверстия, сообщающиеся соответственно с третьей полостью первого охлаждающего контура и с четвертой полостью второго охлаждающего контура. Указанные выпускные отверстия выполнены выходящими своим противоположным концом соответственно на вогнутую и на выпуклую поверхности пера.
Перечень фигур чертежей
Другие особенности и преимущества настоящего изобретения станут ясны из нижеследующего подробного описания, приводимого со ссылками на прилагаемые чертежи, на которых представлен один из возможных вариантов осуществления изобретения.
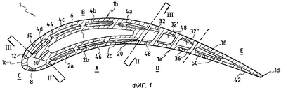
На фиг.1 в сечении представлена вращающаяся лопатка газовой турбины, выполненная согласно изобретению.
На фиг.2 та же лопатка представлена в сечении по линии II-II на фиг.1.
На фиг.3 та же лопатка представлена в сечении по линии III-III на фиг.1.
На фиг.4 в увеличенном масштабе показаны отверстия, соединяющие центральную полость и полость вблизи входной кромки пера лопатки по изобретению.
Фиг.5 иллюстрирует циркуляцию охлаждающего воздуха, протекающего через различные охлаждающие контуры, предусмотренные в лопатке по изобретению.
Сведения, подтверждающие возможность осуществления изобретения
Как показано на фиг.1, лопатка 1 газовой турбины для авиационного двигателя, выполненная согласно изобретению, содержит в центральной части своего пера первый и второй охлаждающие контуры А и В, выполненные независимыми друг от друга. Первый контур А содержит, по меньшей мере, одну полость на вогнутой стороне пера, но предпочтительно группу полостей, например три полости 2a, 2b и 2c на вогнутой стороне пера. Данные полости вытянуты в радиальном направлении вблизи вогнутой поверхности 1а (корыта) пера лопатки 1. Второй охлаждающий контур В содержит, по меньшей мере, одну полость на выпуклой стороне пера, но предпочтительно группу полостей, например четыре полости 4a-4d, на выпуклой стороне пера. Данные полости вытянуты в радиальном направлении вблизи выпуклой поверхности 1b (спинки) пера лопатки 1.
Указанные контуры служат для охлаждения соответственно вогнутой и выпуклой поверхности пера в режиме, который будет подробно описан далее.
Как более наглядно представлено на фиг. 2, впускное отверстие 14 для воздуха, обеспечивающее доступ воздуха в первый охлаждающий контур А, предусмотрено на том радиальном конце первой полости 2а на вогнутой стороне пера, который прилежит к корневой части лопатки.
Первый канал 16 соединяет другой радиальный конец полости 2а, прилежащий к наружному краю лопатки, со смежным радиальным концом второй полости 2b на вогнутой стороне пера. Вблизи корневой части лопатки предусмотрен также второй канал 18, который соединяет другой радиальный конец полости 2b со смежным радиальным концом третьей полости 2c на вогнутой стороне пера. При этом выпускные (перфорационные) отверстия 20 соединяют указанную полость 2с с вогнутой поверхностью 1а пера.
Полости 2а, 2b и 2с на вогнутой стороне пера, входящие в первый охлаждающий контур А, предпочтительно снабжены дефлекторами 46, расположенными на их наружной стенке, смежной с вогнутой поверхностью пера, которые увеличивают теплоперенос вдоль указанной стенки и уменьшают потери напора.
Дефлекторы выполнены в форме рельефных участков на стенках полостей, расположенных на траектории потока охлаждающего воздуха. Таким образом, они служат для внесения возмущений в воздушный поток, протекающий через полости, и тем самым усиливают теплообмен.
Питание второго охлаждающего контура В производится независимо от первого контура А. Как показано на фиг.1 и 5, второй контур В содержит четыре полости 4а, 4b, 4с и 4d на выпуклой стороне пера лопатки и, по меньшей мере, два впускных отверстия 22а и 22b на тех радиальных концах полостей 4а и 4b, которые прилежат к корневой части лопатки.
При этом первый и второй каналы 24, 26 соединяют противоположные радиальные концы полостей 4а и 4b на выпуклой стороне пера соответственно со смежным радиальным концом третьей полости 4с. Третий канал 28 соединяет другой радиальный конец полости 4с со смежным радиальным концом четвертой полости 4d на выпуклой стороне пера.
В выпуклой поверхности 1b лопатки, вблизи ее входной кромки также выполнены перфорационные отверстия 30, соединяющиеся с указанной полостью 4d на выпуклой стороне пера.
Полости 4а и 4d на выпуклой стороне пера предпочтительно снабжены дефлекторами 44, расположенными на их наружных стенках, смежных с выпуклой поверхностью лопатки, которые увеличивают теплоперенос вдоль указанных стенок.
Предпочтительно полости 2а-2с на вогнутой стороне пера, входящие в первый охлаждающий контур А, и полости 4a-4d на выпуклой стороне пера, входящие во второй охлаждающий контур В, имеют высокое характеристическое отношение для увеличения внутреннего теплообмена. Охлаждающая полость рассматривается как имеющая высокое характеристическое отношение, если в своем поперечном сечении ее наибольший размер (длина), по меньшей мере, в три раза превышает другой ее размер (ширину).
Таким образом, согласно изобретению вогнутая и выпуклая поверхности пера охлаждаются абсолютно независимо, с использованием двух отдельных контуров А и В, т.е. отсутствует перетекание воздуха из одного контура в другой. Благодаря этому обеспечивается возможность независимо управлять температурой вогнутой и выпуклой поверхностей пера лопатки с использованием потока воздуха, текущего в каждом из этих контуров.
В дополнение к первому и второму охлаждающим контурам А и В лопатка 1 имеет также третий охлаждающий контур С, независимый от двух других и расположенный между ними. Этот третий охлаждающий контур С содержит, по меньшей мере, одну центральную полость 6, расположенную в центральной части лопатки между полостями 2а-2с на вогнутой стороне пера и полостями 4a-4d на выпуклой стороне пера. С центральной полостью 6 посредством соединительных отверстий 10 связана полость 8, имеющая гладкие стенки и расположенная вблизи входной кромки 1с лопатки. Предусмотрены также выпускные (перфорационные) отверстия 12, соединяющие полость 8 у входной кромки лопатки с указанной входной кромкой.
Входная кромка 1с лопатки охлаждается посредством ударного воздействия (скоростного напора) струй воздуха, поступающих через центральную полость 6. Как показано на фиг.4, центральная полость 6 и полость 8 у входной кромки предпочтительно сообщаются друг с другом посредством удлиненных соединительных отверстий 10. Размерные параметры (длина, ширина и радиус) этих удлиненных соединительных отверстий 10 выбраны в зависимости от требований к охлаждающему контуру, т.е. таким образом, чтобы оптимизировать теплообмен в результате скоростного напора со стороны воздуха на входную кромку 1с. Соединительные отверстия выполнены так, чтобы избежать острых кромок и тем самым устранить риск образования трещин при формировании охлаждающего контура в процессе литья.
При этом охлаждающий воздух, поступающий в центральную полость, подается только через соединительные отверстия, имеющиеся в этой полости, к передней кромке лопатки. Благодаря этому расход воздуха, проходящего через данный контур, не зависит от статического давления на перо лопатки. Распределение потока, проходящего через соединительные отверстия, является равномерным по его высоте.
При этом центральная полость 6 защищена от горячих газов благодаря тому, что расположена между двумя другими охлаждающими контурами А и В. В результате воздух, проходящий через эту полость, нагревается только в незначительной степени. Как следствие, входная кромка лопатки эффективно охлаждается воздухом при более низкой температуре.
Лопатка в описываемом варианте выполнения дополнительно снабжена в своей задней части четвертым охлаждающим контуром D. Данный контур является независимым от первого, второго и третьего контуров А, В, С. Он образован, по меньшей мере, одной полостью, но предпочтительно группой полостей 32, 32 , 32 , расположенных в задней части пера лопатки 1 (см. фиг.1). Соответствующее впускное отверстие для воздуха (не изображено) находится на том радиальном конце полости 32, который прилежит к корневой части лопатки, а выпускные отверстия 36 соединяют полость 32 с вогнутой поверхностью 1а пера.
В предпочтительном варианте полости 32, 32 , 32 четвертого охлаждающего контура D снабжены дефлекторами 48, расположенными напротив друг друга на вогнутой и выпуклой боковых стенках названных полостей для усиления теплопереноса вдоль указанных стенок.
Наконец, предусмотрен также пятый охлаждающий контур Е, который является независимым от других четырех контуров A-D. Этот контур служит для охлаждения выходной кромки 1d лопатки 1.
Пятый охлаждающий контур Е содержит, по меньшей мере, одну полость 38 вблизи выходной кромки 1d лопатки и впускное отверстие (не изображено) для подачи охлаждающего воздуха в данный контур Е, расположенное на том радиальном конце полости 38, который прилежит к корневой части лопатки. Имеются также выпускные отверстия 42, соединяющие указанную полость 38 и выходную кромку 1d лопатки.
Полость 38 у выходной кромки предпочтительно снабжена дефлекторами, расположенными напротив друг друга на вогнутой и выпуклой боковых стенках лопатки для усиления теплопереноса вдоль указанных стенок.
Способ охлаждения лопатки с очевидностью вытекает из приведенного описания ее конструкции, поэтому он будет далее описан очень кратко, в основном со ссылкой на фиг.5.
Фиг.5 – это диаграмма циркуляции охлаждающего воздуха, протекающего через различные охлаждающие контура А-Е, выполненные в лопатке по настоящему изобретению. Как уже упоминалось, все эти контура выполнены независимыми друг от друга, поскольку каждый из них имеет собственное впускное отверстие для охлаждающего воздуха.
В первый охлаждающий контур А охлаждающий воздух поступает через полость 2а на вогнутой стороне пера. Затем охлаждающий воздух проходит вдоль полости 2b на вогнутой стороне пера, а затем вдоль третьей полости 2с на этой же стороне пера, прежде чем он выходит через выпускные отверстия 20, имеющиеся на данной стороне.
Одновременно охлаждающий воздух подается во второй охлаждающий контур В через две камеры 4а, 4b на выпуклой стороне пера. Отклонение обоих воздушных потоков у наружного края пера направляет эти потоки вдоль полости 4с. После этого воздух поступает в полость 4d, прежде чем он выходит из этой полости по выпускным отверстиям 30 через выпуклую поверхность 1b лопатки.
В третьем охлаждающем контуре С воздух подается в центральную полость 6 непосредственно из корневой части лопатки и используется для питания полости 8 у входной кромки лопатки по соединительным отверстиям 10. Возможность охлаждения входной кромки 1с обеспечивается также наличием выпускных отверстий 12, выведенных на эту кромку.
Задняя часть лопатки 1 охлаждается с помощью четвертого контура D, содержащего три полости 32, 32 , 32 . Как показано на фиг. 5, охлаждающий воздух подается в одну из полостей (полость 32), затем отклоняется у наружного края пера, проходит через полость 32 , после чего поступает в полость 32 , прежде чем он выходит из этой полости по выпускным отверстиям 36.
И, наконец, выходная (задняя) кромка 1d лопатки охлаждается с помощью пятого охлаждающего контура Е, причем охлаждающий воздух подается непосредственно в полость 38 данного контура.
Из приведенного описания ясно, что настоящее изобретение обладает целым рядом преимуществ. Особенно важно, что небольшие полости, окружающие центральную полость, позволяют изолировать ее от горячих газов. В таких условиях воздух, проходящий вдоль центральной полости, нагревается в меньшей степени, чем в известных устройствах, так что внешние части лопатки охлаждаются более холодным воздухом, т.е. с большей эффективностью.
Поскольку температура входной кромки пера лопатки становится более низкой, увеличивается срок службы лопатки и достигается повышенная сопротивляемость окислению металлической стенки лопатки, а также шелушению покрытия, создающего тепловой барьер, в зоне, которая особенно подвержена внешним воздействиям.
В контурах, служащих для охлаждения центральной части лопатки, дефлекторы предусмотрены только на наружных сторонах полостей. Дефлекторы служат, прежде всего, для усиления теплообмена через стенки и таким образом для снижения температур на наружных стенках лопатки. Дополнительно они способствуют получению оптимальных значений потерь напора.
Перечисленные преимущества позволяют получить выигрыш от равномерного охлаждения входной кромки пера по ее высоте в терминах расхода охлаждающего воздуха и уровня температур. Поскольку достигаются более низкие значения температур, становится возможным увеличить срок службы лопатки.
Очевидно, что настоящее изобретение не ограничивается только описанным вариантом осуществления, но охватывает любые возможные модификации. Например, описанные охлаждающие контуры могут быть предусмотрены как в неподвижных, так и во вращающихся лопатках.
Формула изобретения
1. Лопатка (1) газовой турбины для авиационного двигателя, отличающаяся тем, что она снабжена, по меньшей мере, первым охлаждающим контуром (А), содержащим, по меньшей мере, одну полость (2) на вогнутой стороне пера лопатки, вытянутую в радиальном направлении вблизи вогнутой поверхности (1а) пера, по меньшей мере, вторым охлаждающим контуром (В), независимым от первого охлаждающего контура (А) и содержащим, по меньшей мере, одну полость (4) на выпуклой стороне пера, вытянутую в радиальном направлении вблизи выпуклой поверхности пера, третьим охлаждающим контуром (С), независимым от первого и второго охлаждающих контуров и содержащим, по меньшей мере, одну центральную полость (6), расположенную в центральной части пера лопатки между полостью (2) на вогнутой стороне пера и полостью (4) на выпуклой стороне пера, по меньшей мере, одну полость (8) вблизи входной кромки (1с) пера, соединительные отверстия (10), связывающие центральную полость и полость вблизи входной кромки пера, а также выпускные отверстия (12), сообщающиеся с указанной полостью вблизи входной кромки пера и выходящие на входную кромку (1с) пера.
2. Лопатка по п.1, отличающаяся тем, что первый охлаждающий контур (А) содержит, по меньшей мере, три полости (2а, 2b и 2с) на вогнутой стороне пера, по меньшей мере, одно впускное отверстие (14) для воздуха на радиальном конце первой полости (2а) на вогнутой стороне пера для подачи охлаждающего воздуха в первый охлаждающий контур (А), первый канал (16), соединяющий другой радиальный конец первой полости (2а) со смежным радиальным концом второй полости (2b) на вогнутой стороне пера, второй канал (18), соединяющий другой радиальный конец второй полости (2b) со смежным радиальным концом третьей полости (2c) на вогнутой стороне пера, и выпускные отверстия (20), сообщающиеся с указанной третьей полостью и выходящие на вогнутую поверхность (1а) пера.
3. Лопатка по п.1, отличающаяся тем, что второй охлаждающий контур (В) содержит, по меньшей мере, четыре полости (4a-4d) на выпуклой стороне пера, по меньшей мере, два впускных отверстия (14) для воздуха на радиальном конце первой и второй полостей (4а, 4b) на выпуклой стороне пера для подачи охлаждающего воздуха во второй охлаждающий контур (В), первый и второй каналы (24, 26), соединяющие другие радиальные концы указанных первой и второй полостей со смежным радиальным концом третьей полости (4с) на вогнутой стороне пера, третий канал (28), соединяющий другой радиальный конец третьей полости со смежным радиальным концом четвертой полости (4d) на выпуклой стороне пера, и выпускные отверстия (30), сообщающиеся с указанной четвертой полостью и выходящие на выпуклую поверхность (1b) пера.
4. Лопатка по п.1, отличающаяся тем, что дополнительно снабжена, по меньшей мере, одним четвертым охлаждающим контуром (D), независимым от первого, второго и третьего охлаждающих контуров и содержащим, по меньшей мере, одну полость (32), расположенную в задней части пера лопатки (1), впускное отверстие для воздуха на радиальном конце указанной полости для подачи охлаждающего воздуха в четвертый охлаждающий контур (D) и выпускные отверстия (36), сообщающиеся с указанной полостью и выходящие на вогнутую поверхность (1а) пера.
5. Лопатка по п.4, отличающаяся тем, что полость (32) четвертого охлаждающего контура (D) снабжена дефлекторами (48), расположенными напротив друг друга на ее вогнутой и выпуклой боковых стенках для усиления теплопереноса вдоль указанных стенок.
6. Лопатка по п.1, отличающаяся тем, что дополнительно снабжена, по меньшей мере, одним пятым охлаждающим контуром (Е), независимым от первого, второго, третьего и четвертого охлаждающих контуров и содержащим, по меньшей мере, одну полость (38), расположенную вблизи выходной кромки пера лопатки (1), впускное отверстие для воздуха на радиальном конце указанной полости вблизи выходной кромки пера для подачи охлаждающего воздуха в пятый охлаждающий контур (D) и выпускные отверстия (42), сообщающиеся с указанной полостью и выходящие на выходную кромку (1d) пера.
7. Лопатка по п.6, отличающаяся тем, что полость (38) вблизи выходной кромки пера снабжена дефлекторами (50), расположенными напротив друг друга на ее вогнутой и выпуклой боковых стенках для усиления теплопереноса вдоль указанных стенок.
8. Лопатка по п.1, отличающаяся тем, что для увеличения внутреннего теплопереноса наибольший размер полости (2) на вогнутой стороне пера первого охлаждающего контура (А) в поперечном сечении и наибольший размер полости (4) на выпуклой стороне пера второго охлаждающего контура (В) в поперечном сечении, по меньшей мере, в три раза превышает другой размер соответствующей полости.
9. Лопатка по п.1, отличающаяся тем, что полость (4) на выпуклой стороне пера второго охлаждающего контура (В) снабжена дефлекторами (44), расположенными на ее наружной выпуклой боковой стенке для усиления теплопереноса вдоль ее стенок.
10. Лопатка по любому из пп.2-9, отличающаяся тем, что полость (2) на вогнутой стороне пера первого охлаждающего контура (А) снабжена дефлекторами (46), расположенными на ее наружной стенке вблизи вогнутой поверхности пера для усиления теплопереноса вдоль указанной стенки при одновременном снижении потерь напора.
РИСУНКИ
PD4A – Изменение наименования обладателя патента СССР или патента Российской Федерации на изобретение
(73) Новое наименование патентообладателя:
СНЕКМА (FR)
Адрес для переписки:
191186, Санкт-Петербург, а/я 230, АРС-ПАТЕНТ
Извещение опубликовано: 20.02.2009 БИ: 05/2009
|
|