|
|
(21), (22) Заявка: 2002123306/06, 27.08.2002
(24) Дата начала отсчета срока действия патента:
27.08.2002
(30) Конвенционный приоритет:
28.08.2001 FR 0111189
(43) Дата публикации заявки: 10.03.2004
(46) Опубликовано: 10.04.2007
(56) Список документов, цитированных в отчете о поиске:
US 5720431 А, 24.02.1998. US 5813836 А, 29.09.1998. US 6168381 B1, 02.01.2001. US 5660524 A, 26.08.1997. US 5702232 A, 30.12.1997. US 3191908 A, 29.06.1965. SU 1287678 A2, 20.02.1997.
Адрес для переписки:
191186, Санкт-Петербург, а/я 230, “АРС-ПАТЕНТ”, пат.пов. В.М.Рыбакову, рег. № 90
|
(72) Автор(ы):
ЭНО Патрис (FR), ПИКО Филипп (FR)
(73) Патентообладатель(и):
СНЕКМА МОТОРС (FR)
|
(54) ЛОПАТКА ГАЗОВОЙ ТУРБИНЫ С КОНТУРАМИ ОХЛАЖДЕНИЯ
(57) Реферат:
Лопатка газовой турбины для авиационного двигателя снабжена, по меньшей мере, одним центральным охлаждающим контуром в центральной части пера, содержащим, по меньшей мере, первую и вторую полости, вытянутые в радиальном направлении вдоль вогнутой поверхности пера лопатки, по меньшей мере, одну полость, вытянутую вдоль выпуклой поверхности (1b) пера лопатки. На радиальном конце первой полости (2) на вогнутой стороне пера расположено впускное отверстие для подачи охлаждающего воздуха в первый охлаждающий контур. Первый канал соединяет другой радиальный конец первой полости со смежным радиальным концом полости на выпуклой стороне пера. Второй канал соединяет другой радиальный конец полости на выпуклой стороне пера со смежным радиальным концом второй полости на вогнутой стороне пера. Выпускные отверстия сообщаются с указанной второй полостью и выходят на вогнутую поверхность пера. Изобретение позволяет получить постоянное температурное поле в охлаждаемых зонах лопатки при отказе от выпуска воздуха через выпуклую поверхность пера. 10 з.п. ф-лы, 5 ил.
Область техники, к которой относится изобретение
Настоящее изобретение относится к усовершенствованию лопаток газовой турбины для авиационного двигателя. Более конкретно, изобретение относится к контуру охлаждения таких лопаток.
Уровень техники
Известно, что вращающиеся лопатки газовой турбины авиационного двигателя, особенно турбины высокого давления, подвергаются при работе турбины воздействию очень высоких температур со стороны газов сгорания. Эти температуры достигают значений, существенно превышающих температуры, которые способны выдерживать без повреждений различные детали, вступающие в контакт с данными газами. Это обстоятельство ограничивает срок службы подобных деталей.
С другой стороны, известно, что повышение температуры газов в турбине высокого давления повышает эффективность двигателя и, следовательно, отношение тяги двигателя к весу самолета, приводимого в движение этим двигателем. В связи с этим предпринимаются попытки создать турбинные лопатки, способные выдерживать все более высокие температуры.
Известен подход к решению данной проблемы путем снабжения лопаток контурами охлаждения, предназначенными для снижения температуры лопаток. При использовании подобных контуров охлаждающий воздух, как правило, подается внутрь пера лопатки через ее корневую часть (хвостовик), проходит через лопатки по траектории, определяемой полостями, сформированными внутри пера, и выводится через выпускные (перфорационные) отверстия в поверхности пера.
Известная лопатка, снабженная охлаждающим контуром, содержащим полости, расположенные как на выпуклой, так и вогнутой сторонах лопатки, описана, например, в патенте США №5720431.
Однако в данном и во многих других случаях обнаруживается, что теплообмен, вызываемый потоком охлаждаемого воздуха, не является однородным и, как следствие, приводит к возникновению температурных градиентов, сокращающих срок службы лопатки.
Кроме того, выпуск охлаждающего воздуха через выпускные отверстия на выпуклой стороне пера лопатки связан с определенными трудностями. Скорости воздушных потоков у выпуклой стороны пера высоки, так что потери, обусловленные смешиванием охлаждающего воздуха с воздухом, образующим наружный поток, являются значительными и, как следствие, снижают эффективность газовой турбины.
Сущность изобретения
Настоящее изобретение направлено на преодоление указанных недостатков путем усовершенствования лопаток газовых турбин, точнее, их контуров охлаждения, таким образом, чтобы получить, по существу, постоянное температурное поле в охлаждаемых зонах лопатки при отказе от выпуска воздуха через выпуклую поверхность пера.
В рамках решения названной задачи изобретение предусматривает создание улучшенной лопатки газовой турбины для авиационного двигателя. Лопатка по изобретению характеризуется тем, что снабжена, по меньшей мере, первым центральным охлаждающим контуром в центральной части пера, содержащим, по меньшей мере, первую и вторую полости, вытянутые в радиальном направлении вдоль вогнутой поверхности (корыта) пера лопатки, по меньшей мере, одну полость, вытянутую вдоль выпуклой поверхности (спинки) пера лопатки, впускное отверстие для воздуха на радиальном конце первой полости на вогнутой стороне пера для подачи охлаждающего воздуха в первый охлаждающий контур, первый канал, соединяющий другой радиальный конец первой полости со смежным радиальным концом полости на выпуклой стороне пера, второй канал, соединяющий другой радиальный конец полости на выпуклой стороне пера со смежным радиальным концом второй полости на вогнутой стороне пера, и выпускные отверстия, сообщающиеся с указанной второй полостью и выходящие на вогнутую поверхность пера.
Для обеспечения охлаждения центральной части пера лопатки в ней может быть размещено несколько контуров (по меньшей мере, два контура) описанного типа. Наличие идентичных, симметрично расположенных контуров, функционирующих схожим образом, приводит к однородному распределению температуры.
Полость, вытянутая вдоль выпуклой поверхности пера лопатки, предпочтительно имеет высокое характеристическое отношение для увеличения теплопереноса вблизи указанной выпуклой поверхности. Более конкретно, наибольший размер этой полости в поперечном сечении, по меньшей мере, в три раза превышает другой ее размер. Теплоперенос дополнительно усиливается благодаря наличию дефлекторов, что позволяет отказаться от выпуска воздуха через выпуклую поверхность.
Лопатка по изобретению может быть дополнительно снабжена, по меньшей мере, вторым охлаждающим контуром, но более предпочтительно, по меньшей мере, также и третьим и четвертым охлаждающими контурами, каждый из которых выполнен независимым от первого центрального охлаждающего контура и от всех других охлаждающих контуров. Каждый из дополнительных контуров содержит, по меньшей мере, одну полость, впускное отверстие для воздуха на радиальном конце соответствующей полости для подачи охлаждающего воздуха в соответствующий охлаждающий контур и выпускные отверстия, сообщающиеся с соответствующей полостью.
Во втором охлаждающем контуре указанная полость расположена в задней части пера лопатки; в третьем охлаждающем контуре – у входной кромки пера, а в четвертом охлаждающем контуре – у выходной кромки пера лопатки. Выпускные отверстия в этих трех охлаждающих контурах выходят соответственно на вогнутую поверхность пера, на его входную кромку и на его выходную кромку.
Далее, что важно применительно к вращающейся лопатке, питание охлаждающего контура осуществляется из корневой части лопатки, так что циркуляция воздуха в полостях на вогнутой стороне пера происходит от корневой части к внешнему краю пера. Под воздействием силы Кориолиса воздух стремится прижаться к тем стенкам полостей, которые примыкают к наружной вогнутой поверхности пера лопатки. Тем самым обеспечивается более сильный теплоперенос от наиболее горячей стенки пера. В полости на выпуклой стороне пера воздух течет от внешнего края пера к корневой части лопатки. В этом случае влияние силы Кориолиса также ведет к усилению теплопереноса.
Как уже упоминалось, для повышения эффективности охлаждения полости охлаждающих контуров снабжены дефлекторами. Так, первая и вторая полости на вогнутой стороне пера первого охлаждающего контура снабжены дефлекторами, расположенными на их наружных стенках, примыкающих к вогнутой поверхности пера лопатки. Такое выполнение способствует усилению теплопереноса вдоль указанных стенок при обеспечении оптимальных потерь напора. С этой же целью, полость на выпуклой стороне пера того же контура снабжена дефлекторами, расположенными на ее наружной стенке, примыкающей к выпуклой поверхности пера лопатки.
Полость второго охлаждающего контура снабжена дефлекторами, расположенными напротив друг друга на ее вогнутой и выпуклой боковых стенках для усиления теплообмена вдоль указанных стенок. С этой же целью полость у выходной кромки пера четвертого охлаждающего контура снабжена дефлекторами, расположенными на ее вогнутой и выпуклой боковых стенках. Аналогично, полость вблизи входной кромки пера третьего охлаждающего контура снабжена дефлекторами, расположенными на ее стенке, примыкающей к входной кромке пера лопатки для усиления теплопереноса вдоль указанной стенки.
Далее, для того чтобы сделать возможным изготовление лопатки посредством литья, стержни, служащие для образования полостей на вогнутой и выпуклой сторонах пера, устанавливаются параллельно друг другу и выполняются связанными между собой вблизи их концов соединительными частями, служащими для формирования соединительных каналов между полостями. Благодаря этому достигается хорошая управляемость положением стержня на вогнутой стороне пера относительно стержня на его выпуклой стороне и, следовательно, выдерживается требуемая толщина стенок при литье.
Перечень чертежей
Другие особенности и преимущества настоящего изобретения станут ясны из нижеследующего подробного описания, приводимого со ссылками на прилагаемые чертежи, на которых представлен один из возможных вариантов осуществления изобретения.
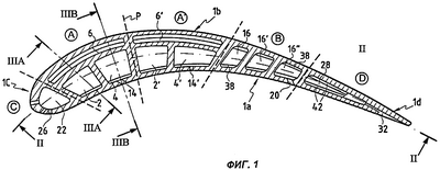
На фиг.1 в сечении представлен вариант выполнения лопатки газовой турбины, снабженной различными охлаждающими контурами согласно изобретению.
На фиг.2 та же лопатка представлена в сечении по линии II-II на фиг.1.
На фиг.3А и 3В та же лопатка представлена в сечениях соответственно по линиям IIIA-IIIA и IIIB-IIIB на фиг.1.
Фиг.4 иллюстрирует циркуляцию охлаждающего воздуха, протекающего через различные охлаждающие контура, предусмотренные в лопатке по фиг.1.
Сведения, подтверждающие возможность осуществления изобретения
Как показано на фиг.1, лопатка 1 газовой турбины для авиационного двигателя, выполненная согласно изобретению, содержит в центральной части своего пера, по меньшей мере, первый центральный охлаждающий контур А.
Однако предпочтительно центральная часть пера лопатки 1 содержит два центральных охлаждающих контура А и А , расположенных, по существу, симметрично относительно поперечной плоскости Р для обеспечения формирования в пределах охлаждаемых зон пера, по существу, однородного температурного поля, т.е. поля без каких-либо резких температурных градиентов. Данное свойство способствует увеличению срока службы лопатки.
Каждый из центральных охлаждающих контуров А и А имеет в своем составе первую и вторую полости (2, 2 и 4, 4 соответственно), вытянутые в радиальном направлении вблизи вогнутой поверхности 1а пера лопатки 1, и, по меньшей мере, одну полость 6, 6 , расположенную вдоль выпуклой поверхности 1b пера.
Как более наглядно показано на фиг.2, впускное отверстие 8, 8 для воздуха, обеспечивающее доступ воздуха в каждый охлаждающий контур А, А , предусмотрено на радиальном конце первой полости 2, 2 (предпочтительно вблизи корневой части лопатки).
Как можно видеть из фиг.3А и 3В, первый канал 10 соединяет другой радиальный конец (у наружного края пера) первой полости 2 охлаждающего контура А на вогнутой стороне пера со смежным радиальным концом полости 6 на выпуклой стороне пера. Вблизи корневой части лопатки предусмотрен также второй канал 12 для того, чтобы соединить другой радиальный конец полости 6 на выпуклой стороне пера со смежным радиальным концом второй полости 4 на вогнутой стороне пера. Аналогичное соединение установлено также между полостями 2 , 6 и 4 центрального контура А .
Далее, каждый центральный охлаждающий контур А, А имеет выходные (перфорационные) отверстия 14, 14 для выпуска охлаждающего воздуха, соединяющие вторую полость 4, 4 на вогнутой стороне пера и вогнутую поверхность 1а пера лопатки.
Таким образом, охлаждающий воздух, подаваемый в центральный охлаждающий контур А или в каждый из центральных охлаждающих контуров А, А , проходит вдоль полостей 2, 2 , 4, 4 в радиальном направлении, противоположном радиальному направлению, в котором он проходит вдоль полостей 6, 6 на выпуклой стороне пера.
Предпочтительно полости 6, 6 на выпуклой стороне пера, входящие в центральные охлаждающие контура А, А , имеют высокое характеристическое отношение для увеличения внутреннего теплообмена. Охлаждающая полость рассматривается как имеющая высокое характеристическое отношение, если в своем поперечном сечении ее наибольший размер (длина), по меньшей мере, в три раза превышает другой ее размер (ширину).
Кроме того, полости 6, 6 на выпуклой стороне пера предпочтительно снабжены дефлекторами 34, расположенными на их наружной стенке, смежной с выпуклой поверхностью пера. Аналогично, первая и вторая полости 2, 2 , 4, 4 на вогнутой стороне пера центральных охлаждающих контуров А, А’ снабжены дефлекторами, расположенными на их наружных стенках, смежных с вогнутой стороной пера.
Дефлекторы 34 и 36 выполнены в форме рельефных участков на стенках полостей, расположенных на траектории потока охлаждающего воздуха. Таким образом, они служат для внесения возмущений в воздушный поток, протекающий через указанные полости, т.е. усиливают теплообмен, реализуя при этом преимущество оптимизации потерь напора.
Далее, как показано на фиг.1, лопатка 1 имеет, по меньшей мере, один дополнительный второй охлаждающий контур В, который выполнен независимым от центральных охлаждающих контуров А, А .
Этот второй охлаждающий контур В содержит, по меньшей мере, одну полость, но предпочтительно группу, например, из трех полостей 16, 16 , 16 , расположенных в задней части пера лопатки 1, расположенное у корневой части лопатки впускное отверстие 18 для воздуха, через которое производится питание второго охлаждающего контура, и выпускные отверстия 20, выходящие на вогнутую поверхность 1а пера. Воздух поступает в полость 16, причем соединительные каналы связывают полости 16 и 16 вблизи наружной кромки пера, а полости 16 и 16 – вблизи корневой части лопатки. Выпускные отверстия 20 связаны с полостью 16 .
Таким образом, второй охлаждающий контур В служит для охлаждения задней части пера лопатки 1. В предпочтительном варианте с целью усиления теплопереноса вдоль вогнутых и выпуклых стенок полостей 16, 16 и 16 эти полости снабжены дефлекторами 38, расположенными на внутренних стенках указанных полостей напротив друг друга.
Дополнительные третий и четвертый охлаждающие контура С и D, выполненные независимыми от первых и второго охлаждающих контуров, служат для охлаждения входной кромки 1с пера лопатки 1 и его выходной кромки 1d соответственно.
Третий охлаждающий контур С образован, по меньшей мере, одной полостью 22, расположенной у входной кромки 1с пера, и впускным отверстием 24 для воздуха на одном из радиальных концов полости 22 у входной кромки пера вблизи корневой части лопатки. Через это впускное отверстие производится питание воздухом третьего охлаждающего контура. Выпускные отверстия 26 сообщаются с указанной полостью 22 и выходят на входную кромку 1с пера. Эти отверстия позволяют сформировать пленку охлаждающего воздуха на наружной стенке входной кромки.
Полость 22 вблизи входной кромки пера предпочтительно снабжена дефлекторами 40, расположенными на ее стенке, примыкающей к входной кромке, с целью усиления теплопереноса вдоль этой стенки.
Четвертый охлаждающий контур D образован, по меньшей мере, одной полостью 28, расположенной у выходной кромки 1d пера лопатки 1, и впускным отверстием 30 для воздуха на одном из радиальных концов полости 28 у выходной кромки пера вблизи корневой части лопатки. Через это впускное отверстие производится питание воздухом четвертого охлаждающего контура. Выпускные отверстия 32 сообщаются с указанной полостью 28 и выходят на выходную кромку 1d пера, чтобы охлаждать ее.
Полость 28 вблизи выходной кромки пера предпочтительно снабжена дефлекторами 42, расположенными на ее вогнутой и выпуклой стенках с целью усиления теплопереноса вдоль этих стенок.
Способ охлаждения лопатки с очевидностью вытекает из приведенного описания ее конструкции; поэтому он будет далее описан очень кратко, в основном, со ссылкой на фиг.4.
Фиг.4 – это диаграмма циркуляции охлаждающего воздуха, протекающего через различные охлаждающие контура A-D, выполненные в лопатке 1 по настоящему изобретению. Как уже упоминалось, все эти четыре контура выполнены независимыми друг от друга, поскольку каждый из них имеет собственное впускное отверстие для охлаждающего воздуха.
В первый центральный охлаждающий контур А охлаждающий воздух поступает через полость 2 на вогнутой стороне пера. Далее охлаждающий воздух проходит вдоль полости 6 на выпуклой стороне пера, а затем вдоль второй полости 4 на вогнутой стороне пера, прежде чем он выходит из данной полости через выпускные отверстия 14, имеющиеся на указанной стороне пера.
В предпочтительном варианте, использующем два центральных охлаждающих контура А, А , циркуляция охлаждающего воздуха в контуре А осуществляется аналогичным образом.
Следует отметить, что в рассматриваемом варианте выполнения центрального охлаждающего контура (или контуров) лопатки по изобретению охлаждающий воздух движется вверх (от корневой части лопатки к внешнему краю пера) в полостях на вогнутой стороне пера и вниз в полости на выпуклой стороне пера.
Циркуляция воздуха в противоположных направлениях на вогнутой и на выпуклой сторонах пера в контурах А и А , а также эффективное использование двух охлаждающих контуров, расположенных, по существу, симметрично в центральной части пера лопатки, способствует формированию такого температурного поля, которое, по существу, является однородным, т.е. не имеет значительных температурных градиентов.
При этом охлаждающий контур А (или контура А, А ) не предусматривает (не предусматривают) выпуска воздуха на выпуклой стороне пера. Это позволяет избегнуть трудностей, связанных с распределением воздуха при высоких скоростях.
Поскольку охлаждающий воздух течет вверх от корневой части лопатки к внешнему краю пера по полостям на вогнутой стороне пера, он прижимается к наружным стенкам названных полостей под действием силы Кориолиса. Это усиливает теплообмен вдоль указанных стенок, т.е. улучшает охлаждение горячей наружной стенки вогнутой стороны пера.
Далее охлаждающий воздух движется от внешнего края пера лопатки к его корневой части через полости на выпуклой стороне пера. В результате действие силы Кориолиса и в этом случае способствует усилению теплообмена, т.е. более эффективному охлаждению наружной стенки выпуклой стороны пера.
Поскольку выпуклая сторона пера охлаждается с использованием расположенных на этой стороне полостей, которые имеют высокое характеристическое отношение, внешний теплообмен дополнительно усиливается, чему способствует также наличие дефлекторов на наружных стенках полостей.
Задняя часть лопатки 1 охлаждается с помощью второго охлаждающего контура В, содержащего три полости 16, 16 , 16 . Как показано на фиг.4, охлаждающий воздух подается в одну из полостей (полость 16), затем отклоняется у наружного края пера, проходит через полость 16 , после чего поступает в полость 16 , прежде чем он выходит из этой полости через выпускные отверстия 20.
Входная (передняя) кромка 1с пера лопатки охлаждается с помощью полости 22, расположенной у данной кромки, причем охлаждающий воздух подается непосредственно в эту полость. Аналогично, выходная (задняя) кромка 1d пера лопатки охлаждается с помощью полости 28, расположенной у данной кромки, причем охлаждающий воздух также подается непосредственно в эту полость.
В описанном варианте осуществления лопатка 1 по изобретению изготавливается посредством литья. В таком случае положение полостей обычно задается с помощью стержней, устанавливаемых в форму перед заливкой металла параллельно друг другу. В полостях А и А используются стержни, связанные между собой вблизи их концов посредством соединительных частей, которые служат для формования каналов между полостями. Поскольку положение стержней легко контролируется, можно обеспечить точность получения заданной толщины стенок в процессе литья.
Очевидно, что настоящее изобретение не ограничивается только описанным вариантом осуществления, но, напротив, охватывает любые возможные модификации. Например, описанные охлаждающие контура могут быть предусмотрены как в неподвижных, так и во вращающихся лопатках.
Формула изобретения
1. Лопатка (1) газовой турбины для авиационного двигателя, отличающаяся тем, что снабжена, по меньшей мере, одним центральным охлаждающим контуром (А) в центральной части пера, содержащим, по меньшей мере, первую и вторую полости (2, 4), вытянутые в радиальном направлении вдоль вогнутой поверхности (1а) пера лопатки (1), по меньшей мере, одну полость (6), вытянутую вдоль выпуклой поверхности (1b) пера лопатки, впускное отверстие (8) для воздуха на радиальном конце первой полости (2) на вогнутой стороне пера для подачи охлаждающего воздуха в первый охлаждающий контур (А), первый канал (10), соединяющий другой радиальный конец первой полости (2) со смежным радиальным концом полости (6) на выпуклой стороне пера, второй канал (12), соединяющий другой радиальный конец полости (6) на выпуклой стороне пера со смежным радиальным концом второй полости (4) на вогнутой стороне пера, и выпускные отверстия (14), сообщающиеся с указанной второй полостью и выходящие на вогнутую поверхность (1а) пера.
2. Лопатка по п.1, отличающаяся тем, что дополнительно снабжена, по меньшей мере, вторым охлаждающим контуром (В), независимым от центрального охлаждающего контура и содержащим, по меньшей мере, одну полость (16), расположенную в задней части пера лопатки (1), впускное отверстие (18) для воздуха на радиальном конце указанной полости для подачи охлаждающего воздуха во второй охлаждающий контур (В) и выпускные отверстия (20), сообщающиеся с указанной полостью и выходящие на вогнутую поверхность (1а) пера.
3. Лопатка по п.2, отличающаяся тем, что дополнительно снабжена, по меньшей мере, третьим охлаждающим контуром (С), независимым от первого и второго охлаждающих контуров (А, В) и содержащим, по меньшей мере, полость (22), расположенную у входной кромки (1с) пера лопатки (1), впускное отверстие (24) для воздуха на радиальном конце указанной полости для подачи охлаждающего воздуха в третий охлаждающий контур (С) и выпускные отверстия (26), сообщающиеся с указанной полостью и выходящие на входную кромку (1с) пера.
4. Лопатка по п.3, отличающаяся тем, что дополнительно снабжена, по меньшей мере, четвертым охлаждающим контуром (D), независимым от первого, второго и третьего охлаждающих контуров (А, В, С) и содержащим, по меньшей мере, полость (28), расположенную у выходной кромки (1d) пера лопатки (1), впускное отверстие (30) для воздуха на радиальном конце указанной полости для подачи охлаждающего воздуха в четвертый охлаждающий контур (D) и выпускные отверстия (32), сообщающиеся с указанной полостью и выходящие на выходную кромку (1d) пера.
5. Лопатка по п.4, отличающаяся тем, что полость (28) у выходной кромки пера четвертого охлаждающего контура (D) снабжена дефлекторами (42), расположенными на ее вогнутой и выпуклой боковых стенках для усиления теплопереноса вдоль указанных стенок.
6. Лопатка по п.3, отличающаяся тем, что полость (22) вблизи входной кромки пера третьего охлаждающего контура снабжена дефлекторами (40), расположенными на ее стенке, примыкающей к входной кромке (1с) пера лопатки (1) для усиления теплопереноса вдоль указанной стенки.
7. Лопатка по п.2, отличающаяся тем, что полость (16) второго охлаждающего контура (В) снабжена дефлекторами (38), расположенными напротив друг друга на ее вогнутой и выпуклой боковых стенках для усиления теплообмена вдоль указанных стенок.
8. Лопатка по п.1, отличающаяся тем, что наибольший размер полости (6) на выпуклой стороне пера охлаждающего контура (А) в поперечном сечении, по меньшей мере, в три раза превышает другой ее размер.
9. Лопатка по п.1, отличающаяся тем, что полость (6) на выпуклой стороне пера первого охлаждающего контура (А) снабжена дефлекторами (34), расположенными на ее наружной стенке, примыкающей к выпуклой поверхности пера лопатки, для усиления теплопереноса вдоль указанной стенки при обеспечении оптимальных потерь напора.
10. Лопатка по п.1, отличающаяся тем, что первая и вторая полости (2, 4) на вогнутой стороне пера первого охлаждающего контура (А) снабжены дефлекторами (36), расположенными на их наружных стенках, примыкающих к вогнутой поверхности пера лопатки, для усиления теплопереноса вдоль указанных стенок при обеспечении оптимальных потерь напора.
11. Лопатка по любому из предыдущих пунктов, отличающаяся тем, что снабжена, по меньшей мере, вторым центральным охлаждающим контуром (А ), расположенным, по существу, симметрично относительно первого центрального охлаждающего контура (А) для обеспечения формирования, по существу, однородного температурного поля в центральной части пера лопатки.
РИСУНКИ
PD4A – Изменение наименования обладателя патента СССР или патента Российской Федерации на изобретение
(73) Новое наименование патентообладателя:
СНЕКМА (FR)
Адрес для переписки:
191186, Санкт-Петербург, а/я 230, АРС-ПАТЕНТ
Извещение опубликовано: 20.02.2009 БИ: 05/2009
|
|