|
|
(21), (22) Заявка: 2006103244/03, 06.02.2006
(24) Дата начала отсчета срока действия патента:
06.02.2006
(46) Опубликовано: 10.04.2007
(56) Список документов, цитированных в отчете о поиске:
RU 15117 U1, 20.09.2000. RU 2175059 C2, 20.10.2001. RU 38834 U1, 10.07.2004. RU 2053358 C1, 27,01,1996. RU 2175379 C2, 27.10.2001. GB 2407333 A, 27.04.2005. GB 2290854 A, 10.01.1996. GB 2409871 A, 13.07.2005. US 2005/045331 A1, 03.03.2005. US 2002/0062991 A1, 30.05.2002. МИКИН М.Л. и др., Технологический комплекс “КАИССА” для геофизических и
Адрес для переписки:
170023, г.Тверь, ул. Р. Зорге, 5а, кв.63, пат.пов. А.А. Звонову, рег. № 294
|
(72) Автор(ы):
Орлов Леонид Анатольевич (RU), Строганова Светлана Владимировна (RU), Янике Леонид Леонидович (RU), Янике Александр Леонидович (RU)
(73) Патентообладатель(и):
Орлов Леонид Анатольевич (RU), Строганова Светлана Владимировна (RU), Янике Леонид Леонидович (RU), Янике Александр Леонидович (RU)
|
(54) СКВАЖИННЫЙ ПРИБОР ДЛЯ ТЕЛЕМЕТРИИ И АКТИВАЦИИ МАЛОДЕБИТНЫХ И ПРОСТАИВАЮЩИХ НЕФТЯНЫХ СКВАЖИН
(57) Реферат:
Изобретение относится к области эксплуатации скважин и может быть использовано для активации малодебитных и простаивающих нефтяных и газовых скважин. Скважинный прибор содержит установленные в общем корпусе 1 измерительную головку 2, решающее устройство 3, исполнительное устройство 4, регистратор 5 и схему И 6. Измерительная головка 2 содержит блок датчиков 7 и блок аналого-цифровых преобразователей 8. Решающее устройство 3 содержит датчик времени 11, блок сравнения текущих значений параметров с их пороговыми значениями 9 и блок схем И 10. Датчик времени может содержать генератор тактовых импульсов 12 с электромеханическим включателем 13 и счетчик импульсов 14. Регистратор 5 может быть выполнен в виде съемной карты памяти. Исполнительное устройство 4 может содержать емкостной накопитель электрической энергии 15 и электронный коммутатор. Емкостной накопитель электрической энергии 15 может содержать последовательно соединенные аккумулятор, мультивибратор, высоковольтный трансформатор, выпрямитель и высоковольтный конденсатор. Техническим результатом изобретения является расширение функциональных возможностей скважинного прибора. 4 з.п. ф-лы, 2 ил.
(56) (продолжение):
CLASS=”b560m”газогидродинамических исследований скважин на базе автономной аппаратуры с энергонезависимой памятью, Научно-технический вестник “Каротажник”, вып.43, Тверь, “Издательство ГЕРС”, 1998, с.116-120.
Изобретение относится к горному оборудованию, конкретно к скважинным приборам для активации малодебитных и простаивающих нефтяных и газовых скважин.
Известны скважинные приборы (RU 34965, Кл. Е21В 47/00, G01V 3/18, 2003; RU 21416, Кл. Е21В 47/00, 2002; RU 49898, Кл. Е21В 47/12, 2005; RU 21615, Кл. Е21В 47/00, 2002; RU 27157, Е21В 47/12, 2003; RU 47437, кл. Е21В 47/02, 2005; RU 38834, Кл. Е21В 47/00, 2004; RU 21416, Е21В 47/00, 2002; RU 23975, Кл. G01D 5/00, 2002; RU 41795, Кл. Е21В 43/25, G01V 5/12, 2004; RU 21415, Кл. Е21В 47/00, 2002), содержащие блок датчиков, подвешенный на тросе в скважине и соединенный через проводную или гидролинию связи с наземным устройством регистрации процесса активации забойного слоя малодебитных и простаивающих нефтяных и газовых скважин.
Общим недостатком известных приборов является необходимость установки в скважине другого отдельного скважинного прибора – активатора, обеспечивающего последующий надежный поджиг или включение соответствующего газогенератора с поверхности Земли на основе паспортных данных скважины или визуальной оценки телеметрической информации.
Известен скважинный прибор для надежной инициализации активатора (RU 2175059, кл. Е21В 43/263, 2001) на основе электрического или электрохимического поджига газогенератора, содержащий наземную взрывную машинку (индуктор) и скважинный электровоспламенитель, соединенные между собой электрокабелем с малым (для уменьшения потерь энергии на кабеле) удельным сопротивлением.
Недостатком этого скважинного прибора является весовое ограничение на длину малоомного электрического кабеля (разрыв под действием собственного веса из-за большого удельного веса и малой прочности), что ограничивает его использование в относительно глубоких (более 1 км) газовых и нефтяных скважинах.
Поэтому преимущественное применение для инициализации активаторов нефтяных и газовых скважин нашли скважинные приборы (RU 30389, Кл. Е21В 43/1185, 2003; RU 2232264, Кл. Е21В 43/263, 2004; RU 2175379, Кл. Е21В 43/1185, 2001; RU 2160829, Кл. Е21В 43/1185, 2000; SU 1660410, Кл. Е21В 43/1185, 1996), некритичные к глубине скважины и содержащие соответственно капсюль-детонатор или стеклянную ампулу с раствором кислоты, ударный механизм и направляющую трубу для сбрасывания в скважину на ударный механизм тяжелого шара, лома или воды достаточного объема и давления.
Прототипом изобретения является скважинный прибор для активации малодебитных и простаивающих нефтяных и газовых скважин (RU 15117, Кл. Е21В 44/00, Е21В 43/25), основанный на комбинации указанных выше видов скважных приборов и включающий установленные в общем корпусе измерительную головку, содержащую последовательно соединенные блок датчиков и блок аналого-цифровых преобразователей (телеметрическую часть), а также включающую исполнительное устройство (инициализатор), соединенные между собой кабельными линиями связи через наземное устройство принятия решений. При этом исполнительное устройство выполнено в виде блока электромеханического управления источником упругих волн, соединенным через воздуховод с наземным компрессором.
Недостатком известного устройства узкофункциональное назначение, а именно только для управления активацией скважин продольными волнами. Другим недостатком является ограничение на глубину его скважинного применения, обусловленная наличием наземных средств управления и соответствующих воздуховодов для подачи сжатого воздуха и кабельных линий связи для передачи на поверхность Земли телеметрической информации на наземное устройство регистрации процесса активации.
Задачей настоящего изобретения является создание скважинного прибора для активации малодебитных и простаивающих нефтяных и газовых скважин, конструкция которого обладает расширенными функциональными возможностями и позволяет автоматически производить поджиг газогенераторов (перфораторов и теплогенераторов) и регистрировать процесс активации призабойной зоны скважины с помощью одного скважинного прибора непосредственно в скважине без использования дополнительного наземного оборудования.
Техническим результатом является расширение функциональных возможностей скважинного прибора.
Решение поставленной задачи и указанный технический результат достигаются тем, что скважинный прибор для активации малодебитных и простаивающих нефтяных и газовых скважин, содержащий установленные в общем корпусе измерительную головку и исполнительное устройство, причем измерительная головка содержит последовательно соединенные блок датчиков и блок аналого-цифровых преобразователей (АЦП), согласно изобретению прибор снабжен регистратором, схемой И и решающим устройством, содержащим датчик времени и последовательно соединенные блок сравнения текущих значений параметров с их пороговыми значениями и блок схем И, второй вход которого соединен с выходом датчика времени и первым выходом решающего устройства, второй выход которого соединен с выходом блока схем И, причем входом решающего устройства является вход блока сравнения текущих значений параметров с их пороговыми значениями, при этом первый выход решающего устройства соединен с первым входом схемы И, второй вход которой соединен с выходом блока АЦП, соединенным также с входом решающего устройства, второй выход которого соединен с управляющим входом исполнительного устройства, а выход схемы И соединен с регистратором.
При этом датчик времени содержит последовательно соединенные генератор тактовых импульсов с электромеханическим включателем и счетчик импульсов, счетный выход которого соединен с выходом датчика времени. Регистратор выполнен в виде съемного блока памяти типа карты CompactFlash. Исполнительное устройство содержит последовательно соединенные емкостной накопитель электрической энергии и электронный коммутатор, управляющий вход которого соединен с входом, а выход – с выходом исполнительного устройства.
Установка решающего устройства непосредственно в скважинный прибор позволяет исключить необходимость использования коммуникационных линий для связи с наземным оборудованием в целях определения момента инициализации газогенерирующего оборудования (перфораторов, теплогенераторов) и, тем самым, расширить функциональные возможности скважинного прибора и решить проблему скважинных ограничений на длину кабельного оборудования. Снабжение скважинного прибора регистратором, выполненным в виде съемного блока памяти типа карты CompactFlash и соединенным через схему И с выходами измерительной головки и решающего устройства, дополнительно позволяет расширить функциональные возможности скважинного прибора, а именно регистрировать процесс активации и обработки призабойной зоны скважины непосредственно в скважине, с последующей обработкой записанных данных съемной памяти на персональном компьютере после поднятия скважинного прибора на поверхность Земли по окончании активации скважины. Выполнение исполнительного устройства в виде емкостного накопителя электрической энергии, содержащего последовательно соединенные аккумулятор, мультивибратор, высоковольтный трансформатор, выпрямитель и высоковольтный конденсатор и соединенного через электронный коммутатор с потенциальным выходом скважинного прибора позволяет использовать маломощный источник электропитания (аккумулятор) для надежного электроподжига соответствующего активатора скважины без использования наземного оборудования (взрывных машинок, индукторов) и кабельных линий связи. При этом вес скважинного прибора практически остался на уровне известных из горной техники значений и не превышает единиц кг.
В целом указанные технические преимущества изобретения позволяют обеспечить решение поставленной задачи и достичь заявленного технического результата, а именно расширить функциональные возможности скважинного прибора и позволяет автоматически производить поджиг газогенераторов (перфораторов и теплогенераторов) и регистрировать процесс активации призабойной зоны скважины с помощью одного скважинного прибора непосредственно в скважине без использования дополнительного наземного оборудования.
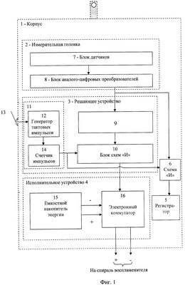
На фиг.1 представлена функциональная схема скважинного прибора, на фиг.2 – функциональная схема его накопителя энергии.
Скважинный прибор для активации малодебитных и простаивающих нефтяных и газовых скважин содержит установленные в общем корпусе 1 и последовательно соединенные измерительную головку 2, решающее устройство 3 и исполнительное устройство 4, а также регистратор 5, соединенный через схему 6 И с выходами решающего устройства 3 и измерительной головки 2. Измерительная головка 2 скважинного прибора содержит последовательно соединенные блок 7 датчиков и блок 8 аналого-цифровых преобразователей, выход которого соединен с входом решающего устройства 3. Решающее устройство 3 содержит последовательно соединенные блок 9 сравнения текущих значений параметров с их пороговыми значениями и блок 10 схем И, второй вход которого соединен с выходом датчика 11 времени. Датчик 11 времени содержит последовательно соединенный генератор 12 тактовых импульсов с электромеханическим включателем 13 и счетчик 14 импульсов. Счетный выход счетчика 14 является выходом датчика 11 времени и дополнительно соединен с первым входом схемы 6 И, второй вход которой соединен с выходом блока 8 измерительной головки 2, а выход с регистратором 5. Регистратор 5 выполнен в виде съемного блока памяти типа CompactFlash емкостью не менее 10 Мбайт. Выход блока 10 схем И решающего устройства 3 соединен с управляющим входом исполнительного устройства 4. Исполнительное устройство 4 содержит последовательно соединенные емкостной накопитель 15 электрической энергии и электронный коммутатор 16, управляющий вход которого соединен с выходом блока 10, а выход – с потенциальными выводами исполнительного устройства 4. Емкостной накопитель 15 содержит последовательно соединенные аккумулятор 17, мультивибратор 18, высоковольтный трансформатор 19, выпрямитель 20 и высоковольтный конденсатор 21.
Скважинный прибор для активации малодебитных и простаивающих нефтяных и газовых скважин работает следующим образом.
Перед опусканием скважинного прибора в скважину его потенциальные выводы соединяют токопроводящими шинами с выводами спирали воспламенителя газогенератора и включают датчик 11 времени включателем 13. При этом на генератор 12 подается питающее напряжение, и он начинает генерировать считывающие импульсы с заданным периодом следования, которые подаются на вход счетчика 14, на котором установлено число, соответствующее времени задержки, максимально необходимое для опускания скважинного оборудования, установки термозаглушки (пакера) и поднятия давления в скважине. Одновременно включается емкостной накопитель 15 энергии. При этом мультивибратор 18 преобразует низковольтное постоянное напряжение аккумулятора 17 в переменное напряжение с частотой единицы кГц. Далее это переменное напряжение трансформатором 19 преобразуется в высокое напряжение, которое затем выпрямителем 20 преобразуется в постоянное высокое напряжение, заряжающее высоковольтный конденсатор 21. Затем в соответствии с паспортными данными на скважину скважинный прибор совместно с газогенератором опускают в скважину на уровень ее призабойной зоны, например, на стальном тросе. При готовности скважины к активизации ее призабойной зоны в заданное счетчиком 14 время с его выхода выдается разрешающий сигнал на вторые входы схем И блока 10 и схему 6 И. При этом сигналы с блока 7 датчиков о давлении и температуре в скважине через блок 8 измерительной головки 2 и через схему 6 И поступают на регистратор 5, где запоминаются в его памяти о текущих значениях показаний датчиков в скважине. Одновременно измеренные значения в головке 2 показания датчиков 7 и преобразованные в цифровую форму сигналы с блока 8 передаются на вход блока 9 решающего устройства 3. В блоке 9 производится сравнение текущих значений параметров скважины с пороговыми значениями, необходимыми для активации призабойной зоны скважины. При превышении текущих значений параметров их пороговых значений с выхода блока 9 выдается сигнал на инициализацию, который при наличии разрешающего сигнала датчика 11 времени проходит через блок 10 схем И и подается на пусковой вход коммутатора 16. При этом накопленная энергия на высоковольтном конденсаторе 21 емкостного накопителя 15 разряжается через спираль воспламенителя газогенерирующего оборудования. В зависимости от типа газогенерирующего оборудования производится импульсная и/или тепловая обработка скважины. Датчики блока 7 измерительной головки 2 фиксируют текущие характеристики параметров обработки скважины, например, такие как давление, температура, скорости и ускорения их изменения. Аналоговые сигналы в блоке 8 преобразуются в цифровую форму (импульсно-кодовые сигналы) и через открытую схему 6 передаются на регистратор 5 для запоминания процесса активизации призабойной зоны скважины. После обработки скважины скважинный прибор поднимается на поверхность земли. Он подключается к персональному компьютеру для составления отчета об обработке скважины.
Изобретение не ограничивается вышеприведенным примером его осуществления. В рамках данного изобретении возможны и другие варианты исполнения его элементов. Так, для дополнительной безопасности емкостной накопитель 15 может быть дополнительно снабжен отдельным включателем, выполненным в виде электронного коммутатора, соединенного с выходом счетчика 14.
Скважинный прибор для активации малодебитных и простаивающих нефтяных и газовых скважин выполнен на уровне опытного образца. Проведены его опытные испытания. Испытания показали возможность использования скважинного прибора не только для выработки информации о состоянии скважины, но и обеспечили возможность автоматического определения момента поджига газогенератора, выдачи команды на его электроподжиг и запоминания параметров процесса обработки скважины. Таким образом, технический результат, заключающийся в расширении функциональных возможностей скважинного прибора, достигается.
Формула изобретения
1. Скважинный прибор для активации малодебитных и простаивающих нефтяных и газовых скважин, содержащий установленные в общем корпусе измерительную головку и исполнительное устройство, причем измерительная головка содержит последовательно соединенные блок датчиков и блок аналого-цифровых преобразователей (АЦП), отличающийся тем, что прибор снабжен регистратором, схемой «И» и решающим устройством, содержащим датчик времени и последовательно соединенные блок сравнения текущих значений параметров с их пороговыми значениями и блок схем «И», второй вход которого соединен с выходом датчика времени и первым выходом решающего устройства, второй выход которого соединен с выходом блока схем «И», причем входом решающего устройства является вход блока сравнения текущих значений параметров с их пороговыми значениями, при этом первый выход решающего устройства соединен с первым входом схемы «И», второй вход которой соединен с выходом блока АЦП, соединенным также с входом решающего устройства, второй выход которого соединен с управляющим входом исполнительного устройства, а выход схемы «И» соединен с регистратором.
2. Скважинный прибор по п.1, отличающийся тем, что датчик времени содержит последовательно соединенные генератор тактовых импульсов с электромеханическим включателем и счетчик импульсов, счетный выход которого соединен с выходом датчика времени.
3. Скважинный прибор по п.1, отличающийся тем, что регистратор выполнен в виде съемной карты памяти.
4. Скважинный прибор по п.1, отличающийся тем, что исполнительное устройство содержит последовательно соединенные емкостный накопитель электрической энергии и электронный коммутатор, причем управляющий вход емкостного накопителя соединен с входом, а выход – с выходом исполнительного устройства.
5. Скважинный прибор по п.4, отличающийся тем, что емкостный накопитель электрической энергии содержит последовательно соединенные аккумулятор, мультивибратор, высоковольтный трансформатор, выпрямитель и высоковольтный конденсатор.
РИСУНКИ
|
|