|
|
(21), (22) Заявка: 2005128371/03, 12.09.2005
(24) Дата начала отсчета срока действия патента:
12.09.2005
(46) Опубликовано: 10.04.2007
(56) Список документов, цитированных в отчете о поиске:
RU 2206728 C1, 10.02.2006. SU 927984 A, 15.05.1982. SU 926250 A, 07.05.1982. SU 740932 A, 15.06.1980. RU 2143546 C1, 27.12.1999. SU 1745902 A1, 14.09.1989. RU 2151862 C1, 27.06.2000. RU 2066744 C1, 20.09.1996. RU 2087681 C1, 20.08.1997. US 3960213 A, 08.04.1997.
Адрес для переписки:
423230, Республика Татарстан, г. Бугульма, ул. Ленина, 2, кв.82, Р.М. Ахунову
|
(72) Автор(ы):
Ахунов Рашит Мусагитович (RU), Абдулхаиров Рашит Мухаметшакирович (RU), Гареев Рафаэль Зуфарович (RU), Шакаров Сахиб Али оглы (RU), Вазыхов Ильдар Тагирович (RU)
(73) Патентообладатель(и):
ООО “Советскнефтеторгсервис” (RU), Ахунов Рашит Мусагитович (RU)
|
(54) СПОСОБ ДОБЫЧИ ВЫСОКОВЯЗКОЙ НЕФТИ
(57) Реферат:
Изобретение относится к нефтедобывающей промышленности, в частности к области фонтанной добычи нефти с применением тепла и реагентов для подъема и вытеснения высоковязкой нефти, содержащей большое количество асфальтосмолопарафинистых веществ. Обеспечивает приток из пласта и подъем нефти из скважины при сохранении ее качества, снижение непроизводительных теплопотерь и потерь на транспортировку. Сущность изобретения: способ включает спуск в обсадную колонну колонн насосно-компрессорных труб, расположенных концентрично, подачу теплоносителя и подъем нефти по межтрубному пространству. Согласно изобретению в обсадную колонну последовательно спускают колонну теплоизолированных труб с пакером на конце, насосно-компрессорных с закрытым и открытым концами труб, причем колонну теплоизолированных труб спускают ниже глубины начала кристаллизации парафина, насосно-компрессорные трубы с закрытым концом до этой глубины, а насосно-компрессорные трубы с открытым концом так, что образуют зазор между насосно-компрессорными трубами с закрытым концом, при этом теплоноситель подают в насосно-компрессорные трубы с открытым концом, нефть поднимают по межтрубному пространству теплоизолированных и насосно-компрессорных труб с закрытым концом, химреагенты и теплоноситель при обработке призабойной зоны пласта подают по тому же межтрубному пространству, причем теплоноситель подают при запакерованной скважине. Пространство между обсадной и теплоизолированной колонной заполняют газом. Глубину начала кристаллизации парафина определяют замером температуры по стволу скважины. 2 з.п. ф-лы, 2 ил.
Предложение относится к нефтедобывающей промышленности, в частности к области фонтанной добычи нефти с применением тепла и реагентов для подъема и вытеснения высоковязкой нефти, содержащей большое количество асфальтосмолопарафинистых веществ.
Известен способ теплового вытеснения нефти из горизонтальной скважины (см. патент RU №2067168, Е 21 В 43/24, опубл. 27.09.96), включающий спуск в обсадную колонну колонны насосно-компрессорных труб с пакером, подачу по ней теплоносителя в оконечную часть обсадной колонны за пакер, транспортировку продукции по кольцевому межтрубному пространству.
Способ позволяет производить добычу высоковязкой нефти.
Недостатком способа является то, что при его использовании требуются высокие энергозатраты, так как энергопотери происходят при транспортировке продукции по кольцевому межтрубному пространству, отбирается тепло от поднимаемой продукции обсадной колонной и породой, расположенной за ней, в свою очередь, остывшая по мере подъема продукция отбирает тепло через насосно-компрессорные трубы (НКТ) от подаваемого по ним теплоносителя. Кроме того, теряется тепло после выноса теплоносителя из скважины, который, смешиваясь с нефтью при подъеме, ухудшает ее качество.
Известен также способ повышения нефтеотдачи пластов (см. патент RU №2191895, Е 21 В 43/24, опубл. 25.04.02), включающий спуск в обсадную колонну колонны НКТ, спуск в нее второй колонны НКТ, подачу газа между обсадной и первой колонной НКТ, а теплоносителя по второй колонне НКТ в оконечную часть обсадной колонны, отбор продукции по кольцевому каналу между первой и второй колоннами НКТ.
Известный способ позволяет производить добычу высоковязкой нефти за счет регулирования темпа подачи теплоносителя в продуктивный пласт и снижения тепловых потерь в горные породы.
Однако энергопотери остаются высокими, эффективность добычи низкой, ухудшается качество поднимаемой из скважины нефти.
Наиболее близким по технической сущности и достигаемому результату к предлагаемому способу является способ добычи высоковязкой нефти (см. патент RU №2206728, Е 21 В 43/24, опубл. 20.06.2003 г.), включающий спуск в обсадную колонну колонны НКТ до интервала перфорации, подачу по ней теплоносителя, подъем продукции по межтрубному пространству, причем в обсадную колонну спускают две колонны НКТ, первую спускают до начала, а вторую через первую до конца интервала перфорации и подают по ней теплоноситель, а в пространство между обсадной и первой колонной НКТ подают газ, продукцию поднимают по пространству между колоннами НКТ, после обеспечения заданной приемистости подъем продукции прекращают, закачку теплоносителя продолжают до расчетной величины, при этом подачу газа продолжают, заполняют им пространство между колоннами НКТ и поддерживают в таком состоянии, затем скважину останавливают на термокапиллярную пропитку до начала интенсивного снижения подвижности флюида в призабойной зоне (ПЗ), сбрасывают давление в скважине, отбирают поступающую в нее продукцию до уменьшения дебита, полученного на естественном режиме работы пласта, цикл закачки теплоносителя и отбора продукции повторяют до создания с добывающей скважиной зоны с подвижным флюидом, после чего скважину переводят в нагнетательную, а отбор продукции осуществляют через добывающую, отбор продукции осуществляют свабированием или подачей газа в межтрубные пространства.
Известный способ позволяет снизить энергопотери за счет непроизводительного нагрева горных пород и энергозатраты на осуществление способа.
Недостатком способа является то, что при добыче высоковязкой нефти, содержащей большое количество асфальтосмолопарафинистых веществ, энергопотери и энергозатраты остаются высокими, а эффективность добычи нефти низкой, так как тепло от подаваемого по второй колонне НКТ теплоносителя через поднимаемую продукцию и подаваемый газ передается на нагрев горных пород за обсадной колонной, а также выносится из скважины на поверхность теплоносителем, поднимаемым вместе с пластовой продукцией, при этом повторное использование поднятого теплоносителя проблематично из-за сложности и затратности его отделения от продукции скважины и подготовки для нагрева.
Кроме того, ухудшается качество поступающей из пласта в ствол скважины продукции при смешивании ее с теплоносителем в процессе подъема на устье из-за увеличения обводненности и образования стойкой эмульсии, разделение которой в процессе подготовки нефти требует значительных дополнительных затрат.
При циклической закачке теплоносителя и отборе продукции из скважины увеличиваются энергозатраты на подъем нефти, которые связаны с увеличением вязкостного трения из-за снижения температуры поднимаемой нефти и увеличения ее вязкости по мере подъема к поверхности земли, что приводит к осложнениям при добыче нефти, остановкам добывающих скважин и уменьшению межремонтного периода скважин.
Технической задачей, на решение которой направлено заявляемое техническое решение, является снижение энергопотерь при добыче высоковязкой нефти, содержащей большое количество асфальтосмолопарафинистых веществ, за счет уменьшения непроизводительного нагрева горных пород и выноса тепла на поверхность, а также энергозатрат на подъем нефти из скважины за счет непрерывной циркуляции теплоносителя, способствующей снижению ее вязкости и уменьшению вязкостного трения, повышение эффективности добычи нефти и снижение дополнительных материальных затрат за счет сокращения осложнений и увеличения межремонтного периода добывающих скважин, сохранение качества поднимаемой из пласта нефти за счет предотвращения смешивания с ней теплоносителя.
Поставленная техническая задача решается описываемым способом добычи высоковязкой нефти, содержащей большое количество асфальтосмолопарафинистых веществ, включающим спуск в обсадную колонну колонн насосно-компрессорных труб, расположенных концентрично, подачу теплоносителя и подъем нефти по межтрубному пространству, при этом в обсадную колонну последовательно спускают колонну теплоизолированных труб с пакером на конце, насосно-компрессорных с закрытым и открытым концами труб, причем колонну теплоизолированных труб спускают ниже глубины начала кристаллизации парафина, насосно-компрессорные трубы с закрытым концом до этой глубины, а насосно-компрессорные трубы с открытым концом так, что образуют зазор между насосно-компрессорными трубами с закрытым концом, при этом теплоноситель подают в насосно-компрессорные трубы с открытым концом, нефть поднимают по межтрубному пространству теплоизолированных и насосно-компрессорных труб с закрытым концом, химреагенты и теплоноситель при обработке призабойной зоны пласта подают по тому же межтрубному пространству, причем теплоноситель подают при запакерованной скважине, пространство между обсадной и теплоизолированной колонной заполняют газом, глубину начала кристаллизации парафина определяют замером температуры по стволу скважины.
Проведенные испытания показали, что спуск в обсадную колонну колонны теплоизолированных труб с пакером на конце ниже глубины начала кристаллизации парафина, в которую спускают колонну НКТ с закрытым концом до этой глубины, а в эту колонну спуск колонны НКТ с открытым концом с зазором с колонной НКТ с закрытым концом, организация циркуляции теплоносителя в скважине подачей его по колонне НКТ с открытым концом и подъемом по пространству между колоннами НКТ, подъем нефти по пространству между колоннами теплоизолированных и НКТ с закрытым концом, заполнение пространства между обсадной колонной и теплоизолированных труб газом позволяет:
во-первых, снизить потери тепла нефти, в том числе нагретой от циркулирующего в скважине теплоносителя, при транспортировке ее от забоя к устью за счет снижения теплопередачи в горные породы, так как теплопроводность теплоизолированной колонны, выполненной с вакуумированием ее межтрубного пространства, на несколько порядков меньше, а газа, заполняющего пространство между теплоизолированной и обсадной колоннами, на порядок меньше, чем металла или жидкости;
во-вторых, снизить теплопотери, связанные с выносом тепла из скважины теплоносителем за счет использования вынесенного при циркуляции тепла при повторном подогреве теплоносителя, так как для подогрева такого теплоносителя требуется меньше энергозатрат, чем на подготовку и нагрев нециркулирующего теплоносителя;
в-третьих, сохранить качество поднимаемой из пласта нефти, предотвратить образование стойкой эмульсии и сократить затраты на подготовку нефти, связанные с ее обезвоживанием за счет предотвращения смешивания нефти с теплоносителем в процессе подъема из скважины, так как теплоноситель и продукция поднимаются на устье по изолированным друг от друга кольцевым каналам;
в-четвертых, снизить потери на транспортировку нефти из скважины за счет уменьшения значения ее вязкостного трения, так как поднимаемая нефть подогревается циркулирующим в скважине теплоносителем и имеет меньшую вязкость;
в-пятых, сократить осложнения при подъеме нефти, связанные с уменьшением или перекрытием проходного сечения отложениями парафина, и увеличить межремонтный период добывающих скважин за счет подогрева поднимаемой нефти циркулирующим в скважине теплоносителем.
Кроме того, закачка химреагентов при обработке ПЗ скважины по пространству между колоннами теплоизолированных и НКТ с закрытым концом позволяет подогревать закачиваемый реагент за счет циркулирующего в скважине теплоносителя, так как реагент в процессе транспортировки его от устья к забою скважины контактирует через металлическую стенку с теплоносителем.
Спуск в скважину на колонне теплоизолированных труб пакера и запакеровка скважины при обработке ПЗ пласта теплоносителем позволяет защитить обсадную колонну от воздействия высокой температуры, тем самым предотвратить нарушение сцепления ее с заколонным цементом из-за температурных удлинений и снизить теплопотери в горные породы за ней за счет предотвращения контакта теплоносителя с обсадной колонной, так как полость между обсадной колонной и колонной теплоизолированных труб изолируется от забоя пакером.
Определение глубины начала кристаллизации парафина замером температуры по стволу скважины позволяет предотвратить начало кристаллизации парафина в процессе подъема нефти из скважины за счет спуска колонн НКТ и организации с их помощью циркуляции теплоносителя до этой глубины.
Совокупность отличительных признаков предлагаемого способа добычи высоковязкой нефти позволяет снизить энергопотери теплоносителя, сохранить качество поднимаемой из пласта продукции, снизить потери на транспортировку из скважины и обеспечить ее подъем на устье и повысить эффективность добычи, увеличить межремонтный период скважины за счет снижения осложнений при добыче нефти.
Из патентной и научно-технической литературы нам неизвестна заявляемая совокупность отличительных признаков. Следовательно, заявляемый способ соответствует критерию изобретения “изобретательный уровень”.
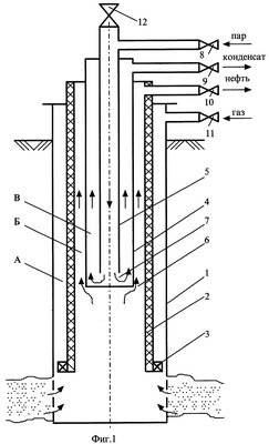
На фиг.1 показана схема осуществления предлагаемого способа добычи высоковязкой нефти, содержащей большое количество асфальтосмолопарафинистых веществ.
На фиг.2 – то же, но при обработке призабойной зоны продуктивного пласта теплоносителем.
Способ осуществляют в следующей последовательности (совмещен с примером конкретного выполнения).
В обсадную колонну 1 (см. фиг.1) последовательно спускают колонну теплоизолированных труб 2 с пакером 3, насосно-компрессорных с закрытым 4 и открытым 5 концами труб. Причем колонну теплоизолированных труб 2 с пакером 3 на конце спускают ниже глубины начала кристаллизации парафина 6, НКТ с закрытым концом 4 до этой глубины 6, а НКТ с открытым концом 5 так, что образуют зазор 7 между НКТ с закрытым концом 4. Конкретную глубину спуска колонны теплизолированных труб в данную скважину определяют расчетным путем с учетом характеристик этой скважины (например, глубины залегания продуктивного пласта, дебита, приемистости и др.), свойств нефти, необходимой температуры на забое при закачке в ПЗ пласта химреагентов или теплоносителя, прочностных характеристик теплоизолированных труб и т.д. Между обсадной колонной 1 и колонной теплоизолированных труб 2 образуется межтрубное пространство А, между колонной теплоизолированных труб 2 и колонной насосно-компрессорных труб с закрытым концом 4 образуется межтрубное пространство Б, а между колоннами насосно-компрессорных труб 4 и 5 – межтрубное пространство В.
Через запорный орган 8 по колонне НКТ с открытым концом 5 теплоноситель, в качестве которого используют, например, пар или горячую воду, подают в скважину до нижней части колонны НКТ с закрытым концом 4, а затем поднимают по межтрубному пространству В на устье, где его пропускают через запорный орган 9 и подогревают, например, передвижным или стационарным парогенератором и снова подают через запорный орган 8 в скважину и таким образом организуют циркуляцию теплоносителя в скважине до глубины начала кристаллизации парафина 6. Фонтанным способом нефть по межтрубному пространству Б поднимают на устье и через запорный орган 10 подают в систему сбора. При этом, начиная с глубины начала кристаллизации парафина 6, происходит нагрев поднимаемой нефти от циркулирующего в скважине теплоносителя через стенку колонны НКТ с закрытым концом 4, тем самым предотвращается кристаллизация парафина, а также снижается вязкость нефти и соответственно вязкостное трение при подъеме. Кроме того, за счет этого облегчается и транспортировка нагретой нефти от устья скважины до места ее сбора.
При снижении фильтрационных характеристик ПЗ пласта из-за асфальтосмолопарафинистых отложений в ней, о чем судят по уменьшению дебита скважины при неизменном пластовом давлении, проводят обработку ПЗ пласта растворителями этих отложений. Для этого через запорный орган 10 (см. фиг.2) растворитель подают в межтрубное пространство Б, при этом для лучшего реагирования в ПЗ пласта его подогревают циркулирующим в скважине теплоносителем аналогичным способом, описанным при подогреве поднимаемой из скважины нефти.
Для снижения вязкостных характеристик нефти в пластовых условиях и улучшения его притока в скважину проводят обработку ПЗ пласта теплоносителем, например паром или горячей водой. Для этого скважину запакеровывают пакером 3, тем самым защищают обсадную колонну 1 от контакта с ней закачиваемого в пласт теплоносителя, через запорный орган 10 теплоноситель подают в межтрубное пространство Б и прекращают его подачу через запорный орган 8 в колонну НКТ с открытым концом 5.
При необходимости дополнительного снижения непроизводительной теплопередачи в горные породы, например, при больших глубинах скважины, прохождении ее через зоны вечной мерзлоты и т.п., межтрубное пространство А заполняют газом (например, азотом, углекислым газом и т.п.) через запорный орган 11 или газом, поступившим в скважину из пласта.
Глубину начала кристаллизации парафина определяют при работающей скважине и отсутствии в ней циркуляции теплоносителя. Для этого через запорный орган 12 в колонну НКТ с открытым концом 5 спускают глубинный термометр и замеряют температуру по стволу скважины. По известной температуре начала кристаллизации парафина определяют глубину, на которой начинается кристаллизация в данной скважине.
Последовательный спуск в обсадную колонну колонны теплоизолированных труб с пакером на конце, насосно-компрессорных с закрытым и открытым концами труб, причем спуск колонны теплоизолированных труб ниже глубины начала кристаллизации парафина, насосно-компрессорных труб с закрытым концом до этой глубины, а насосно-компрессорных труб с открытым концом так, что образуют зазор между насосно-компрессорными трубами с закрытым концом, при этом подача теплоносителя в насосно-компрессорные трубы с открытым концом, подъем нефти по межтрубному пространству теплоизолированных и насосно-компрессорных труб с закрытым концом, подача химреагентов и теплоносителя, при обработке призабойной зоны пласта, по тому же межтрубному пространству, причем подача теплоносителя при запакерованной скважине, заполнение пространства между обсадной и теплоизолированной колонной газом, определение глубины начала кристаллизации парафина замером температуры по стволу скважины обеспечивают приток из пласта и подъем из скважины высоковязкой нефти, при этом сохраняется качество поднимаемой из пласта нефти, снижается непроизводительная теплопередача в горные породы через обсадную колонну, а также вынос тепла из скважины теплоносителем, снижаются затраты на транспортировку нефти от забоя до устья и до места сбора и ее подготовку, сокращаются осложнения и увеличивается межремонтный период добывающих скважин.
Таким образом, применение предлагаемого способа добычи высоковязкой нефти, содержащей асфальтосмолопарафинистые вещества, позволяет повысить эффективность добычи нефти за счет увеличения притока нефти из пласта и обеспечить подъем нефти из скважины при сохранении ее качества, снижении непроизводительных теплопотерь и потерь на транспортировку.
Формула изобретения
1. Способ добычи высоковязкой нефти, включающий спуск в обсадную колонну колонн насосно-компрессорных труб, расположенных концентрично, подачу теплоносителя и подъем нефти по межтрубному пространству, отличающийся тем, что в обсадную колонну последовательно спускают колонну теплоизолированных труб с пакером на конце, насосно-компрессорных с закрытым и открытым концами труб, причем колонну теплоизолированных труб спускают ниже глубины начала кристаллизации парафина, насосно-компрессорные трубы с закрытым концом до этой глубины, а насосно-компрессорные трубы с открытым концом так, что образуют зазор между насосно-компрессорными трубами с закрытым концом, при этом теплоноситель подают в насосно-компрессорные трубы с открытым концом, нефть поднимают по межтрубному пространству теплоизолированных и насосно-компрессорных труб с закрытым концом, химреагенты и теплоноситель при обработке призабойной зоны пласта подают по тому же межтрубному пространству, причем теплоноситель подают при запакерованной скважине.
2. Способ по п.1, отличающийся тем, что пространство между обсадной и теплоизолированной колоннами заполняют газом.
3. Способ по п.1 или 2, отличающийся тем, что интервал начала кристаллизации парафина определяют замером температуры по стволу скважины.
РИСУНКИ
MM4A – Досрочное прекращение действия патента СССР или патента Российской Федерации на изобретение из-за неуплаты в установленный срок пошлины за поддержание патента в силе
Дата прекращения действия патента: 13.09.2007
Извещение опубликовано: 10.03.2009 БИ: 07/2009
|
|