|
|
(21), (22) Заявка: 2005103776/03, 14.02.2005
(24) Дата начала отсчета срока действия патента:
14.02.2005
(43) Дата публикации заявки: 20.07.2006
(46) Опубликовано: 10.04.2007
(56) Список документов, цитированных в отчете о поиске:
SU 751961 A1, 30.07.1980. SU 1832148 A1, 07.08.1993. RU 2137901 C1, 20.09.1999. RU 2236556 C1, 20.09.2004. RU 20533 U1, 10.11.2001. US 3559733 A, 02.02.1971.
Адрес для переписки:
625023, Тюменская обл., г.Тюмень, ул. Котовского, 62, кв.18, пат.пов. Л.Д.Рычковой, рег. № 438
|
(72) Автор(ы):
Киреев Анатолий Михайлович (RU), Светашов Николай Николаевич (RU), Орлов Дмитрий Геннадьевич (RU)
(73) Патентообладатель(и):
Общество с ограниченной ответственностью “Югсон-Сервис” (RU)
|
(54) РАЗБУРИВАЕМЫЙ ПАКЕР
(57) Реферат:
Изобретение относится к нефтедобывающей промышленности и может быть использовано для герметичного разобщения одной части ствола скважины от другой. Позволяет повысить надежность работы устройства, снизить себестоимость, упростить технологические работы по установке пакера. Пакер содержит ствол с резьбовой нарезкой на наружной поверхности, установленные на стволе уплотнительный элемент, верхний и нижний конуса, верхние и нижние захваты, которые связаны с конусами, разрезную гайку, установленную в верхнем конусе, который имеет резьбовую нарезку на внутренней поверхности, и имеющую резьбовую нарезку ствола на внутренней поверхности и резьбовую нарезку конуса на внешней поверхности. Пакер дополнительно снабжен упором, расположенным в нижней части ствола и представляющим собой пробку или пробку с корпусом. 2 ил.
Изобретение относится к нефтедобывающей промышленности и может быть использовано для герметичного разобщения одной части ствола скважины от другой.
Известен разбуриваемый пакер ПР-1 (214), содержащий корпус, резиновый элемент, плашки, втулку (Серенко И.А., Сидоров Н.А., Кошелев А.Т. Повторное цементирование при строительстве и эксплуатации скважин. – М.: Недра, 1988, рис.55, с.200).
Недостатком данного устройства является низкая надежность в работе, высокая себестоимость и материальные затраты при ремонте скважины.
Наиболее близким к предлагаемому техническому решению является разбуриваемый пакер, содержащий полый цилиндрический ствол с резьбовой нарезкой на наружной поверхности, установленные на стволе уплотнительный элемент, верхний и нижний конусы, верхние и нижние захваты, которые связаны с конусами, разрезную гайку, имеющую резьбовую нарезку ствола на внутренней поверхности (а.с. №1832148, Е 21 В 33/12, от 23.01.90 г., опубл. 07.08.93 г., прототип).
Недостатком данного устройства является низкая надежность в работе, высокая себестоимость за счет сложности конструкции.
Предлагаемый нами разбуриваемый пакер лишен приведенных выше недостатков и позволяет упростить технологические работы по установки разбуриваемого пакера; упростить технологические работы по установке цементных мостов; сократить время на разбуривание предлагаемого технического решения; обеспечить безопасность установки цементных мостов под давлением; снизить загрязнения в призабойной зоне пласта.
Поставленный технический результат достигается тем, что предлагаемый разбуриваемый пакер содержит ствол с резьбовой нарезкой на наружной поверхности, установленные на стволе уплотнительный элемент, верхний и нижний конуса, верхние и нижние захваты, которые связаны с конусами, разрезную гайку, установленную в верхнем конусе, который имеет резьбовую нарезку на внутренней поверхности, и имеющую резьбовую нарезку ствола на внутренней поверхности и резьбовую нарезку конуса на внешней поверхности, и дополнительно снабжен упором, расположенным в нижней части ствола. Причем упор представляет собой пробку или пробку с корпусом.
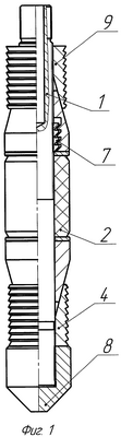
На фиг.1 изображен общий вид разбуриваемого пакера в разрезе с пробкой; на фиг.2 изображен общий вид разбуриваемого пакера в разрезе.
Разбуриваемый пакер содержит ствол 1 с резьбовой нарезкой на наружной поверхности и установленные на стволе 1 эластичный уплотнительный элемент 2 в виде нескольких манжет, материал которых может иметь разную твердость, или в виде одной манжеты, верхний якорь и нижний якорь.
Ствол 1 представляет собой цилиндрический элемент, который может быть полым, например труба (фиг.2).
Нижний якорь представляет собой клиновый механизм, состоящий из нижнего конуса 3 в виде конусной втулки и нижнего захвата 4, выполненного в виде кольцевого элемента с разрезами, которые связаны между собой. Нижний конус 3 и нижний захват 4 могут быть соединены между собой срезными элементами, например винтами (не показаны).
Верхний якорь отличается от нижнего якоря тем, что в верхнем конусе 6 на внутренней его поверхности выполнена резьбовая нарезка и в нем установлена разрезная гайка 7.
Разрезная гайка 7 выполнена в виде упругого разрезного кольца с резьбовой нарезкой на внутренней и наружной поверхностях, которая взаимодействует с аналогичной нарезкой, выполненной на наружной поверхности ствола 1 и внутренней поверхности верхнего конуса 6. Благодаря тому что разрезная гайка 7 имеет противоположные – разные резьбовые нарезки на внутренней и наружной поверхностях, то это позволяет верхнему якорю перемещаться по стволу 1 лишь в одном осевом направлении вниз, при этом обеспечивая сжатие и фиксацию эластичного уплотнительного элемента 2 между якорями.
Нижний якорь поджат упором 8, закрепленным на стволе 1. Упор 8 представляет собой пробку или пробку с корпусом.
Устройство работает следующим образом.
Разбуриваемый пакер соединяют с посадочным устройством посредством соединительных срезных элементов (не показано) и в транспортном положении на колонне насосно-компрессорных труб (далее по тексту – колонна НКТ) (не показано) спускают в скважину на требуемую глубину.
При достижении заданной глубины внутри колонны НКТ создают давление, в результате которого элементы посадочного устройства перемещаются вверх, воздействуя при этом на верхние захваты 9. Верхний якорь вместе с разрезной гайкой 7 перемещается вниз по стволу 1, сжимая при этом эластичный уплотнительный элемент 2 и воздействуя на нижний конус 3.
После этого осуществляется перемещение нижнего конуса 3 вниз, а так как расклиненный верхний якорь препятствует перемещению эластичного уплотнительного элемента 2 вверх по стволу 1, то уплотнительный элемент 2 сжимается, а нижние захваты 4, перемещаясь, заклиниваются между нижним конусом 3 и обсадной колонной. Заклинивание нижних захватов 4 происходит с одновременной пакеровкой уплотнительного элемента 2.
Иными словами, эластичный уплотнительный элемент 2, сжимаясь между верхним, нижним якорями 3 и 4 и деформируясь, прижимается к стенке обсадной колонны, тем самым создавая герметичное уплотнение в скважине.
При достижении критической расчетной нагрузки происходит срез соединительных элементов (не показано) и освобождение посадочного устройства (не показано) от пакера. Разбуриваемый пакер остается в скважине в уплотненном и заякоренном состоянии, что сопровождается падением давления, а посадочное устройство извлекается из скважины.
Использование предлагаемого технического решения дает возможность повысить надежность разбуриваемого пакера, снизить загрязнения в призабойной зоне пласта, снизить себестоимость и материальные затраты при ремонте скважины, а также упростить технологические работы по установке разбуриваемого пакера и цементных мостов, сократить время на разбуривание предлагаемого технического решения; обеспечить безопасность установки цементных мостов.
Формула изобретения
Разбуриваемый пакер, содержащий ствол с резьбовой нарезкой на наружной поверхности, установленные на стволе уплотнительный элемент, верхний и нижний конусы, верхние и нижние захваты, которые связаны с конусами, разрезную гайку, имеющую резьбовую нарезку ствола на внутренней поверхности, отличающийся тем, что он дополнительно снабжен упором, расположенным на стволе в нижней его части и представляющим собой пробку или пробку с корпусом, верхний конус имеет резьбовую нарезку на внутренней поверхности, а разрезная гайка установлена в верхнем конусе и имеет резьбовую нарезку на внешней поверхности, аналогичную резьбовой нарезке верхнего конуса.
РИСУНКИ
|
|