|
|
(21), (22) Заявка: 2005132349/03, 19.10.2005
(24) Дата начала отсчета срока действия патента:
19.10.2005
(46) Опубликовано: 10.04.2007
(56) Список документов, цитированных в отчете о поиске:
RU 2223378 C1, 10.02.2004. SU 857465 A, 23.08.1981. SU 907230 A, 23.02.1982. RU 2064404 C1, 27.07.1996. RU 2184027 C1, 27.06.2002.
Адрес для переписки:
199106, Санкт-Петербург, В.О., 21 линия, 2, СПГГИ(ТУ), патентный отдел
|
(72) Автор(ы):
Юнгмейстер Дмитрий Алексеевич (RU), Пивнев Владимир Анатольевич (RU), Соколова Галина Владимировна (RU), Лукашев Кирилл Александрович (RU), Непран Михаил Юрьевич (RU), Бурак Андрей Ярославович (RU)
(73) Патентообладатель(и):
Государственное образовательное учреждение высшего профессионального образования “Санкт-Петербургский государственный горный институт им. Г.В. Плеханова (технический университет)” (RU)
|
(54) ПЕРФОРАТОР
(57) Реферат:
Изобретение относится к горной и строительной промышленности и может применяться для бурения шпуров в любых многоструктурных породах с твердыми включениями, например, апатитонефелиновой руды. Техническим результатом является повышение кпд удара. Достигается тем, что перфоратор содержит породоразрушающий инструмент – штангу с коронкой, корпус с размещенным в нем поворотным механизмом и сдвоенным ударником, состоящим из основного и вспомогательного бойков, воздухораспределительную систему, поворотную и концевую буксы, вспомогательный боек установлен в направляющих, его сечение имеет форму многогранника, а отношение длины L бойка к его ширине b выбирают из неравенства L/b>1.5, причем соотношение масс сдвоенного ударника и штанги должно удовлетворять условию m2>m1(2R+R2). 4 ил.
Изобретение относится к горной и строительной промышленности и может применяться для бурения шпуров в любых многоструктурных породах с твердыми включениями, например, апатитонефелиновой руды.
Известен двухпоршневой перфоратор (а.с. №140228, М. кл. Е 21 С 3/04, БИ №7, 1989), включающий корпус, два поршня, кулачковую муфту, гранбуксу, воздухораспределительное устройство и уплотнительное кольцо. Такое устройство снабжается двухмассовым ударником с целью снижения вибрации, передаваемой на корпус, и не способно решать задачи по интенсификации режимов бурения многоструктурных пород, состоящих из твердых и мягких компонентов.
Известен перфоратор по патенту РФ №2223378, М. кл. Е 21 В 6/06, БИ №4, 2004), принятый за прототип, содержащий породоразрушающий инструмент, закрепленный на штанге, корпус с размещенным в нем на воздухопроводной трубке поворотным механизмом и сдвоенным поршнем ударником, включающим основной и вспомогательный бойки, воздухораспределительную систему, поворотную и концевую буксы, причем основной боек имеет защелку со стороны вспомогательного бойка, а соотношение масс и сечений основного и вспомогательного бойков выбирают из неравенства:
.
Однако эффект «двойного» удара, обеспечиваемый применением двухмассной системы, как средства для исключения, так называемых, косых ударов при использовании современных штыревых коронок недостаточно эффективен, кроме того, наличие дополнительной массы (вспомогательный боек) при некорректно выбранной массе вспомогательного бойка относительно массы основного бойка ведет к снижению кпд удара, а следовательно, и к снижению эффективности бурения. Наличие защелки на основном бойке, предназначенной для соединения основного и вспомогательного бойков при холостом ходе, снижает надежность работы конструкции в целом.
Техническим результатом предложения является устранение указанных недостатков, а именно повышение кпд удара за счет обеспечения процесса «дребезга» вспомогательного бойка между основным бойком и штангой.
Технический результат достигается тем, что перфоратор, содержащий породоразрушающий инструмент (штанга с коронкой), корпус с размещенным в нем поворотным механизмом и сдвоенным ударником, включающим основной и вспомогательный бойки, воздухораспределительную систему, поворотную и концевую буксы, согласно изобретению вспомогательный боек установлен в направляющих, его сечение имеет форму многогранника, а отношение длины L бойка к его ширине b выбирают из неравенства L/b 1.5, причем соотношение масс сдвоенного ударника и штанги должно удовлетворять условию m2>m1(2R+R2), где m1 – масса штанги, кг; m2 – масса сдвоенного ударника, равная сумме масс основного и вспомогательного бойков, кг; R – коэффициент восстановления скорости.
Такое выполнение перфоратора повышает надежность работы конструкции, т.к. исключается необходимость механического сцепления основного и вспомогательного бойков при помощи пружинной защелки, а также повышает кпд передачи удара за счет возникновения процесса «дребезга» вспомогательного бойка между основным бойком и штангой, что ведет к формированию в штанге не колокольного импульса, а серии коротких импульсов большой амплитуды, которые, проходя через штангу, интенсифицируют процесс разрушения породы, т.е. повышают эффективность бурения.
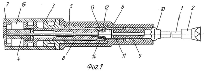
Предлагаемый перфоратор поясняется чертежами. На фиг.1 показан фронтальный разрез перфоратора; на фиг.2 показано положение сдвоенного ударника и штанги в конце рабочего хода (момент «слипания»); на фиг.3 показан процесс «дребезга» вспомогательного бойка между основным бойком и штангой; на фиг.4 показаны графики ударных импульсов в штанге.
Перфоратор (фиг.1) содержит штангу 1 с закрепленной на ней коронкой 2, корпус 3 с размещенным в нем поворотным механизмом 4, сдвоенный ударник, состоящий из основного 5 и вспомогательного 6 бойков, воздухораспределительную систему 7, поворотную 8 и концевую 9 буксы, в последнюю входит хвостовик 10 штанги 1. Вспомогательный боек 6 имеет форму многогранника (например, шестигранника), что исключает возможность его осевого вращения, и установлен в направляющих 11, связанных с концевой буксой 9. Выступы 12 направляющих 11 входят в пазы 13 вспомогательного бойка 6 и препятствуют выпадению последнего в свободное пространство 14 концевой буксы 9 во время холостого хода основного бойка 5. Длина L вспомогательного бойка 6 должна быть в 1,5 раза больше его ширины b (L/b 1.5), что исключает возможность его перекашивания в буксе 9 в процессе движения. Воздух поступает из воздухораспределительной системы 7 в рабочую полость 15 перфоратора. Для осуществления процесса «дребезга» вспомогательного бойка 6 относительно основного бойка 5 и штанги 1 соотношение масс сдвоенного ударника m2 и штанги m1 должно удовлетворять условию m2>m1(2R+R2); где m1 – масса штанги; m2 – масса сдвоенного ударника, равная сумме масс основного и вспомогательного бойков ; R – коэффициент восстановления скорости, т.е. отношение высоты отскока металлического шарика при абсолютно упругом ударе к высоте, с которой он падает на стальную плиту. Процесс «дребезга» формирует в штанге не классический «колокольный» импульс 16, формируемый при ударе сплошным ударником, а серию коротких импульсов 17 большой амплитуды (фиг.4).
Работа перфоратора осуществляется следующим образом. Воздух из воздухораспределительной системы 7 поступает в рабочую полость 15, давит на основной боек 5 и заставляет его двигаться слева навстречу вспомогательному бойку 6 и штанге 1. При этом основной боек 5 наносит удар по вспомогательному бойку 6 (фиг.3а), который, получив ударную энергию, отскакивает от него со скоростью большей, чем скорость основного бойка, и самостоятельно наносит удар в торец штанги 1 (фиг.3б), отскакивает от нее и движется в обратном направлении навстречу основному бойку, продолжающему свой ход навстречу штанге. Далее процесс повторяется.
Возникает серия повторяющихся кратковременных соударений вспомогательного бойка 6 со сближающимися основным бойком и штангой, т.е. эффект «дребезга», который заканчивается «слипанием» основного, вспомогательного бойков и штанги и их завершающим совместным ударом (фиг.2, фиг.3в), причем момент завершения процесса «дребезга» должен предшествовать моменту перемены направления движения основного бойка, т.е. моменту начала холостого хода последнего. Направляющие 11 при этом препятствуют выпадению вспомогательного бойка 6 в свободную зону 14.
Процесс «дребезга» формирует в штанге не классический «колокольный» импульс 16, а серию коротких импульсов 17 большой амплитуды (фиг.4), суммарная продолжительность которых примерно равна продолжительности импульса 16 от сплошного ударника, а суммарная энергия на 20% выше. Проходя через штангу, эти импульсы интенсифицируют процесс разрушения породы, а следовательно, повышают эффективность бурения.
Следует отметить, что для осуществления процесса «дребезга» вспомогательного бойка относительно основного бойка и штанги необходимо исключить осевое вращение вспомогательного бойка и его перекашивание в концевой буксе, что достигается рациональным выбором соотношения между длиной бойка и его шириной, а также наличием направляющих. При этом соотношение масс сдвоенного ударника m2 и массы штанги m1 должно удовлетворять условию m2>m1(2R+R2).
Формула изобретения
Перфоратор, содержащий породоразрушающий инструмент (штанга с коронкой), корпус с размещенным в нем поворотным механизмом и сдвоенным ударником, включающим основной и вспомогательный бойки, воздухораспределительную систему, поворотную и концевую буксы, отличающийся тем, что вспомогательный боек установлен в направляющих, его сечение имеет форму многогранника, а отношение длины L бойка к его ширине b выбирают из неравенства L/b>1,5, причем соотношение масс сдвоенного ударника и штанги должно удовлетворять условию
m2>m1(2R+R2),
где m1 – масса штанги, кг;
m2 – масса сдвоенного ударника, равная сумме масс основного и вспомогательного бойков, кг;
R – коэффициент восстановления скорости.
РИСУНКИ
|
|