|
|
(21), (22) Заявка: 2004104352/03, 16.07.2002
(24) Дата начала отсчета срока действия патента:
16.07.2002
(30) Конвенционный приоритет:
16.07.2001 (пп.1-4, 6-19) US 60/305,947 17.05.2002 (п.5) US 60/381,587
(43) Дата публикации заявки: 27.06.2005
(46) Опубликовано: 10.04.2007
(56) Список документов, цитированных в отчете о поиске:
ЕР 0491097 А1, 18.12.1990. ЕР 0151839 A1, 07.02.1984. GB 1166738 A, 08.10.1969. US 4484611 A, 30.12.1983. SU 472030, 10.05.1975.
(85) Дата перевода заявки PCT на национальную фазу:
16.02.2004
(86) Заявка PCT:
US 02/22577 (16.07.2002)
(87) Публикация PCT:
WO 03/008751 (30.01.2003)
Адрес для переписки:
129010, Москва, ул. Б.Спасская, 25, стр.3, ООО “Юридическая фирма Городисский и Партнеры”, пат.пов. С.А.Дорофееву
|
(72) Автор(ы):
КОЛСОН Уэнделл Б. (US), ЭНТОНИ Джеймс М. (US), АНДЕРСОН Ричард Н. (US), ХААРЕР Стивен Р. (US), ФРЭЙЗЕР Дональд Э. (US), НАЛЛ Роберт А. (US)
(73) Патентообладатель(и):
ХАНТЕР ДУГЛАС ИНК. (US)
|
(54) ЗАКРЫВАЮЩЕЕ СРЕДСТВО СТАВЕННОГО ТИПА ДЛЯ АРХИТЕКТУРНЫХ ПРОЕМОВ
(57) Реферат:
Изобретение относится к области строительства, а именно к конструкции ограждающей архитектурные проемы. Изобретение позволит создать конструкцию, обеспечивающую, которую легко задвинуть в оконном проеме. Закрывающее устройство для архитектурного проема содержит левый и правый монтажные кронштейны для прикрепления к архитектурному проему горизонтальную верхнюю поперечину с левым и правым концами, каждый из которых шарнирно прикреплен к левому и правому монтажному кронштейну соответственно. Верхняя поперечина выполнена с возможностью поворота между открытым и закрытым положением вокруг ее продольной оси. Устройство содержит множество горизонтально ориентированных створок, висящих на верхней поперечине, каждая из которых размещена на расстоянии по вертикали от соседней створки и выполнена с возможностью поворота между открытым положением и закрытым положением вокруг продольной оси створки и с возможностью перемещения по вертикали между первым положением, в котором закрывающее устройство выдвинуто, и вторым положением, в котором закрывающее устройство задвинуто. В открытом положении существенно большая часть света, падающего на архитектурный проем, проходит непосредственно через него. В закрытом положении непосредственное прохождение через проем существенно большей части падающего света блокирована. Каждый из левого и правого концов верхней поперечины включает первый штифт, простирающийся вдоль продольной оси верхней поперечины. По меньшей мере, один из левого и правого концов верхней поперечины включает второй штифт, отходящий от первого штифта. Каждый из первых штифтов выполнен с возможностью вхождения горизонтально со скольжением в соответствующий левый и правый монтажные кронштейны. По меньшей мере, один из левого и правого монтажных кронштейнов имеет простирающийся вверх и вниз паз, в котором, по меньшей мере, один второй штифт сцеплен с возможностью скольжения. 18 з.п. ф-лы, 149 ил.
Ссылка на родственные заявки
Эта заявка на изобретение имеет приоритет по дате предварительной заявки на патент США №60/305947, поданной 16 июля 2001 года, и предварительной заявки на патент США №60/381587, поданной 17 мая 2002 года. Эта заявка также относится к заявке на патент США №10/197674, поданной одновременно с данной заявкой 16 июля 2002 года под названием “Закрывающее средство ставенного типа и фурнитура для архитектурных проемов”, которая имеет приоритет по дате предварительной заявки на патент США №60/306049, поданной 16 июля 2001 года и включенной в настоящее описание в качестве ссылочного материала во всей ее полноте.
Область техники, к которой относится изобретение
Настоящее изобретение относится, в целом, к закрывающему средству для архитектурного проема и, более конкретно, к узлу оконных жалюзи, содержащему множество горизонтальных створок, которые можно убирать, а также перемещать из открытого в закрытое положение, при этом узел жалюзи имеет вид, по меньшей мере, частично напоминающий ставни колониального стиля.
Описание известного уровня техники
Подъемные жалюзи венецианского стиля и ставни колониального стиля являются двумя типами оконных закрывающих средств, широко используемых в жилищных и коммерческих вариантах применения. Обычные узлы подъемных жалюзи, в типичном случае, содержат верхнюю поперечину, нижнюю поперечину и множество горизонтальных створок, расположенных между ними. Подъемные шнуры проходят от блокирующего механизма в верхней поперечине к нижней поперечине. Посредством разблокирования блокирующего механизма и натягивание или направления частей подъемных шнуров, которые отходят от верхней поперечины и блокирующего механизма, можно осуществлять распределение по вертикали створок вверх и вниз между убранным и выдвинутым положениями на протяжении проема. Кроме того, каждая из множества створок, в типичном случае, удерживается шнуровой или ленточной лестничной конструкцией. Лестничную конструкцию обычно прикрепляют к качающему механизму в верхней поперечине для совершения поворотного перемещения вокруг продольной оси створок, посредством чего при вращении стержня или натяжении шнуров, отходящих от механизма, множество створок может открываться или закрываться в зависимости от того, какое количество света должно проходить через проем по желанию пользователя.
В целом, подъемные жалюзи тоньше и легче ставней колониального стиля и не имеют периферийной рамы, требуемой для ставень колониального стиля. Верхние поперечины узлов подъемных жалюзи, которые, в типичном случае, содержат механизмы, необходимые для управления работой жалюзи, часто не очень привлекательны с архитектурной точки зрения и даже могут быть неприглядными. Обычной практикой в отношении архитектурных проемов, имеющих подъемные жалюзи, является использование шторки или другого элемента дизайна интерьера, чтобы скрыть верхнюю поперечину.
Ставни колониального стиля, в типичном случае, содержат множество горизонтальных створок, как и подъемные жалюзи, но они обычно выглядят более массивно. Множество створок обычно заключено в периферийную раму, которая окружает архитектурный проем. Поскольку створки соединяют непосредственно с рамой, они не могут перемещаться вверх и вниз. Однако они могут поворачиваться между открытым и закрытым положением обычно действием приводной штанги, которая свободно прикреплена к створкам, при этом перемещение приводной штанги вверх или вниз поворачивает створки между открытым и закрытым положением.
Хотя многие считают ставни в колониальном стиле более привлекательными, чем подъемные жалюзи, они имеют некоторые недостатки, которые заставляют отказываться от их приобретения. Вероятно самым большим недостатком является то, что ставни в колониальном стиле невозможно легко задвинуть в оконном проеме, что оставляет пользователю ограниченный выбор между открытым и закрытым положением створок и не дает возможности иметь открытый, ничем не загораживаемый вид из окна, который возможен с подъемными жалюзи в убранном состоянии. Кроме того, поскольку ставни обычно бывают заделаны в стену очень глубоко, и рама часто проходит за внутреннюю поверхность стены, жалюзи ставенного типа могут быть установлены вровень с поверхностью стены только в глубоко вмонтированных окнах.
Сущность изобретения
Закрывающее средство для архитектурных проемов, которое описано ниже в различных вариантах осуществления изобретения, является комбинацией жалюзи подъемного типа и ставень, в которой нет периферийной рамы, характерной для ставень. В целом, верхняя поперечина имеет вид, подобный виду нижней поперечины (или нижней створки) и, в предпочтительных вариантах осуществления изобретения, верхняя поперечина имеет форму, подобную форме множества висящих на ней створок.
В одном предпочтительном варианте осуществления изобретения, верхнюю поперечину закрывающего средства с возможностью поворота соединяют с парой монтажных кронштейнов для совершения поворотного перемещения вокруг продольной горизонтальной оси. На ней подвешивают множество расположенных горизонтально створок, соединенных с верхней поперечиной шнуровой лестничной конструкцией. Вертикальное перемещение проходящей вертикально приводной штанги, в рабочем положении прикрепленной к верхней поперечине, вызывает поворотное перемещение створок вокруг продольных горизонтальных осей между открытым и закрытым положениями. Для того чтобы задвигать или выдвигать закрывающее средство в архитектурном проеме к нижней створке прикрепляют подъемные шнуры, которые проходят вверх поперек створок и затем горизонтально внутри верхней поперечины и вдоль нее к боковой точке, где они заканчиваются в подъемном приводе. При вертикальном перемещении подъемного привода створки могут быть убраны или выдвинуты в архитектурном проеме. В первом варианте нижний конец приводной штанги шарнирно прикрепляют к раме окна. Во втором варианте нижний конец приводной штанги шарнирно прикрепляют к нижней створке (или нижней поперечине), которая установлена с возможностью поворотного перемещения вокруг продольной горизонтальной оси.
В другом варианте выполнения этого одного предпочтительного устройства, применяют монтажные кронштейны, которые принимают пару штифтов, которые проходят горизонтально от концов верхней поперечины в отдельные пазы в кронштейнах. Когда верхнюю поперечину поворачивают из открытого положения в закрытое положение, штифты, скользящие в пазах, вызывают скольжение верхней поперечины горизонтально в направлении архитектурного проема. Широкие створки, которые отходят на существенное расстояние от поверхности окна и т.п. в архитектурном проеме, могут, таким образом, перемещаться в положение, в котором створки расположены вровень или почти вровень с поверхностью, когда они находятся в закрытом положении, но будут смещаться от поверхности, когда они находятся в открытом положении, для размещения ширины створок. Кроме того, описаны другие варианты, в которых верхняя поперечина поворачивается вокруг ее продольной оси, но не перемещается в боковом направлении.
Во втором предпочтительном варианте выполнения закрывающего средства оно включает вместо приводной штанги сбалансированный качающий механизм для перемещения горизонтальных створок. Сбалансированный качающий механизм позволяет створкам (или шторкам) горизонтальных жалюзи поворачиваться как по часовой стрелке, так и против часовой стрелки с минимальным усилием посредством легкого подъема или оттягивания нагруженной подвески, свисающей на конце приводного шнура качающего механизма. В вариантах выполнения этого второго предпочтительного устройства используют блокирующий механизм для подъемного шнура, расположенный внутри поворотной поперечины.
Другие аспекты, отличительные признаки и детали настоящего изобретения можно понять более полно при ознакомлении с нижеследующим подробным описанием предпочтительного варианта его осуществления, данным в сочетании с сопроводительными чертежами, и с прилагаемой формулой изобретения.
Краткое описание чертежей
Фиг.1 – изометрический вид спереди узла жалюзи в выдвинутом положении со створками в открытом положении.
Фиг.2 – изометрический вид спереди узла жалюзи в выдвинутом положении со створками в первом закрытом положении.
Фиг.3 – изометрический вид спереди узла жалюзи в выдвинутом положении со створками во втором закрытом положении.
Фиг.4 – изометрический вид спереди узла жалюзи в частично поднятом и убранном положении.
Фиг.5 – изометрический вид спереди узла жалюзи в полностью поднятом и убранном положении.
Фиг.6 – вид спереди узла жалюзи.
Фиг.7 – вид вертикального сечения узла жалюзи, выполненного по линии 7-7 на фиг.6.
Фиг.8 – вид вертикального сечения узла жалюзи, выполненного по линии 8-8 на фиг.6.
Фиг.9 – вид горизонтального сечения узла жалюзи, выполненного по линии 9-9 на фиг.6.
Фиг.10 – вид горизонтального сечения узла жалюзи, выполненного по линии 10-10 на фиг.6.
Фиг.11 – частичный вид вертикального сечения узла жалюзи, выполненного по линии 11-11 на фиг.6.
Фиг.12 – частичный изометрический вид жесткой нижней створки, показывающий средство для прикрепления к ней подъемных шнуров и шнуровой лестничной конструкции в соответствии с одним вариантом осуществления изобретения.
Фиг.13 – частичный вид сечения, показывающий поворотное движение нижнего конца приводной штанги и соединенного с ней нижнего монтажного кронштейна, выполненного по линии 13-13 на фиг.10.
Фиг.14 – частичный вид спереди, показывающий нижний конец приводной штанги и соединенного с ней нижнего монтажного кронштейна.
Фиг.15 – частичный вид вертикального сечения, выполненного по линии 15-15 на фиг.9, показывающий жесткую верхнюю поперечину и ее шарнирное соединение с монтажным кронштейном на оконной раме.
Фиг.16 – вид частичного сечения, подобный показанному на фиг.15, когда верхняя поперечина повернута в первое закрытое положение.
Фиг.17 – вид частичного сечения, подобный показанному на фиг.15, когда верхняя поперечина повернута во второе закрытое положение.
Фиг.18 – вид частичного горизонтального сечения верхней поперечины и соединенной с ней монтажной пластины, выполненного по линии 18-18 на фиг.15.
Фиг.19 – вид сбоку монтажного кронштейна.
Фиг.20 – изометрический вид сбоку монтажного кронштейна.
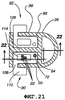
Фиг.21 – вид горизонтального сечения приводной штанги, выполненного по линии 21-21 на фиг.7.
Фиг.22 – частичный вид вертикального сечения приводной штанги, выполненного по линии 22-22 на фиг.21, показывающий подъемный элемент, включающий блокирующий узел.
Фиг.23 – вид вертикального сечения приводной штанги, выполненного по линии 23-23 на фиг.22, показывающий подъемные элементы и их соединение двумя соединительными шнурами.
Фиг.24 – увеличенный вид вертикального сечения, подобного сечению, показанному на фиг.23, в котором подъемные шнуры проходят петлей вокруг цилиндрического элемента на блокирующем узле и прикреплены к верхнему наконечнику приводной штанги в соответствии с альтернативным вариантом выполнения узла жалюзи.
Фиг.25 – увеличенный вид вертикального сечения одного подъемного элемента и связанного с ним блокирующего узла в исходном нормальном положении.
Фиг.26 – увеличенный вид вертикального сечения одного подъемного элемента и связанного с ним блокирующего узла, подобный показанному на фиг.25 и показывающий подъемный элемент, и блокирующий узел, когда створки узла жалюзи опущены.
Фиг.27 – изометрический вид спереди альтернативного варианта выполнения узла жалюзи, содержащего две приводные штанги, которые шарнирно соединены с нижней створкой, в открытом и выдвинутом положении.
Фиг.28 – изометрический вид спереди альтернативного варианта выполнения узла жалюзи, в котором створки частично подняты и убраны.
Фиг.29 – вид вертикального сечения альтернативного варианта узла жалюзи, выполненного по линии 29-29 на фиг.28.
Фиг.30 – частичный вид вертикального сечения верхней поперечины и пары висящих на ней створок в открытом положении.
Фиг.31 – частичный вид вертикального сечения верхней поперечины и пары висящих на ней створок в закрытом положении.
Фиг.32 – частичный вид спереди оконного узла жалюзи, включающего альтернативный вариант выполнения монтажного кронштейна и поворотного механизма.
Фиг.33 – вид с пространственным разделением деталей альтернативного варианта выполнения монтажного кронштейна для верхней поперечины.
Фиг.34 – изометрический вид альтернативного варианта выполнения монтажного кронштейна со скользящим элементом в задвинутом положении.
Фиг.35 – изометрический вид альтернативного варианта выполнения монтажного кронштейна со скользящим элементом в выдвинутом положении.
Фиг.36 – вид сечения верхней поперечины и альтернативного варианта монтажного кронштейна, выполненного по линии 36-36 на фиг.32.
Фиг.37 – изометрический вид средства прикрепления к оконной раме альтернативного варианта поворотного механизма.
Фиг.38 – изометрический вид поворотного элемента первого альтернативного варианта выполнения поворотного механизма.
Фиг.39 – изометрический вид поворотного элемента первого альтернативного варианта выполнения поворотного механизма.
Фиг.40 – вид сечения первого альтернативного варианта поворотного механизма, выполненного по линии 40-40 на фиг.32.
Фиг.41 – вид сечения оконного узла жалюзи, включающего альтернативный вариант выполнения монтажного кронштейна поворотного механизма, выполненного по линии 41-41 на фиг.32.
Фиг.42 – вид сечения оконного узла жалюзи, включающего альтернативный вариант выполнения монтажного кронштейна и поворотного механизма, выполненного по линии 42-42 на фиг.32.
Фиг.43 – вид сечения оконного узла жалюзи, включающего альтернативный вариант выполнения монтажного кронштейна к поворотного механизма, выполненного по линии 42-42 на фиг.32, со створками в закрытом положении.
Фиг.44 – вид вертикального сечения альтернативного варианте выполнения оконного узла жалюзи, включающего один подъемный шнур, прикрепленный к задней стороне верхней поперечины, и висящие створки, при этом нижние створки находятся в частично поднятом положении.
Фиг.45 – вид вертикального сечения, подобный показанному на фиг.44, со створками в полностью поднятом положении.
Фиг.46 – изометрический вид с пространственным разделением деталей верхнего наконечника альтернативного варианта выполнения приводной штанги и торцевой крышки альтернативного варианта выполнения верхней поперечины.
Фиг.47 – изометрический вид верхнего наконечника для альтернативного варианта выполнения приводной штанги и торцевой крышки для альтернативного варианта выполнения верхней поперечины, показывающий верхний наконечник, прикрепленный к торцевой крышке верхней поперечины.
Фиг.48 – вид сверху в сечении верхнего наконечника альтернативного варианта выполнения приводной штанги и торцевой крышки альтернативного варианта выполнения верхней поперечины.
Фиг.49 – вид сечения верхнего наконечника альтернативного варианта выполнения приводной штанги и торцевой крышки для альтернативного варианта выполнения верхней поперечины, выполненного по линии 49-49 на фиг.48.
Фиг.50 – вид сечения верхнего наконечника альтернативного варианта выполнения приводной штанги и торцевой крышки для альтернативного варианта выполнения верхней поперечины, выполненного по линии 50-50 на фиг.48.
Фиг.51 – схематический вид, показывающий расположение подъемных шнуров закрывающего средства с использованием трех подъемных шнуров, разнесенных друг от друга в разные местоположения в продольном направлении вдоль верхней поперечины.
Фиг.52 – схематический вид, показывающий расположение подъемных шнуров закрывающего средства с использованием четырех подъемных шнуров, разнесенных друг от друга в разные местоположения в продольном направлении вдоль верхней поперечины.
Фиг.53 – изометрический вид крышек для второго альтернативного варианта выполнения верхней поперечины и наконечника приводной штанги и связанной с ними соединительной конструкции.
Фиг.54 – изометрический вид, подобный показанному на фиг.53, за исключением того, что приводная штанга расположена по существу параллельно соответствующей верхней поперечине для облегчения транспортировки узла жалюзи.
Фиг.55 – поперечное сечение, выполненное по линии 55-55 на фиг.53.
Фиг.56 – изометрический вид стопора пружины.
Фиг.57 – изометрический вид наконечника для конца второго альтернативного варианта выполнения приводной штанги.
Фиг.58 – изометрический вид второго альтернативного варианта выполнения монтажного кронштейна и части соединенного с ним узла верхней поперечины.
Фиг.59 – частичный вид сечения монтажного кронштейна и шарнирного нагруженного пружиной пластмассового монтажного цилиндра, содержащегося внутри торца верхней поперечины.
Фиг.60 – изометрический вид с пространственным разделением деталей монтажного кронштейна и соединяемой с ним части соответствующей верхней поперечины.
Фиг.61 – изометрический вид пластмассового цилиндра с фланцем, используемого со вторым альтернативным вариантом выполнения монтажного кронштейна.
Фиг.62 – изометрический вид первого альтернативного варианта выполнения нижней поперечины, показывающий частично вставленную цветную вставку.
Фиг.63 – вид сбоку поперечного сечения альтернативного варианта нижней поперечины, выполненного по линии 63-63 на фиг.62.
Фиг.64 – вид сбоку поперечного сечения полупрозрачной пластмассовой шторки, которая представляет часть альтернативного варианта выполнения нижней поперечины.
Фиг.65 – вид сбоку поперечного сечения проходящего в продольном направлении формованного профиля, который представляет часть альтернативного варианта выполнения нижней поперечины.
Фиг.66 – вид сбоку поперечного сечения проходящей в продольном направлении вставки задней кромки, которая представляет часть альтернативного варианта выполнения нижней поперечины.
Фиг.67 – вид поперечного сечения цветной вставки, которая представляет часть альтернативного варианта выполнения нижней поперечины.
Фиг.68 – частичный изометрический вид альтернативного варианта выполнения нижней поперечины, показывающий элемент для регулирования длины шнура и монтажные кронштейны для нижней поперечины.
Фиг.69 – частичный изометрический вид снизу альтернативного варианта выполнения нижней поперечины, показывающий элемент для регулирования длины шнура.
Фиг.70 – изометрический вид с пространственным разделением деталей альтернативного варианта выполнения нижней поперечины, показывающий элемент для регулирования длины шнура.
Фиг.71 – другой изометрический вид с пространственным разделением деталей альтернативного варианта выполнения нижней поперечины с другого направления, также показывающий элемент для регулирования длины шнура.
Фиг.72 – изометрический вид элемента для регулирования длины шнура, используемого вблизи концов альтернативного варианта выполнения нижней поперечины.
Фиг.73 – изометрический вид варианта выполнения элемента для регулирования длины шнура, используемого с односторонней шнуровой лестничной конструкцией и с альтернативным вариантом выполнения нижней поперечины.
Фиг.74 – изометрический вид сверху элемента для регулирования длины шнура, показывающий продетые в него подъемные шнуры и открывающие (поворотные) шнуры шнуровых лестничных конструкций.
Фиг.75 – частичный вид сверху сечения регулировочного элемента.
Фиг.76 – вид сбоку регулировочного элемента.
Фиг.77 – частичный вид сбоку сечения регулировочного элемента, выполненного по линии 76-76 на фиг.75.
Фиг.78 – частичный вид с торца сечения регулировочного элемента, выполненного по линии 78-78 на фиг.76.
Фиг.79 – частичный вид с торца сечения регулировочного элемента, выполненного по линии 79-79 на фиг.76.
Фиг.80 – частичный вид с торца сечения регулировочного элемента, выполненного по линии 80-80 на фиг.76.
Фиг.81 – частичный вид с торца сечения регулировочного элемента, выполненного по линии 81-81 на фиг.76.
Фиг.82 – частичный вид сбоку сечения регулировочного элемента, выполненного по линии 82-82 на фиг.76.
Фиг.83 – вид сечения альтернативного варианта нижней поперечины, выполненного по линии 83-83 на фиг.68, и показывающий установленный регулировочный элемент.
Фиг.84 – частичный вид сечения альтернативного варианта нижней поперечины, выполненного по линии 84-84 на фиг.68 и показывающий установленный регулировочный элемент.
Фиг.85 – частичный вид сечения альтернативного варианта нижней поперечины, выполненного по линии 85-85 на фиг.68 и показывающий установленный регулировочный элемент.
Фиг.86 – изометрический вид спереди второго альтернативного варианта выполнения поворотного механизма для соединения нижней части приводной штанги и рамы архитектурного проема.
Фиг.87 – изометрический вид сзади второго альтернативного варианта выполнения поворотного механизма.
Фиг.88 – изометрический вид с пространственным разделением деталей второго альтернативного варианта выполнения поворотного механизма.
Фиг.89 и 90 – изометрические виды основных компонентов второго альтернативного варианта выполнения поворотного механизма, показывающие, как с возможностью поворота взаимодействуют его элементы.
Фиг.91 – вид сечения, выполненного по линии 91-91 на фиг.86, показывающий поворотный механизм в положении, соответствующем полностью открытому положению створок.
Фиг.92 – вид сечения, также выполненного по линии 91-91 на фиг.86, показывающий поворотный механизм в положении, соответствующем полностью закрытому положению створок.
Фиг.93 – изометрический вид, показывающий второй альтернативный вариант выполнения подъемного механизма на части альтернативного варианта выполнения приводной штанги.
Фиг.94 – изометрический вид, подобный изображенному на фиг.93, показывающий направления, в которых пользователь должен двигать рычаг для снятия блокировки для перемещения подъемного механизма вверх или вниз.
Фиг.95 – изометрический вид с пространственным разделением деталей подъемного механизма.
Фиг.96 – вид сверху сечения подъемного механизма, выполненного по линии 96-96 на фиг.94.
Фиг.97 – вид сбоку сечения подъемного механизма и соединенной с ним части приводной штанги, выполненного по линии 90-90 на фиг.89, показывающий подъемный механизм в зафиксированном положении.
Фиг.98 – вид сечения, подобный изображенному на фиг.90, показывающий подъемный механизм в освобожденном положении.
Фиг.99 – вид сверху сечения подъемного механизма и приводной штанги, выполненного по линии 99-99 на фиг.98.
Фиг.100 – частичный вид сбоку сечения подъемного механизма, выполненного по линии 100-100 на фиг.99.
Фиг.101 – частичный вид сбоку сечения подъемного механизма, выполненного по линии 101-101 на фиг.99.
Фиг.102 – вид сбоку сечения подъемного механизма, выполненного по линии 102-102 на фиг.97.
Фиг.103 – изометрический вид спереди узла жалюзи, включающего сбалансированный качающий механизм, в выдвинутом положении и со створками в открытом положении.
Фиг.104 – частичный вид спереди узла горизонтальных жалюзи, изображенного на фиг.103, показывающий нагруженную подвеску на конце приводного шнура качающего механизма.
Фиг.105 – вид сечения узла горизонтальных жалюзи, показанного на фиг.103, выполненного по линии 105-105 на фиг.104.
Фиг.106-108 – виды сечений узла горизонтальных жалюзи, подобного изображенному на фиг.105, показывающие створки (или шторки) в разных наклонных положениях.
Фиг.109 – вид сверху сечения сбалансированного качающего механизма, выполненного по линии 109-109 на фиг.105, показывающий расположение приводного шнура качающего механизма на конической катушке, когда шторки находятся в полностью открытом положении, показанном на фиг.105.
Фиг.110 – вид сверху сечения сбалансированного качающего механизма, выполненного по линии 109-109 на фиг.104, показывающий расположение приводного шнура качающего механизма на конической катушке, когда шторки находятся во втором закрытом положении, показанном на фиг.108.
Фиг.111 – вид сверху сечения сбалансированного качающего механизма, выполненного по линии 109-109 на фиг.104, показывающий расположение приводного шнура качающего механизма на конической катушке, когда шторки находятся в первом закрытом положении, показанном на фиг.107.
Фиг.112 – вид поперечного сечения сбалансированного качающего механизма, выполненного по линии 112-112 на фиг.109.
Фиг.113 – вид поперечного сечения сбалансированного качающего механизма, выполненного по линии 113-113 на фиг.109.
Фиг.114 – вид поперечного сечения сбалансированного качающего механизма, выполненного по линии 114-114 на фиг.109.
Фиг.115А-С – частичные виды поперечных сечений сбалансированного качающего механизма, выполненные по линии 115А-115А на фиг.109, показывающие расположение шнура для приведения в действие качающего механизма относительно катушки, когда створки находятся в трех разных наклонных положениях: полностью открытом положении, втором закрытом положении и первом закрытом положении соответственно.
Фиг.116А-С – частичные виды поперечных сечений сбалансированного качающегося механизма, выполненные по линии 116А-116А на фиг.109, показывающие расположение пружины постоянного натяжения, когда створки находятся в трех разных наклонных положениях: полностью открытом положении, втором закрытом положении и первом закрытом положении соответственно.
Фиг.117 – изометрический вид с пространственным разделением деталей сбалансированного качающего механизма, показывающий в деталях различные компоненты, составляющие качающий механизм, включая торцевую крышку.
Фиг.118 – изометрический вид нагруженной подвески.
Фиг.119 – вид сверху поперечного сечения подвески, выполненного по линии 119-119 на фиг.118.
Фиг.120 – частичный вид поперечного сечения кромки со скосом охватывающей пластмассовой крышки для нагруженной подвески, выполненного по линии 120-120 на фиг.121.
Фиг.121 – изометрический вид с пространственным разделением деталей нагруженной подвески.
Фиг.122 – изометрический вид сверху торцевой крышки верхней поперечины, включающей механизм блокировки шнура качающего механизма.
Фиг.123 – вид сверху сечения механизма блокировки, выполненного по линии 123-123 на фиг.122, показывающий механизм блокировки в запертом положении.
Фиг.124 – вид сбоку поперечного сечения механизма блокировки, выполненного по линии 124-124 на фиг.123.
Фиг.125 – вид сверху поперечного сечения механизма блокировки, выполненного по линии 125-125 на фиг.124.
Фиг.126 – вид сверху сечения механизма блокировки, выполненного по линии 123-123 на фиг.122, показывающего механизм блокировки в запертом положении.
Фиг.127 – изометрический вид спереди альтернативного варианта выполнения закрывающего средства с использованием односторонних шнуровых лестничных конструкций.
Фиг.128 – изометрический вид сзади альтернативного варианта выполнения закрывающего средства с использованием односторонних шнуровых лестничных конструкций.
Фиг.129 – вид сбоку поперечного сечения закрывающего средства, показанного на фиг.127, выполненного по линии 129-129 на фиг.127.
Фиг.130 – вид сбоку поперечного сечения закрывающего средства, показанного на фиг.127, выполненного по линии 130-130 на фиг.127.
Фиг.131 – частичный вид снизу створки, выполненный по линии 131-131 на фиг.129.
Фиг.132 – частичный вид снизу створки, выполненный по линии 132-132 на фиг.130.
Фиг.133 – изометрический вид с пространственным разделением деталей первого варианта выполнения разъемной подвески, используемой с множеством подъемных шнуров.
Фиг.134 – изометрический вид первого варианта выполнения разъемной подвески.
Фиг.135 – вид сбоку сечения первого варианта разъемной подвески, выполненного по линии 135-135 на фиг.134.
Фиг.136 и 137 – изометрические виды вставки для удерживания центрального подъемного шнура, показывающие, как подъемный шнур прикрепляют к вставке.
Фиг.138 – изометрический вид второго варианта выполнения разъемной подвески.
Фиг.139 – вид сверху второго варианта выполнения разъемной подвески.
Фиг.140 – вид сбоку второго варианта выполнения разъемной подвески.
Фиг.141 – вид снизу второго варианта выполнения разъемной подвески.
Фиг.142 – вид снизу поперечного сечения разъемной подвески, выполненного по линии 142-142 на фиг.140.
Фиг.143 – вид сверху поперечного сечения разъемной подвески, выполненного по линии 143-143 на фиг.140.
Фиг.144 – вид сбоку сечения второго варианта разъемной подвески, выполненного по линии 144-144 на фиг.139.
Фиг.145 – вид сбоку сечения второго варианта разъемной подвески, выполненного по линии 145-145 на фиг.139.
Фиг.146 – вид сбоку сечения второго варианта разъемной подвески, выполненного по линии 145-145 на фиг.139, показывающий прикрепленные к ней подъемные шнуры.
Фиг.147 – вид сечения, выполненного по линии 145-145 на фиг.139, показывающий подвеску, когда она начинает разделяться.
Фиг.148 – вид, подобный изображенному на фиг.143, показывающий элементы для прикрепления шнуров, отделяющиеся от центрального соединительного элемента второго варианта выполнения разъемной подвески.
Фиг.149 – вид сбоку сечения второго варианта выполнения подвески после отделения элементов для прикрепления шнуров от центрального соединительного элемента.
Подробное описание предпочтительных вариантов осуществления изобретения
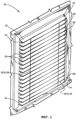
На фиг.1-12 показан узел 10 оконных жалюзи, соответствующий предпочтительному варианту осуществления настоящего изобретения. Хотя настоящее изобретение будет описано в варианте использования в качестве оконных жалюзи, его можно использовать в любом архитектурном проеме, таком как дверные проемы, арки и т.п. Узел жалюзи содержит: (I) горизонтальную самонесущую и, в целом, жесткую верхнюю поперечину 12 в форме створки, шарнирно соединенную с оконной рамой парой монтажных кронштейнов 14, (II) горизонтальную самонесущую и, в определенной степени, жесткую нижнюю створку 16 (или нижнюю поперечину), соединенную с верхней поперечиной одним или более подъемных шнуров 22, (III) множество горизонтальных створок 24, расположенных между верхней и нижней створками и соединенных с ними шнуровой лестничной конструкцией 26, и (IV) приводную штангу 28 для подъема и качания створок.
Створки имеют трубчатую конфигурацию и выполнены из волокнистого материала, которому придают определенную жесткость, благодаря чему створки в горизонтальном положении являются самонесущими. Створки из трубчатого материала описаны более подробно в одновременно рассматриваемой и одновременно поданной заявке на патент США, которая принадлежит правопреемнику данной заявки, озаглавленной “Закрывающее средство ставенного типа и фурнитура для архитектурных проемов” (заявка на патент №10/197674). Будет понятно, что в альтернативных вариантах осуществления настоящего изобретения, вместо створок из волокнистого материала могут использоваться створки других типов, такие как выполненные из дерева или алюминия.
Предпочтительно, верхняя поперечина 12 является трубчатой и имеет внутреннюю полость, содержащую ролики 30 и 32 для приема и направления подъемных шнуров 22. Верхнюю поперечину 12, предпочтительно, выполняют из алюминия, хотя альтернативные варианты можно изготовлять из других предпочтительных материалов, таких как пластмасса. Верхнюю поперечину 12, в типичном случае, покрывают нетканым материалом, чтобы она соответствовала другим створкам 24 в узле 10 жалюзи. Верхняя поперечина 12 также включает торцевые крышки 34 для шарнирного прикрепления к двум монтажным кронштейнам 14, которые прикрепляют к обеим сторонам оконной рамы.
Горизонтальная нижняя створка 16 также имеет трубчатую конфигурацию и предпочтительно, но не обязательно, состоит из оболочки 18 из нетканого материала, усиленной расположенным внутри нее пластмассовым элементом 20 (как показано на фиг.11 и 12). Нижнюю створку 16, в типичном случае, подвешивают на верхней поперечине 12 при помощи множества разнесенных в горизонтальном направлении и проходящих вертикально пар подъемных шнуров 22, и она служит нижней поперечиной в узле оконных жалюзи. Пары подъемных шнуров 22 прикрепляют к нижней створке 16 на противоположных концах створки, и они проходят вверх вдоль ряда передних и задних кромок других створок 24 к верхней поперечине. Пара подъемных шнуров может переплетаться с вертикальными секциями шнуровых лестничных конструкций. Подъемные шнуры проходят в полое внутреннее пространство верхней поперечины 12, где они проходят вокруг роликов и проходят в боковом направлении к концу верхней поперечины. Каждая пара подъемных шнуров 22 включает передний подъемный шнур, который проходит вдоль ряда передних кромок створок 24, и задний подъемный шнур, который проходит вдоль ряда задних кромок створок 24 (как лучше видно на фиг.8).
Как показано на фиг.51 и 52, в более широких узлах оконных жалюзи, где используют три или более шнуровых лестничных конструкций 26, передние подъемные шнуры 7005 и задние подъемные шнуры 7010 могут не быть спаренными в одних местоположениях в продольном направлении на створках или верхней поперечине 12, которые соответствуют местоположениям шнуровых лестничных конструкций 26. Например, как показано на фиг.51, когда используют три шнуровые лестничные конструкции, требуется только три подъемных шнура: левый передний подъемный шнур 7110А, который может переплетаться с передним открывающим (поворотным) шнуром левой шнуровой лестничной конструкции (не показан); правый передний подъемный шнур 7110В, который может переплетаться с передним открывающим шнуром правой шнуровой лестничной конструкции (не показан); и центральный задний подъемный шнур 7105, который может переплетаться с задним открывающим шнуром центральной шнуровой лестничной конструкции (не показан). Как показано на фиг.52, когда используют четыре шнуровые лестничные конструкции, требуется только четыре подъемных шнура: передние левый и правый крайние подъемные шнуры 7110А и В, соответственно, и задние левый и правый подъемные шнуры 7105А и В, соответственно, которые находятся между крайними подъемными шнурами. Подъемные шнуры могут переплетаться с открывающими шнурами шнуровых лестничных конструкций (не показаны). В альтернативном варианте, относительно узла жалюзи с четырьмя шнуровыми лестничными конструкциями, два крайних подъемных шнура могут проходить вдоль задней стороны створок, и расположенные между ними подъемные шнуры могут проходить вдоль передней стороны створок.
В альтернативном варианте осуществления изобретения, как показано на фиг.44 и 45, используют только один подъемный шнур. Предпочтительно, подъемный шнур 22 проходит вдоль ряда задних кромок створок 24 (кромок, обращенных к окну), хотя, в альтернативном варианте, он может проходить также вдоль ряда передних кромок створок. Соответственно, когда створки 24 поднимают, передний конец нижней створки 16 и передние концы нижних створок 24 свешиваются вниз, как лучше показано на фиг.44, пока любое дальнейшее перемещение вниз передних концов створок не будет остановлено натяжением переднего открывающего шнура 36 шнуровой лестничной конструкции 26 и поперечной “ступеньки” 38, соединенной со створкой. В результате, нижняя створка 16 и соединенные с ней нижние створки 24 формируют эстетически привлекательную стопку, которая на виде сбоку или в поперечном сечении напоминает часть цветка, причем каждая створка подобна лепестку, отступающему от центра цветка, как показано на фиг.45, где створки имеют сходство с четвертой частью цветка.
Возвращаясь к фиг.1-12, отметим, что горизонтальные створки 24 разнесены по вертикали между верхней и нижней створками 12 и 16 и соединены с ними множеством шнуровых лестничных конструкций 26. В предпочтительном варианте осуществления изобретения, створки 24 имеют дугообразную, выгнутую вверх сторону и дугообразную, выгнутую вниз сторону, которые пересекаются и прерываются вблизи передней и задней кромок створок. Когда створки сжимаются, например, когда узел жалюзи убран, и створки составлены вертикальной стопкой непосредственно под верхней поперечиной, стороны створок сплющиваются, приближаясь друг к другу, что существенно уменьшает высоту каждой горизонтальной створки 24 (как лучше видно на фиг.4 и 5).
Каждая шнуровая лестничная конструкция 26, в типичном случае, содержит два ориентированных вертикально открывающих шнура 36, которые соединены друг с другом множеством поперечных “ступенек” 38, перекрывающих промежуток между ними. Каждая горизонтальная створка 24 лежит на соответствующих поперечных “ступеньках” 38 множества шнуровых лестничных конструкций 26.
Каждый из открывающих шнуров 36, в целом, имеет одинаковую протяженность с подъемным шнуром 22, как показано на фиг.8, при этом подъемные шнуры 22 переплетаются с открывающими шнурами и периодически переплетаются между двумя разнесенными по вертикали соседними поперечными “ступеньками” 38. Каждый открывающий шнур каждой шнуровой лестничной конструкции 26 прикрепляют к нижней створке 16 его нижним концом и к верхней поперечине 12 его верхним концом.
Ориентированную вертикально приводную штангу 28 шарнирно прикрепляют к верхней поперечине 12 ее верхним концом и к оконной раме ее нижним концом. Створки 24 могут качаться в открытое или закрытое положение благодаря вертикальному перемещению приводной штанги 28. Два подъемных элемента 90 и 92 с возможностью скольжения расположены в приводной штанге 28 и соединены друг с другом и с множеством подъемных шнуров 22 таким образом, что скользящее перемещение подъемных элементов 90 и 92 вдоль приводной штанги вызывает подъем или опускание узла 10 жалюзи, как будет описано более подробно ниже.
Конструкция узла жалюзи, связанная с наклоном створок, и его работа
Как описано выше, верхнюю поперечину 12 шарнирно прикрепляют обоими концами к оконным монтажным пластинам. Крепление осуществляют при помощи пары торцевых крышек 34, которые неподвижно прикрепляют к каждому концу верхней поперечины 12 любым пригодным способом, включая (но, не ограничиваясь ими) неподвижную посадку, приклеивание, крепление заклепками и т.п. Как показано на фиг.18, каждая торцевая крышка 34 включает два гнезда 42, в которые помещены и удерживаются нагруженные пружинами штифты 44 и 46. Штифты 44 и 46, предпочтительно, смещены в направлении выдвинутого положения, в котором они находятся перпендикулярно поверхности торцевой крышки 34 и параллельно продольной оси верхней поперечины 12.
Оконечности 48 и 49 штифтов имеют размеры, приспособленные для обеспечения установки с возможностью поворота и скольжения в пазы 50 и 52 в монтажных пластинах 14. Один из штифтов 44 располагают на каждой торцевой крышке 34 вблизи центра поперечного сечения верхней поперечины 12, а другой штифт 46 располагают вблизи задней продольной кромки верхней поперечины 12. Вдавив штифты, можно установить верхнюю поперечину между двумя противоположными монтажными пластинами 14 и с совмещением с ними, и при освобождении штифтов, они могут удерживаться в пазах 50 и 52 монтажной пластины, таким образом, обеспечивая закрепление узла 10 жалюзи в оконном проеме.
На фиг.46-50 показан первый альтернативный вариант выполнения торцевой крышки 4605 верхней поперечины. Как и торцевая крышка, описанная выше, эта торцевая крышка имеет два гнезда 4610, в которых удерживаются установленные в них нагруженные пружинами штифты 44 и 46 (не показаны). Как и в описанном выше варианте осуществления изобретения, штифты устанавливают в соответствующие пазы монтажной пластины 14 или монтажного кронштейна 3305 (описан ниже). Однако в отличие от торцевой крышки 34, альтернативный вариант торцевой крышки 4605 установлен не вровень с концом верхней поперечины 12, а отступает за пределы конца верхней поперечины и имеет конфигурацию поперечного сечения, которая подобна конфигурации поперечного сечения верхней поперечины 12, что лучше видно на фиг.49. Альтернативный вариант верхнего наконечника 4650 приводной штанги 28 шарнирно прикреплен к альтернативному варианту торцевой крышки 4605. В альтернативном варианте торцевой крышки выполнено гнездо 4615 для приема трубчатого осевого выступа 4655 верхнего наконечника 4650 приводной штанги. Каждое гнездо 4610 и 4615 имеет проходящую внутрь часть 4630, 4635 и 4640, проходящую внутрь верхней поперечины 12 от альтернативного варианта торцевой крышки 4605. В проходящих внутрь частях 4630 и 4635 гнезд для штифтов расположены пружины (не показаны), соединенные со штифтами. В проходящей внутрь части 4640 гнезда 4615 для приема трубчатого осевого выступа также содержится пружина 4620. Эта пружина 4620 прикреплена одним концом к альтернативному варианту верхнего наконечнике 4650 и другим концом к держателю 4625 пружины, расположенному на внутреннем конце проходящей внутрь части 4640. Пружина 4620 служит для упругого удерживания верхнего наконечника 4650 относительно торцевой крышки 4605 верхней поперечины. Кроме того, пружинное соединение приводной штанги с торцевой крышкой верхней поперечины при помощи верхнего наконечника приводной штанги позволяет вытягивать трубчатый выступ 4655 из гнезда 4615 таким образом, чтобы можно было укладывать приводную штангу вплотную к верхней поперечине и по существу параллельно ей для упаковки и транспортировки узла жалюзи. Когда жалюзи распакованы, трубчатый выступ под действием пружины стремится занять место в гнезде, что содействует установке приводной штанги в положение, необходимое для использования узла жалюзи, когда он смонтирован надлежащим образом. Две проходящие внутрь части 4630 и 4640, расположенные вблизи кромок верхней поперечины 12, также служат для крепления торцевой крышки 4605 в верхней поперечине. Часть торцевой крышки, выступающая за пределы верхней поперечины, также включает вырез 4645 для приема верхнего наконечника 4650 приводной штанги таким образом, чтобы внешняя поверхность 4660 торцевой крышки 4605 и верхняя поверхность 4665 торцевой крышки были по существу выровнены, когда узел жалюзи открыт, относительно подобных поверхностей 4670 и 4675 верхнего наконечника 4650 приводной штанги, что придает торцевой крышке 4605 и верхнему наконечнику 4650 взаимно дополняющий и эстетически привлекательный вид.
На фиг.53-57 показан второй альтернативный вариант торцевой крышки 6405 верхней поперечины, второй альтернативный вариант верхнего наконечника 6410 приводной штанги и альтернативный вариант соединительной конструкции 6415 и 6420. Показанные компоненты приспособлены для использования с альтернативным вариантом приводной штанги 6060, который описан более подробно ниже в связи с альтернативным вариантом подъемного механизма 6150 и вторым альтернативным вариантом поворотного механизма 6005. Как и в описанном выше альтернативном варианте, второй альтернативный вариант также позволяет укладывать узел приводной штанги вплотную к верхней поперечине и параллельно ей для транспортировки, хотя способ, которым это осуществляют, в некоторой степени отличается от способа в первом альтернативном варианте.
Как показано на фиг.54, второй альтернативный вариант торцевой крышки 6405 верхней поперечины устанавливают не вровень с концом верхней поперечины, а так, что он отступает за пределы конца верхней поперечины также, как в первом альтернативном варианте выполнения торцевой крышки верхней поперечины. На торцевой крышке расположены выступы 6470, которые позволяют прочно устанавливать их в торец трубчатой верхней поперечины. Используют один пластмассовый монтажный цилиндр 6465, имеющий конец 6485 с фланцем, для соединения с альтернативным вариантом монтажного кронштейна 6505, как описано более подробно ниже. Следует понимать, что можно использовать другие описанные монтажные системы с надлежащим образом модифицированными вариантами второй альтернативной торцевой крышки. Торцевая крышка верхней поперечины также включает вырез 4675, подобный вырезу в первом альтернативном варианте выполнения торцевой крышки верхней поперечины, который позволяет сопрягать второй альтернативный вариант верхнего наконечника 6410 приводной штанги с торцевой крышкой верхней поперечины с получением эстетически привлекательного вида, лучше показанного на фиг.53. В торцевой крышке верхней поперечины выполнено по существу горизонтальное отверстие 4680 для прохождения подъемных шнуров 22 из внутреннего пространства верхней поперечины в верхний наконечник приводной штанги и во внутреннее пространство приводной штанги 6060. Отверстие также образует средство сопряжения для шарнирного соединения со вторым альтернативным вариантом верхнего наконечника приводной штанги.
Второй альтернативный вариант верхнего наконечника 6410 приводной штанги имеет внешнюю конфигурацию, подобную внешней конфигурации соответствующего второго альтернативного варианта приводной штанги 6060, показанного на фиг.53 и 57. Верхний наконечник приводной штанги также включает нижнюю часть 6490, которую вставляют в верхний конец приводной штанги для соединения между собой верхнего наконечника и штанги, как показано на фиг.55. На боковой стороне верхнего наконечника приводной штанги расположен выступ 6460 с проходящим сквозь него отверстием, имеющий размеры, обеспечивающие его установку в соответствующее отверстие 6480 в торцевой крышке верхней поперечины, как показано на фиг.55. Отверстие в выступе обеспечивает прохождение сквозь него подъемных шнуров, проходящих далее поверх ролика 6435, который расположен в верхнем наконечнике приводной штанги и с возможностью вращения прикреплен к нему. Ролик служит для изменения направления перемещения подъемных шнуров в сторону внутреннего пространства приводной штанги. В типичном случае применяют пластмассовую крышку 6465, показанную на фиг.53, которую с защелкиванием вставляют в верхний конец верхнего наконечника приводной штанги для того, чтобы скрыть ролик от взгляда и придать верхнему наконечнику более привлекательный вид. От верхнего наконечника приводной штанги отходит отформованная как единое целое с ним, по меньшей мере, одна гибкая пластмассовая стяжка 6425 с отформованным концом 6430 с шипами.
Конец 6430 с шипами вставляют и закрепляют в отверстии 6450 в упоре 6420 для пружины, который показан на фиг.56. Упор для пружины включает отверстие 6455, сквозь которое проходят подъемные шнуры 22. Как лучше видно на фиг.55, один конец спиральной пружины 6415 вставляют в расширенную часть отверстия 6455. Другой конец пружины вставляют в расширенную часть отверстия 6480 в торцевой крышке верхней поперечины. Подъемные шнуры также проходят сквозь центральную полость пружины. Следует понимать, что упор пружины не прикреплен к верхней поперечине, а удерживается за счет натяжения внутри верхней поперечины.
Для подготовки узла жалюзи, включающего второй альтернативный вариант торцевой крышки верхней поперечины 6405 и верхнего наконечника приводной штанги 6410, для транспортировки, пользователь просто оттягивает приводную штангу 6060 и ее верхний наконечник от торцевой крышки верхней поперечины и укладывает приводную штангу вплотную к верхней поперечине и с параллельной ориентацией относительно нее. Верхний наконечник приводной штанги остается соединенным с верхней поперечиной пластмассовой стяжкой 6425, которая прикреплена к упору 6420 пружины. Следует понимать, что когда верхний наконечник приводной штанги отделяют от торцевой крышки верхней поперечины, упор пружины оттягивается вправо, сжимая пружину 6415. Когда узел жалюзи готов к установке, нагрузка, прилагаемая сжатой пружиной, способствует втягиванию выступа верхнего наконечника приводной штанги в соответствующее отверстие торцевой крышки верхней поперечины. Кроме того, нагрузка пружины способствует удерживанию верхнего наконечника приводной штанги на месте относительно торцевой крышки верхней поперечины.
На фиг.18-20 показана одна из монтажных пластин 14. Боковую монтажную пластину 14, в типичном случае, выполняют из пригодной пластмассы или металла. Она содержит несколько крепежных отверстий 54, в которые можно ввинчивать шурупы или другие крепежные средства для прикрепления монтажной пластины 14 к оконной раме. Монтажная пластина 14 дополнительно содержит два паза 50 и 52, в которые вставляют оконечности 48 и 49 нагруженных пружинами штифтов 44 и 46. В типичном случае ширина пазов 50 и 52 немного превышает ширину оконечностей 48 и 49 штифтов для облегчения скользящего перемещения оконечностей в пазах. Пазы могут проходить сквозь всю толщину монтажной пластины, или они могут проходить в пластину только на часть толщины пластины, как необходимо для приема оконечностей нагруженных пружинами штифтов. Первый паз 50 прямой и ориентирован по существу горизонтально для приема оконечности 48 центрального штифта 44. Второй паз 52 ориентирован по существу вертикально и имеет слабо выраженную V-образную конфигурацию, в которой ветви V-образной конфигурации наклонены в сторону первого паза 50, и угол между двумя ветвями V-образной конфигурации очень тупой и приближается к 150°. Второй паз 52 может иметь дугообразную конфигурацию. Следует понимать, что показанные здесь расположение и конфигурация пазов являются иллюстративными, и что могут быть заданы другие пригодные конфигурации пазов, которые работают подобно показанным здесь. Расположение пазов не только позволяет верхней поперечине 12 поворачиваться вокруг центрального штифта 44, когда створки открывают или закрывают, но также приводит к перемещению верхней поперечины 12 в поперечном направлении, когда другой штифт 46 направляется вторым пазом 52, с целью, которая будет более понятна позже.
На фиг.33-36 и 41 показан первый альтернативный вариант монтажного кронштейна 3305. Альтернативный вариант выполнения монтажного кронштейна 3305 включает внешний элемент 3310, который монтируют на оконной раме, внутренний элемент 3315, который монтируют на внешнем элементе 3310, и скользящий элемент 3365, который устанавливают между внутренним и внешним элементами. Как внутренний, так и внешний элементы имеют криволинейные передние поверхности 3325, которые приблизительно соответствуют криволинейной конфигурации поперечного сечения верхней или нижней поверхности верхней поперечины 12. Как внутренний, так и внешний элементы также включают отверстия 3330, в которые можно вставлять крепежные средства для прикрепления монтажного кронштейна 3305 к оконной раме. Внутренний элемент включает удлиненный криволинейный паз 3335, который ориентирован по существу вертикально. Удлиненный паз 3335 конфигурирован для приема оконечности 49 штифта и по рабочему предназначению эквивалентен второму пазу 52 монтажной пластины 14. Внутренний элемент 3315 также включает более широкий и ориентированный горизонтально паз 3340, который конфигурирован для приема части скользящего элемента 3320. Внешний элемент 3310 имеет горизонтальный канал 3345, ориентированный по ширине элемента и расположенный приблизительно в его центре. Канал 3345 конфигурирован для приема скользящего элемента 3310 с возможностью его скольжения. Канал 3345 имеет первую часть 3350, расположенную вблизи передней кромки внешнего элемента, и вторую часть 3355, которая шире первой части канала, и проходит от задней кромки и встречается с первой частью канала. Ширина первой части 3350 соответствует ширине передней части 3365 скользящего элемента 3320, а ширина второй части соответствует ширине задней части 3360 скользящего элемента. Передняя часть 3365 скользящего элемента также включает паз 3370, конфигурированный для приема оконечности 48 штифта. На фиг.34 и 35 показан кронштейн 3305 в собранном состоянии со скользящим элементом 3320 в задвинутом и выдвинутом положениях. На фиг.36 показан вид сверху сечения кронштейна 3305 и установленной на нем верхней поперечины 12, и на фиг.41 показан другой вид сечения монтажного кронштейна 3305 с установленным на нем оконным закрывающим средством. При работе скользящий элемент 3320 выполняет такую же функцию, как и паз 50 монтажной пластины 14, что будет описано более подробно ниже.
На фиг.58-61 показан второй альтернативный вариант монтажного кронштейна 6505 для использования с альтернативным вариантом торцевой крышки 6510 верхней поперечины, который включает один пластмассовый цилиндрический элемент 6515 с фланцем, отступающий от торца крышки вдоль продольной оси вращения верхней поперечины 6520. Как показано на фиг.60, второй альтернативный вариант монтажного кронштейна, в типичном случае, содержит вертикально ориентированную пластмассовую пластину 6525, которая по существу параллельна поверхности торцевой крышки, при этом пластина имеет множество проходящих сквозь нее монтажных отверстий 6530 для крепежных средств для прикрепления кронштейна к раме архитектурного проема. От верхней кромки пластины и от задней кромки пластины отступают перпендикулярно пластине и наружу от нее отформованные как единое целое фланцы 6535 и 6540, проходящие по существу параллельно верхней поперечине. Фланцы сходятся в верхнем заднем углу монтажного кронштейна, и каждый из них имеет множество сквозных крепежных отверстий 6545 и 6550. Соответственно, монтажный кронштейн, в альтернативном варианте, можно монтировать на раме архитектурного проема с использованием крепежных отверстий во фланцах. Вблизи передней нижней кромки пластины от внутренней поверхности пластины отступает наружу и по существу перпендикулярно ей полукруглая дугообразная стенка 6555. От дальней кромки стенки отступает на небольшое расстояние радиально внутрь фланец 6560, таким образом, формирующий полукруглый опорный паз 6565, в который с возможностью поворота входит фланец 6570 пластмассового цилиндра торцевой крышки для удерживания верхней поперечины и узла жалюзи в архитектурном проеме. Как лучше видно на фиг.60, открытая сторона опорного паза обращена вверх и вперед под углом около 30-45° к вертикали.
Как показано на фиг.59 и 61, цилиндрический элемент 6515 с фланцем с защелкиванием вставляют в торцевую крышку 6510 верхней поперечины 6520, предотвращая вращение цилиндрического элемента относительно торцевой крышки верхней поперечины. Цилиндрический элемент с фланцем приспособлен для скольжения в продольном направлении внутри верхней поперечины для получения возможности монтажа верхней поперечины в проемах, ширина которых отличается на дюйм или около этого. Цилиндрический элемент с фланцем включает цилиндрическую часть 6575, которая проходит от отверстия в торцевой крышке до дальнего конца в форме круглой пластины 6580, имеющей диаметр, превышающий диаметр цилиндрической части и, таким образом, формирующей круглый фланец. Другой конец цилиндрической части находится внутри торцевой крышки и верхней поперечины, где от него отступают внутрь две противоположные ветви 6585, проходящие в продольном направлении верхней поперечины. Каждая ветвь имеет обращенный наружу зубец 6590, расположенный на ее свободном конце. Зубцы с упругим отклонением проходят в прорези 6595, сформированные в проходящей в поперечном направлении стенке 6600, сформированной в торцевой крышке для ограничения максимального выдвижения цилиндрического элемента с фланцем от поверхности торцевой крышки. Одна из верхней и нижней поверхностей ветвей упирается во внутреннюю поверхность торцевой крышки или верхней поперечины таким образом, что предотвращается вращение цилиндрического элемента с фланцем относительно верхней поперечины. Между проходящей в поперечном направлении стенкой и тыльной стороной круглой пластины проходит спиральная пружина 6605, которая стремится смещать цилиндрический элемент с фланцем в полностью выдвинутое положение.
Для монтажа верхней поперечины 6520 на паре установленных монтажных кронштейнов 6505 во втором альтернативном варианте их выполнения, пользователь (или два пользователя, если жалюзи имеют ширину свыше 4 футов) вдавливает цилиндрические элементы 6515 с фланцами в торцевые крышки 6510 верхней поперечины, как необходимо для совмещения их с соответствующими опорными пазами 6565 в монтажных кронштейнах. Фланцы 6570 цилиндрических элементов затем вставляют в пазы, в результате чего верхнюю поперечину с возможностью вращения закрепляют на месте.
На фиг.9 показано крепление шнуровых лестничных конструкций 26 к верхней поперечине 12. Верхние концы открывающих шнуров 36 каждой шнуровой лестничной конструкции проходят сквозь отверстия, расположенные вблизи передних или задних продольных кромок верхней поперечины 12 в соответствующих точках по длине поперечины. Верхние концы открывающих шнуров 36 завязывают узлом для прикрепления шнуровой лестничной конструкции к верхней поперечине 12. Следует понимать, что возможно применение многих других средств для прикрепления шнуровых лестничных конструкций 26 к верхней поперечине 12, при условии, что соединения достаточно прочны для удерживания веса шнуровых лестничных конструкций 26 и множества створок 24, лежащих на поперечных шнуровых “ступеньках” 38 шнуровых лестничных конструкций.
Нижние концы шнуровых лестничных конструкций 26 (и подъемных шнуров 22) прикрепляют к нижней створке 16, как показано на фиг.10-12. Каждый из нижних концов открывающих шнуров 36 шнуровых лестничных конструкций 26 пропускают сквозь поперечное отверстие в цилиндрическом анкерном блоке 56 и завязывают узлом для прикрепления нижних концов к цилиндрическим анкерным блокам 56. Каждый цилиндрический анкерный блок 56 затем вставляют сквозь имеющее надлежащий размер отверстие 58 в передней или задней продольной кромке нижней створки 16 внутрь нижней створки и поворачивают таким образом, чтобы блок оказался запертым в полом внутреннем пространстве нижней створки. Когда нижнюю створку подвешивают на подъемных шнурах и открывающих шнурах, цилиндры 58 упираются во внутреннюю вогнутую поверхность нижней створки, таким образом, соединяя шнуровые лестничные конструкции с нижней створкой.
На фиг.62-85 показан первый альтернативный вариант выполнения узла нижней поперечины, включающий элемент для регулирования шнура для регулирования длины и крепления открывающих шнуров шнуровой лестничной конструкции и подъемных шнуров. Основные компоненты альтернативного варианта нижней поперечины показаны на фиг.62-67 и включают (I) полупрозрачную пластмассовую шторку 6660, (II) цветную вставку 6655 шторки, (III) проходящий в продольном направлении формованный профиль 6665, и (IV) заднюю кромочную вставку 6670. Для прикрепления различных подъемных шнуров и открывающих шнуров узла жалюзи к нижней поперечине используют множество элементов 6675 для регулирования шнуров, показанных на фиг.68-70. Наконец, применяют торцевые крышки 6680 для закрывания торцов альтернативного варианта нижней поперечины и для получения способа прикрепления вспомогательных монтажных кронштейнов 6685 нижней поперечины к альтернативному варианту узла 6650 нижней поперечины.
Как показано на фиг.62-64, альтернативный вариант 6650 нижней поперечины включает, предпочтительно, полупрозрачную пластмассовую шторку 6660, хотя можно также использовать цветные шторки или шторки, выполненные из альтернативных материалов. Полупрозрачная шторка образована верхней и нижней выпуклыми дугообразными сторонами 6690 и 6695, которые соединяются у передней кромки 6700. Шторка, в целом, имеет сходство со створками узла жалюзи и имеет такие же размеры. Однако в отличие от створок, стороны пластмассовой шторки не сходятся или не соединяются друг с другом в районе общей задней кромки обеих сторон. Точнее, стенки обеих верхней и нижней сторон повернуты внутрь у задних кромок 6705 и 6710, проходя вниз или вверх от соответствующих верхней и нижней сторон и формируя заостренный крюк 6715 с зубцом 6720. Каждый заостренный крюк расположен против другого заостренного крюка и отнесен от него. Как лучше видно на фиг.63, заостренные крюки вставляют в соответствующие верхний и нижний каналы 6725 и 6730, сформированные в проходящем продольно формованном профиле 6665.
Проходящий в продольном направлении формованный профиль 6665 лучше виден на фиг.62 и 65. Формованный профиль, в типичном случае, выполняют из алюминия или магния, хотя также можно использовать пластмассовый формованный профиль. Формованный профиль, в альтернативном варианте выполнения нижней поперечины, служит для нескольких целей. Во-первых, формованный профиль имеет один обращенный вверх верхний канал 6725 и один обращенный вниз нижний канал 6730, которые приспособлены для приема в них заостренных крюков 6715 пластмассовой шторки 6660. В проеме каждого канала находится выступ 6735 и 6740, в результате чего ширина каждого канала в его проеме меньше максимальной ширины соответствующих крюков. Ширина каждого канала увеличивается под выступами. Соответственно, когда крюки вставляют в каналы, зубцы 6720 упруго отклоняются к примыкающей поверхности крюка, пока они не будут вставлены под выступ канала, где зубцы упруго отклоняются назад, в их нормальное положение. Как показано на фиг.63, конец каждого зубца упирается в тыльную сторону соответствующего выступа, эффективно удерживая пластмассовую шторку относительно формованного профиля. Формованный профиль также включает трубчатую часть 6745, которая находится внутри пластмассовой шторки, как лучше видно на фиг.63. Трубчатая часть придает жесткость нижней поперечине и добавляет вес нижней поперечине. Наконец, применен обращенный назад канал 6750. Обращенный назад канал включает горловину 6755, которая открыта назад и имеет меньшую ширину, чем основная полость 6760 канала. Соответственно, на границе горловины и основной полости сформированы два выступа 6765. Задний канал приспособлен для установки с защелкиванием и закрепления в нем задней кромочной вставки 6670 и элементов 6675 для регулирования длины шнуров.
Задняя кромочная вставка 6670 лучше видна на фиг.62 и 66. Вставку, в типичном случае, выполняют из эластомерного материала, чтобы удар нижней поперечины о поверхность, такую как оконное стекло, не повреждал оконное стекло. Открытая кромка 6770 вставки, в типичном случае, закруглена и формирует по существу полукруглое поперечное сечение. От внутренней стороны вставки отступает ножка 6775, имеющая две пары отступающих от нее противоположных зубцов 6780 и 6785. Ножку вставляют в горловину заднего канала, при этом зубцы прижимаются в сторону ножки. Когда расположенная на конце пара зубцов 6785 проходит горловину и входит в основную полость канала, зубцы упруго раздвигаются, запирая вставку на месте посредством упругого вхождения в контакт с выступами заднего канала.
Как показано на фиг.62 и 67, в сочетании с альтернативным вариантом нижней поперечины, можно использовать цветную вставку 6655, особенно, когда используют полупрозрачную шторку 6660. Цветная вставка, в типичном случае, состоит из того же материала, что и створки узла жалюзи. Предпочтительно, вставка представляет собой створку, у которой удалили заднюю кромку, чтобы она могла скользить на место внутри полупрозрачной шторки. Благодаря вставке внутрь полупрозрачной пластмассовой шторки, материал защищен от пыли и грязи, которые могут накапливаться на подоконнике окна, когда нижнюю поперечину опускают к подоконнику, или она другим образом касается подоконника.
Как показано на фиг.68-71, торцевые крышки 6680 применяют для закрывания торцов альтернативного варианта нижней поперечины 6650. Каждую торцевую крышку, в типичном случае, выполняют из формованной пластмассы, и она включает торцевую поверхность 6790 с полусферическим углублением 6795, сформированным в ней в месте, соответствующем оси поворота нижней поперечины. Углубление соответствует вспомогательному монтажному кронштейну 6785 для закрепления нижней поперечины на месте относительно рамы архитектурного проема. Кроме того, торцевая крышка включает отступающие стенки 6800, которые приспособлены для вставки в пластмассовую шторку 6660, предпочтительно, под цветную вставку 6655 для содействия прикреплению торцевой крышки к нижней поперечине. Кроме того, каждая торцевая крышка имеет заднюю кромочную часть 6805 заданной длины, которая со скольжением входит в конец заднего канала 6750 формованного профиля. Внешняя поверхность 6810 задней кромочной части, в типичном случае, закруглена подобно задней кромочной вставке 6670. Длина задней кромочной части такова, что соответствующий элемент 6675 для регулировки длины шнура может упираться в заднюю кромочную часть для выравнивания элемента для регулирования длины шнура в надлежащем положении относительно верхней поперечины и висящих на ней подъемных шнуров и открывающих шнуров.
Как отмечалось выше, полусферическое углубление 6795 приспособлено для соединения с монтажным кронштейном 6685 нижней поперечины. Монтажный кронштейн нижней поперечины лучше виден на фиг.70 и 71. В типичном случае, он представляет собой отформованный как единый элемент пластмассовый L-образный кронштейн, имеющий монтажные отверстия 6815 для крепежных средств в каждой ветви 6820 и 6825 кронштейна, расположенные вблизи пересечения ветвей кронштейна и, таким образом, позволяющие устанавливать кронштейн на вертикальных поверхностях с разной ориентацией. На дальнем конце более длинной ветви 6820 на ее внутренней поверхности как единое целое с ней сформирован полусферический выступ 6830. Полусферический выступ имеет размеры, соответствующие полусферическому углублению в соответствующей торцевой крышке. В результате, нижнюю поперечину можно устанавливать с возможностью поворота и с предотвращением нежелательного раскачивания и вертикального перемещения нижней поперечины посредством помещения нижней поперечины между двумя надлежащим образом установленными монтажными кронштейнами, при этом полусферические выступы вставляют в полусферические углубления. Следует понимать, что когда используют монтажные кронштейны нижней поперечины, узел жалюзи невозможно поднять без предварительного извлечения нижней поперечины из кронштейнов. Закрепление нижней поперечины на месте может быть желательным в некоторых вариантах применения, например, когда закрывают окно на двери. Благодаря фиксированию нижней поперечины, предотвращают раскачивание узла жалюзи вперед и назад каждый раз, когда дверь открывают или закрывают.
На фиг.68-85 показаны различные виды элемента 6675 для регулирования длины шнура. Элемент для регулирования длины шнура выполняет две основные функции: (I) с его помощью прикрепляют открывающие шнуры 6915 и 6925 и подъемные шнуры 6910 и 6920 шнуровой лестничной конструкции к нижней поперечине; и (II) он позволяет легко регулировать длину шнуров для использования в узле жалюзи определенной длины.
Сначала со ссылками на фиг.72-73 будут описаны различные детали элемента 6675 для регулирования длины шнура. Элемент для регулирования длины шнура включает проходящий в продольном направлении задний кромочный элемент 6835, который формирует заднюю кромку альтернативного варианта нижней поперечины 6650 на протяжении частей нижней поперечины, где он установлен. Соответственно, задняя поверхность элемента закруглена подобно задней кромочной вставке 6670. Противоположная сторона заднего кромочного элемента приспособлена для вставки в горловину 6755 заднего канала 6750 формованного профиля 6665.
В районе центра по длине кромочного элемента 6835 расположено отверстие 6845 для шнуров, сквозь которое передний и задний открывающие шнуры 6915 и 6925 и подъемные шнуры 6910 и 6920 проходят на тыльную сторону элемента для регулирования длины шнуров и, в конечном итоге, в задний канал 6750, как показано на фиг.74. Передние подъемный и открывающий шнуры направляют в отверстие для шнуров переднюю направляющую 6840 для шнуров, которая проходит вдоль нижней стороны пластмассовой шторки от ее передней кромки до заднего кромочного элемента. В варианте выполнения элемента для регулирования длины шнуров, показанном на фиг.73, направляющую для шнуров не применяют для центральных и промежуточных подъемных и открывающих шнуров, где передние подъемный и открывающий шнуры не используют, как описано ниже со ссылками на фиг.51 и 52.
Передняя сторона элемента 6675 для регулирования длины шнуров, в целом, и проходящего в продольном направлении заднего кромочного элемента 6835, в частности, показана на фиг.68-69. В дополнение к отверстию 6845 для шнуров, в кромочном элементе выполнены четыре дополнительных отверстия. Двумя крайними отверстиями являются отверстия 6870 для зажимных болтов, которые ввинчивают в зажимные блоки 6855, как будет подробно описано ниже. Отверстия для зажимных болтов приспособлены для приема головок зажимных болтов 6900 заподлицо с поверхностью. Два других отверстия являются резьбовыми отверстиями 6880 для установочных винтов, в которые ввинчивают установочные винты 6905 для крепления элемента подъемного шнура на месте в заднем канале 6750.
На противоположной стороне заднего кромочного элемента 6835 расположены несколько фиксаторов 6880 и 6885. Один обращенный вниз фиксатор 6885 выступает от кромочного элемента под отверстием 6845 для шнуров, и два обращенных вверх фиксатора 6880 выступают от равноудаленных точек справа и слева от обращенного вниз фиксатора. Каждый из фиксаторов приспособлен для защелкивания на месте (или вставки со скольжением в открытый конец формованного профиля) поверх выступов 6765 в заднем канале для закрепления элемента для регулирования длины шнуров на месте, как лучше видно на фиг.83 и 84. Под каждым из обращенных вверх фиксаторов расположено одно из упомянутых выше резьбовых отверстий 6870 для установочных винтов. Как показано на фиг.84, при завинчивании соответствующего установочного винта 6905, он распирает нижнюю сторону горловины 6755 формованного профиля и нижнюю сторону соответствующего обращенного вверх фиксатора 6880 для фиксации за счет трения элемента для регулирования длины шнуров в заднем канале для предотвращения его нежелательного перемещения в продольном направлении вдоль канала.
Как показано на фиг.74, когда шнуры пропущены сквозь отверстие 6845 для шнуров, они проходят влево или вправо в зависимости от того, передние это шнуры или задние. В показанном примере задние шнуры проходят вправо. Как показано на фиг.34, один шнур из пары проходит над ориентированной вертикально направляющей пластиной 6895, по каналу, расположенному в верхней поверхности правого обращенного вверх фиксатора, между зажимным блоком 6855 и тыльной стороной заднего кромочного элемента и из прохода 6875 для шнуров в зажимном блоке в основную полость 6760 заднего канала, где шнур, в типичном случае, заканчивается. Другой шнур из пары показанных передних шнуров проходит под направляющей пластиной в прорези, выполненной в пластине, между зажимным блоком и из прохода для шнуров в зажимном блоке в основную полость, где он также, в типичном случае, заканчивается. Как показано на фиг.84, прорезь, выполненная в нижней кромке пластины 6895, направляет шнур в сторону основной полости заднего канала мимо установочного винта 6905 таким образом, что он не касается шнура. Следует понимать, что задние шнуры проходят подобным образом через подобные компоненты элемента для регулирования длины шнуров влево от отверстия для шнуров.
Зажимный блок 6855 лучше виден на фиг.74 и 82. Он прикреплен к заднему кромочному элементу упругим язычком 6865. В каждом зажимном блоке выполнен вертикальный треугольный канал 6860, который соответствует вертикальному выступу 6850 на заднем кромочном элементе. Когда зажимной блок притягивают к заднему кромочному элементу посредством затягивания зажимного болта 6900, выступ и треугольный канал обжимают шнуры, проходящие поперек них, таким образом, эффективно блокируя шнуры на месте. На фиг.85 показаны левые шнуры, зажатые на месте между зажимным блоком и задним кромочным элементом.
Для регулирования длины подъемных и открывающих шнуров после того, как они пропущены через элемент, как показано на фиг.74, пользователь сначала протягивает шнуры сквозь проход для шнуров в зажимном блоке для получения необходимой длины. Затем пользователь притягивает зажимной блок к заднему кромочному элементу при помощи зажимного болта. Такой же процесс повторяют с другим зажимным блоком. Если элемент для регулирования длины шнуров еще не был помещен в задний канал нижней поперечины, его либо защелкивают на место, либо вставляют со скольжением на место с одного из концов нижней поперечины. Наконец, после установки в надлежащее положение вдоль заднего канала нижней поперечины, элемент для регулирования длины шнуров фиксируют в нужном продольном положении на нижней поперечине посредством ввинчивания установочных винтов в горловину заднего канала.
Как описано выше, каждая створка из множества створок 24 лежит и удерживается на соответствующей “ступеньке” комплекта поперечных “ступенек” 38, как лучше видно на фиг.11. В предпочтительном варианте осуществления изобретения, каждую створку 24 прикрепляют к поперечной “ступеньке” 38 нижней стороной створки одной или более капель клея 60 (как показано) или любым другим пригодным средством. Каждая створка является трехмерным объектом, имеющим двухмерное поперечное сечение и центр тяжести. Благодаря соединению поперечной “ступеньки” 38 ее створкой 24 в точке, находящейся ниже центра тяжести, но по существу на одной линии с ним, когда створка 24 находится в горизонтальном открытом положении, при закрывании створка под действием силы тяжести стремится поворачиваться вокруг точки соединения со шнуровой “ступенькой” и занимать более вертикальное положение. Когда створка наклоняется в закрытое положение, одна половина шнуровой “ступеньки” 38, конец которой соединен с проходящим вертикально открывающим шнуром 36, поднимает соответствующую сторону створки 24, тогда как противоположная половина шнуровой “ступеньки” и примыкающий открывающий шнур 36 опускают их сторону створки. Когда происходит такой наклон, центр тяжести поворачивается в более совмещенное по горизонтали положение относительно точки соединения. Когда створка повернута приблизительно на 45°, створка поворачивается вниз под собственным весом вокруг точки соединения. Когда створка находится в полностью закрытом положении, центр тяжести смещен по горизонтали относительно точки соединения, таким образом, стремясь перевернуть створку. Конечная величина наклона створки ограничена вхождением в контакт с соседней створкой, и это вхождение в контакт создает уплотнение между соседними створками, сквозь которые не может проходить свет. В жалюзи согласно известному уровню техники нет соединения между створками и поперечными “ступеньками”, в результате чего взаимодействие между створками и шнуровыми лестничными конструкциями, на которых они подвешены, приводит скорее к предотвращению такого плотного закрывания до конца хода, чем к содействию этому. Следует отметить, что соединение створки с частью поперечной “ступеньки” еще эффективнее в жалюзи со створками из тонкого металла, несмотря на тот факт, что центр тяжести створок скорее будет ниже точки соединения, чем над ней, когда створки находятся в открытом и горизонтальном положении. С металлическими створками лишь требуется большая величина наклона, значительно более близкая к 90°, чтобы происходило перевертывание. Более полное описание створок, прикрепленных к поперечным “ступенькам”, и их преимуществ можно обнаружить в одновременно рассматриваемой заявке на патент США №10/003097, поданной 6 декабря 2001 года под заголовком “Приводимое в действие лестничной конструкцией закрывающее средство с фиксированными шторками для архитектурных проемов”, которая принадлежит настоящему заявителю и включена сюда посредством ссылки.
Как показано на фиг.2 и 3, перемещение приводной штанги 28 вверх и вниз вызывает открывание или закрывание створок 24.
Предпочтительно, приводную штангу 28 выполняют из алюминия посредством прессования, и она имеет несколько сформированных в ней каналов для приема компонентов, относящихся к подъемному механизму, как будет описано ниже. Верхний конец вертикально ориентированной штанги шарнирно прикрепляют к передней продольной кромке верхней поперечины (вблизи любого конца верхней поперечины в продольном направлении) при помощи верхнего наконечника 62 приводной штанги. Верхний наконечник 62, в типичном случае, надевают на верхний конец приводной штанги 28 и закрепляют на месте. Как показано на фиг.15-17, от вертикальной приводной штанги 28 по существу горизонтально и вверх отступает лапка 64, проходящая в направлении передней продольной кромки верхней поперечины 12, при этом передний конец лапки шарнирно соединен с верхней поперечиной. Верхний наконечник 62 также содержит паз 66 и ролик 68 для приема и направления подъемных шнуров в приводную штангу в дополнение к ролику 70 для соединительного шнура 72 (показан на фиг.23), которые будут описаны более подробно ниже.
На фиг.46-50 показан альтернативный вариант верхнего наконечника 4650 приводной штанги, используемый в сочетании с альтернативным вариантом торцевой крышки 4605 верхней поперечины. Как описано выше в связи с альтернативным вариантом торцевой крышки 4605 верхней поперечины, верхний наконечник 4650 приводной штанги шарнирно прикрепляют к торцевой крышке верхней поперечины при помощи трубчатого осевого выступа 4655. Подъемные шнуры соответствующего оконного узла жалюзи пропускают из внутреннего пространства верхней поперечины 12 через проходящую внутрь часть 4640 трубчатого осевого гнезда 4615 альтернативного варианта торцевой крышки 4605 и затем сквозь трубчатый осевой выступ 4655. Внутри верхнего наконечника расположен ролик 4685 для направления подъемных шнуров вниз, в приводную штангу 28. Верхний наконечник 4650 также включает проходящую вниз часть 4680, которую вставляют в приводную штангу 28 для прикрепления к ней верхнего наконечника. Как лучше видно на фиг.46, верхний наконечник, предпочтительно, выполняют из двух частей, которые соединяют с защелкиванием, склеивают, привинчивают или по другому соединяют между собой вокруг указанного выше ролика. Хотя верхний наконечник можно выполнять из различных материалов и различными способами, предпочтительно, его выполняют из формованной пластмассы.
Как показано на фиг.13 и 14А, к нижнему концу приводной штанги 28 прикрепляют нижний наконечник 74. От нижнего конца вертикальной приводной штанги по существу горизонтально и вниз отступает лапка 76, проходящая в направлении поворотного рычага 80, с которым конец лапки 76 шарнирно соединен. Нижний наконечник также содержит ролик 78 для соединительного шнура. Поворотный рычаг является частью монтажного кронштейна 82 для приводной штанги. Монтажный кронштейн 82 приводной штанги неподвижно прикрепляют к оконной раме вблизи ее нижнего конца. Как показано на фиг.13, поворотный рычаг 80 шарнирно прикрепляют к неподвижной части монтажного кронштейна 82, и он поворачивается по существу в вертикальной плоскости, параллельной торцам створок 24. Поворотный рычаг 80 по существу действует для направления перемещения вверх и вниз приводной штанги 28 и может быть исключен в некоторых альтернативных вариантах осуществления изобретения без существенного влияния на общую работу приводной штанги 28 при качании множества створок 24.
На фиг.37-40 показаны компоненты альтернативного поворотного механизма 4005 для использования с приводной штангой 28 вместо описанного выше нижнего наконечника 74. На фиг.41 показан альтернативный вариант поворотного механизма 4005, прикрепленного к оконной раме, с прикрепленной к нему приводной штангой 28. Как лучше видно на фиг.41, альтернативный вариант поворотного механизма 4005 не соединен с роликом на нижнем конце приводной штанги 28, а расположен выше конца приводной штанги. При необходимости применяют отдельный наконечник (не показан), включающий ролик. Альтернативный вариант поворотного механизма 4005 содержит элемент 3705 для прикрепления к оконной раме, поворотный рычаг 3805 и элемент 3905 для прикрепления приводной штанги. Элемент 3705 для прикрепления к оконной раме имеет по существу L-образную конфигурацию, при этом внешняя поверхность одной ветви 3710 L-образной конфигурации примыкает непосредственно к оконной раме. Выступ 3715, имеющий проходящее сквозь него отверстие 3720, проходит горизонтально от внутренней поверхности одной ветви 3710. Выступ 3715 служит осью для поворотного рычага 3805, который имеет отверстие 3810 вблизи одного конца, устанавливаемого на выступ 3715, как показано на фиг.40. Сквозь оба отверстия 3720 и 3810 проходит винт 4010, которым к оконной раме прикрепляют элемент 3705 для прикрепления к оконной раме и поворотный рычаг 3805. Поворотный рычаг 3805 проходит от элемента 3705 для прикрепления к оконной раме в направлении, параллельном оконной раме. Поворотный рычаг 3805 имеет меньшее отверстие 3815, проходящее сквозь него на другом конце, а также паз 3820, сформированный на другом конце, который проходит перпендикулярно меньшему отверстию 3815. Вертикально ориентированный язычок 3910, отступающий от элемента 3905 для прикрепления приводной штанги, вставляют в паз 3820, в который со скольжением можно вставлять крепежный штифт (не показан) через меньшее отверстие 3815 поворотного рычага 3805 и в небольшое отверстие 3915 в язычке 3910 для шарнирного прикрепления поворотного рычага 3805 к элементу 3905 для прикрепления приводной штанги. Другими словами, типичная вилка в поворотном рычаге образует паз 3820 для приема язычка 3915 крепежного элемента 3905, причем штифт вилки используют для шарнирного соединения язычка с поворотным рычагом. Элемент 3905 для прикрепления приводной штанги включает резьбовое отверстие 3920, проходящее сквозь часть крепежного элемента, которую вставляют в конец приводной штанги 28. Для прикрепления крепежного элемента и поворотного механизма к приводной штанге в резьбовое отверстие 3920 ввинчивают установочный винт 4015, как лучше видно на фиг.40.
На фиг.86-92 показан второй альтернативный вариант поворотного механизма 6005. Второй альтернативный вариант поворотного механизма, в целом, подобен первому альтернативному варианту поворотного механизма по образу его работы и месту его прикрепления к приводной штанге, хотя есть отличия в конструкции и сборке. Как показано на фиг.88, основные компоненты второго альтернативного варианта поворотного механизма включают: (I) элемент 6015 для крепления к оконной раме, (II) элемент 6010 для прикрепления к приводной штанге, (III) поворотный рычаг и (IV) крышку поворотного рычага. Элемент для прикрепления к оконной раме имеет по существу L-образную конфигурацию с монтажными отверстиями 6030, проходящими сквозь каждую из сторон элемента, в которые можно вставлять крепежные средства 6035 винтового типа для прикрепления элемента к обращенной вперед или в боковую сторону поверхности соответствующей оконной рамы 6040. От внутренней поверхности одной ветви элемента для прикрепления к оконной раме по существу горизонтально отходит по существу цилиндрический выступ 6045. Выступ служит осью для поворотного рычага, как описано ниже. Выступ также включает выступающие наружу фиксаторы 6050, которые предназначены для вставки в противоположные вырезы 6125 в соответствующем отверстии 6055 в поворотном рычаге.
Элемент 6010 для прикрепления приводной штанги вставляют внутрь прессованной приводной штанги 6060 в альтернативном варианте ее выполнения. Как показано на фиг.86, альтернативный вариант приводной штанги конфигурирован не так, как приводная штанга 28, используемая с другими вариантами выполнения поворотного механизма. Альтернативный вариант приводной штанги также используют с альтернативным вариантом подъемного механизма с шариком и клином, подробно описанным ниже. Крепежный элемент вставляют во внутренний канал 6065 приводной штанги, и он включает два резьбовых отверстия 6070, в которые ввинчивают установочные винты 6075 для фиксации крепежного элемента между передней стенкой 6080 проходящего в продольном направлении внутреннего канала 6095 и противоположными выступами 6085, ограничивающими проходящий в продольном направлении паз 6090 альтернативного варианта приводной штанги. От корпуса крепежного элемента 6010 выступает по существу вертикально ориентированный язычок 6100, имеющий проходящее сквозь него горизонтальное отверстие 6105 для шарнирного соединения с поворотным рычагом 6020. Следует понимать, что подобно элементу для прикрепления приводной штанги первого альтернативного варианта поворотного механизма, крепежный элемент во втором варианте выполнения также можно прикреплять к приводной штанге в любом месте по ее длине, хотя, в типичном случае, крепежный элемент следует прикреплять к приводной штанге вблизи ее нижнего конца.
Поворотный рычаг 6020 шарнирно соединен с приводной штангой и с элементами прикрепления к оконной раме. Выступ 6110 поворотного рычага, отформованный как единое целое с рычагом и отступающий от него на одном конце, вставляют в соответствующее горизонтальное отверстие 6105 в язычке 6100 элемента для прикрепления приводной штанги. Крышка 6025 поворотного рычага имеет три отформованных как единое целое с ней пальца 6115, которые с защелкиванием вставляют в соответствующие отверстия 6120 в поворотном рычаге, включая отверстие в выступе поворотного рычага, для закрепления с возможностью поворота язычка 6100 на одном конце поворотного рычага. На фиг.89 и 90 показано шарнирное соединение поворотного рычага с элементом для прикрепления к оконной раме. Как показано, поворотный рычаг ориентируют так, чтобы противоположные вырезы в отверстии 6055 поворотного рычага и продольная ось рычага были ориентированы по существу вертикально. Затем в отверстие со скольжением вставляют цилиндрический выступ 6045, при этом выступающие фиксаторы 6050 проходят в вырезы 6125, как показано на фиг.90. При повороте поворотного рычага вокруг выступа выступающие части фиксаторов перемещаются по внутренней поверхности 6130 рычага, предотвращая отделение рычага от элемента 6015 для прикрепления к оконной раме, пока рычаг не будет ориентирован вертикально вверх или вниз. После защелкивания на месте упомянутой выше крышки поворотного рычага поворотный механизм имеет завершенный вид, лучше показанный на фиг.86 и 87.
На фиг.91 и 92 показан поворотный рычаг 6020 второго альтернативного варианта поворотного механизма в положениях, которые соответствуют полностью открытому положению и одному из полностью закрытых положений соответствующего узла жалюзи. Как ясно видно, даже когда узел жалюзи находится в полностью закрытом положении, по меньшей мере, часть выступающих частей фиксаторов остается наложенной на внутреннюю поверхность поворотного рычага, таким образом, предотвращая отделение поворотного рычага от элемента 6015 для прикрепления к оконной раме. Обычно для отсоединения элемента прикрепления к оконной раме от поворотного рычага следует снять крышку поворотного рычага, отделить язычок элемента 6010 для прикрепления приводной штанги от поворотного рычага, после чего следует повернуть поворотный рычаг в вертикальное положение для совмещения вырезов с выступающими фиксаторами.
На фиг.1-3 и 15-17 показано качание створок в предпочтительном варианте осуществления изобретения. На фиг.1 показан узел 10 жалюзи в выдвинутом положении, когда он по существу накрывает все окно створками 24 в их горизонтальном открытом положении, в котором через них проходит максимальное количество света. На фиг.15 показано положение нагруженных пружинами штифтов 44 и 46 торцевой крышки 34 верхней поперечины, когда створки находятся в открытом положении. Центральный штифт 44 находится в переднем конце горизонтального паза 50, а задний штифт 46 находится в точке пересечения ветвей V-образного паза 52, расположенной по вертикали в центре V-образного паза. На фиг.15 показан узел 10 жалюзи, установленный в окне, которое неглубоко встроено в стену таким образом, что центральный штифт 44 верхней поперечины 12 должен располагаться перед поверхностью стены, когда створки 24 открыты, чтобы задняя продольная кромка верхней поперечины 12 и соответствующие расположенные ниже нее створки 24 не задевали оконное стекло.
При перемещении приводной штанги 28 вниз, как показано на фиг.2, створки 24 могут наклоняться в первое закрытое положение. Как можно видеть на фиг.16, когда верхнюю поперечину 12 поворачивают по часовой стрелке, передняя продольная кромка верхней поперечины перемещается вниз, а задняя или тыльная продольная кромка перемещается вверх. Как будет понятно, задние открывающие шнуры 36 шнуровых лестничных конструкций 26 также натягиваются вверх, поскольку верхние концы задних открывающих шнуров 36 прикреплены к задней продольной кромке верхней поперечины 12. Одновременно, передние открывающие шнуры 36 опускаются. Это вызывает поворот шнуровых “ступенек” и лежащих на них створок 24 также по часовой стрелке, при этом верхняя сторона створки, находящаяся вблизи ее задней продольной кромки, входит в контакт с нижней стороной вблизи передней продольной кромки створки, расположенной непосредственно над ней. Когда верхняя поперечина 12 поворачивается по часовой стрелке, центральный штифт 44 стремится перемещаться назад в горизонтальном пазу 50, тогда как V-образный паз 52 направляет задний штифт 46 вверх. Это перемещение штифтов вызывает перемещение задней продольной кромки верхней поперечины назад, в положение непосредственно под верхней стороной оконной рамы, что, таким образом, обеспечивает лучшую защиту от света, чем если бы верхняя поперечина не наклонялась внутрь. Перемещение верхней поперечины назад также вызывает перемещение внутрь остальной части узла 10 жалюзи, висящей на верхней поперечине, таким образом, что узел жалюзи близко примыкает к оконному стеклу и по существу находится в пределах оконной рамы, когда створки 24 закрыты, и створки по существу не выступают существенно за пределы поверхности соответствующей стены. Это обеспечивает лучшую изоляцию от света между вертикальными сторонами оконной рамы и концами створок, чем та, которую можно было бы получить, когда створки не двигались бы в поперечном направлении в сторону оконного стекла.
При перемещении приводной штанги вверх, как показано на фиг.3, створки могут быть повернуты во второе закрытое положение. Как можно видеть на фиг.17, когда верхняя поперечина 12 поворачивается против часовой стрелки, передняя продольная кромка верхней поперечины перемещается вверх, а задняя продольная кромка верхней поперечины перемещается вниз. Как будет понятно, передние открывающие шнуры 36 шнуровых лестничных конструкций 26 также натягиваются вверх, поскольку верхние концы передних открывающих шнуров 36 прикреплены к передней продольной кромке верхней поперечины 12. Одновременно, задние открывающие шнуры 36 опускаются. Это вызывает поворот также против часовой стрелки шнуровых “ступенек” 38 и лежащих на них створок 24, при этом верхняя сторона створки, находящаяся вблизи ее задней продольной кромки входит в контакт с нижней стороной вблизи передней продольной кромки створки, расположенной над ней. Когда верхняя поперечина 12 поворачивается против часовой стрелки, центральный штифт 44 стремится перемещаться назад в горизонтальном пазу 50, тогда как V-образный паз 52 направляет задний штифт 46 вниз. Это перемещение штифтов вызывает перемещение верхней продольной кромки верхней поперечины назад, в положение непосредственно под верхней стороной оконной рамы и вблизи оконного стекла, таким образом, обеспечивая лучшую изоляцию света, чем если бы верхняя поперечина не перемещалась внутрь. Перемещение верхней поперечины назад или в поперечном направлении также вызывает перемещение остальной части узла 10 жалюзи, висящей на верхней поперечине, внутрь, таким образом, что узел жалюзи по существу находится в пределах оконной рамы и переплета, когда створки 24 закрыты, и створки по существу не выступают за пределы поверхности соответствующей стены. Как описано выше, это обеспечивает лучшую изоляцию света между вертикальными сторонами оконной рамы и концами створок, чем можно было бы получить, если бы створки не перемещались внутрь.
Для перемещения створок из обоих закрытых положений в открытое положение приводную штангу 28 перемещают либо вверх, либо вниз, в зависимости от первоначального закрытого положения створок. Одна кромка верхней поперечины 12 перемещается вверх, натягивая соответствующие открывающие шнуры 36, тогда как другая кромка перемещается вниз. Перемещение открывающих шнуров 38 вызывает поворот соединенных с ними шнуровых “ступенек” 38 и соответствующих створок в их горизонтальное положение. Когда верхняя поперечина перемещается в горизонтальное положение, центральный штифт 44 стремится перемещаться вперед в горизонтальном пазу 50, тогда как V-образный паз 52 направляем задний штифт либо вверх, либо вниз к точке пересечения двух ветвей V-образной конфигурации. Соответственно, верхняя поперечина 12 и висящее на ней множество створок 24 перемешаются в поперечном направлении наружу от архитектурного проема. При установке на неглубоко заделанном в стену окне, это перемещение в поперечном направлении наружу дает возможность не касаться задними кромками створок оконного стекла.
На фиг.42 и 43 показано наклоняющее действие альтернативного варианта закрывающего узла для окна, в котором используют альтернативный вариант монтажного кронштейна 3305 и альтернативный вариант поворотного механизма 4005. В целом, альтернативный вариант монтажного кронштейна и альтернативный вариант поворотного механизма работают так же, как описанные выше. На фиг.42 створки 24 показаны в горизонтальном открытом положении. В открытом положении передний центральный штифт 44 находится в самом переднем положении, при этом оконечность 48 штифта находится в пазу 3370 скользящего элемента 3320, и скользящий элемент находится в выдвинутом, самом переднем положении в монтажном кронштейне 3305. Выскальзывание скользящего элемента 3320 из внутреннего и внешнего элементов 3315 и 3310 предотвращается благодаря столкновению широкой задней части 3360 скользящего элемента 3320 с узкой первой частью 3350 горизонтального паза 3345. Скользящий элемент может выступать за пределы передней поверхности оконной рамы таким образом, что широкие створки 24 могут не касаться поверхности окна, когда они находятся в открытом положении. Кроме того, в открытом положении поворотный рычаг 3810 альтернативного варианта поворотного механизма 4005 находится в полностью выдвинутом и горизонтальном положении.
При перемещении приводной штанги 28 вниз, створки 24 могут наклоняться в первое закрытое положение. Как показано на фиг.43, верхняя поперечина 12 поворачивается по часовой стрелке, при этом передняя продольная кромка верхней поперечины перемещается вниз, а задняя или тыльная продольная кромка верхней поперечины перемещается вверх. Когда верхняя поперечина 12 поворачивается по часовой стрелке, центральный штифт 44 стремится перемещаться назад, сначала в пазе 3370, пока он не достигнет конца паза, и затем вызывая скольжение скользящего элемента 3320 назад, во внешний и внутренний элементы 3310 и 3315 монтажного кронштейна вдоль паза 3345. Поскольку передний и задний штифты находятся на фиксированном расстоянии друг от друга, оконечность 49 заднего штифта скользит по существу вверх в криволинейном пазу 3335. Это перемещение вызывает поворот верхней поперечины 12 внутрь, и перемещение задней продольной кромки верхней поперечины по существу вверх, в положение непосредственно под верхней стороной оконной рамы, таким образом, обеспечивая лучшую изоляцию света, чем если бы верхняя поперечина не поворачивалась внутрь. В отличие от монтажной пластины 14, альтернативный вариант монтажного кронштейна 3305 находится целиком в пределах оконной рамы в закрытых положениях таким образом, что никакие элементы оконного узла жалюзи не выступают за пределы оконной рамы, что желательно с эстетической точки зрения. В закрытом положении скользящий элемент 3320 задвинут за криволинейную поверхность 3325 монтажного кронштейна 3305. Как видно на фиг.43, верхняя поверхность верхней поперечины 12 по существу совмещена с криволинейной поверхностью монтажных кронштейнов, придавая закрытому оконному узлу очень опрятный и цельный вид и усиливая сходство оконного узла жалюзи со ставнями.
В других альтернативных вариантах выполнения узла жалюзи можно использовать верхнюю поперечину, имеющую только один центральный штифт на каждом конце, с соответствующими монтажными кронштейнами, каждый из которых имеет одно отверстие для приема центрального штифта. Кроме того, можно также использовать второй альтернативный вариант монтажного кронштейна и приспособленные к нему верхние поперечины. Следует понимать, что верхняя поперечина и соответствующие расположенные под ней створки не будут перемещаться в поперечном направлении при закрывании, но такое перемещение может не быть необходимым, когда узел жалюзи используют на окне, которое вмонтировано более глубоко внутрь от внутренней поверхности стены. Ниже подробно описаны другие альтернативные варианты монтажных кронштейнов и связанные с ними конфигурации верхних поперечин, которые допускают поворотное перемещение верхней поперечины относительно ее монтажных кронштейнов.
Желательно, когда створки узла жалюзи полностью наклонены либо в первое, либо во второе положение, чтобы поднятые открывающие (поворотные) шнуры 36 были натянуты, а опущенные открывающие шнуры 36 были ослаблены относительно их соединения с верхней поперечиной 12. Соответственно, первоначально горизонтальные поперечные шнуровые “ступеньки” 38 располагаются по существу вертикально, вплотную к поднятым открывающим шнурам 36. В идеальном варианте поперечные шнуровые “ступеньки” 38 поддерживаются сверху только их соединением с поднятыми открывающими шнурами 36. В этой конфигурации створки 24 жалюзи стремятся наклониться как можно ближе к полностью вертикальному положению, и их поворот ограничен только вхождением в контакт с кромками соседних створок 24, что обеспечивает эффективную изоляцию света. Следует понимать, что в некоторых сложных известных узлах жалюзи высшего класса используют барабан кулачковой конфигурации внутри поворотного механизма, который вызывает перемещение опущенных открывающих шнуров вниз на большее расстояние, чем то, на которое поднятые открывающие шнуры перемещаются вверх, таким образом, содействуя обеспечению того, что опущенные открывающие шнуры будут ослаблены, находясь в полностью наклоненном положении.
В предпочтительном варианте осуществления изобретения верхняя поперечина 12, которая шире, чем множество створок 24, которые свисают с нее, задумана как дающая такой же результат, как барабан кулачковой конфигурации сложных механизмов известного уровня техники. Один открывающий шнур 36 каждой шнуровой лестничной конструкции 26 прикрепляют к передней кромке верхней поперечины 12, а другой открывающий шнур 36 прикрепляют к задней кромке. Как показано на фиг.30 и 31, когда верхняя поперечина 12 наклоняется из открытого горизонтального положения в почти вертикальное закрытое положение, один открывающий шнур 36А шнуровой лестничной конструкции 26 перемещается по существу вверх на расстояние, равное половине ширины верхней поперечина 12, таким образом, поднимая точку 61 соединения открывающего шнура 36 и первой шнуровой “ступеньки” 38 на такое же расстояние. Другой открывающий шнур 36В одновременно опускается на расстояние, равное половине ширины верхней поперечины 12. Другая точка 63 соединения также опускается; однако, поскольку длина поперечной шнуровой “ступеньки” 38 меньше перепада высот при перемещении открывающих шнуров 36, часть опущенного открывающего шнура 36В, находящаяся над точкой 63 соединения, полностью разгружается и становится ненатянутой. Соответственно, весь вес свисающих створок 24 удерживают поднятые открывающие шнуры 36А через точки соединения в местах нанесенных капель 60 клея на поперечных “ступеньках” таким образом, что опущенные открывающие шнуры 36В не прикладывают противодействующее усилие через соединения 63 к соответствующим шнуровым “ступенькам” 38, которое может предотвращать поворот створок 24 как можно ближе к вертикальному положению.
Отношение ширины верхней поперечины 12 к ширине висящих на ней створок 24 также очень важно. Если верхняя поперечина 12 слишком широка, висящие на ней створки 24 будут достигать закрытого положения до того, как верхняя поперечина полностью повернется, в результате чего получают неоднородный внешний вид, когда жалюзи находятся в закрытом положении. Кроме того, если разность размеров между верхней поперечиной 12 и висящими на ней створками 24 слишком велика, это может быть слишком эстетически непривлекательным, когда размер верхней поперечины будет ухудшать внешний вид, в противном случае, однообразных створок. Было обнаружено, что оптимальная ширина верхней поперечины, которая наилучшим образом обеспечивает полное закрывание висящих на ней створок и не портит эстетического восприятия узла жалюзи, на 10-15% превышает ширину створок 24, которые на ней висят. Однако, как минимум, расстояние между точками соединения открывающих шнуров шнуровой лестничной конструкции с верхней поперечиной 12 должно быть, по меньшей мере, равным ширине створок 24 или расстоянию между соответствующими точками 61 и 63 соединения поперечных “ступенек”.
Конструкция узла жалюзи, связанная с подъемом и опусканием створок, и ее работа
Как описано выше, на узле 10 жалюзи по горизонтали разнесены соответствующие комплекты передних и задних подъемных шнуров. Их прикрепляют к нижней створке 16, как показано на фиг.10-13 и как описано в предшествующем разделе. Подъемные шнуры 22 располагаются рядом с открывающими шнурами 36, переплетаются с ними и периодически переплетаются с шнуровыми “ступеньками” 38 шнуровых лестничных конструкций 26, как показано на фиг.8. Подъемные шнуры 22 проходят сквозь отверстия в верхней поперечине 12 в полое пространство верхней поперечины, и, как лучше видно на фиг.9, подъемные шнуры 22 направляются первым комплектом роликов 30, расположенных вблизи отверстий, в сторону собирающего ролика 32, расположенного на одном конце верхней поперечины 12. Собирающий ролик 32 расположен вблизи точки, в которой к передней продольной кромке верхней поперечины шарнирно прикреплен верхний наконечник 62 приводной штанги 28. От собирающего ролика 32 множество подъемных шнуров 22 проходит сквозь другое отверстие в верхней поперечине и в паз 66, сформированный в лапке 64 верхнего наконечника 62, как показано на фиг.15. В альтернативном варианте подъемные шнуры проходят сквозь отверстие в проходящей внутрь части 4640 торцевой крышки верхней поперечины внутри пружины 4620 и в альтернативный вариант верхнего наконечника 4650 сквозь отверстие в конце трубчатого выступа 4655. Далее подъемные шнуры 22 проходят поверх направляющего стержня или ролика 70 или 4685 во внутренний канал 84 приводной штанги 28. Наконец, как показано на фиг.23, подъемные шнуры заканчиваются на крепежном цилиндре 88 внутри первой подъемной рукоятки 90.
В одном варианте осуществления изобретения, показанном на фиг.21, подъемные элементы 90 и 92 с возможностью скольжения вставляют в отдельные соседние каналы 84 и 86, сформированные в приводной штанге 28. Каналы имеют противоположные вертикально ориентированные пазы 94, которые проходят сквозь соответствующие наружные боковые стенки 96 приводной штанги 28 по всей длине приводной штанги. Каждый подъемный элемент 90 и 92 содержит корпус 98, а первый подъемный элемент дополнительно содержит блокирующий узел 100 для прикрепления множества подъемных шнуров 22 к первому подъемному элементу 90 и закрепления створок 24 на месте в необходимом положении по вертикали.
Как показано на фиг.21-23, корпус 98 включает верхнюю и нижнюю стенки 102 и 104, имеющие длину и ширину, которые немного меньше длины и ширины канала 84 или 86, в который вставлен корпус 98. Верхняя и нижняя стенки 102 и 104 включают проходящие сквозь них отверстия 106 для вставки и закрепления завязанного узлом конца соединительного шнура 72 или 73. Верхняя и нижняя стенки 102 и 104 соединены, по меньшей мере, одной боковой стенкой 106. От боковых стенок 106 каждого корпуса перпендикулярно ей отступают выступы 108, проходящие сквозь упомянутые выше пазы в боковых стенках приводной штанги и конфигурированные так, что они образуют захваты 110 для пальцев, которые можно использовать для скользящего перемещения подъемных элементов 90 и 92 вверх и вниз. Наконец, каждый корпус 98 включает частичную боковую стенку 112, расположенную напротив боковой стенки 106, причем частичная боковая стенка 112 проходит вверх от нижней стенки 104 приблизительно на 1/5 длины корпуса 98. Корпус 98 первого подъемного элемента (или первый корпус) также включает отверстие 114 в верхней стенке 102, сквозь которое может проходить множество подъемных шнуров 22.
Корпуса 98 содержатся внутри соответствующих каналов 84 и 86 приводной штанги, как показано на фиг.21 и 23. Первый соединительный шнур 92 закрепляют в отверстии 106 в нижней стенке 104 первого корпуса 98, при этом он проходит вниз в одном канале 84 и поверх ролика 78, расположенного в нижнем наконечнике 74. Далее первый соединительный шнур 92 проходит вверх по другому каналу 86, где он закреплен узлом в отверстии 106 в нижней стенке 104 другого корпуса 98. Второй соединительный шнур 73 закреплен узлом в отверстии 106 в верхней стенке 102 первого корпуса 98, при этом он проходит вверх в канале 84 и поверх ролика 70 для соединительного шнура, расположенного в верхнем наконечнике 62. Далее второй соединительный шнур 73 проходит вниз по другому каналу 86, в котором он закреплен узлом в отверстии 106 в верхней стенке 102 другого корпуса 98. В рабочем положении создается замкнутая петля, действующая таким образом, что скольжение одного подъемного элемента в одном направлении, вызываемое воздействием на соответствующий захват для пальцев, приводит к перемещению другого подъемного элемента в противоположном направлении. Преимущество состоит в том, что человек невысокого роста может доставать, по меньшей мере, до одного из подъемных элементов смонтированного узла жалюзи для подъема или опускания створок независимо от первоначального положения створок.
Блокирующий узел 100 первого подъемного элемента 90 лучше виден на фиг.22-26. Блокирующий узел 100 содержит удлиненный базовый элемент 116, имеющий длину, которая, по меньшей мере, составляет отрезок, меньший, чем расстояние между нижней поверхностью верхней стенки и верхней поверхностью нижней стенки корпуса, по причине, которая будет понятна позже. Базовый элемент 116 вставляют в первый корпус 98 между верхней и нижней стенками 102 и 104, при этом базовый элемент 116 имеет ширину, которая лишь немного меньше расстояния между боковой стенкой 106 корпуса и противоположной частичной боковой стенкой 112. Базовый элемент 116 включает проходящее сквозь него горизонтальное отверстие 118 и вырез в районе горизонтального отверстия 118. Горизонтальное отверстие 118 имеет размеры, приспособленные для приема одного конца крепежного цилиндра 88, вокруг которого проходят петлей или завязаны узлом концы подъемных шнуров 22. Базовый элемент 116 также включает: (I) горизонтальное отверстие 120 для поворотного штифта, имеющее размеры, приспособленные для приема поворотного штифта клинового кулачка 122, (II) резьбовое отверстие 125 для приема крепежного винта, расположенное между двумя отверстиями. Когда крепежный цилиндр 88 и поворотный штифт с клиновым кулачком 122, с возможностью поворота установленным на нем, помещены в соответствующие отверстия в базовом элементе 116, поверх концов цилиндра и поворотного штифта помещают крепежную пластину 124 и прикрепляют к базовому элементу 116 винтом, который проходит сквозь отверстие в крепежной пластине 124 и ввинчивается в резьбовое отверстие 125 базового элемента 116.
Клиновой кулачок 122 лучше виден на фиг.25 и 26. Клиновой кулачок включает контактную кромку 126, которая имеет верхнюю секцию 126а и нижнюю секцию 126b. Верхняя секция 126а по существу параллельна и в нормальном положении прижата к внутренней боковой стенке 128 соответствующего канала 84 приводной штанги, примыкающей к частичной боковой стенке 112 первого корпуса 98. Нижняя секция 126b имеет дугообразную форму и изгибается, отходя от боковой стенки 128 приводной штанги, пока она не закончится в точке пересечения с нижней кромкой 130 клинового кулачка 122. Клиновой кулачок 122 также включает дугообразную пружинистую ветвь 132, которая направлена вверх от корпуса клинового кулачка 122 и удерживается горизонтальной поверхностью 134 базового элемента 116, таким образом, прижимающего контактную кромку 126а к внутренней боковой стенке 128 канала 84. В предпочтительном варианте осуществления изобретения, клиновой кулачок 122 выполняют из полиуретанового материала, который имеет хорошие характеристики по сохранению размеров, но также обладает высоким коэффициентом трения между контактной поверхностью 126 клинового кулачка 122 и внутренней поверхностью боковой стенки 128.
В рабочем положении, для того, чтобы поднять или убрать створки 24 узла 10 жалюзи из положения, показанного на фиг.4, в положение, показанное на фиг.5, пользователь будет либо тянуть вниз захваты 110 для пальцев подъемного элемента 90, либо поднимать захваты 110 для пальцев другого подъемного элемента 92. Когда створки поднимают, первый подъемный элемент 90, в котором расположен клиновой кулачок 122, перемещается вниз в канале 84 приводной штанги. Поскольку клиновой кулачок 122 предназначен только для предотвращения нежелательного перемещения вверх первого подъемного элемента 90, он не препятствует перемещению вниз первого подъемного элемента 90. Фактически, перемещение вниз первого подъемного элемента 90 относительно боковой стенки 128 канала приводной штанги вызывает поворот верхней секции 126а контактной кромки по часовой стрелке с отходом от боковой стенки 128 канала приводной штанги (как показано на фиг.26).
Когда створки подняты в необходимое положение, и пользователь освободил захваты 110 для пальцев подъемных элементов, сила тяжести, воздействующая на нижнюю створку 16, начинает тянуть нижнюю створку вниз и сообщает натяжение подъемным шнуром 22. Это натяжение вызывает оттягивание вверх первого подъемного элемента в его канале 84. Когда первый подъемный элемент оттягивается вверх на очень небольшое расстояние, клиновой кулачок 122 поворачивается против часовой стрелки под воздействием пружинистой ветви 132 и трения между внутренней боковой стенкой 128 канала и контактной кромкой 126а кулачка. Верхняя секция 126а контактной кромки расходится клином вниз, в сторону внутренней боковой стенки 128 канала и упирается в нее, таким образом, удерживая первый подъемный элемент 90 и соединенные с ним створки в необходимом положении по вертикали.
В нормальном положении нижняя поверхность верхней стенка 102 корпуса 98 лежит на верхней кромке базового элемента 116 крепежного узла, как показано на фиг.25, таким образом, создавая небольшой зазор между верхней поверхностью нижней стенки 104 корпуса и нижней кромкой базового элемента 116. Кроме того, небольшой зазор создается между нижней кромкой кулачка 122 и верхней кромкой 136 частичной боковой стенки 112. Этот небольшой зазор обеспечивает для клинового кулачка 122 достаточное пространство для поворота к боковой стенке 128 канала и закрепления крепежного узла 100 и створок на месте в вертикальном направлении. Когда пользователь перемещает любой из захватов 110 для пальцев в необходимом направлении для опускания створок, первый корпус 98 перемещается вверх, пока зазор между нижней кромкой базового элемента 116 и верхней поверхностью нижней стенки 104 не будет ликвидирован, и, что более важно, верхняя кромка 136 частичной боковой стенки 112 не столкнется с нижней кромкой 130 клинового кулачка 122, перемещая и поворачивая верхнюю секцию 126а контактной кромки 126 вверх, таким образом, освобождая первый подъемный элемент 90 для его перемещения вверх. Пока частичная боковая стенка 112 отталкивает верхнюю секцию 126а контактной поверхности 126 от внутренней боковой стенки 128 канала 84, створки 24 могут опускаться, чему содействует сила тяжести, частично создаваемая весом нижней створки 16. Когда пользователь отпускает захваты 110 для пальцев, корпус 98 возвращается в его нормальное положение, создавая достаточное расстояние между нижней поверхностью клинового кулачка 122 и верхней кромкой 136 частичной боковой стенки 112 и позволяя контактной поверхности 126 кулачка перемещаться в контакт с внутренней боковой стенкой 128, как описано выше, и, таким образом, блокировать створки на месте.
Следует понимать, что подъемные элементы и связанные с ними конструкции описаны только с иллюстративной целью. Можно использовать другие способы и конструкции для получения преимуществ описанного узла и подъемного элемента и приводной штанги. Например, можно изменить средство для соединения подъемных шнуров с подъемным элементом. Например, шнуры можно пропускать сквозь одно или более отверстий в базовом элементе и завязывать узлом для закрепления их на месте. Кроме того, в других вариантах можно использовать другое средство для блокирования подъемного элемента на месте на приводной штанге или в ней с использованием или без использования поворотного кулачка. В других вариантах осуществления изобретения второй подъемный элемент можно исключить.
На фиг.24 показан первый альтернативный вариант выполнения подъемного механизма, в котором множество проходящих вниз подъемных шнуров 18 проходит петлей вокруг цилиндра 88 (который может быть заменен роликом), проходит вверх по каналу 84 и прикреплено к верхнему наконечнику 62. Это устройство дает человеку, использующему подъемные элементы, двойное преимущество, благодаря которому перемещение подъемного элемента на один дюйм приводит к перемещению нижней створки на два дюйма.
На фиг.93-102 показан второй альтернативный вариант подъемного механизма 6150. Как показано на фиг.93 и 96, подъемный механизм с возможностью скольжения вставляют во внутренний канал 6065 прессованного альтернативного варианта приводной штанги 6060 при помощи проходящего в продольном направлении паза 6090. Как показано в виде с пространственным разделением деталей на фиг.95, основные компоненты второго альтернативного варианта подъемного механизма содержат: (I) блокирующий механизм 6155, включающий основной корпус 6160 подъемного механизма, (II) дугообразный захват 6165 для пальцев и (III) рычаг 6170 для снятия блокировки.
Как лучше видно на фиг.95, вблизи верхнего конца основного корпуса 6160 второго альтернативного варианта подъемного механизма сформирована выемка 6175 для ролика. В выемку для ролика из соответствующих передней и задней ее стенок 6185 и 6190 проходят два выровненных друг с другом небольших горизонтальных отверстия 6180, которые лучше видны на фиг.102. В отверстия входит штифт 6195 ролика, который проходит сквозь центр ролика 6200 для подъемного шнура, и ролик для подъемного шнура, соответственно, с возможностью вращения удерживается в полости для ролика. Таким же образом, как описано выше относительно первого альтернативного варианта подъемного механизма, один или более подъемных шнуров 18 проходят вокруг ролика и заканчиваются в верхнем наконечнике альтернативного варианта приводной штанги 6060. Левая боковая стенка 6205 (как лучше видно на фиг.95) проходит вниз от выемки для ролика вблизи левой стороны канала 6095 приводной штанги. Верхняя часть 6210 внутренней поверхности левой стенки проходит вертикально вниз на небольшое расстояние до перехода в сужающуюся часть 6215, которая отклоняется внутрь, направо под острым углом. Сужающаяся часть заканчивается в точке пересечения с нижней частью 6220 левой стенки, которая проходит вертикально вниз до нижней части 6225 основного корпуса. Соответственно, расстояние по горизонтали между внутренней поверхностью левой боковой стенки и противоположной правой стенкой 6230 канала 6095 приводной штанги больше в верхней части, чем в нижней части. Следует понимать, что по существу вся нижняя часть, левая стенка и конструкция, содержащая выемку для ролика, находятся внутри канала 6095 приводной штанги с возможностью скольжения внутри нее.
Возвращаясь к фиг.95 отметим, что между задними поверхностями задних боковых стенок 6240 и 6245 выемками для ролика и нижней части и соответствующими боковыми стенками 6250 и 6255 фиксатора сформированы проходящие вертикально пазы 6235. Пазы принимают выступы 6085 альтернативного варианта приводной штанги, когда проходящие назад соединения 6260 между задними боковыми стенками и соответствующими верхними и нижними стенками фиксатора вставляют в паз 6090 между выступами. Соответственно, стенки 6250 и 6255 фиксатора располагаются снаружи от канала 6065 приводной штанги. Верхняя и нижняя лапки 6265 и 6270 фиксатора выступают назад и по существу горизонтально от соответствующих верхней и нижней стенок фиксатора на основном корпусе в разнесенных по вертикали точках, при этом верхний зубец 6275 фиксатора обращен вверх, а нижний зубец 6280 фиксатора обращен вниз. Как лучше видно на фиг.102, зубцы с защелкиванием соединяются с соответствующими верхним и нижним выступами 6285 и 6290, сформированными в дугообразном захвате 6265 для пальцев, как будет описано более подробно ниже.
Как показано на фиг.95, блокирующий механизм также включает взаимодействующий с клиновидной поверхностью пластмассовый шарик 6295, спиральную пружину 6300 и концевой колпачок 6305 пружины. Как лучше видно на фиг.97, в нормальном положении шарик нагружен пружиной, воздействующей на него через концевой колпачок, в направлении пространства между наклонной частью и правой стенкой приводной штанги в ее нормальном положении. Взаимодействующий с клиновидной поверхностью шарик имеет диаметр, который меньше расстояния между верхней частью 6210 левой боковой стенки 6205 и правой боковой стенкой 6230 канала приводной штанги, но больше расстояния между нижней частью 6220 левой боковой стенки и правой боковой стенкой канала приводной штанги. Соответственно, когда к основному корпусу 6160 подъемного механизма подъемными шнурами 18 прилагают направленное вверх усилие, шарик оказывается между клиновидной частью и правой стенкой, таким образом, заклинивая основной корпус на месте и предотвращая его скольжение вверх в канале 6065 приводной штанги. Соответственно, створки узла жалюзи, которые соединены с основным корпусом одним или более подъемных шнуров 18, удерживаются на месте.
Для освобождения взаимодействующего с клиновидной поверхностью шарика 6295 и получения возможности скольжения подъемного механизма вверх или вниз для регулирования высоты расположения створок используют в комбинации дугообразный захват 6165 для пальцев и рычаг 6170 для снятия блокировки. Как показано на фиг.93, 94, 95 и 102, захват для пальцев проходит по существу назад от выступов 6085 и паза 6090 альтернативного варианта приводной штанги 6060. Захват для пальцев имеет дугообразный продольный профиль, формирующий заднюю изогнутую поверхность 6310. Кроме того, ширина дугообразного захвата для пальцев, в целом, подобна ширине приводной штанги. Левая сторона 6315 захвата для пальцев (как показано на фиг.95) имеет по существу вертикально проходящую прямую кромку, которая упирается во внешнюю поверхность левого выступа приводной штанги. Как лучше видно на фиг.93, противоположная правая сторона 6320 захвата для пальцев проходит за пределы задней стороны приводной штанги и накрывает существенную часть правой стенки 6230 приводной штанги. Как лучше видно на фиг.95, изогнутая задняя поверхность и правая сторона захвата для пальцев разделены на две части в районе их продольных центров, где выполнен вырез для приема рычага 6170 для снятия блокировки. По существу прямоугольный, отформованный как единое целое с захватом пластинчатый элемент 6325 перекрывает разделенную на две части правую сторону и включает обращенный назад вырез 6330 с полукруглым замкнутым концом 6335. В районе, по существу соответствующем по горизонтали замкнутому концу выреза, от внутренней поверхности левой стороны 6315 поднимается внутрь выступ 6340. Выступ включает обращенный вперед полукруглый вырез 6345, имеющий центральную точку, которая по существу совпадает с центральной точкой полукруглого замкнутого конца обращенного назад противоположного выреза. Кроме того, полукруглый замкнутый конец и полукруглый вырез имеют по существу одинаковые радиусы и приспособлены для соединения с возможностью поворота с рычагом для снятия блокировки, как подробно описано ниже. От верхней и нижней части задней кромки прямоугольного элемента к левой стороне дугообразного захвата для пальцев проходят упомянутые выше верхний и нижний выступы 6285 и 6290 дугообразного захвата для пальцев, приспособленные для приема с защелкиванием зубцов 6275 и 6280 основного корпуса 6160 блокирующего механизма.
Как отмечалось выше, рычаг 6170 для снятия блокировки с возможностью поворота вставляется в дугообразный захват 6165 для пальцев, и при повороте рычага блокирующий механизм 6155 можно разблокировать для получения возможности поднимать или опускать связанные с ним створки. Рычаг описан со ссылками на фиг.99-101, 93 и 96. На заднем конце рычаг для снятия блокировки имеет проходящую по существу вертикально, частично дугообразную заднюю секцию 6350, которая перекрывает пространство между верхней и нижней частями задней поверхности 6310 (как лучше видно на фиг.99) дугообразного захвата для пальцев. Задняя секция пересекается с проходящей вперед боковой секцией 6355, которая перекрывает существенную часть разрыва между верхней и нижней частями правой боковой стенки 6320 (как лучше видно на фиг.93) дугообразного захвата для пальцев. Правая секция проходит вперед за пределы передней кромки дугообразного захвата для пальцев и образует приводную оконечность 6360 для пальца. Как лучше видно на фиг.99, от района вблизи внутреннего пересечения задней секции и боковой секции вперед выступает плечо 6365 рычага, проходящее через паз 6090 приводной штанги и заканчивающееся внутри канала 6095. Как показано на фиг.97, конец 6370 плеча рычага располагается под взаимодействующим с клиновидной поверхностью шариком 6295. От плеча рычага выступает влево выступ 6375 для его помещения с возможностью поворота в полукруглый вырез 6345, сформированный на левой стенке захвата для пальцев. Кроме того, правая сторона плеча рычага включает часть 6380 (см. фиг.101), которая сформирована для ее помещения в полукруглый конец 6335 выреза, сформированного в прямоугольном пластинчатом элементе 6325. Когда плечо рычага со скольжением входит в захват для пальцев, прямоугольный элемент упруго деформируется, обеспечивая защелкивание плеча рычага на месте в полукруглом вырезе и в конце выреза. Возможно, несколько степеней поворотного перемещения рычага для снятия блокировки относительно захвата для пальцев и основного корпуса.
В рабочем положении, для подъема и задвигания створок узла жалюзи со вторым альтернативным вариантом подъемного механизма 6150, пользователь может поместить его/ее пальцы на дугообразный захват 6165 для пальцев, легко нажать вверх на приводную оконечность 6360 для пальца и перемещать дугообразный захват для пальцев вверх или вниз, как показано на фиг.94. При нажиме на приводную оконечность для пальца, плечо 6365 рычага поворачивается относительно полукруглого выреза 6345 и конца 6335 выреза, что вызывает перемещение вверх его конца 6370, входящего в контакт с взаимодействующим с клиновидной поверхностью шариком, как показано на фиг.98. Соответственно, шарик перемещается из заклиненного положения между левой боковой стенкой основного корпуса и правой боковой стенкой приводной штанги, освобождая основной корпус для скользящего перемещения в канале приводной штанги. Когда оконечность для пальца отпускают, спиральная пружина 6300 перемещает взаимодействующий с клиновидной поверхностью шарик назад, в положение, в котором он заклинивается между наклонной частью левой боковой стенки и правой боковой стенкой, таким образом, предотвращая перемещение основного корпуса.
Альтернативный вариант осуществления изобретения, включающий две приводные штанги качающего механизма
Альтернативный вариант узла 200 жалюзи показан на фиг.27-29. Узел содержит нижнюю створку 16, имеющую торцевые крышки 234 и монтажные кронштейны 214, очень похожие на используемые для прикрепления верхней поперечины 12 к оконной раме, как описано выше относительно предпочтительного варианта осуществления изобретения. Альтернативный вариант узла 200 жалюзи также содержит пару приводных штанг 28, которые, предпочтительно, совмещены в вертикальном положении со шнуровыми лестничными конструкциями и подъемными шнурами и находятся перед ними. Вместо соединения с монтажным кронштейном, нижние наконечники 74 приводных штанг шарнирно прикреплены к передней кромке нижней створки 16. Подъемные шнуры прикреплены к нижней створке и проходят вверх, в верхнюю поперечину 12, как описано выше. Оттуда подъемные шнуры выведены наружу из внутреннего пространства верхней поперечины и проходят в одну из приводных штанг 28 в канал приводной штанги и заканчиваются в подъемном элементе 96, подобном описанному выше. В рабочем положении можно использовать любую из приводных штанг 28 для качания створок вверх или вниз способами, которые описаны выше, и створки можно поднимать или опускать с использованием подъемного элемента (элементов) также, как описано выше, и следует понимать, что нижняя створка остается на месте, когда остальные створки находятся в вертикальной стопке непосредственно под верхней поперечиной или распределены между верхней и нижней створками.
Альтернативный вариант осуществления изобретения, включающий сбалансированный качающий механизм
Сбалансированный качающий механизм и узел жалюзи, включающий сбалансированный качающий механизм, описаны со ссылками на фиг.103-126. В типичном сбалансированном качающем механизме в альтернативном варианте осуществления изобретения, груз, висящий на конце приводного шнура качающего механизма и прилагающий направленное вниз отклоняющее усилие, сбалансирован пружиной, расположенной внутри верхней поперечины, которая прилагает противодействующее, направленное вверх усилие, воздействующее на приводной шнур качающего механизма. Шнур обернут вокруг катушки, которая в рабочем положении соединена с верхней поперечиной одним или более зубчатых колес для обеспечения поворота верхней поперечины вокруг осей вращения, соединенных с монтажными кронштейнами. В рабочем положении баланс нарушают посредством легкого подъема или оттягивания вниз приводного шнура качающего механизма, таким образом, вызывая втягивание или вытягивание шнура и соответствующее качание верхней поперечины. Следует понимать, что, поскольку механизм сбалансирован для качания створок жалюзи требуется очень небольшое усилие.
На фиг.103-108 показан один альтернативный вариант выполнения узла 5100 жалюзи, включающий сбалансированный качающий механизм. Узел 5100 жалюзи содержит: (I) проходящую горизонтально жесткую верхнюю поперечину 5105 в форме створки, которая шарнирно соединена с оконной рамой 5110 парой монтажных кронштейнов 5115; (II) проходящую горизонтально, до некоторой степени жесткую нижнюю створку 5120, соединенную с верхней створкой множеством подъемных шнуров (не показаны) и лестничных шнуров 5125; (III) множество горизонтальных створок 5130, расположенных между верхней поперечиной и нижней створкой и удерживаемых лестничными шнурами; (IV) приводной шнур 5135 подъемного механизма для подъема и опускания створок; и (V) приводной шнур 5140 качающего механизма, включающий нагруженную концевую подвеску 5145.
В показанном узле жалюзи используют полые створки, имеющие в некоторой степени аэродинамический профиль, нижнюю створку и верхнюю поперечину. Предполагаются альтернативные варианты выполнения узлов жалюзи с использованием сбалансированного качающего механизма, поскольку створки могут иметь любую пригодную конфигурацию и их можно изготавливать из любого пригодного материала. Например, можно рассматривать использование створок, изготовленных из пластмассы, ткани, металла и дерева. Кроме того, верхняя поперечина может иметь любые конфигурации, которые подобны соответствующим створкам или отличаются от них.
Типичный механизм 5350 блокирования подъемных шнуров для фиксации на месте подъемных шнуров 5355 и створок 5130 показан на фиг.122-126. В альтернативном варианте можно использовать другие обычные типы подъемных механизмов и блокирующих механизмов, как будет понятно специалистам в данной области техники. Кроме того, подъемные и блокирующие механизмы, подобные подробно описанным выше, можно модифицировать, как необходимо, для использования с узлом жалюзи, который включает сбалансированный качающий механизм.
Как показано на фиг.122, механизм 5350 блокирования подъемных шнуров расположен внутри торцевой крышки верхней поперечины. Торцевую крышку 5106 верхней поперечины, в типичном случае, изготовляют из формованной пластмассы, и она приспособлена для вставки со скольжением, по меньшей мере, частично в торцы, в типичном случае, прессованной трубчатой и проходящей в продольном направлении верхней поперечины 5108. Торцевые крышки верхней поперечины могут иметь различные конфигурации. Например, торцевая крышка, показанная на фиг.122, приспособлена для содержания только механизма блокирования подъемных шнуров, тогда как торцевая крышка верхней поперечины, показанная на фиг.117, приспособлена для содержания сбалансированного качающего механизма. Кроме того, можно рассматривать использование торцевых крышек, конфигурированных для содержания как сбалансированного качающего механизма, так и механизма блокирования подъемных шнуров. Возвращаясь к торцевой крышке, показанной на фиг.122, отметим, что торцевая крышка приспособлена для взаимодействия с монтажным кронштейном, подобным второму альтернативному варианту монтажного кронштейна 6505, описанного подробно выше, и включает цилиндрический элемент 6515 с фланцем, который с возможностью скольжения прикрепляют к торцевой крышке. Следует понимать, что можно использовать другие типы монтажных кронштейнов. Поскольку показанная торцевая крышка также формирует часть длины верхней поперечины, применяют крышку 5420, чтобы скрыть от взгляда блокирующий механизм и для удерживания компонентов блокирующего механизма на месте.
Как показано на фиг.123-126, блокирующий механизм содержит: (I) первый U-образный элемент 5360 для блокирования шнуров, который шарнирно соединен с торцевой крышкой при помощи первого поворотного штифта 5370, (II) второй U-образный элемент 5365 для блокирования шнуров, который шарнирно соединен с ветвями 5380 первого U-образного элемента при помощи второго поворотного штифта 5375. Часть первого U-образного элемента проходит за пределы основания 5385 U-образной конфигурации, формируя входящую в контакт со шнурами кромку 5390. Подъемные шнуры 5355 проходят в верхнюю поперечину 5105 и направляются к и вокруг расположенного сбоку от блокирующего механизма поворачивающегося в горизонтальной плоскости ролика 5395. Затем шнуры продеты сквозь второй U-образный элемент, проходя вдоль внутренней поверхности основания 5400 U-образной конфигурации. Далее шнуры проходят поверх входящей в контакт со шнурами кромки первого U-образного элемента, выходят из торцевой крышки и заканчиваются в подвеске 5405. Как лучше видно на фиг.122 и 123, первый U-образный элемент поворачивается по существу в горизонтальной плоскости, вокруг первого поворотного штифта в точке, которая отнесена в продольном направлении верхней поперечины от точки 5410 на шкиве, в которой шнуры отклоняются от ролика, когда они проходят в направлении блокирующего механизма. Это расстояние является критическим для эффективной работы блокирующего механизма.
На фиг.123 и 125 показан блокирующий механизм 5350 в нормальном блокирующем положении. Блокирующий механизм смещен в это положение под действием веса нижней поперечины 5120 и применяемых створок 5130, действующих через подъемные шнуры 5355. Нагружающее усилие, прилагаемое этим весом, показано стрелкой 5415 на фиг.123. Когда нагружающее усилие стремится тянуть подъемные шнуры в направлении приложения усилия, они скользят вдоль внутренней поверхности основания 5400 второго U-образного элемента, вызывая трение. В результате этого трения, в точке поворота первого U-образного элемента создается вращающий момент. Этот вращающий момент вызывает поворот блокирующего механизма по часовой стрелке вокруг первого поворотного штифта 5370, прилагающий вращательное усилие к шнурам по входящей в контакт со шнурами кромке 5390. Как лучше видно на фиг.125, эти усилия, воздействующие на блокирующий механизм, вызывают изгибание подъемных шнуров, приводящее к увеличению силы трения между подъемными шнурами и блокирующим механизмом и к эффективному блокированию шнуров на месте. Для подъема или опускания створок пользователь прилагает достаточное усилие для перемещения подъемных шнуров в продольном направлении от конца торцевой крышки, поворачивающее блокирующий механизм против часовой стрелки и вызывающее перемещение входящей в контакт со шнурами кромки от подъемных шнуров. Соответственно, для подъемных шнуров создается относительно прямой путь сквозь блокирующий механизм, позволяющий поднимать или опускать подъемные шнуры. Когда подъемные шнуры отпускают или больше не тянут в продольном направлении от конца торцевой крышки, усилие, прилагаемое весом створок и нижней поперечины, вызывает поворот блокирующего механизма по часовой стрелке и блокирование подъемных шнуров на месте.
Лестничные шнуры 5125, показанные на фиг.103-105, в типичном случае, содержат передние и задние вертикальные шнуры, которые проходят вертикально поперек передних и задних кромок створок, соответственно. Поперечные “ступеньки” (не показаны) проходят между каждым набором вертикальных шнуров в разнесенных по вертикали районах для удерживания лежащих на них створок 5130. В одном варианте осуществления изобретения верхний конец каждого вертикального шнура прикрепляют к передней или задней кромке верхней поперечины (как показано на фиг.109), в которой верхние концы вертикальных шнуров продевают в сквозные отверстия в кромках верхней поперечины и закрепляют в них узлом или каплей клейкого вещества 5150. Соответственно, когда верхняя поперечина наклоняется по часовой стрелке, как показано на фиг.106, передний вертикальный шнур каждой шнуровой лестничной конструкции 5125 опускается, а задний вертикальный шнур каждой шнуровой лестничной конструкции поднимается, таким образом, вызывая поворот поперечных “ступенек” по часовой стрелке вместе со створками, лежащими на поперечных “ступеньках”. И наоборот, когда верхняя поперечина поворачивается против часовой стрелки, как показано на фиг.108, передний вертикальный шнур каждой лестничной конструкции 5125 поднимается, а задний вертикальный шнур каждой лестничной конструкции опускается, таким образом, вызывая наклон поперечных “ступенек” против часовой стрелки вместе с лежащими на них створками.
На фиг.105 показан узел жалюзи со створками в полностью открытом положении. В этом положении створки, верхняя поперечина и нижняя поперечина ориентированы по существу горизонтально в направлении их ширины. Нагруженная подвеска 5145, прикрепленная к концу приводного шнура 5140 качающего механизма, находится в промежуточном положении по вертикали и легко доступна для пользователя для перемещения створок либо в первое, либо во второе закрытое положение.
Один вариант выполнения нагруженной подвески показан на фиг.118-121. Подвеска содержит центральный металлический элемент 5305 заданного веса для уравновешивания пружины постоянного натяжения. Металлический элемент имеет по существу овальную форму с изогнутыми поверхностями и закругленными кромками. Вблизи верхней кромки металлического элемента расположено отверстие 5310 для вставки и завязывания узлом приводного шнура 5140 качающего механизма. В нескольких местах вдоль правой и левой дугообразных сторон металлического элемента расположены вырезы 5315 для приема фиксаторов 5320 сопрягаемой пары соответствующих пластмассовых крышек 5325 и 5330. Пластмассовые крышки закрывают металлический элемент для получения эстетически более привлекательного вида. Пластмассовая крышка 5325 с вставляемыми элементами имеет несколько отступающих от ее кромок фиксаторов, местоположение которых соответствует вырезам в металлическом элементе. Принимающая пластмассовая крышка 5330 имеет фланцы 5335, отформованные в районе ее кромок, которые соответствуют фиксаторам и с которыми входят в зацепление зубцы фиксаторов для закрепления пластмассовых крышек на металлическом элементе. В верхней части каждого пластмассового элемента расположен полукруглый вырез 5345, который соединяется с подобным полукруглым вырезом в другом пластмассовом элементе для формирования круглого отверстия, сквозь которое проходит шнур к отверстию в металлическом элементе.
Как показано стрелками на фиг.106-108, при приложении усилия к подвеске 5145 и/или приводному шнуру 5140 качающего механизма по направлению вверх или вниз, верхняя поперечина поворачивается в монтажных кронштейнах 5115, что вызывает также поворот соединенных с ней створок 5130. При оттягивании подвески 5145 с небольшим усилием вниз, как показано на фиг.106, эффективная направленная вниз сила увеличивается до значения, которое превышает направленное вверх усилие, прилагаемое противодействующей пружиной 5218 (как лучше видно на фиг.116А-С, подробно описанных ниже). Соответственно, верхняя поперечина и створки поворачиваются по часовой стрелке, пока не достигнут первого закрытого положения. Первое закрытое положение показано на фиг.107. И наоборот, при приложении к подвеске 5145 или к приводному шнуру 5140 небольшого усилия, направленного вверх, эффективное направленное вниз усилие, прилагаемое весом подвески, уменьшается до значения, которое меньше значения направленного вверх усилия, прилагаемого противодействующей пружиной. Соответственно, верхняя поперечина и створки поворачиваются против часовой стрелки, пока не достигнут второго закрытого положения, показанного на фиг.108.
Следует понимать, что величина усилия, которое должен прилагать пользователь, очень невелика и составляет только величину, необходимую для преодоления трения, возникающего при вращении качающего механизма. Сила трения в значительной степени зависит от конструкции механизма, но небольшая величина силы трения желательна и нужна для предотвращения качания створок в обе стороны под воздействием наименьших внешних сил, которые могли бы возникать, например, при слабых дуновениях ветра в открытое окно. Предполагается, что в альтернативных вариантах можно применять механизм, такой как зажимное приспособление вокруг одной или более осей вращения либо качающего механизма, либо верхней поперечины, для обеспечения регулирования силы трения в системе.
На фиг.109-116С показан предпочтительный вариант выполнения сбалансированного качающего механизма 5200. В целом, сбалансированный качающий механизм содержит: (I) приводной шнур 5140 качающего механизма; (II) нагруженную подвеску 5145; (III) узел 5210 катушки/пружины, включающий коническую катушку 5212, с возможностью вращения установленную внутри верхней поперечины при помощи оси 5214 катушки, цилиндрическое прямозубое колесо 5216 катушки и пружину 5218 постоянного натяжения; (IV) узел 5240 цилиндрических прямозубых колес, включающий большое цилиндрическое прямозубое колесо 5242 и малое цилиндрическое прямозубое колесо 5244, установленные на вращающейся оси 5246; и (V) узел 5250 прикрепления к монтажному кронштейну, включающий зафиксированное цилиндрическое прямозубое колесо 5252 и ось 5254 верхней поперечины, вокруг которой поворачивается верхняя поперечина.
Узел 5210 катушки/пружины лучше виден на фиг.109-111, а поперечные сечения конической катушки 5212 показаны на фиг.115А-С и 116А-С. Основным компонентом узла катушки/пружины является коническая катушка 5212. Коническая катушка предназначена для передачи силы сжатия пружины 5218 приводному шнуру 5140 качающего механизма и для прикрепления приводного шнура к качающему механизму. Коническая катушка 5212 имеет по существу цилиндрическую конфигурацию с конической секцией и приспособлена для вращения вокруг оси 5214 катушки, которая проходит по продольной оси конической катушки. Коническая катушка может быть выполнена из любых пригодных материалов, включая металлы, пластмассы и композиционные материалы, но в предпочтительном варианте осуществления изобретения коническую катушку выполняют из пластмассы посредством литья под давлением. Ось 5214 катушки, которую, в типичном случае, выполняют из металлического материала, устанавливают прессовой посадкой вдоль продольной оси катушки. В альтернативном варианте катушка может быть закреплена шпонкой на оси или приклеена к оси для совместного вращения с ней. В альтернативном варианте осуществления изобретения ось катушки может быть отлита как единое целое с катушкой. Ось катушки с возможностью вращения устанавливают на обоих концах катушки в вырезы или отверстия, сформированные в верхней поперечине 5105. Следует понимать, что, как показано на фиг.109-111, качающий механизм удерживается в торцевой крышке 5106 верхней поперечины, которую вставляют в проходящую продольно, в типичном случае, прессованную секцию 5108 верхней поперечины 5105.
Комбинация конической катушки/оси катушки содержит несколько секций, расположенных по ее длине, включая секцию 5220 пружины на одном конце конической катушки 5212. Секция 5220 намотки пружины имеет по существу цилиндрическую форму и ограничена на обоих ее концах первым и вторым радиальными фланцами 5222 и 5224. Сквозь стенку цилиндрической секции пружины проходит продольная прорезь 5226 (лучше видна на фиг.16А) для закрепления загнутого крюком конца 5228 пружины 5218. Когда створки наклоняются в обоих направлениях при работе качающего механизма 5200, пружина 5218 постоянного натяжения либо наматывается вокруг секции 5220 пружины, либо сматывается с секции 5220 пружины и наматывается на стойку 5230, расположенную в верхней поперечине 5105.
Коническая катушка 5212 также включает коническую секцию 5232, расположенную между вторым радиальным фланцем 5224 и третьим радиальным фланцем 5234, при этом стенка катушки суживается от первого диаметра вблизи второго радиального фланца до второго, меньшего диаметра вблизи третьего радиального фланца. Изменение диаметра компенсирует изменение усилия, создаваемого пружиной 5218 в зависимости от величины части пружины, намотанной вокруг секции 5220 пружины. Поверхность конической части также включает непрерывную канавку 5236, которая проходит от одного конца секции 5232 до другого, образуя множество витков вокруг поверхности конической секции. Канавка имеет размеры, приспособленные для приема приводного шнура 5140 качающего механизма для направления шнура при его наматывании на катушку 5212 и сматывании с нее при качании створок. Вблизи второго фланца 5222 сквозь стенку конической секции 5232 на одном конце непрерывной канавки 5236 проходит отверстие 5238 достаточного диаметра для приема верхнего конца приводного шнура качающего механизма (как лучше видно на фиг.115С). Это отверстие используют для прикрепления приводного шнура качающего механизма к катушке посредством пропускания шнура сквозь отверстие и либо завязывания узлом конца шнура, либо нанесения слоя клейкого вещества 5160 на конец шнура, который не может проходить обратно сквозь отверстие.
Наконец, ось 5214 катушки, которая проходит сквозь коническую катушку 5214 и неподвижно прикреплена к ней, имеет цилиндрическое прямозубое колесо 5260, расположенное над конической секцией 5232 с другой стороны от третьего фланца 5234. Цилиндрическое прямозубое колесо 5260 катушки неподвижно прикреплено к оси катушки для совместного вращения с ней.
Цилиндрическое прямозубое колесо катушки может быть закреплено на оси катушки шпонкой, прессовой посадкой на ось катушки, приклеено к оси или прикреплено к оси любым пригодным средством. В альтернативном варианте осуществления изобретения, в котором ось катушки выполняют как единое целое с конической катушкой, цилиндрическое прямозубое колесо катушки также может быть отформовано как единое целое с конической катушкой.
Как показано на фиг.109 и фиг.116А-С и как упоминалось выше, один конец пружины 5218 постоянного натяжения загнут крюком в прорези 5226 в пружинной секции 5220 катушки 5212. Другой конец пружины наматывают на стойку 5230 пружины, расположенную в верхней поперечине 5105 для приема пружины. Пружину, в типичном случае, выполняют из пружинной стали, и она обеспечивает, в целом, постоянное натяжение в размахе пружины между частью пружины, намотанной на пружинную секцию 5220, и частью пружины, намотанной на стойку 5230 пружины, в направлении пружинной секции, как показано стрелками на фиг.116А-С. Соответственно, пружина нагружает коническую катушку 5212 по часовой стрелке.
Когда последовательные витки пружины 5218 наматываются на пружинную секцию 5232, эффективный вращающий момент, направленный против часовой стрелки, сообщаемый конической катушке 5212 пружиной, увеличивается, поскольку расстояние от продольной оси до натягивающей части пружины увеличивается, а сила, прилагаемая пружиной, остается постоянной (вращающий момент равен расстоянию от продольной оси до точки приложения нагрузки, умноженному на прикладываемую силу). Следует понимать, что для того, чтобы катушка оставалась неподвижной, когда качающий механизм не работает, направленный против часовой стрелки вращающий момент, сообщаемый нагруженной подвеской 5145 через приводной шнур 5140 качающего механизма, должен быть равен противодействующему вращающему моменту, сообщаемому пружиной. Когда направленный по часовой стрелке вращающий момент увеличивается, направленный против часовой стрелки вращающий момент также должен возрастать. Коническая секция 5232 конической катушки вызывает изменение направленного против часовой стрелки вращающего момента в соответствии с направленным против часовой стрелки вращающим моментом.
Например, когда максимальная часть пружины намотана на пружинную секцию 5220 катушки 5112, как показано на фиг.116С, приводной шнур качающего механизма будет полностью смотан с конической секции и будет находиться на части конической секции с максимальным диаметром, как показано на фиг.111. Когда пружина и приводной шнур качающего механизма находятся в этих положениях на конической катушке, створки будут находиться в первом закрытом положении, как показано на фиг.106.
И наоборот, когда минимальная часть пружины намотана на пружинную секцию 5220 катушки 5212, как показано на фиг.116В, приводной шнур 5140 качающего механизма будет намотан на коническую секцию 5232 в максимальной степени, и часть шнура, сходящая с конической секции, будет расположена на части конической секции, имеющей наименьший диаметр, как показано на фиг.110. Когда пружина и приводной шнур качающего механизма находятся в этих положениях на конической катушке, створки будут находиться во втором закрытом положении, как показано на фиг.108.
Узел 5240 цилиндрических прямозубых колес и узел 5250 монтажного кронштейна предназначены для передачи вращательного движения конической катушки 5212 при выполнении операции качания для поворота верхней поперечины 5105 и соединенных с ней створок 5130. Узел 5240 цилиндрических прямозубых колес и узел 5250 монтажного кронштейна лучше видны на фиг.109-114. Узел цилиндрических прямозубых колес включает ось 5246, которая с возможностью вращения установлена в верхней поперечине и имеет прикрепленное к одному ее концу большое цилиндрическое прямозубое колесо 5242 и прикрепленное ее другому концу малое цилиндрическое прямозубое колесо 5244. Большое цилиндрическое прямозубое колесо входит в зацепление с цилиндрическим прямозубым колесом 5216 катушки (как лучше видно на фиг.114), при этом вращение цилиндрического прямозубого колеса катушки по часовой стрелке вызывает вращение большого цилиндрического прямозубого колеса и всего узла цилиндрических прямозубых колес против часовой стрелки. Различные компоненты узла цилиндрических прямозубых колес могут быть выполнены из различных пригодных материалов, включая пластмассу, металлы и композиционные материалы. Кроме того, цилиндрические прямозубые колеса могут быть соединены с осью цилиндрических прямозубых колес любым пригодным способом, включая (но, не ограничиваясь этим) прессовую посадку, связывание клейким веществом, сварку, пайку и крепление шпонкой. Кроме того, в альтернативном варианте осуществления изобретения, весь узел цилиндрических прямозубых колес можно отливать под давлением как единый элемент с использованием пригодной армированной или неармированной пластмассы.
Как лучше видно на фиг.109 и 113, малое цилиндрическое прямозубое колесо 5244 входит в зацепление с зафиксированным цилиндрическим прямозубым колесом 5252 узла монтажного кронштейна. Зафиксированное цилиндрическое прямозубое колесо прикреплено к концу оси 5254 верхней поперечины на колодке 5256 монтажного кронштейна, которая неподвижно прикреплена к монтажному кронштейну 5115. Соответственно, зафиксированное цилиндрическое прямозубое колесо не вращается. Вернее, малое цилиндрическое прямозубое колесо 5244 перемещается вокруг поверхности зафиксированного цилиндрического прямозубого колеса и, поскольку малое цилиндрическое прямозубое колесо, узел цилиндрических прямозубых колес и узел конической катушки содержатся в верхней поперечине и прикреплены к ней, верхняя поперечина также поворачивается относительно зафиксированного цилиндрического прямозубого колеса.
В одном альтернативном варианте выполнения узла жалюзи, включающем сбалансированный качающий механизм, зафиксированное цилиндрическое прямозубое колесо 5252 имеет осевое отверстие, которое крепится шпонкой к соответствующей части оси 5254 верхней поперечины, как лучше видно на фиг.113. Ось верхней поперечины также включает радиальный фланец 5258 на ее конце для удерживания зафиксированного цилиндрического прямозубого колеса на месте и предотвращения его соскальзывания с конца оси верхней поперечины. В этой части оси верхней поперечины расположены два противоположных паза 5260 в стенках оси 5254, позволяющие остальным частям стенок упруго отгибаться внутрь, когда зафиксированное цилиндрическое прямозубое колесо 5252 защелкивают на месте. В альтернативных вариантах осуществления изобретения, колесо 5252 может быть зафиксировано на оси верхней поперечины любым пригодным способом, включая сварку и склеивание.
Как лучше видно на фиг.109 и 112, конец верхней поперечины 5105 с возможностью поворота устанавливают в узел 5250 монтажного кронштейна на другую часть оси 5254 верхней поперечины. Верхняя поперечина может свободно поворачиваться вокруг оси, но не может соскальзывать в продольном направлении с оси, что предотвращает, с одной стороны, колодка 5256 монтажного кронштейна, которая, в типичном случае, составляет единое целое с осью 5254, и с другой стороны, зафиксированное цилиндрическое прямозубое колесо 5252. Следует понимать, что верхнюю поперечину 5105 в продольном направлении прикрепляют к модифицированному узлу монтажного кронштейна для совершения поворотного перемещения на другом конце верхней поперечины, хотя там не требуется зафиксированное цилиндрическое прямозубое колесо.
В этом варианте осуществления изобретения, включающем сбалансированный качающий механизм, колодка 5256 монтажного кронштейна включает пружинный фиксатор (не показан), отформованный в нем или по-другому прикрепленный к колодке. Пружинный фиксатор предназначен для вставки во множество монтажных отверстий (не показаны), расположенных в монтажном кронштейне 5215 в разнесенных по окружности точках вокруг центральной точки, совпадающей с продольной осью оси 5254 верхней поперечины. Соответственно, при монтаже жалюзи в проеме, сначала устанавливают и прикрепляют к раме проема монтажные кронштейны 5215. Затем приводят в действие качающий механизм 5200 для перемещения жалюзи в одно из закрытых положений перед прикреплением колодок 5256 к монтажным кронштейнам. Наконец, колодки 5256 выравнивают относительно кронштейна при по существу вертикальном положении верхней поперечины и створок в их поперечном направлении, и колодки защелкивают на месте.
Следует понимать, что в зависимости от различных размеров цилиндрических прямозубых колес 5216, 5242, 5244 и 5252, используемых в качающем механизме 5200, величина перемещения нагруженной подвески, необходимая для перемещения створок 5130 из одного закрытого положения в другое, может меняться, как будет понятно специалистам в данной области техники. В одном варианте осуществления изобретения суммарный ход приводного шнура 5140 качающего механизма и соединенной с ним подвески 5145 составляет около 22 дюймов, хотя передаточные числа можно изменять для уменьшения этого хода, особенно при использовании с небольшими жалюзи, которые не очень высоки. Для предотвращения излишнего наматывания приводного шнура качающего механизма на коническую катушку 5212 при повороте створок во второе закрытое положение, приводной шнур качающего механизма имеет прикрепленный к нему шарик 5155 клейкого вещества, который упирается в отверстие для шнура в верхней поперечине, когда створки находятся в полностью наклоненном положении, и шнур полностью намотан на коническую катушку, как показано на фиг.110.
Как описано выше и показано на фиг.106-107, для поворота створок из полностью открытого положения в первое закрытое положение, пользователь слегка оттягивает нагруженную подвеску 5145 или приводной шнур 5140 качающего механизма. Необходимо лишь усилие, достаточное для преодоления любого трения, возникающего в качающем механизме. Как показано на фиг.115А, коническая катушка вращается против часовой стрелки, вызывая наматывание дополнительной части пружины на пружинную секцию 5220 катушки, как показано на фиг.116С, таким образом, увеличивая направленный по часовой стрелке вращающий момент, сообщаемый катушке. Для поддержания баланса сил приводной шнур качающего механизма перемещается по канавке 5236 к части конической секции 5232, имеющей больший диаметр, как показано на фиг.111. Вращение против часовой стрелки конической катушки 5212 и неподвижно прикрепленного цилиндрического прямозубого колеса катушки вызывает вращение по часовой стрелке узла цилиндрических прямозубых колес, который входит в зацепление с цилиндрическим прямозубым колесом катушки при помощи большого цилиндрического прямозубого колеса 5242. Малое цилиндрическое прямозубое колесо 5244, которое входит в зацепление с зафиксированным цилиндрическим прямозубым колесом 5252, перемещается по часовой стрелке вокруг зафиксированного цилиндрического прямозубого колеса. Поскольку узел цилиндрических прямозубых колес прикреплен к верхней поперечине 5105, верхняя поперечина поворачивается по часовой стрелке вокруг узла 5250 монтажного кронштейна, поскольку малое цилиндрическое прямозубое колесо перемещается вокруг зафиксированного цилиндрического прямозубого колеса. Поворотное перемещение верхней поперечины против часовой стрелки вызывает подъем переднего вертикального шнура лестничной конструкции 5125, опускание заднего вертикального шнура и наклон створок во второе закрытое положение, как показано на фиг.107.
Упоминавшийся выше сбалансированный качающий механизм был описан с учетом использования с узлом жалюзи, включающим качающуюся верхнюю поперечину. Следует понимать, что элементы сбалансированного качающего механизма можно также использовать в более обычном узле подъемных жалюзи с зафиксированной верхней поперечиной. В таком варианте применения узел конической катушки/пружины может быть сопряжен либо непосредственно, либо через одно или более зубчатых колес с качающей штангой, которая проходит внутри верхней поперечины. При подъеме или оттягивании вниз нагруженной подвески баланс сил может быть нарушен, и коническая катушка и качающая штанга могут поворачиваться, вызывая качание створок узла жалюзи. Сбалансированный качающий механизм может быть также включен в другие типы оконных закрывающих средств для качания или поворота створок.
В дополнение к этому можно рассматривать много вариантов различных компонентов качающего механизма. Например, может быть изменен тип используемой пружины, или в другом варианте осуществления изобретения пружина может быть заменена вторым грузом, который висит с тыльной стороны от жалюзи для противодействия нагруженной подвеске. В других вариантах осуществления изобретения, различные зубчатые колеса можно заменить, как необходимо, роликами и приводными лентами. В других вариантах катушка может не быть конической.
Разъемные подвески для использования с подъемными шнурами в узле жалюзи со сбалансированным качающим механизмом
На фиг.133-149 показаны два варианта выполнения разъемных подвесок 7005 и 7105 для использования с подъемными шнурами узла жалюзи, включающего сбалансированный качающий механизм. Кроме того, описанные разъемные подвески можно использовать в других типах жалюзи и оконных закрывающих средствах. Разъемные подвески приспособлены для разделения на несколько элементов, когда к одному или более подъемных шнуров, которые проходят в подвеску, прилагают невертикальную нагрузку, которая имеет вектор, отличающийся от вектора другой нагрузки, прилагаемой к другому подъемному шнуру. Например, если ребенок запутался частью тела в подъемных шнурах, когда один шнур оттягивается влево относительно его шеи, а другой оттягивается вправо, подвеска разделится, освобождая ребенка до того, как он мог бы получить повреждение.
Как показано на фиг.133-137, первый вариант выполнения разъемной подвески 7005 содержит три периферийных элемента 7010 для прикрепления шнура, вставку 7020 для прикрепления шнура и центральный соединительный элемент 7015. Как показано на фиг.133, центральный соединительный элемент включает центральный корпус 7045, который имеет по существу треугольное горизонтальное поперечное сечение и сужается внутрь и вниз по его длине. Через центр корпуса проходит вертикальный канал 7055. Канал имеет: (I) верхнюю часть, которая имеет круглую форму вблизи ее верхней кромки и расширяется вниз и наружу на некотором отрезке, и (II) нижнюю часть, которая проходит от нижнего конца верхней части до его нижней кромки, которая имеет по существу квадратное сечение. От соответствующих углов внешней поверхности соединительного элемента в радиальном направлении наружу отходят три ребра 7050. Как лучше видно на фиг.134, внешние кромки ребер соответствуют кромкам периферийных элементов 7010 для крепления шнуров, причем периферийные элементы примыкают к сторонам ребер, примыкающим к внешним кромкам ребер.
Как показано на фиг.133, каждый из трех периферийных элементов 7010 включает дугообразную по существу ориентированную вертикально стенку, имеющую внешнюю поверхность и внутреннюю поверхность. Вблизи верхней кромки периферийного элемента от его внутренней поверхности отступает внутрь средство 7025 для привязывания шнура, приспособленное для привязывания к нему подъемного шнура 7085. В вертикальном направлении под средством для привязывания шнура расположен выступ 7035 с обращенным вниз крюком, проходящий внутрь, по существу в горизонтальном направлении. Кроме того, от внутренней поверхности вблизи нижней кромки периферийного элемента выступает внутрь выступ 7040 с обращенным вверх крюком. Как показано на фиг.133 и фиг.135, крюк устроен так, что периферийный элемент можно с защелкиванием устанавливать на верхнюю и нижнюю кромки одной из сторон центрального корпуса 7045. Соответственно, к подвеске можно прикреплять до трех подъемных шнуров. Если желательно и необходимо, к подвеске можно прикреплять четвертый подъемный шнур с использованием вставки 7020 для крепления шнура, которую вставляют в вертикальный канал 7055 центрального корпуса.
Вставка для крепления шнура лучше видна на фиг.136 и 137. Она включает немного расширяющуюся наружу и вниз цилиндрическую часть 7065, которая по существу соответствует верхней части вертикального канала. Однако верхняя часть вставки включает фланец 7070, в нормальном состоянии имеющий диаметр, который больше диаметра вертикального канала у его верхней кромки. Кроме того, от верхней кромки вставки вниз проходит клиновидный V-образный паз 7080, протяженность которого составляет около 2/3 длины расширяющейся вниз цилиндрической части. Вставка также включает нижнюю часть 7075, имеющую по существу квадратное сечение, которая соответствует нижней части вертикального канала. Соответственно, вставка приспособлена для помещения в вертикальный канал, при этом ее часть с фланцем с защелкиванием входит в зацепление с верхней кромкой 7060 канала, как показано на фиг.135. Четвертый подъемный шнур можно обернуть вокруг нижней части вставки и заклинить в V-образном пазу перед защелкиванием вставки в вертикальном канале для прикрепления к подвеске четвертого подъемного шнура. Как показано на фиг.134, четвертый шнур, в типичном случае, свисает от нижней части подвески и его можно захватывать для подъема или опускания узла жалюзи.
В рабочем положении, если к подъемным шнурам 7085 прилагают неравные боковые усилия, упругие периферийные элементы, как и все элементы подвески, в типичном случае, выполненные из формованной пластмассы, будут отсоединяться от центрального соединительного элемента 7015. Можно рассматривать изменения первого варианта выполнения подвески, и измененные варианты могут иметь четыре периферийных элемента и центральный соединительный элемент с по существу квадратным поперечным сечением для прикрепления четырех подъемных шнуров без использования вставки для крепления шнура.
Второй вариант выполнения разъемной подвески 7105 показан на фиг.138-149 и содержит четыре периферийных элемента 7115 для прикрепления шнуров и центральный соединительный элемент 7125. Центральный элемент для прикрепления шнуров включает цилиндрическую нижнюю часть 7135, имеющую проходящий сквозь нее вертикальный канал 7140, как лучше видно на фиг.146. Нижняя кромка 7145 цилиндрической части скошена внутрь от ее внешней поверхности до поверхности канала с целью, изложенной ниже. От поверхности цилиндрической части 7135 радиально отходят четыре ребра 7050 и проходят вертикально над верхней кромкой 7060 цилиндрического элемента, как показано на фиг.146. Как лучше видно на фиг.141 и 142, конец 7155 каждого ребра формирует полукруглые изогнутые выступы 7160 в горизонтальном сечении на обратных его сторонах в районе пересечения с остальной частью ребра с целью, указанной ниже.
Четыре периферийных элемента 7115 для прикрепления шнуров имеют по существу С-образную конфигурацию с по существу треугольными верхней и нижней сторонами (фиг.139 и 141) и по существу прямоугольную вертикальную сторону. Вертикальная сторона элементов для прикрепления шнуров включает вогнутую часть, как лучше видно на фиг.140. Сквозь верхнюю часть каждого элемента для крепления шнура проходит отверстие 7120 для приема подъемного шнура 7110, конец которого завязывают узлом для прикрепления к элементу для прикрепления шнура. Внутренняя поверхность 7170 нижней части элемента для прикрепления шнура скошена внутрь и вверх, как лучше видно на фиг.149. Как лучше видно на фиг.146, нижняя часть приспособлена для сопряжения с нижней кромкой цилиндрической части.
Как показано на фиг.146 и 142, когда подъемные шнуры прикреплены к каждому периферийному элементу 7115 для прикрепления шнура, внутреннюю поверхность нижней части 7170 элемента для прикрепления шнура устанавливают на нижнюю кромку 7145 нижней цилиндрической части 7135 центрального соединительного элемента. Затем каждый элемент для прикрепления шнура прижимают внутрь, в направлении соединительного элемента 7125, пока вогнутые боковые кромки элемента для прикрепления шнура не защелкнутся относительно полукруглых концов 7155 ребер и будут удерживаться изогнутыми выступами 7160. Как показано на фиг.139 и 146, кромки верхних частей элементов для прикрепления шнуров сходятся и примыкают друг к другу. Подобным образом, нижние боковые кромки элементов для прикрепления шнуров примыкают друг к другу, но, как показано на фиг.141, здесь сформировано центральное отверстие 7130, сквозь которое может проходить захватываемый подъемный шнур 7165. Вспомогательный захватываемый шнур можно проводить сквозь цилиндрическую часть и закреплять относительно цилиндрической части узлом, как показано на фиг.146. Затем пользователь может использовать захватываемый шнур для задвигания и выдвижения створок узла жалюзи.
Работа разъемной подвески при воздействии на подъемные шнуры неравных поперечных сил будет описана со ссылками на фиг.147-149. Неравные поперечные силы, воздействующие на подъемные шнуры, тянут подвергшийся их воздействию элемент для прикрепления подъемного шнура наружу от подвески в районе его верхней кромки, что эффективно вызывает поворот элемента для прикрепления шнура наружу, вокруг точки его соединения с нижней кромкой цилиндрической части соединительного элемента, как показано на фиг.147. Далее, как показано на фиг.148, вогнутые боковые кромки элемента для прикрепления шнура упруго выходят из зацепления с изогнутыми выступами полукруглых концов ребер. Наконец, как показано на фиг.149, элемент (элементы) для прикрепления шнура полностью отделяется от соединительного элемента и любых других элементов для прикрепления шнуров, еще соединенных с соединительным элементом.
Альтернативный вариант осуществления изобретения с использованием односторонних центральных шнуровых лестничных конструкций
Как описано выше, шнуровые лестничные конструкции, в типичном случае, содержат передний и задний открывающие шнуры и поперечные “ступеньки”, проходящие между открывающими шнурами для поддержки соответствующих створок. Как показано на фиг.127-132, в альтернативных вариантах выполнения узлов жалюзи можно использовать односторонние шнуровые лестничные конструкции с частичными поперечными “ступеньками” 5505, приклеенными или по-другому прикрепленными к створкам 5510. Преимущества и польза непосредственного соединения створок с поперечными “ступеньками” двусторонних лестничных шнуров описаны подробно в упомянутой выше заявке на патент США №10/003097, поданной 6 декабря 2001 года, которая включена в настоящее описание в качестве ссылочного материала во всей полноте. Было обнаружено, что благодаря приклеиванию частичных поперечных “ступенек” к створкам в центральной шнуровой лестничной конструкции, передний открывающий шнур можно исключить и оставить только задний открывающий шнур 5515 без ущерба для поворота створок, когда используют относительно жесткие створки, такие как описанные здесь. Следует понимать, что благодаря исключению передних открывающих шнуров, общий вид широкого узла жалюзи существенно улучшается, по сравнению с широкими узлами жалюзи согласно предыдущему уровню техники, в которых используют известные двусторонние центральные шнуровые лестничные конструкции. На фиг.127 и 128 показаны типичные виды спереди и сзади альтернативного варианта выполнения узла 5520 жалюзи с использованием односторонних центральных шнуровых лестничных конструкций. Как показано, альтернативный вариант выполнения узла жалюзи является узлом типа, включающего сбалансированный качающий механизм, хотя следует понимать, что односторонние шнуровые лестничные конструкции можно использовать с любым из описанных выше вариантов узлов жалюзи, которые достаточно широки, чтобы требовалась центральная шнуровая лестничная конструкция.
Как показано на фиг.129, шнуровые лестничные конструкции, расположенные вблизи концов 5525 створок узла жалюзи, включают два открывающих шнура 5530 и 5535 и поперечные “ступеньки” 5540, проходящие между ними. Передние и задние или только передние подъемные шнуры 5545 переплетаются с открывающими шнурами, как показано. Как показано на фиг.131, поперечные “ступеньки” прикрепляют к створкам одной или двумя каплями 5550 клея. Две капли клея применяют, когда шнуровая лестничная конструкция расположена относительно близко к концу створки, где поперечные “ступеньки” могли бы частично соскальзывать со створки вблизи открывающих шнуров и вызывать неправильную работу жалюзи. Только одна капля клея, обычно располагаемая в районе центра в поперечном направлении створки, требуется, когда поперечную “ступеньку” располагают дальше от конца створки, и поперечная “ступенька” не может соскальзывать со створки.
Как показано на фиг.130, центральная шнуровая лестничная конструкция 5500 содержит только один задний открывающий шнур 5535 и частичную поперечную “ступеньку” 5505, которую приклеивают или по-другому прикрепляют к нижней стороне створки (как показано на фиг.132). Поскольку створка относительно жесткая, она не провисает и не скручивается в ее середине, несмотря на отсутствие переднего открывающего шнура. Кроме того, приклеенная частичная поперечная “ступенька” удерживает створку в ее надлежащем вертикальном положении относительно соседних створок, когда створки узла жалюзи поворачивают в обоих направлениях в оба закрытых положения. Следует понимать, что в односторонних шнуровых лестничных конструкциях используют только задний подъемный шнур 5545, при этом подъемный шнур, предпочтительно, переплетается с задним открывающим шнуром, как лучше видно на фиг.130.
Хотя настоящее изобретение было описано с определенной степенью конкретизации, следует понимать, что настоящее описание дано для примера, и в детали или конструкцию могут быть внесены изменения, не показанные здесь конкретно, без отхода от сущности изобретения, определяемой прилагаемой формулой изобретения. Например, ряд альтернативных вариантов осуществления настоящего изобретения и ряд вариантов различных компонентов, используемых согласно изобретению, описаны и показаны в одновременно рассматриваемой и одновременно рассматриваемой заявке на патент США, озаглавленной “Закрывающее средство ставенного типа и фурнитура для архитектурных проемов”.
Предпочтительно, каждый из левого и правого концов верхней поперечины дополнительно включает один или более штифтов, проходящих в продольном направлении наружу от него, причем один или более штифтов приспособлены для помещения с возможностью вращения в соответствующий левый или правый монтажный кронштейн.
Предпочтительно, один или более штифтов содержат: (I) первый штифт, проходящий по существу вдоль продольной оси верхней поперечины, и (II) второй штифт, смещенный от первого штифта, причем первый и второй штифты вставляют в первый и второй пазы, соответственно, в соответствующих левом или правом монтажных кронштейнах.
Предпочтительно, первый паз проходит в монтажном кронштейне, в целом, горизонтально от переднего конца до заднего конца.
Предпочтительно, второй паз имеет самую заднюю часть, расположенную вблизи заднего конца первого паза, и проходит (а) по существу вверх и вперед от самой задней части до верхнего конца и (b) вниз и вперед от самой задней части до нижнего конца.
Предпочтительно, второй паз имеет по существу V-образную конфигурацию.
Предпочтительно, второй паз имеет дугообразную конфигурацию.
Предпочтительно, левую шнуровую лестничную конструкцию из двух или более шнуровых лестничных конструкций прикрепляют к передней и задней кромкам верхней поперечины в точках, находящихся менее, чем в одном дюйме от левого конца верхней поперечины, и правую шнуровую лестничную конструкцию из двух или более шнуровых лестничных конструкций прикрепляют к передней и задней кромкам верхней поперечины в точках, находящихся менее, чем в одном дюйме от правого конца верхней поперечины.
Предпочтительно, левую шнуровую лестничную конструкцию из двух или более шнуровых лестничных конструкций прикрепляют к верхней поперечине вблизи левого конца верхней поперечины, и правую шнуровую лестничную конструкцию из двух или более шнуровых лестничных конструкций прикрепляют к верхней поперечине вблизи правого конца верхней поперечины, и устройство дополнительно содержит одну или более односторонних шнуровых лестничных конструкций, при этом одна или более односторонних шнуровых лестничных конструкций включает задний открывающий шнур и множество “ступенек”, разнесенных вдоль заднего открывающего шнура, но не имеет переднего открывающего шнура, при этом каждую одностороннюю шнуровую лестничную конструкцию прикрепляют к верхней поперечине в точках, расположенных между точками прикрепления первой и второй шнуровых лестничных конструкций, и каждую из поперечных “ступенек” одной или более односторонних шнуровых лестничных конструкций соединяют при помощи клейкого вещества со створкой из множества створок.
Предпочтительно, закрывающее устройство дополнительно содержит удлиненную, по существу вертикально ориентированную качающую приводную штангу, причем приводную штангу шарнирно соединяют с проходящей в продольном направлении передней кромкой верхней поперечины, при этом вертикальное перемещение приводной штанги вызывает поворот верхней поперечины между открытым и закрытым положениями.
Предпочтительно, закрывающее устройство дополнительно содержит подъемный привод, с возможностью скольжения прикрепленный к приводной штанге, при этом скользящее движение подъемного привода вызывает перемещение множества створок между выдвинутым и задвинутым положениями.
Предпочтительно, закрывающее устройство дополнительно содержит подъемный привод, с возможностью скольжения прикрепленный к приводной штанге и прикрепленный к комплекту подъемных шнуров, при этом скользящее перемещение подъемного привода вызывает перемещение множества створок между выдвинутым и задвинутым положениями.
Предпочтительно, подъемный привод дополнительно содержит блокирующий механизм, конфигурированный для избирательного удерживания подъемного привода в определенном положении по вертикали вдоль приводной штанги.
Предпочтительно комплект подъемных шнуров проходит из внутреннего пространства верхней поперечины сквозь отверстие в верхней поперечине, расположенное вблизи передней кромки, во внутреннее пространство приводной штанги и вниз, к подъемному приводу, где каждый подъемный шнур заканчивается.
Предпочтительно, приводную штангу располагают относительно передней кромки верхней поперечины таким образом, чтобы по существу закрыть передний открывающий шнур одной шнуровой лестничной конструкции из двух или более шнуровых лестничных конструкций при взгляде на закрывающее средство спереди.
Предпочтительно, закрывающее устройство дополнительно содержит поворотный рычаг и монтажный кронштейн для поворотного рычага для соединения приводной штанги с рамой архитектурного проема в точке по вертикали, в целом, расположенной вблизи нижнего конца приводной штанги, причем монтажный кронштейн приспособлен к установке на раме архитектурного проема, и поворотный рычаг прикрепляют с возможностью поворота к монтажному кронштейну его первым концом и к приводной штанге его вторым концом.
Согласно настоящему изобретению, получено закрывающее устройство для архитектурного проема, содержащее:
верхнюю поперечину, приспособленную для установки в раме архитектурного проема;
множество створок, висящих на верхней поперечине, причем каждая створка имеет продольную ось;
нижнюю поперечину, расположенную под множеством створок;
узел качающего механизма, причем узел качающего механизма включает одну или более шнуровых лестничных конструкций и качающую штангу, при этом приведение в действие качающей штанги вызывает качание каждой из створок вокруг продольной оси створки; и
узел подъемного механизма, причем узел подъемного механизма включает один или более подъемных шнуров и первый подъемный привод, при этом один или более подъемных шнуров проходят от нижней поперечины до верхней поперечины и к первому подъемному приводу, при этом первый подъемный привод с возможностью скольжения прикрепляют к качающей штанге и соединяют с одним или более подъемных шнуров, причем перемещение первого подъемного привода вдоль качающей штанги вызывает вертикальное перемещение створок между выдвинутым и задвинутым положениями.
Предпочтительно, первый подъемный привод включает блокирующий механизм, причем блокирующий механизм приспособлен для избирательного удерживания подъемного привода в необходимом положении по вертикали вдоль приводной штанги.
Предпочтительно, вертикальное перемещение качающей штанги вызывает поворот створок между открытым и закрытым положениями.
Предпочтительно, качающая штанга имеет, по меньшей мере, частично полое внутреннее пространство, при этом существенная часть первого подъемного привода содержится внутри полого внутреннего пространства.
Предпочтительно, первый подъемный привод включает корпус и захват для пальцев, причем корпус по существу содержится внутри, по меньшей мере, частично полого внутреннего пространства, и захват для пальцев проходит наружу от корпуса через проходящий в продольном направлении паз в качающей штанге.
Предпочтительно, перемещение вверх первого подъемного привода вдоль качающей штанги на первое расстояние опускает нижнюю поперечину на второе расстояние.
Предпочтительно, первое расстояние по существу равно второму расстоянию.
Предпочтительно, первое расстояние меньше второго расстояния.
Предпочтительно, первое расстояние по существу составляет половину второго расстояния.
Предпочтительно, один или более подъемных шнуров обертывают вокруг оси первого подъемного привода для скользящего перемещения в нем, при этом концы одного или более подъемных шнуров прикрепляют к качающей штанге вблизи конца качающей штанги.
Предпочтительно, закрывающее устройство дополнительно содержит второй подъемный привод, причем второй подъемный привод с возможностью скольжения прикрепляют к качающей штанге и в рабочем положении соединяют с первым подъемным приводом.
Предпочтительно, по меньшей мере, один из первого и второго подъемных приводов включает блокирующий механизм, причем блокирующий механизм приспособлен для избирательного удерживания первого и второго подъемных приводов в определенном положении по вертикали вдоль приводной штанги.
Предпочтительно, первый и второй подъемные приводы в рабочем положении соединяют одним или более соединительных шнуров, причем каждый конец соединительных шнуров прикрепляют к одному из первого и второго подъемных приводов.
Предпочтительно, блокирующий механизм содержит клин, причем клин с возможностью поворота прикрепляют к корпусу подъемного привода, при этом клин нагружен пружиной в направлении поверхности качающей штанги.
Предпочтительно, блокирующий механизм содержит шарик, причем шарик находится между (I) поверхностью корпуса подъемного привода и (II) поверхностью качающей штанги, входит в контакт с ними и нагружен пружиной в направлении вхождения в контакт.
Предпочтительно, закрывающее устройство дополнительно содержит рычаг с дальним концом, причем дальний конец входит в контакт с шариком, и рычаг приспособлен для перемещения шарика из нагруженного положения между (I) поверхностью корпуса подъемного привода и (II) поверхностью качающей штанги при приведении его в действие.
Предпочтительно, верхнюю поперечину с возможностью поворота устанавливают в раму для совершения поворотного перемещения вокруг продольной оси верхней поперечины.
Предпочтительно, качающую штангу шарнирно соединяют с проходящей в продольном направлении передней кромкой верхней поперечины, при этом вертикальное перемещение качающей штанги вызывает поворот верхней поперечины вокруг продольной оси верхней поперечины.
Предпочтительно, закрывающее устройство дополнительно содержит поворотный рычаг и монтажный кронштейн поворотного рычага для соединения качающей штанги с рамой архитектурного проема в точке по вертикали, расположенной по существу вблизи нижнего конца качающей штанги, причем монтажный кронштейн приспособлен для установки в раму архитектурного проема, при этом поворотный рычаг с возможностью поворота прикрепляют к монтажному кронштейну первым его концом и к качающей штанге вторым его концом.
Согласно настоящему изобретению, получено закрывающее устройство для архитектурного проема, содержащее:
верхнюю поперечину, приспособленную для установки в раме архитектурного проема;
множество створок, висящих на верхней поперечине, причем каждая створка имеет продольную ось;
нижнюю поперечину, расположенную под множеством створок; и
узел качающего механизма, причем узел качающего механизма включает одну или более односторонних шнуровых лестничных конструкций, причем одна или более односторонних шнуровых лестничных конструкций включает задний открывающий шнур и множество “ступенек”, разнесенных вдоль заднего открывающего шнура, но не имеет переднего открывающего шнура, при этом каждая односторонняя шнуровая лестничная конструкция проходит от нижней поперечины до верхней поперечины, и каждую поперечную “ступеньку” из множества поперечных “ступенек” приклеивают к створке из множества створок.
Предпочтительно, закрывающее устройство, дополнительно содержит, по меньшей мере, две шнуровые лестничные конструкции, причем каждая шнуровая лестничная конструкция содержит передний проходящий вертикально открывающий шнур и задний проходящий вертикально открывающий шнур, при этом передний и задний открывающие шнуры соединены множеством поперечных “ступенек”, каждая створка лежит на поперечной “ступеньке” шнуровой лестничной конструкции, и каждая шнуровая лестничная конструкция из, по меньшей мере, двух шнуровых лестничных конструкций проходит от нижней поперечины до верхней поперечины.
Предпочтительно, каждую створку из множества створок приклеивают к поперечной “ступеньке” из множества поперечных “ступенек”.
Предпочтительно, каждая створка лежит на поперечной “ступеньке” из множества поперечных “ступенек”.
Предпочтительно, каждая створка имеет нижнюю сторону, и поперечную “ступеньку” из множества поперечных “ступенек” приклеивают к нижней стороне створки в двух отдельных точках.
Предпочтительно, по меньшей мере, две шнуровые лестничные конструкции содержат первую и вторую шнуровые лестничные конструкции, причем первую шнуровую лестничную конструкцию располагают на расстоянии около одного дюйма от левого конца каждой створки из множества створок, и вторую шнуровую лестничную конструкцию располагают на расстоянии около одного дюйма от правого конца каждой створки из множества створок.
Предпочтительно, каждую из односторонних шнуровых лестничных конструкций располагают в точках в продольном направлении каждой створки из множества створок между, по меньшей мере, двумя шнуровыми лестничными конструкциями.
Предпочтительно, верхнюю поперечину с возможностью поворота устанавливают в раму для совершения поворотного перемещения вокруг продольной оси верхней поперечины.
Предпочтительно, конфигурация поперечного сечения верхней поперечины по существу подобна конфигурации поперечного сечения каждой створки из множества створок.
Предпочтительно, ширина верхней поперечины превышает ширину каждой створки из множества створок.
Предпочтительно, задние открывающие шнуры односторонней шнуровой лестничной конструкции и, по меньшей мере, две шнуровые лестничные конструкции прикрепляют к верхней поперечине в точках вдоль и вблизи проходящей в продольном направлении задней кромки верхней поперечины.
Предпочтительно, передние открывающие шнуры, по меньшей мере, двух шнуровых лестничных конструкций прикрепляют к верхней поперечине в точках вдоль и вблизи проходящей в продольном направлении передней кромки верхней поперечины.
Предпочтительно, закрывающее устройство дополнительно содержащее множество подъемных шнуров, причем множество подъемных шнуров включает, по меньшей мере, один передний подъемный шнур и, по меньшей мере, один задний подъемный шнур, при этом, по меньшей мере, один передний подъемный шнур из множества подъемных шнуров проходит по существу на одинаковом протяжении с одним из передних открывающих шнуров одной или более из, по меньшей мере, двух шнуровых лестничных конструкций от нижней поперечины до верхней поперечины, при этом, по меньшей мере, один задний подъемный шнур проходит по существу на одинаковом протяжении с одним из задних открывающих шнуров одной или более из, по меньшей мере, двух шнуровых лестничных конструкций и одной или более односторонних шнуровых лестничных конструкций от нижней поперечины до верхней поперечины.
Предпочтительно, задний подъемный шнур переплетают с соответствующим проходящем на одинаковом протяжении задним открывающим шнуром.
Предпочтительно, закрывающее устройство дополнительно содержит удлиненную по существу вертикально ориентированную приводную качающую штангу, причем приводную штангу шарнирно соединяют с проходящей в продольном направлении передней кромкой верхней поперечины, при этом вертикальное движение приводной штанги вызывает поворот верхней поперечины вокруг продольной оси приводной штанги.
Предпочтительно, закрывающее устройство дополнительно содержит узел подъемного механизма, причем узел подъемного механизма включает один или более подъемных шнуров и подъемный привод, при этом подъемный привод с возможностью скольжения прикреплен к приводной штанге, и один или более подъемных шнуров проходит от нижней поперечины к верхней поперечине, вдоль верхней поперечины и вдоль, по меньшей мере, части приводного узла к подъемному приводу.
Предпочтительно, один или более подъемных шнуров заканчивается в подъемном приводе.
Предпочтительно, подъемный привод дополнительно содержит блокирующий механизм, конфигурированный для избирательного удерживания подъемного привода в определенном положении по вертикали вдоль приводной штанги.
Согласно настоящему изобретению, получено закрывающее устройство для архитектурного проема, причем закрывающее устройство содержит:
верхнюю поперечину;
множество створок, подвешенных на верхней поперечине при помощи одной или более шнуровых лестничных конструкций; и
качающий механизм, причем качающий механизм в рабочем положении соединен с одной или более шнуровых лестничных конструкций для избирательного качания множества створок, при этом качающий механизм включает: (I) груз, (II) приводной шнур качающего механизма, причем приводной шнур качающего механизма соединен с грузом, (III) катушку для приема части приводного шнура качающего механизма, при этом катушка нагружена в одном направлении вращения грузом, и (IV) противовес, причем противовес нагружает катушку во втором направлении вращения, противоположном первому направлению вращения.
Предпочтительно, верхняя поперечина приспособлена для установки в раму архитектурного проема с обеспечением поворотного перемещения верхней поперечины вокруг продольной оси верхней поперечины.
Предпочтительно, противовесом является пружина.
Предпочтительно, грузом является подвеска, причем подвеску прикрепляют к свободному концу приводного шнура качающего механизма.
Предпочтительно, катушка является конической.
Предпочтительно, поверхность катушки содержит непрерывную канавку, имеющую размеры, приспособленные для приема приводного шнура качающего механизма, при этом непрерывная канавка проходит по спирали вокруг поверхности.
Предпочтительно, закрывающее устройство дополнительно содержит левый и правый монтажные кронштейны, причем каждый кронштейн приспособлен для прикрепления к раме архитектурного проема и включает отступающую от него ось, при этом ось приспособлена для установки на нее одного из левого и правого концов верхней поперечины.
Предпочтительно, один из левого и правого монтажных кронштейнов включает либо зубчатое колесо, либо ролик, прикрепленный к оси, при этом качающий механизм дополнительно содержит один или более роликов или зубчатых колес, в рабочем положении соединенных либо с зубчатым колесом, либо с роликом, прикрепленным к оси.
Предпочтительно, нагружающие усилия, прилагаемые противовесом и грузом, по существу одинаковы.
Предпочтительно, катушка содержится внутри верхней поперечины.
Предпочтительно, катушку соединяют с верхней поперечиной для обеспечения вращения катушки вокруг продольной оси верхней поперечины.
Предпочтительно, пружиной является пружина постоянного натяжения.
Предпочтительно, закрывающее устройство дополнительно содержит монтажный кронштейн, приспособленный для обеспечения поворота верхней поперечины относительно монтажного кронштейна, причем монтажный кронштейн дополнительно содержит либо зубчатое колесо, либо ролик, прикрепленный к монтажному кронштейну для предотвращения вращательного перемещения либо зубчатого колеса, либо ролика относительно монтажного кронштейна.
Предпочтительно, катушка в рабочем положении соединена либо с зубчатым колесом, либо с роликом при помощи одного или более зубчатых колес или роликов.
Предпочтительным из зубчатого колеса и ролика является зубчатое колесо.
Предпочтительно, верхние концы одной или более шнуровых лестничных конструкций прикрепляют к передней или задней проходящим в продольном направлении кромкам верхней поперечины.
Предпочтительно, верхний конец одной или более шнуровых лестничных конструкций прикрепляют к передней или задней продольным кромкам верхней поперечины.
Согласно настоящему изобретению, получено закрывающее устройство для архитектурного проема, содержащее:
множество створок;
одну или более шнуровых лестничных конструкций, соединяющих створки; и
сбалансированный качающий механизм для поворота множества створок по часовой стрелке и против часовой стрелки вокруг осей поворота множества створок, причем сбалансированный качающий механизм включает первый противовес и второй противовес, при этом первый противовес нагружает множество створок в направлении перемещения по часовой стрелке, и второй противовес нагружает множество створок в направлении перемещения против часовой стрелки.
Предпочтительно, первый противовес представляет собой груз.
Предпочтительно, второй противовес представляет собой пружину.
Предпочтительно, пружиной является пружина постоянного натяжения.
Предпочтительно, направленное по часовой стрелке нагружающее усилие, прилагаемое первым противовесом, по существу равно направленному против часовой стрелки нагружающему усилию, прилагаемому вторым противовесом.
Предпочтительно, первый и второй противовесы в рабочем положении соединены с катушкой.
Предпочтительно, катушка содержится внутри верхней поперечины закрывающего средства.
Предпочтительно, верхняя поперечина приспособлена для поворотного перемещения вокруг продольной оси верхней поперечины, когда она установлена в архитектурный проем.
Предпочтительно, катушку соединяют с верхней поперечиной для обеспечения вращения катушки вокруг продольной оси верхней поперечины относительно верхней поперечины.
Предпочтительно, катушка в рабочем положении соединена с монтажным кронштейном, причем монтажный кронштейн приспособлен для прикрепления к поверхности архитектурного проема.
Предпочтительно, закрывающее средство также содержит верхнюю поперечину, причем одна или более шнуровых лестничных конструкций соединяют с проходящими в продольном направлении кромками верхней поперечины.
Предпочтительно, закрывающее средство дополнительно содержит шнур и механизм для присоединения противовеса, причем шнур прикрепляют к грузу одним концом и к механизму для присоединения противовеса другим концом.
Предпочтительно, механизм для присоединения противовеса содержит катушку, содержащуюся в верхней поперечине закрывающего устройства.
Согласно настоящему изобретению, получен сбалансированный качающий механизм для использования в закрывающем устройстве для архитектурного проема, причем закрывающее устройство включает множество створок, при этом качающий механизм содержит:
первый противовес, приспособленный для приложения нагрузки, направленной по часовой стрелке, к множеству створок вокруг продольных осей множества створок;
второй противовес, приспособленный для приложения нагрузки, направленной против часовой стрелки, к множеству створок вокруг продольных осей множества створок, при этом противодействующие нагружающие усилия, прилагаемые первым и вторым противовесами, по существу равны;
соединительный механизм для соединения в рабочем положении первого и второго противовесов; и
качающий привод, соединенный с соединительным механизмом противовеса, приспособленный для избирательного качания створок.
Предпочтительно, первый противовес представляет собой груз.
Предпочтительно, второй противовес представляет собой пружину.
Предпочтительно, качающий привод представляет собой шнур, при этом один конец шнура соединяют с грузом, и другой конец шнура соединяют с соединительным механизмом противовеса.
Предпочтительно, соединительный механизм противовеса содержит катушку, приспособленную для соединения, с возможностью вращения, с верхней поперечиной закрывающего устройства.
Предпочтительно, закрывающее устройство также включает нижнюю створку, и конфигурация поперечного сечения нижней створки по существу подобно конфигурации поперечного сечения каждой створки из множества створок.
Формула изобретения
1. Закрывающее устройство для архитектурного проема, содержащее левый и правый монтажные кронштейны для прикрепления к архитектурному проему, горизонтальную верхнюю поперечину с левым и правым концами, каждый из которых шарнирно прикреплен к левому и правому монтажным кронштейнам соответственно, причем верхняя поперечина выполнена с возможностью поворота между открытым и закрытым положениями вокруг ее продольной оси, и множество горизонтально ориентированных створок, висящих на верхней поперечине, каждая из которых: (1) размещена на расстоянии по вертикали от соседней створки, (11) выполнена с возможностью поворота между открытым положением и закрытым положением вокруг продольной оси створки и (111) выполнена с возможностью перемещения по вертикали между первым положением, в котором закрывающее устройство выдвинуто, и вторым положением, в котором закрывающее устройство задвинуто, при этом в открытом положении существенно большая часть света, падающего на архитектурный проем, проходит непосредственно через него, а в закрытом положении непосредственное прохождение через проем существенно большей части падающего света блокировано, при этом каждый из левого и правого концов верхней поперечины включает первый штифт, простирающийся, по существу, вдоль продольной оси верхней поперечины, а, по меньшей мере, один из левого и правого концов верхней поперечины включает второй штифт, отходящий от первого штифта, причем каждый из первых штифтов выполнен с возможностью вхождения горизонтально со скольжением в соответствующий левый и правый монтажные кронштейны, при этом, по меньшей мере, один из левого и правого монтажных кронштейнов имеет, по существу, простирающийся вверх и вниз паз, в котором, по меньшей мере, один второй штифт сцеплен с возможностью скольжения.
2. Устройство по п.1, в котором каждый из первых штифтов размещен в горизонтальном пазу в соответствующем одном из левого и правого монтажных кронштейнов.
3. Устройство по п.2, в котором, по меньшей мере, один простирающийся вверх и вниз паз имеет самое заднее положение близко к заднему концу встречного горизонтального паза и простирается вперед от самого заднего положения в его верхнем положении к верхнему концу так же, как и в его нижнем направлении к нижнему концу.
4. Устройство по п.3, в котором простирающийся, по существу, вверх и вниз паз имеет, по существу, V-образную форму.
5. Устройство по п.3, в котором простирающийся, по существу, вверх и вниз паз является дугообразным.
6. Устройство по любому из пп.1-5, в котором форма поперечного сечения верхней поперечины, по существу, подобна форме поперечного сечения каждой створки из множества створок.
7. Устройство по любому из пп.1-5, в котором ширина верхней поперечины превышает ширину каждой створки из множества створок.
8. Устройство по любому из пп.1-5, в котором верхняя поперечина содержит дугообразную выпуклую верхнюю сторону и дугообразную выпуклую нижнюю сторону, причем верхняя сторона и нижняя сторона пересекаются по линиям общих передней и задней кромок.
9. Устройство по п.8, в котором верхняя поперечина выполнена из экструдированного металла.
10. Устройство по п.7, в котором ширина верхней поперечины составляет около 110% от ширины каждой створки из множества створок.
11. Устройство по п.1, в котором левый и правый концы верхней поперечины прикреплены к левому и правому монтажным кронштейнам для, по существу, горизонтального перемещения в направлении, по существу, перпендикулярном продольной оси верхней поперечины.
12. Устройство по п.11, в котором каждый из левого и правого монтажных кронштейнов также включает ориентированный горизонтально язычок, причем язычок выполнен с возможностью вхождения со скольжением в корпус монтажного кронштейна для горизонтального перемещения и выдвижения перед передней кромкой корпуса, при этом первый паз расположен в язычке.
13. Устройство по п.11 или 12, в котором, по меньшей мере, один штифт из одного или более штифтов левого и правого концов монтажного кронштейна нагружен пружиной.
14. Устройство по п.1, в котором множество створок подвешено на верхней поперечине при помощи двух или более шнуровых лестничных конструкций, причем каждая шнуровая лестничная конструкция содержит передний проходящий вертикально открывающий шнур и задний проходящий вертикально открывающий шнур, при этом передний и задний открывающие шнуры соединены множеством поперечных “ступенек”, каждая створка подвешена на поперечной “ступеньке” шнуровой лестничной конструкции и удерживается ей, каждый передний открывающий шнур и задний открывающий шнур имеет верхний конец, при этом верхний конец переднего открывающего шнура прикреплен к верхней поперечине вблизи проходящей в продольном направлении передней кромки верхней поперечины, а верхний конец заднего открывающего шнура прикреплен к верхней поперечине вблизи проходящей в продольном направлении задней кромки верхней поперечины.
15. Устройство по п.14, в котором каждая створка при помощи клейкого вещества соединена с поперечной “ступенькой” из множества поперечных “ступенек”.
16. Устройство по п.15, в котором каждая створка лежит на поперечной “ступеньке” из множества поперечных “ступенек”.
17. Устройство по п.14, дополнительно содержащее набор подъемных шнуров для каждой из двух или более шнуровых лестничных конструкций, причем каждый набор подъемных шнуров содержит передний подъемный шнур и задний подъемный шнур, передний подъемный шнур проходит, по существу, на одинаковом протяжении с передним открывающим шнуром соответствующей шнуровой лестничной конструкции от нижнего конца нижней поперечины до передней кромки верхней поперечины, задний открывающий шнур проходит, по существу, на одинаковом протяжении с задним открывающим шнуром соответствующей шнуровой лестничной конструкции от нижнего конца нижней поперечины до задней кромки верхней поперечины, при этом каждый передний и задний открывающие шнуры проходят от соответствующих передней и задней кромок верхней поперечины во внутреннее пространство верхней поперечины.
18. Устройство по п.17, в котором задний подъемный шнур переплетен с проходящим на одинаковом протяжении задним открывающим шнуром соответствующей шнуровой лестничной конструкции.
19. Устройство по п.1, дополнительно содержащее удлиненную, по существу, вертикально ориентированную качающую приводную штангу, шарнирно соединенную с проходящей в продольном направлении передней кромкой верхней поперечины, при этом при вертикальном перемещении приводной штанги верхняя поперечина поворачивается между открытым и закрытым положениями.
РИСУНКИ
|
|