|
|
(21), (22) Заявка: 2005112959/03, 28.04.2005
(24) Дата начала отсчета срока действия патента:
28.04.2005
(43) Дата публикации заявки: 10.11.2006
(46) Опубликовано: 10.04.2007
(56) Список документов, цитированных в отчете о поиске:
DE 3437430 C1, 27.02.1986. GB 2159198 A, 27.11.1985. GB 1223908 A, 03.03.1971. US 6098366 A, 08.08.2000. RU 16172 U1, 10.12.2000.
Адрес для переписки:
01001, г. Киев, а/я В-104, В.В. Разуменко
|
(72) Автор(ы):
Гредунов Евгений Валерьевич (UA)
(73) Патентообладатель(и):
Гредунов Евгений Валерьевич (UA)
|
(54) УЗЕЛ СОЕДИНЕНИЯ ФАСАДНЫХ ПРОФИЛЕЙ
(57) Реферат:
Изобретение относится к конструкциям соединения фасадных профилей. Изобретение позволит повысить надежность соединения профилей. Узел соединения фасадных профилей содержит вертикальные и горизонтальные профили с одинаковой формой сечений и уплотнительные элементы. Вертикальные и горизонтальные профили выполнены полыми, на одной из сторон которых расположены пазы. Горизонтальные профили выполнены с возможностью соединения с вертикальными профилями посредством кронштейнов. Уплотнительные элементы выполнены в виде сплошной полосы и установлены в пазы, выполненные на поверхностях профилей, и соединены между собой при помощи клея. По краям уплотнительных элементов имеются прямоугольные утолщения с рифлением на поверхности. В месте соединения профилей уплотнения имеют вырез, длина которого равна ширине уплотнительного элемента. Глубина выреза равна высоте утолщения уплотнительных элементов, которые расположены на поверхности горизонтальных профилей, и в месте соединения вертикальных и горизонтальных профилей дополнительно установлена усилительная планка. 5 з.п. ф-лы, 3 ил.
Изобретение относится к области строительства, а именно к конструкциям рам из профилей для различных типов ограждающих конструкций, которые могут применяться для витрин, зимних садов, окон разнообразных форм, перегородок и т.п.
Известна конструкция крепления заполнения в профиле оконной рамы, содержащая профиль с П-образными пазами, в один из которых вставлен съемный штапик, опорная часть которого выполнена в виде Т-образного профиля с утолщением на конце. В другой П-образный паз вставлен несъемный штапик, опорная часть которого выполнена в виде F-образного сечения со средним выступом и отогнутым концом. На одном конце двух типов штапиков выполнены пазы, в которых размещают уплотнительный элемент для удержания заполнения. Кроме того, заполнение установлено на опорной подкладке, которая изготовлена из дерева (см. А.С. СССР №1474247 от 23.04.89, МПК Е06В 3/58). Такое решение позволяет упростить конструкцию крепления и унифицировать профили за счет однотипности сечений каналов для съемного и несъемного штапиков.
Недостатком этой конструкции крепления является наличие значительного количества промежуточных элементов сложной конфигурации для закрепления, заполнения, что усложняет конструкцию, а следовательно, увеличивает затраты и издержки производства на ее изготовление, требуется при монтаже и ее использовании специального оборудования и, как следствие, уменьшается надежность системы в целом.
Известен также строительный блок, который содержит коробку и раму, выполненные из горизонтальных и вертикальных брусочных профилей, которые имеют одинаковые или подобные между собой профили сечений. Причем между конструкцией коробки блока и конструкцией рамы, а также между элементами рамы установлены внешний, средний и внутренний уплотнительные контуры, упругость материала которых изменяется по нарастающей от внешнего до внутреннего. Кроме того, все составные части этой конструкции выполнены из дерева (см. патент Украины на полезную модель №406 от 17.07.98, МПК Е06В 01/04, Е06В 3/04).
Недостатком такой конструкции является выполнение ее из значительного количества составных частей, и, как следствие, необходимость значительного количества уплотнительных контуров разной формы и конфигураций для приобретения и сохранения этой конструкцией необходимых потребительских свойств, что уменьшает надежность оконного блока, снижает его звуко- и влагоизоляцию и не позволяет использовать такую конструкцию для других форм рам и коробок, кроме прямоугольных. Кроме того, все брусочные профили изготовлены из дерева, что приводит к ограничению использования такой конструкции для витражей, витрин и т.п. повышенной высотности, так как это есть технически и экономически нецелесообразным.
В основу изобретения поставлена задача создать конструкцию узла соединения фасадных профилей, которую можно использовать для витрин, витражей, зимних садов, окон классической и других разнообразных форм и т.п., с повышением надежности таких конструкций, расширить их технологические и функциональные возможности и увеличить звуко- и влагоизоляцию.
Поставленная задача решается тем, что узел соединения фасадных профилей, содержащий вертикальные и горизонтальные профили с одинаковыми формами сечений и уплотнительные элементы, согласно изобретению, вертикальные и горизонтальные профили выполнены полыми, на одной из сторон которых имеются пазы, причем горизонтальные профили имеют возможность при помощи соединительных кронштейнов стыковаться с вертикальными, а уплотнительные элементы выполнены в виде сплошной полосы, по краям которой выполненные прямоугольные утолщения с рифлением на поверхности, при этом в месте соединения профилей уплотнительные элементы, установленные на поверхности вертикальных профилей, имеют вырез, длина которого равна ширине упдотнительного элемента, а глубина равна высоте утолщения уплотнительных элементов, которые расположены на поверхности горизонтальных профилей, и в месте соединения вертикальных и горизонтальных профилей дополнительно установлена усилительная планка.
Причем вертикальные и горизонтальные профили выполнены из алюминия и/или металлопластика, а пазы на поверхности вертикальных и горизонтальных профилей выполнены прямоугольными с Т-образными перемычками.
Кроме того, боковые стенки соединительных кронштейнов выполнены криволинейными и закреплены на поверхности вертикальных профилей при помощи крепежных элементов. Причем прямоугольные утолщения уплотнительных элементов выполнены с некоторым зазором к их сплошной основе, и усилительная планка закреплена при помощи крепежных элементов как в вертикальном, так и в горизонтальных профилях.
Заявленный узел соединения фасадных профилей поясняется чертежами, где
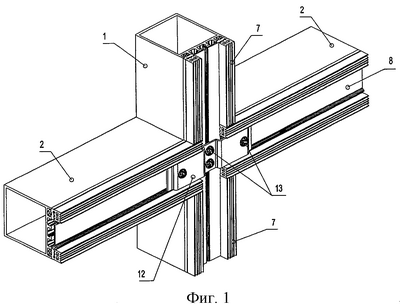
на фиг.1 изображен общий вид узла соединения в сборе в аксонометрии;
на фиг.2 изображен общий вид составных частей узла в аксонометрии;
на фиг.3 вид А и вид Б по фиг.2 (показано поперечное сечение горизонтальных и вертикального профилей узла).
Узел соединения фасадных профилей содержит вертикальный полый профиль 1, горизонтальные полые профили 2, на одной стороне которых выполнены пазы 3, разделяющиеся Т-образными перемычками 4. На вертикальном профиле 1 установлены соединительные кронштейны 5 при помощи крепежных элементов 6, например саморезными винтами. На поверхность вертикального 1 профиля, где выполнены пазы 3, установлен сплошной уплотнительный элемент 7, и на поверхность горизонтальных профилей 2, где также выполнены пазы 3, установлен идентичный, как и на вертикальном профиле, сплошной уплотнительный элемент 8. Причем по краям уплотнительных элементов 7 и 8 сделаны прямоугольные утолщения 9, на поверхности которых выполнены рифления 10.
На уплотнительном элементе 7, установленном на поверхности вертикального профиля 1, выполнен вырез 11, длина которого равна ширине уплотнительного элемента 8, а глубина равна высоте утолщения 9. В месте соединения вертикальных 1 и горизонтальных 2 профилей дополнительно установлена усилительная планка 12, которая при помощи крепежных деталей 13, например винтов и саморезов, закреплена на полых горизонтальных 2 и вертикальном 1 профилях.
Узел соединения фасадных профилей работает следующим образом.
На полый вертикальный профиль 1 устанавливают соединительные кронштейны 5 при помощи крепежных деталей 6. На соединительные кронштейны 5 устанавливают, точнее надевают полые горизонтальные профили 2. За счет того, что соединительные кронштейны 5 имеют криволинейные боковые стенки, согнутые внутрь, и сзади выполнены углубления у основания кронштейна 5, то горизонтальные профили 2 сначала легко, а потом с небольшим натяжением и далее более плотно надевают их на соединительные кронштейны 5. Когда уже горизонтальные профили 2 установлены, то дополнительно, по необходимости, их фиксируют винтом, который ввинчивают в монтажный прилив с резьбой, предусмотренный в соединительном кронштейне 5 (на чертежах не показано).
Далее по линейным размерам горизонтальных 2 и вертикального 1 профилей готовят соответствующие уплотнительные элементы 7 и 8. Причем на уплотнительном элементе 7 выполняют два симметричных выреза 11 в месте соединения вертикальных 1 и горизонтальных 2 профилей с технологически необходимым зазором. Подготовленные уплотнительные элементы 7 и 8 наклеивают на поверхности, где выполнены пазы 3, вертикального 1 и горизонтальных 2 профилей. При этом уплотнительный элемент 8 закрепляют таким образом, чтобы он плотно входил в вырез 11, а его торцевая поверхность была бы в одной плоскости с утолщением 9 уплотнительного элемента 7.
Кроме того, в месте соединения вертикальных 1 и горизонтальных 2 профилей утолщения 9, расположенные как на уплотнительном элементе 7, так и на уплотнительном элементе 8, тоже находятся в одной плоскости. После этого для увеличения прочности узла соединения устанавливают усилительную планку 12, которую закрепляют как на вертикальном профиле 1, так и на горизонтальных профилях 2 с помощью крепежных элементов 13.
Из таких узлов соединения монтируют каркас для установления на них, например, стеклопакетов. Для этого на сформированный каркас монтируют стеклопакеты как одинарные, так и двойные, в зависимости от назначения конструкции, которые затем закрепляют.
Выполнение вертикальных 1 и горизонтальных 2 профилей полыми из алюминия или металлопластика дает возможность легко их гнуть на стандартном оборудовании и получать разнообразные формы (арки, любые геометрические фигуры, овалы и т.п.). Кроме того, конструкция узла соединения с такими вертикальными профилями позволяет изготавливать витрины, витражи без промежуточных кронштейнов высотой более 2,5 метров.
Специальная система уплотнения за счет использования конструктивных особенностей установки уплотнительных элементов 7 и 8 дает возможность понизить теплопередачу, полностью защитить от конденсата и влаги, а также значительно снизить звукоизоляцию.
Формула изобретения
1. Узел соединения фасадных профилей, содержащий вертикальные и горизонтальные профили с одинаковой формой сечений и уплотнительные элементы, отличающийся тем, что вертикальные и горизонтальные профили выполнены полыми, на одной из сторон которых расположены пазы, причем горизонтальные профили имеют возможность при помощи соединительных кронштейнов соединяться с вертикальными профилями, а уплотнительные элементы выполнены в виде сплошной полосы и установлены в пазы, выполненные на поверхностях профилей, и соединены между собой при помощи клея, причем по краям уплотнительных элементов имеются прямоугольные утолщения с рифлением на поверхности, кроме того, в месте соединения профилей имеют вырез, длина которого равна ширине уплотнительного элемента, а глубина равна высоте утолщения уплотнительных элементов, которые расположены на поверхности горизонтальных профилей, и в месте соединения вертикальных и горизонтальных профилей дополнительно установлена усилительная планка.
2. Узел соединения по п.1, отличающийся тем, что вертикальные и горизонтальные профили изготовлены из алюминия и/или металлопластика.
3. Узел соединения по п.1, отличающийся тем, что пазы на поверхности вертикальных и горизонтальных профилей выполнены прямоугольными, имеющими Т-образные перемычки.
4. Узел соединения по п.1, отличающийся тем, что боковые стенки соединительных кронштейнов выполнены криволинейными и закреплены на поверхности вертикальных профилей при помощи крепежных элементов.
5. Узел соединения по п.1, отличающийся тем, что прямоугольные утолщения уплотнительных элементов выполнены с зазором к их сплошной основе.
6. Узел соединения по п.1, отличающийся тем, что усилительная планка закреплена при помощи крепежных элементов как в вертикальном, так и в горизонтальных профилях.
РИСУНКИ
|
|