|
| На основании пункта 3 статьи 13 Патентного закона Российской Федерации от 23 сентября 1992 г. № 3517-I патентообладатель обязуется передать исключительное право на изобретение (уступить патент) на условиях, соответствующих установившейся практике, лицу, первому изъявившему такое желание и уведомившему об этом патентообладателя и федеральный орган исполнительной власти по интеллектуальной собственности, – гражданину РФ или российскому юридическому лицу. |
|
(21), (22) Заявка: 2005132536/03, 24.10.2005
(24) Дата начала отсчета срока действия патента:
24.10.2005
(46) Опубликовано: 10.04.2007
(56) Список документов, цитированных в отчете о поиске:
RU 2198279 С2, 10.02.2003. GB 2029480 А, 19.03.1980. DE 3518724 A1, 27.11.1986. DE 2918665 A1, 20.11.1980. DE 3840497 A1, 07.06.1990.
Адрес для переписки:
140093, Московская обл., г. Дзержинский, а/я 48, А.И. Максимову
|
(72) Автор(ы):
Максимов Александр Иванович (RU)
(73) Патентообладатель(и):
Максимов Александр Иванович (RU)
|
(54) РАМА ДВЕРНОГО ПОЛОТНА
(57) Реферат:
Изобретение относится к области строительства, а именно к конструкциям дверей. Изобретение позволит расширить арсенал технических средств для конструкций дверей. Рама дверного полотна содержит каркас со стенками и полостью. Каркас образован крайними и средними участками, скрепленными друг с другом с образованием сквозных полостей или окон. Рама снабжена теплозвукоизолирующими пулезащитными панелями, каждая панель выполнена в виде корпуса с днищем, боковой частью, внутренней полостью с входом/выходом, крышкой и средством закрепления, с теплозвукоизолирующими пористыми пластинами и стальными пулезащитными пластинами. Теплозвукоизолирующие пористые пластины и стальные пулезащитные пластины размещены во внутренней полости корпуса последовательно друг за другом с их чередованием. Корпус образован из тонколистового стального листа с краями. Средство закрепления образовано краями стального листа и имеет в сечении П-образную форму с краевыми полостями. Крышка установлена на входе/выходе и частично размещена в краевых полостях. Панели размещены в сквозных полостях или окнах и закреплены к каркасу крепежными изделиями посредством средства закрепления. 2 ил.
Изобретение относится к строительству, в частности к элементу двери – раме дверного полотна, и может быть использовано при изготовлении дверей защитных, размещаемых в проемах стен.
Известна рама дверного полотна, содержащая каркас с внутренней полостью и стенками (RU 2245980 С2).
Известна также рама дверного полотна, содержащая каркас со стенками и полостью, образованный крайними и средними участками, скрепленными друг с другом с образованием сквозных полостей или окон (RU 2198279 С2).
Недостаток известных технических решений заключается в том, что они имеют низкий уровень противодействия взлому, теплозвукоизоляции и пулестойкости и по этой причине не могут быть использованы при изготовлении рам дверных полотен для дверей защитных по ГОСТ Р 51072-97. В частности, указанный ГОСТ предусматривает четыре класса дверей по пулестойкости П-1 (пистолет ПМ), П-2 (пистолет ТТ), П-3 (автомат АКМ) и П-4 (снайперская винтовка СВД). Требования указанного стандарта Российской Федерации являются обязательными.
Задача, на решение которой направлено заявляемое технические решения, состоит в расширении арсенала технических средств определенного назначения, в частности создании новой конструкции рамы дверного полотна, которая бы была лишена указанных выше недостатков и обеспечивала бы необходимый и достаточный уровень противодействия взлому, теплозвукоизоляции и пулестойкости.
Технический результат, который может быть при этом получен, заключается в реализации этого назначения, т.е. в создании новой конструкции рамы дверного полотна, которая бы обеспечила необходимый и достаточный уровень противодействия взлому, теплозвукоизоляции и пулестойкости.
Сущность заявляемого устройства заключается в том, что рама дверного полотна, содержащая каркас со стенками и полостью, образованный крайними и средними участками, скрепленными друг с другом с образованием сквозных полостей или окон, согласно изобретению снабжена теплозвукоизолирующими пулезащитными панелями, каждая из которых содержит корпус с днищем, боковой частью, внутренней полостью с входом/выходом, крышкой и средством закрепления, теплозвукоизолирующие пористые пластины и стальные пулезащитные пластины, причем теплозвукоизолирующие пористые пластины и стальные пулезащитные пластины размещены во внутренней полости корпуса последовательно друг за другом с их чередованием, а корпус образован из тонколистового стального листа с краями, при этом средство закрепления образовано краями стального листа и имеет в сечении П-образную форму с краевыми полостями, а крышка установлена на входе/выходе и частично размещена в краевых полостях, причем панели размещены в сквозных полостях или окнах и закреплены к каркасу крепежными изделиями посредством средства закрепления.
Именно указанные существенные признаки, указанные выше по тексту, обеспечивают достижение поставленной задачи и получение нового технического результата. Заявляемая рама дверного полотна предназначена для размещения между внешней и внутренней накладками дверного полотна, причем накладки могут быть закреплены к раме или могут быть установлены с возможностью перемещения относительно рамы дверного полотна.
Сопоставительный анализ заявляемой рамы дверного полотна с прототипом показывает, что заявляемое устройство имеет общие признаки с прототипом:
– каркас со стенками и полостью, образованный крайними и средними участками, скрепленными друг с другом с образованием сквозных полостей или окон.
Заявляемая рама дверного полотна отличается от прототипа новыми признаками:
– снабжена теплозвукоизолирующими пулезащитными панелями, каждая из которых содержит корпус с днищем, боковой частью, внутренней полостью с входом/выходом, крышкой и средством закрепления, теплозвукоизолирующие пористые пластины и стальные пулезащитные пластины;
– теплозвукоизолирующие пористые пластины и стальные пулезащитные пластины размещены во внутренней полости корпуса последовательно друг за другом с их чередованием;
– корпус образован из тонколистового стального листа с краями;
– средство закрепления образовано краями стального листа и имеет в сечении П-образную форму с краевыми полостями;
– крышка установлена на входе/выходе и частично размещена в краевых полостях;
– панели размещены в сквозных полостях или окнах и закреплены к каркасу крепежными изделиями посредством средства закрепления.
Из приведенного перечня признаков заявляемой конструкции рамы дверного полотна и достижения поставленной задачи наглядно видно, что заявляемое техническое решение представляет собой новую совокупность признаков, как сочетание известных и новых признаков, обеспечивающих получение нового технического результата, неизвестного на дату подачи заявки. Новый технический результат, который может быть получен при осуществлении изобретения, заключается в достижении поставленной задачи – расширение арсенала технических средств определенного назначения, в частности создание новой конструкции рамы дверного полотна.
Заявленный объект промышленно применим, т.к. может быть использован в строительстве, промышленности, сельском хозяйстве и других отраслях народного хозяйства, где используются составные части дверей. Заявляемое техническое решение может быть воспроизведено в том виде, как оно охарактеризовано в пункте формулы изобретения с использованием известных материалов, технологий и технологического оборудования. В случае осуществления изобретения по пункту формулы изобретения действительно возможна реализация указанного выше назначения.
Техническое решение заявляемого объекта соответствует критерию «новизна», т.к. оно неизвестно из уровня техники на дату подачи заявки. Не известна из уровня техники совокупность существенных признаков заявляемого технического решения и их влияние на получение требуемого технического результата.
Техническое решение заявляемого объекта соответствует критерию «изобретательский уровень», т.к. не выявлены решения, имеющие признаки, совпадающие с заявленными отличительными признаками, и не обнаружена известность влияния отличительных признаков на получаемый технический результат.
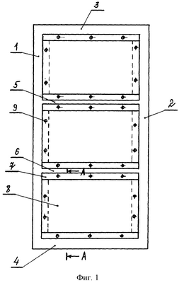
На фиг.1 – показан общий вид рамы дверного полотна (вид спереди); на фиг.2 – сечение А-А фиг.1.
Рама дверного полотна содержит каркас со стенками и полостью 10 (см. фиг.2), образованный крайними 1, 2, 3, 4 (см. фиг.1) и средними 5, 6 участками, скрепленными друг с другом с образованием сквозных полостей или окон 16, и снабжена теплозвукоизолирующими пулезащитными панелями или блоками, каждая из которых содержит корпус с днищем 12, боковой частью 11, внутренней полостью с входом/выходом (на фиг. условно поз. не обозначены), крышкой 8 и средством закрепления 7, теплозвукоизолирующие пористые пластины 14 и стальные пулезащитные пластины 15, причем теплозвукоизолирующие пористые пластины 14, выполненные преимущественно из листового пенопласта (толщина – 8-12 мм), и стальные пулезащитные пластины 15, выполненные преимущественно из стальных листов толщиной, равной 1-2 мм, размещены во внутренней полости корпуса последовательно друг за другом с их чередованием, а корпус образован из тонколистового стального листа с краями, при этом средство закрепления 7 образовано краями стального листа и имеет в сечении П-образную форму с краевыми полостями 17, а крышка 8 установлена на входе/выходе и частично размещена в краевых полостях 17, причем панели размещены в сквозных полостях или окнах 16 и закреплены к каркасу крепежными изделиями 9 (преимущественно «саморезами») посредством средства закрепления 7.
Крайние 1, 2, 3, 4 и средние участки 5, 6 каркаса в сечении имеют швеллерный профиль со стенкой и полками с полостью 10. Средство закрепления 7 выполняет двоякую функцию – обеспечивает закрепление крышки 8, а также закрепление панели к опорной поверхности каркаса (на фиг.1, 2 средство закрепления 7, условно, образовано противоположными частями краев стального листа, хотя может быть исполнено и иным образом). Предлагаемое средство закрепления 7 имеет малую трудоемкость изготовления и обеспечивает легкий монтаж и демонтах крышки 8. Корпус с днищем 12, боковой частью 11, внутренней полостью с входом/выходом выполнен из тонколистового стального проката толщиной, равной 0,25-0,4 мм. На днище 12 и боковой части 11 корпуса образованы соединения 13 краев тонколистового стального листа (для технологии изготовления с использованием выкройки, изготовленной в виде одной детали). Конструкция соединения 13 краев тонколистовых листов широко известна и поясняется изображение на фиг.2. Корпус может быть изготовлен разными способами и может представлять собой сборочную единицу. Следует отметить, что теплозвукоизолирующие пластины 14 и стальные пулезащитные пластины 15 установлены друг за другом с их чередованием и не закреплены друг к другу и тем самым не зафиксированы жестко друг относительно друга или/и относительно корпуса, т.к. именно в этом случае обеспечивается максимально возможная степень теплозвукоизоляции и пулестойкости. Заявляемая конструкция панелей обеспечивает получение дополнительного технического результата, который заключается в обеспечении легкости и простоты извлечения пули, выпущенной из стрелкового оружия и застрявшей во внутренней полости корпуса, что крайне необходимо при проведении оперативно-розыскных мероприятий.
Таким образом, заявляемое техническое решение обеспечивает достижение поставленной задачи и получение нового технического результата.
Формула изобретения
Рама дверного полотна, содержащая каркас со стенками и полостью, образованный крайними и средними участками, скрепленными друг с другом с образованием сквозных полостей или окон, отличающаяся тем, что она снабжена теплозвукоизолирующими пулезащитными панелями, каждая из которых содержит корпус с днищем, боковой частью, внутренней полостью с входом/выходом, крышкой и средством закрепления, теплозвукоизолирующие пористые пластины и стальные пулезащитные пластины, причем теплозвукоизолирующие пористые пластины и стальные пулезащитные пластины размещены во внутренней полости корпуса последовательно друг за другом с их чередованием, а корпус образован из тонколистового стального листа с краями, при этом средство закрепления образовано краями стального листа и имеет в сечении П-образную форму с краевыми полостями, а крышка установлена на входе/выходе и частично размещена в краевых полостях, причем панели размещены в сквозных полостях или окнах и закреплены к каркасу крепежными изделиями посредством средства закрепления.
РИСУНКИ
|
|