|
| На основании пункта 3 статьи 13 Патентного закона Российской Федерации от 23 сентября 1992 г. № 3517-I патентообладатель обязуется передать исключительное право на изобретение (уступить патент) на условиях, соответствующих установившейся практике, лицу, первому изъявившему такое желание и уведомившему об этом патентообладателя и федеральный орган исполнительной власти по интеллектуальной собственности, – гражданину РФ или российскому юридическому лицу. |
|
(21), (22) Заявка: 2005131884/03, 17.10.2005
(24) Дата начала отсчета срока действия патента:
17.10.2005
(46) Опубликовано: 10.04.2007
(56) Список документов, цитированных в отчете о поиске:
RU 2247206 С2, 27.02.2005. RU 2163289 С1, 20.02.2001. FR 2676498 А1, 20.11.1992. GB 1004839 А, 15.09.1965. US 2570160 A, 02.10.1951.
Адрес для переписки:
140093, Московская обл., г. Дзержинский, а/я 48, А.И. Максимову
|
(72) Автор(ы):
Максимов Александр Иванович (RU)
(73) Патентообладатель(и):
Максимов Александр Иванович (RU)
|
(54) ДВЕРЬ
(57) Реферат:
Изобретение относится к области строительства, в частности к устройствам для перекрывания проема в стене или перекрытия жилых или/и производственных помещений. Дверь содержит коробку дверную с запорным элементом, боковой частью и сквозной полостью, петли, ручку дверную, дверное полотно в виде неподвижной части и подвижной части, установленной с возможностью перемещения относительно неподвижной части, подвижная часть образована внешней, внутренней накладками с краями, скрепленными друг с другом с образованием полости и П-образной формы опорой, размещенной в полости и содержащей стенку и полки. Одна из ее полок контактирует с краем внешней накладки. Другая полка контактирует с краем внутренней накладки. Стенка размещена напротив запорного элемента в положении при расположении дверного полотна в сквозной полости. Неподвижная часть образована рамой с направляющей. Ручка дверная закреплена к подвижной части дверного полотна, установленной с возможностью взаимодействия с запорным элементом. Дверное полотно шарнирно закреплено к коробке дверной посредством петель и установлено с возможностью перекрывания сквозной полости. В стенке выполнены отверстия. Запорный элемент образован шипами. Шипы закреплены к боковой части коробки дверной и установлены в полости с возможностью взаимодействия с отверстиями стенки. 8 ил.
Изобретение относится преимущественно к области строительства, в частности к устройствам для закрывания (перекрывания) проема в стене или перекрытия жилых или/и производственных помещений, и может быть использовано в смежных отраслях, например, при изготовлении сейфов и других объектов, содержащих в своем составе дверь.
Известна дверь, содержащая коробку дверную с запорным элементом, боковой частью и сквозной полостью, петли, ручку дверную, дверное полотно в виде неподвижной части и подвижной части, установленной с возможностью перемещения относительно неподвижной части, подвижная часть образована внешней, внутренней накладками с краями, скрепленными друг с другом с образованием полости, и П-образной формы опорой, размещенной в полости и содержащей стенку и полки, причем одна из ее полок контактирует с краем внешней накладки, а другая – с краем внутренней накладки, а стенка размещена напротив запорного элемента в положении, когда дверное полотно размещено в сквозной полости, а неподвижная часть образована рамой с направляющей, ручка дверная закреплена к подвижной части дверного полотна, установленной с возможностью взаимодействия с запорным элементом, а дверное полотно шарнирно закреплено к коробке дверной посредством петель и установлено с возможностью перекрывания сквозной полости (RU 2247206 С2).
Недостаток известной двери заключается в том, что она имеет низкую стойкость к взлому, что объясняется конструктивными особенностями исполнения запорного элементы коробки дверной и участка подвижной части дверного полотна, взаимодействующего с указанным запорным элементом. Если подвижная часть дверного полотна введена во взаимодействие с запорным элементом, то можно отогнуть край коробки дверной (толщина 2-5 мм) и после этого беспрепятственно повернуть дверь в петлях относительно коробки дверной и открыть доступ к сквозной полости коробки, получив тем самым несанкционированный доступ.
Задача, на решение которой направлено заявляемое техническое решение, состоит в расширении арсенала технических средств определенного назначения, в частности создание двери новой конструкции, которая была бы лишена указанного выше недостатка.
Технический результат, который может быть при этом получен, заключается в реализации указанного назначения – расширении арсенала технических средств определенного назначения, в частности создание двери новой конструкции.
В известном техническом решении RU 2247206 С2 в описании поз.11 обозначен силовой элемент в сечении А-А согласно фиг.2 П-образной формы, т.е. указанный силовой элемент имеет форму швеллера. С учетом выполняемой функции указанным силовым элементом, а также с учетом его геометрической формы в сечении заявитель считает целесообразным назвать его П-образной формы опорой, содержащей стенку и полки, т.к. любой швеллер содержит в своем составе стенку и полки (данные термины являются общепринятыми и широко используемыми). Заявитель в составе заявляемого объекта не указывает средства санкционированного перемещения и фиксации подвижной части дверного полотна относительно неподвижной его части в крайних положениях, в качестве которых могут быть использованы, например, по меньшей мере, один замок или запорная система, т.к. это приведет к существенному снижению заявляемых заявителем прав. Совокупность существенных признаков заявляемого объекта «Дверь» является необходимой и достаточной для достижения поставленной цели, а также для идентификации заявляемого объекта среди иных объектов предметной среды.
Сущность заявляемого устройства заключается в том, что в двери, содержащей коробку дверную с запорным элементом, боковой частью и сквозной полостью, петли, ручку дверную, дверное полотно в виде неподвижной части и подвижной части, установленной с возможностью перемещения относительно неподвижной части, подвижная часть образована внешней, внутренней накладками с краями, скрепленными друг с другом с образованием полости, и П-образной формы опорой, размещенной в полости и содержащей стенку и полки, причем одна из ее полок контактирует с краем внешней накладки, а другая – с краем внутренней накладки, а стенка размещена напротив запорного элемента в положении, когда дверное полотно размещено в сквозной полости, а неподвижная часть образована рамой с направляющей, ручка дверная закреплена к подвижной части дверного полотна, установленной с возможностью взаимодействия с запорным элементом, а дверное полотно шарнирно закреплено к коробке дверной посредством петель и установлено с возможностью перекрывания сквозной полости, согласно изобретению в стенке выполнены отверстия, а запорный элемент образован шипами, закрепленными к боковой части коробки дверной и установленными в полости с возможностью взаимодействия с отверстиями стенки.
Именно предлагаемое исполнение конструкции двери обеспечивает расширение арсенала технических средств определенного назначения путем создания новой конструкции двери, которая позволяет вынести суждение о достижении указанного технического результата благодаря наличию новых конструктивных элементов и новой функциональной взаимосвязи между ними.
Сопоставительный анализ заявляемой двери с прототипом показывает, что заявляемый объект имеет общие признаки с прототипом:
– коробка дверная с запорным элементом, боковой частью и сквозной полостью;
– петли;
– ручка дверная;
– дверное полотно в виде неподвижной части и подвижной части, установленной с возможностью перемещения относительно неподвижной части;
– подвижная часть образована внешней, внутренней накладками с краями, скрепленными друг с другом с образованием полости, и П-образной формы опорой, размещенной в полости и содержащей стенку и полки, причем одна из ее полок контактирует с краем внешней накладки, а другая – с краем внутренней накладки, а стенка размещена напротив запорного элемента в положении, когда дверное полотно размещено в сквозной полости;
– неподвижная часть образована рамой с направляющей;
– ручка дверная закреплена к подвижной части дверного полотна, установленной с возможностью взаимодействия с запорным элементом;
– дверное полотно шарнирно закреплено к коробке дверной посредством петель и установлено с возможностью перекрывания сквозной полости.
Заявляемая дверь отличается от прототипа новыми признаками:
– в стенке выполнены отверстия;
– запорный элемент образован шипами, закрепленными к боковой части коробки дверной и установленными в полости с возможностью взаимодействия с отверстиями стенки.
Из приведенного перечня признаков заявляемой двери и решения поставленной задачи наглядно видно, что заявляемое техническое решение представляет собой новую совокупность признаков как сочетание известных и новых признаков, обеспечивающих получение нового технического результата, неизвестного на дату подачи заявки. Новый технический результат, который может быть получен при осуществлении изобретения, заключается в расширении арсенала технических средств путем создания новой конструкции двери.
Заявляемый объект промышленно применим, т.к. может быть использован в строительстве, промышленности, сельском хозяйстве и других отраслях народного хозяйства, где используются двери. Для изготовления двери могут быть использованы известные средства и методы, используемые в машиностроении при изготовлении деталей и узлов преимущественно из стального металлопроката. Ряд деталей двери могут быть изготовлены из стандартизованного металлопроката известными методами. С использованием известных средств и методов действительно возможно осуществление изобретения в том виде, как оно охарактеризовано в формуле изобретения.
Техническое решение заявляемого объекта соответствует критерию «новизна», т.к. оно неизвестно из уровня техники на дату подачи заявки. Не известна из уровня техники совокупность существенных признаков заявляемого технического решения и их влияние на получение требуемого технического результата.
Техническое решение заявляемой двери соответствует критерию «изобретательский уровень», т.к. не выявлены решения, имеющие признаки, совпадающие с его отличительными признаками, и не обнаружена известность влияния отличительных признаков на получаемый технический результат. Между существенными признаками заявляемого объекта и достигаемым техническим результатом существует причинно-следственная связь.
Таким образом, заявляемое техническое решение – «Дверь» соответствует всем критериям, предъявляемым к изобретению, и обеспечивает получение нового технического результата.
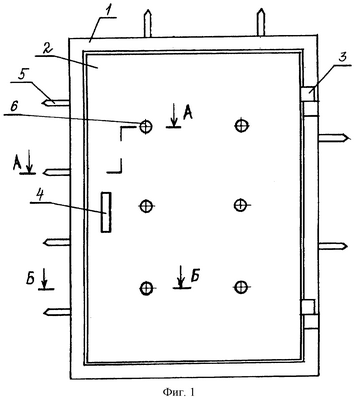
На фиг.1 – показан общий вид двери (вид спереди); на фиг.2 – сечение А-А фиг.1 в увеличенном виде; на фиг.3 – сечение Б-Б фиг.1 в увеличенном виде; на фиг.4 – показан общий вид части двери – дверного полотна (вид спереди); на фиг.5 – показан общий вид части двери – рамы дверного полотна (вид спереди); на фиг.6 – сечение В-В (1) фиг.2, 3; на фиг.7 – сечение В-В (2) фиг.2, 3; на фиг.8 – вид Г на фиг.5.
Дверь содержит:
внешнюю панель 1, внешнюю накладку 2, петли 3, ручку дверную 4, крепежные стержни 5, крепежные элементы 6, 20, отверстия 7, 18, 10, 21, 16, 26, 28, раму 8, опору П-образной формы 9, шипы 11, ограничитель 12, полость 13, боковую часть 14, внутреннюю панель 15, крышку 17, внутреннюю накладку 19, распорную втулку 22, полость 23, опорные элементы 24, элементы качения 25, направляющие 27 и фиксаторы 29.
Коробка дверная (см. фиг.1-3) содержит в своем составе элементы, обозначенные выше поз.1, 7, 14, 15, 18, 13, 5, 12, 11. Отверстие 7 выполнено на внешней панели 1. Отверстие 18 выполнено на внутренней панели 15. Боковая часть 14, на которой выполнены отверстия (на фиг.2, 3 условно поз. не обозначены), размещена между панелями 1, 15. Панели 1, 15 размещены параллельно друг другу с образованием полости 13 с шириной, равной h1. Сквозная полость коробки дверной образована отверстиями 7, 18 и частью полости 13. Запорный элемент коробки дверной образован шипами 11, которые могут быть выполнены в виде функционально самостоятельных конструктивных элементов (см. фиг.3) или/и в виде концевых частей крепежных стержней 5, которые размещаются в полости 13. Шипы 11 содержат ограничители 12, которые размещены в основании шипов 11. Ограничители 12 необходимы для монтажа шипов 12, а также для размещения шипов 11 в строго заданном положении относительно П-образной формы опоры 9 и его отверстий 16. Поверхности (условно поз. не обозначены) ограничителей 12 отстоят от поверхности (условно поз. не обозначена) стенки П-образной формы опоры 9 на величину, равную S, согласно фиг.2, 3.
Дверное полотно (см. фиг.1, 2, 3, 4), содержит элементы, обозначенные поз.2, 9, 16, 19, 8, 17, 10, 23, 6, 20, 21, 22,, 24, 25, 26, 27, 28 и 29, причем дверное полотно содержит подвижную и неподвижную части.
Неподвижная часть дверного полотна образована крышкой 17 (ее может и не быть, т.к. она, в основном, используется для повышения жесткости и прочности рамы 8), рамой 8 (см. фиг.2, 3, 4, 5) с направляющей 27 и отверстиями 10, причем направляющая в качестве одного из вариантов выполнения условно показана выполненной в виде четырех отверстий (см. фиг.5), имеющих длину, равную h4 (см. фиг.8) и ширину, равную h3. Отверстия 10 имеют размеры, длину – h5 и высоту – h6.
Подвижная часть дверного полотна имеет толщину, равную h2 (см. фиг.1, 2, 3, 6, 7), и образована элементами, обозначенными поз.2, 4, 28, 9, 16, 19, 6, 20, 21, 22, 24, 25 и 26. Внешняя накладка 2 выполнена из листа с краями и содержит отверстия 28 четырехугольной формы (см. фиг.6) или отверстия (см. фиг.7) иной формы (условно поз. не обозначены) для крепежных элементов. Внутренняя накладка 19 также выполнена из листа с краями и также содержит отверстия для крепежных элементов. Накладки 2 и 19 скреплены друг с другом с образованием полости 23 крепежными элементами 6, 20, причем крепежные элементы 6 размещены в отверстиях 28 внешней накладки 2, а крепежные элементы 20 размещены в отверстиях внутренней накладки 19 и образуют друг с другом соединение винт-гайка. Коаксиально крепежным элементам 6, 20 установлены распорные втулки 22 длиной, равной толщине полости 23, а диаметр (толщина) распорных втулок равен d1. На крепежных элементах 20 выполнены отверстия 21, необходимые для завинчивания последних специальным ключом. На краях накладок 2, 19 и в полости 23 закреплена П-образной формы опора 9 таким образом, что ее полки взаимодействуют с поверхностями накладок 2, 19, обращенными в сторону полости 23, а стенка с отверстиями 16 размещена напротив запорного элемента или напротив шипов 11 в положении, когда дверное полотно размещено в полости 13 или сквозной полости, согласно фиг.2, 3. Торцевые части краев полок П-образной формы опоры 9 отстоят на расстоянии, равном S1 согласно фиг.2, 3. Ручка дверная 4 закреплена к дверному полотну, в частности к подвижной части дверного полотна. Форма и размер отверстий 16 обеспечивают в них ввод шипов 11. Для исключения поворота крепежных элементов 6 в отверстиях внешней накладки 2 между крепежными элементами 6 и краями отверстий внешней накладки 2 введены фиксаторы 29.
h1 больше или равен h2, a h5=h+d1, a d меньше d2, а h3 меньше d2. Длина направляющей (для предложенного частного случая размер h4) обеспечивает перемещение подвижной части дверного полотна относительно ее неподвижной части на величину хода, причем в качестве величины хода может быть выбрана величина, равная h или S. Если за величину хода выбрать – h, то тогда S должна быть больше h, и в этом случае при крайних положениях подвижной части дверного полотна относительно его неподвижной части распорная втулка 22 будет попеременно взаимодействовать с диаметрально противоположными краями отверстия 10. Если же за величину хода выбрать – S, то тогда величина h должна быть больше S, и в этом случае при вводе подвижной части дверного полотна во взаимодействие с запорным элементом, т.е. с шипами 11 взаимодействовать будут поверхности ограничителя 12 и стенки П-образной формы опоры 8, обращенные навстречу друг другу. Размер S1 может быть выбран из диапазона значений от 0,5S до S или диапазона значений 0,5h до h. Опорные элементы 24 закреплены к одной из накладок 2 или 19 и предназначены для удержания элементов качения 25 в направляющей. Элементы качения 25 размещены в полости 23 между подвижной и неподвижной частями дверного полотна, в частности в отверстиях 26 и 27.
Дверное полотно (более точно – подвижная часть дверного полотна) установлено с возможностью взаимодействия с запорным элементом и шарнирно закреплено к коробке дверной посредством петель 3. Петля 3 содержит части, шарнирно скрепленные друг с другом посредством соединительного элемента.
На фиг.1, 2, 3 условно показано положение частей двери друг относительно друга для случая, когда дверное полотно размещено в сквозной полости или в полости 13 коробки дверной и подвижная часть дверного полотна не введена во взаимодействие с запорным элементом.
Устройство работает следующим образом.
Для запирания двери необходимо ввести во взаимодействие подвижную часть дверного полотна с запорным элементом. Для этого берутся за ручку дверную 4 и перемещают подвижную часть дверного полотна в сторону запорного элемента, при этом происходит трение качение между элементами качения 25 и сопрягаемыми поверхностями отверстий 26 опорных элементов 24 и направляющих (отверстий) 27 и шипы 11 вводятся в отверстия 16 стенки П-образной формы опоры 8. Отпирание двери осуществляют в обратной последовательности.
В результате предложенных конструктивных особенностей отдельных элементов двери, а также их размещения друг относительно друга обеспечивается новая функциональная связь элементов двери и достижение нового технического результата.
Таким образом, заявляемое техническое решение обеспечивает достижение поставленной задачи и получение нового технического результата.
Формула изобретения
Дверь, содержащая коробку дверную с запорным элементом, боковой частью и сквозной полостью, петли, ручку дверную, дверное полотно в виде неподвижной части и подвижной части, установленной с возможностью перемещения относительно неподвижной части, подвижная часть образована внешней, внутренней накладками с краями, скрепленными друг с другом с образованием полости, и П-образной формы опорой, размещенной в полости и содержащей стенку и полки, причем одна из ее полок контактирует с краем внешней накладки, а другая – с краем внутренней накладки, а стенка размещена напротив запорного элемента в положении, когда дверное полотно размещено в сквозной полости, а неподвижная часть образована рамой с направляющей, ручка дверная закреплена к подвижной части дверного полотна, установленной с возможностью взаимодействия с запорным элементом, а дверное полотно шарнирно закреплено к коробке дверной посредством петель и установлено с возможностью перекрывания сквозной полости, отличающаяся тем, что в стенке выполнены отверстия, а запорный элемент образован шипами, закрепленными к боковой части коробки дверной и установленными в полости с возможностью взаимодействия с отверстиями стенки.
РИСУНКИ
|
|