|
| На основании пункта 3 статьи 13 Патентного закона Российской Федерации от 23 сентября 1992 г. № 3517-I патентообладатель обязуется передать исключительное право на изобретение (уступить патент) на условиях, соответствующих установившейся практике, лицу, первому изъявившему такое желание и уведомившему об этом патентообладателя и федеральный орган исполнительной власти по интеллектуальной собственности, – гражданину РФ или российскому юридическому лицу. |
|
(21), (22) Заявка: 2005130861/03, 06.10.2005
(24) Дата начала отсчета срока действия патента:
06.10.2005
(46) Опубликовано: 10.04.2007
(56) Список документов, цитированных в отчете о поиске:
RU 2247206 С2, 27.02.2005. RU 2245980 С2, 10.01.2004. FR 2676498 A1, 20.11.1992. GB 1004839 A, 15.09.1965. US 3553984 A, 01.12.1971.
Адрес для переписки:
140093, Московская обл., г. Дзержинский, а/я 48, А.И. Максимову
|
(72) Автор(ы):
Максимов Александр Иванович (RU)
(73) Патентообладатель(и):
Максимов Александр Иванович (RU)
|
(54) ДВЕРЬ (ВАРИАНТЫ), ДВЕРНОЕ ПОЛОТНО, РАМА ДВЕРНОГО ПОЛОТНА И КОРОБКА ДВЕРНАЯ
(57) Реферат:
Изобретение относится к области строительства, а именно к конструкциям дверей. Изобретение позволит расширить арсенал технических средств для конструкций дверей. Дверь содержит дверную коробку с соединенными между собой внешней и внутренней панелями, установленными с образованием сквозной полости, ручку дверную, шарнирно соединенное с коробкой посредством петель дверное полотно, имеющее расположенные напротив друг друга и соединенные между собой с образованием полости внешнюю и внутреннюю накладки и установленные с возможностью перемещения относительно рамы дверного полотна в направляющей и перекрывания сквозной полости коробки с образованием запорного элемента. Внешняя панель выполнена с четырехугольным отверстием под дверное полотно. Внешняя накладка дверного полотна выполнена конгруэнтно отверстию внешней накладки коробки. Верхние стороны четырехугольного отверстия и накладки наклонены к горизонтальной линии, проходящей через конец боковой стороны под углом от 5 до 45°. 6 н.п. ф-лы, 18 ил.
Изобретения относятся к области строительства и машиностроения, в частности к конструкции двери, конструкции дверного полотна, конструкции рамы дверного полотна и конструкции коробки дверной, и могут быть широко использованы при изготовлении дверей и ее частей.
Известна дверь, содержащая коробку дверную с запорным элементом и сквозной полостью с краями, включающими верхний участок, размещенный между точками Х и Y, нижний участок, размещенный между точками Z и N, и боковые участки, размещенные между точками Y и Z, Х и N, петли, ручку дверную, дверное полотно, содержащее соединенные между собой с образованием полости внешнюю и внутреннюю накладки с краями, раму дверного полотна, расположенную в полости между накладками, опорную поверхность, направляющую, причем края внешней накладки включают в себя верхний участок, размещенный между точками Х2 и Y2, нижний участок, размещенный между точками Z2 и N2, и боковые участки, размещенные между точками Y2 и Z2, Х2 и N2, причем внешняя и внутренняя накладки с краями размещены друг против друга, по разные стороны от рамы дверного полотна, и закреплены друг к другу, установлены с возможностью перемещения относительно рамы дверного полотна в направляющей и взаимодействия с запорным элементом, ручка дверная закреплена к опорной поверхности, рама дверного полотна шарнирно закреплена к коробке посредством петель, дверное полотно установлено с возможностью перекрывания сквозной полости (RU 2247206 С2). Заявитель обозначил имеющиеся в известном техническом решении участки буквами для упрощения процесса восприятия существа заявляемого технического решения (в известном техническом решении имеющиеся участки буквами не обозначены).
Известно дверное полотно, содержащее соединенные между собой с образованием полости внешнюю и внутреннюю накладки, раму дверного полотна, расположенную в полости между накладками, элементы качения или/и скольжения и опорные элементы для фиксации тел качения или/и скольжения, опорные элементы закреплены, по меньшей мере, к одной накладке, а элементы качения или/и скольжения размещены в полости между рамой дверного полотна и опорными элементами, причем внешняя накладка имеет края, включающие в себя верхний участок, размещенный между точками Х2 и Y2, нижний участок, размещенный между точками Z2 и N2, и боковые участки, размещенные между точками Y2 и Z2, Х2 и N2 (RU 2245980 С2). Заявитель обозначил имеющиеся в известном техническом решении участки буквами для упрощения процесса восприятия существа заявляемого технического решения (в известном техническом решении имеющиеся участки буквами не обозначены).
Известна рама дверного полотна, содержащая каркас с краями, включающими в себя верхний участок, размещенный между точками Х3 и Y3, нижний участок, размещенный между точками Z3 и N3, и боковые участки, размещенные между точками Y3 и Z3, Х3 и N3 (RU 2245980 С2). Заявитель обозначил имеющиеся в известном техническом решении участки буквами для упрощения процесса восприятия существа заявляемого технического решения (в известном техническом решении имеющиеся участки буквами не обозначены).
Известна коробка дверная, содержащая соединенные между собой с образованием сквозной полости внешнюю и внутреннюю панели, запорный элемент, панели размещены друг против друга и содержат отверстия с краями, причем края отверстия внешней панели включают в себя верхний участок, размещенный между точками Х и Y, нижний участок, размещенный между точками Z и N, и боковые участки, размещенные между точками Y и Z, Х и N (RU 2247206 С2). Заявитель обозначил имеющиеся в известном техническом решении участки буквами для упрощения процесса восприятия существа заявляемого технического решения (в известном техническом решении имеющиеся участки буквами не обозначены).
Задача, на решение которой направлены заявляемые технические решения, состоит в расширении арсенала технических средств определенного назначения, в частности, – конструкции двери (варианты), конструкции дверного полотна, конструкции рамы дверного полотна и конструкции коробки дверной.
Технический результат, который может быть получен при осуществлении конструкции двери (варианты), конструкции дверного полотна, конструкции рамы дверного полотна и конструкции коробки дверной, заключается в реализации указанной выше задачи – расширение арсенала технических средств определенного назначения путем создания новых конструкции двери (варианты), конструкции дверного полотна, конструкции рамы дверного полотна и конструкции коробки дверной.
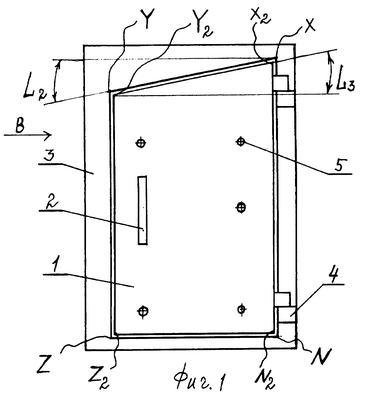
Сущность заявляемой двери (вариант 1) заключается в том, что в двери, содержащей коробку дверную с запорным элементом и сквозной полостью с краями, включающими верхний участок, размещенный между точками Х и Y, нижний участок, размещенный между точками Z и N, и боковые участки, размещенные между точками Y и Z, Х и N, петли, ручку дверную, дверное полотно, содержащее соединенные между собой с образованием полости внешнюю и внутреннюю накладки с краями, раму дверного полотна, расположенную в полости между накладками, опорную поверхность, направляющую, причем края внешней накладки включают в себя верхний участок, размещенный между точками Х2 и Y2, нижний участок, размещенный между точками Z2 и N2, и боковые участки, размещенные между точками Y2 и Z2, Х2 и N2, причем внешняя и внутренняя накладки с краями размещены друг против друга, по разные стороны от рамы дверного полотна, и закреплены друг к другу, установлены с возможностью перемещения относительно рамы дверного полотна в направляющей и взаимодействия с запорным элементом, ручка дверная закреплена к опорной поверхности, рама дверного полотна шарнирно закреплена к коробке посредством петель, дверное полотно установлено с возможностью перекрывания сквозной полости, согласно изобретению верхний участок края сквозной полости, размещенный между точками Х и Y, выполнен под острым углом, равным L2, согласно фиг.1, а верхний участок края внешней накладки, размещенный между точками Х2 и Y3, выполнен под острым углом, равным L3, согласно фиг.1, при этом запорный элемент на виде спереди, согласно фиг.1, образован по форме верхнего участка края сквозной полости, размещенного между точками Х и Y и по форме бокового участка края сквозной полости, размещенного между точками Y и Z согласно фиг.1. Острые углы L2 и L3 равны от 5 до 45 градусам, т.к. при углах менее 5 градусов не обеспечивается требуемое надежное взаимодействие верхней подвижной части дверного полотна с запорным элементом коробки дверной, а при углах более 45 градусов происходит неоправданное перекрывание значительной части сквозной полости коробки дверной, а также приводит к неоправданному увеличению материалоемкости конструкции. Величина острых углов L2 и L3 выбирается из указанного диапазона, причем указанные углы могут быть равны между собой, а могут и не быть равными.
Сущность заявляемой двери (вариант 2) заключается в том, что в двери, содержащей коробку дверную с запорным элементом и сквозной полостью с краями, включающими верхний участок, размещенный между точками Х и Y, нижний участок, размещенный между точками Z и N, и боковые участки, размещенные между точками Y и Z, Х и N, петли, ручку дверную, дверное полотно, содержащее соединенные между собой с образованием полости внешнюю и внутреннюю накладки с краями, раму дверного полотна, расположенную в полости между накладками, опорную поверхность, направляющую, причем края передней накладки включают в себя верхний участок, размещенный между точками Х2 и Y2, нижний участок, размещенный между точками Z2 и N2, и боковые участки, размещенные между точками Y2 и Z2, Х2 и N2, причем внешняя и внутренняя накладки с краями размещены друг против друга, по разные стороны от рамы дверного полотна, и закреплены друг к другу, установлены с возможностью перемещения относительно рамы дверного полотна в направляющей и взаимодействия с запорным элементом, ручка дверная закреплена к опорной поверхности, рама дверного полотна шарнирно закреплена к коробке посредством петель, дверное полотно установлено с возможностью перекрывания сквозной полости, согласно изобретению нижний участок края сквозной полости, размещенный между точками N и Z, выполнен под острым углом, равным L, согласно фиг.3, а нижний участок края внешней накладки, размещенный между точками N2 и Z2, выполнен под острым углом, равным L1, согласно фиг.3, при этом запорный элемент на виде спереди согласно фиг.3 образован по форме нижнего участка края сквозной полости, размещенного между точками N и Z, и по форме бокового участка края сквозной полости, размещенного между точками Y и Z согласно фиг.3. Острые углы L и L1 равны от 5 до 45 градусам, т.к. при углах менее 5 градусов не обеспечивается требуемое надежное взаимодействие нижней подвижной части дверного полотна с запорным элементом коробки дверной, а при углах более 45 градусов происходит неоправданное перекрывание значительной части сквозной полости коробки дверной, а также приводит к неоправданному увеличению материалоемкости конструкции. Величина острых углов L и L1 выбирается из указанного диапазона, причем указанные углы могут быть равны между собой, а могут и не быть равными.
Сущность заявляемой двери (вариант 3) заключается в том, что в двери, содержащей коробку дверную с запорным элементом и сквозной полостью с краями, включающими верхний участок, размещенный между точками Х и Y, нижний участок, размещенный между точками Z и N, и боковые участки, размещенные между точками Y и Z, X и N, петли, ручку дверную, дверное полотно, содержащее соединенные между собой с образованием полости внешнюю и внутреннюю накладки с краями, раму дверного полотна, расположенную в полости между накладками, опорную поверхность, направляющую, причем края внешней накладки включают в себя верхний участок, размещенный между точками Х2 и Y2, нижний участок, размещенный между точками Z2 и N2, и боковые участки, размещенные между точками Y2 и Z2, Х2 и N2, причем внешняя и внутренняя накладки с краями размещены друг против друга, по разные стороны от рамы дверного полотна, и закреплены друг к другу, установлены с возможностью перемещения относительно рамы дверного полотна в направляющей и взаимодействия с запорным элементом, ручка дверная закреплена к опорной поверхности, рама дверного полотна шарнирно закреплена к коробке посредством петель, дверное полотно установлено с возможностью перекрывания сквозной полости, согласно изобретению верхний участок края сквозной полости, размещенный между точками Х и Y, выполнен под острым углом, равным L2, согласно фиг.4, верхний участок края внешней накладки, размещенный между точками Х2 и Y2, выполнен под острым углом, равным L3, согласно фиг.4, нижний участок края сквозной полости, размещенный между точками N и Z, выполнен под острым углом, равным L, согласно фиг.4, а нижний участок края внешней накладки, размещенный между точками N2 и Z2, выполнен под острым углом, равным L1, согласно фиг.4, при этом запорный элемент на виде спереди, согласно фиг.4, образован по форме верхнего, бокового и нижнего участков края сквозной полости, размещенных между точками XYZN согласно фиг.4. Угловой размер указанных острых углов обозначен выше по тексту.
Сущность заявляемого дверного полотна заключается в том, что в дверном полотне, содержащем соединенные между собой с образованием полости внешнюю и внутреннюю накладки, раму дверного полотна, расположенную в полости между накладками, элементы качения или/и скольжения и опорные элементы для фиксации тел качения или/и скольжения, опорные элементы закреплены, по меньшей мере, к одной накладке, а элементы качения или/и скольжения размещены в полости между рамой дверного полотна и опорными элементами, причем внешняя накладка имеет края включающие в себя верхний участок, размещенный между точками Х2 и Y2, нижний участок, размещенный между точками Z2 и N2, и боковые участки, размещенные между точками Y2 и Z2, Х2 и N2, согласно изобретению верхний участок края внешней накладки, размещенный между точками Х2 и Y2, выполнен под острым углом, равным L3, согласно фиг.8, или нижний участок края внешней накладки, размещенный между точками N2 и Z2, выполнен под острым углом, равным L1, согласно фиг.8, или верхний участок края внешней накладки, размещенный между точками Х2 и Y2, выполнен под острым углом, равным L3 и нижний участок края внешней накладки, размещенный между точками N2 и Z2, выполнен под острым углом, равным L1, согласно фиг.8. Острые углы L3 и L1 равны от 5 до 45 градусам, т.к. при углах менее 5 градусов не обеспечивается требуемое надежное взаимодействие верхней или/и нижней подвижной части дверного полотна с запорным элементом коробки дверной, а при углах более 45 градусов происходит неоправданное перекрывание значительной части сквозной полости коробки дверной, а также приводит к неоправданному увеличению материалоемкости конструкции. Величина острых углов L3 и L1 выбирается из указанного диапазона, причем указанные углы могут быть равны между собой, а могут и не быть равными.
Сущность заявляемой рамы дверного полотна заключается в том, что в раме дверного полотна, содержащей каркас с краями, включающими в себя верхний участок, размещенный между точками Х3 и Y3, нижний участок, размещенный между точками Z3 и N3, и боковые участки, размещенные между точками Y3 и Z3, Х3 и N3, согласно изобретению верхний участок края, размещенный между точками Х3 и Y3, выполнен под острым углом, равным L4, согласно фиг.12, или нижний участок края, размещенный между точками N3 и Z3, выполнен под острым углом, равным L5, согласно фиг.12, или верхний участок края, размещенный между точками Х3 и Y3, выполнен под острым углом, равным L4, и нижний участок края, размещенный между точками N3 и Z3, выполнен под острым углом, равным L5, согласно фиг.12. Острые углы L4 и/или L5 равны от 5 до 45 градусам, т.к. при углах менее 5 градусов не обеспечивается требуемое прочностные свойства, а при углах более 45 градусов происходит неоправданное перекрывание значительной части сквозной полости коробки дверной, а также приводит к неоправданному увеличению материалоемкости конструкции. Величина острых углов L4 и L5 выбирается из указанного диапазона, причем указанные углы могут быть равны между собой, а могут и не быть равными.
Сущность заявляемой коробки дверной заключается в том, что в коробке дверной, содержащей соединенные между собой с образованием сквозной полости внешнюю и внутреннюю панели, запорный элемент, панели размещены друг против друга и содержат отверстия с краями, причем края отверстия внешней панели включают в себя верхний участок, размещенный между точками Х и Y, нижний участок, размещенный между точками Z и N, и боковые участки, размещенные между точками Y и Z, Х и N, согласно изобретению верхний участок края, размещенный между точками Х и Y, выполнен под острым углом, равным L2, согласно фиг.16, или нижний участок края, размещенный между точками N и Z, выполнен под острым углом, равным L, согласно фиг.16, или верхний участок края, размещенный между точками Х и Y, выполнен под острым углом, равным L2, и нижний участок края, размещенный между точками N и Z, выполнен под острым углом, равным L, согласно фиг.16. Угловой размер указанных острых углов обозначен выше по тексту.
Именно предлагаемые исполнения конструкции двери (варианты), дверного полотна, рамы дверного полотна и коробки дверной обеспечивают расширение арсенала технических средств определенного назначения путем создания новой конструкции двери (варианты), дверного полотна, рамы дверного полотна и коробки дверной, которые позволяют вынести суждение о достижении указанного технического результата благодаря наличию новых конструктивных элементов и новой функциональной взаимосвязи между ними.
Сопоставительный анализ заявляемой двери (вариант 1) с прототипом показывает, что заявляемая дверь имеет общие признаки с прототипом:
– коробка дверная с запорным элементом и сквозной полостью с краями, включающими верхний участок, размещенный между точками Х и Y, нижний участок, размещенный между точками Z и N, и боковые участки, размещенные между точками Y и Z, Х и N;
– петли;
– ручка дверная;
– дверное полотно, содержащее соединенные между собой с образованием полости внешнюю и внутреннюю накладки с краями, раму дверного полотна, расположенную в полости между накладками, опорную поверхность, направляющую;
– края внешней накладки включают в себя верхний участок, размещенный между точками Х2 и Y2, нижний участок, размещенный между точками Z2 и N2, и боковые участки, размещенные между точками Y2 и Z2, Х2 и N2;
– внешняя и внутренняя накладки с краями размещены друг против друга, по разные стороны от рамы дверного полотна, и закреплены друг к другу, установлены с возможностью перемещения относительно рамы дверного полотна в направляющей и взаимодействия с запорным элементом;
– ручка дверная закреплена к опорной поверхности;
– рама дверного полотна шарнирно закреплена к коробке посредством петель;
– дверное полотно установлено с возможностью перекрывания сквозной полости.
Заявляемая дверь (вариант 1) отличается от прототипа новыми признаками:
– верхний участок края сквозной полости, размещенный между точками Х и Y, выполнен под острым углом, равным L2, согласно фиг.1, а верхний участок края внешней накладки, размещенный между точками Х2 и Y3, выполнен под острым углом, равным L3, согласно фиг.1;
– запорный элемент на виде спереди, согласно фиг.1, образован по форме верхнего участка края сквозной полости, размещенного между точками Х и Y, и по форме бокового участка края сквозной полости, размещенного между точками Y и Z, согласно фиг.1.
Сопоставительный анализ заявляемой двери (вариант 2) с прототипом показывает, что заявляемая дверь имеет общие признаки с прототипом:
– коробка дверная с запорным элементом и сквозной полостью с краями, включающими верхний участок, размещенный между точками Х и Y, нижний участок, размещенный между точками Z и N, и боковые участки, размещенные между точками Y и Z, Х и N;
– петли;
– ручка дверная;
– дверное полотно, содержащее соединенные между собой с образованием полости внешнюю и внутреннюю накладки с краями, раму дверного полотна, расположенную в полости между накладками, опорную поверхность, направляющую;
– края внешней накладки включают в себя верхний участок, размещенный между точками Х2 и Y2, нижний участок, размещенный между точками Z2 и N2, и боковые участки, размещенные между точками Y2 и Z2, Х2 и N2;
– внешняя и внутренняя накладки с краями размещены друг против друга, по разные стороны от рамы дверного полотна, и закреплены друг к другу, установлены с возможностью перемещения относительно рамы дверного полотна в направляющей и взаимодействия с запорным элементом;
– ручка дверная закреплена к опорной поверхности;
– рама дверного полотна шарнирно закреплена к коробке посредством петель;
– дверное полотно установлено с возможностью перекрывания сквозной полости.
Заявляемая дверь (вариант 2) отличается от прототипа новыми признаками:
– нижний участок края сквозной полости, размещенный между точками N и Z, выполнен под острым углом, равным L, согласно фиг.3, а нижний участок края внешней накладки, размещенный между точками N2 и Z2, выполнен под острым углом, равным L1, согласно фиг.3;
– запорный элемент на виде спереди, согласно фиг.3, образован по форме нижнего участка края сквозной полости, размещенного между точками N и Z, и по форме бокового участка края сквозной полости, размещенного между точками Y и Z, согласно фиг.3.
Сопоставительный анализ заявляемой двери (вариант 3) с прототипом показывает, что заявляемая дверь имеет общие признаки с прототипом:
– коробка дверная с запорным элементом и сквозной полостью с краями, включающими верхний участок, размещенный между точками Х и Y, нижний участок, размещенный между точками Z и N, и боковые участки, размещенные между точками Y и Z, X и N;
– петли;
– ручка дверная;
– дверное полотно, содержащее соединенные между собой с образованием полости внешнюю и внутреннюю накладки с краями, раму дверного полотна, расположенную в полости между накладками, опорную поверхность, направляющую;
– края внешней накладки включают в себя верхний участок, размещенный между точками Х2 и Y2, нижний участок, размещенный между точками Z2 и N2, и боковые участки, размещенные между точками Y2 и Z2, Х2 и N2;
– внешняя и внутренняя накладки с краями размещены друг против друга, по разные стороны от рамы дверного полотна, и закреплены друг к другу, установлены с возможностью перемещения относительно рамы дверного полотна в направляющей и взаимодействия с запорным элементом;
– ручка дверная закреплена к опорной поверхности;
– рама дверного полотна шарнирно закреплена к коробке посредством петель;
– дверное полотно установлено с возможностью перекрывания сквозной полости.
Заявляемая дверь (вариант 3) отличается от прототипа новыми признаками:
– верхний участок края сквозной полости, размещенный между точками Х и Y, выполнен под острым углом, равным L2, согласно фиг.4;
– верхний участок края внешней накладки, размещенный между точками Х2 и Y2, выполнен под острым углом, равным L3, согласно фиг.4;
– нижний участок края сквозной полости, размещенный между точками N и Z, выполнен под острым углом, равным L, согласно фиг.4;
– нижний участок края внешней накладки, размещенный между точками N2 и Z2, выполнен под острым углом, равным L1, согласно фиг.4;
– запорный элемент на виде спереди, согласно фиг.4, образован по форме верхнего, бокового и нижнего участков края сквозной полости, размещенных между точками XYZN, согласно фиг.4.
Сопоставительный анализ заявляемого дверного полотна с прототипом показывает, что заявляемое дверное полотно имеет общие признаки с прототипом:
– содержит соединенные между собой с образованием полости внешнюю и внутреннюю накладки;
– раму дверного полотна, расположенную в полости между накладками;
– элементы качения или/и скольжения;
– опорные элементы для фиксации тел качения или/и скольжения;
– опорные элементы закреплены, по меньшей мере, к одной накладке;
– элементы качения или/и скольжения размещены в полости между рамой дверного полотна и опорными элементами;
– внешняя накладка имеет края, включающие в себя верхний участок, размещенный между точками Х2 и Y2, нижний участок, размещенный между точками Z2 и N2, и боковые участки, размещенные между точками Y2 и Z2, Х2 и N2.
Заявляемое дверное полотно отличается от прототипа новыми признаками:
– верхний участок края внешней накладки, размещенный между точками Х2 и Y2, выполнен под острым углом, равным L3, согласно фиг.8, или нижний участок края внешней накладки, размещенный между точками N2 и Z2, выполнен под острым углом, равным L1, согласно фиг.8, или верхний участок края внешней накладки, размещенный между точками Х2 и Y2, выполнен под острым углом, равным L3 и нижний участок края внешней накладки, размещенный между точками N2 и Z2, выполнен под острым углом, равным L1, согласно фиг.8.
Сопоставительный анализ заявляемой рамы дверного полотна с прототипом показывает, что заявляемая рама дверного полотна имеет общие признаки с прототипом:
– содержит каркас с краями, включающими в себя верхний участок, размещенный между точками Х3 и Y3, нижний участок, размещенный между точками Z3 и N3, и боковые участки, размещенные между точками Y3 и Z3, Х3 и N3.
Заявляемая рама дверного полотна отличается от прототипа новыми признаками:
– верхний участок края, размещенный между точками Х3 и Y3, выполнен под острым углом, равным L4, согласно фиг.12, или нижний участок края, размещенный между точками N3 и Z3, выполнен под острым углом, равным L5, согласно фиг.12, или верхний участок края, размещенный между точками Х3 и Y3, выполнен под острым углом, равным L4, и нижний участок края, размещенный между точками N3 и Z3, выполнен под острым углом, равным L5, согласно фиг.12.
Сопоставительный анализ заявляемой коробки дверной с прототипом показывает, что заявляемая коробка дверная имеет общие признаки с прототипом:
– содержит соединенные между собой с образованием сквозной полости внешнюю и внутреннюю панели;
– запорный элемент;
– панели размещены друг против друга и содержат отверстия с краями, причем края отверстия внешней панели включают в себя верхний участок, размещенный между точками Х и Y, нижний участок, размещенный между точками Z и N, и боковые участки, размещенные между точками Y и Z, Х и N.
Заявляемая коробка дверная отличается от прототипа новыми признаками:
– верхний участок края, размещенный между точками Х и Y, выполнен под острым углом, равным L2, согласно фиг.16, или нижний участок края, размещенный между точками N и Z, выполнен под острым углом, равным L, согласно фиг.16, или верхний участок края, размещенный между точками Х и Y, выполнен под острым углом, равным L2, и нижний участок края, размещенный между точками N и Z, выполнен под острым углом, равным L, согласно фиг.16.
Из приведенного перечня признаков заявляемой конструкции двери (варианты), конструкции дверного полотна, конструкции рамы дверного полотна, конструкции коробки дверной и достижения поставленной задачи наглядно видно, что заявляемые технические решения представляют собой новую совокупность признаков как сочетание известных и новых признаков, обеспечивающих получение нового технического результата, неизвестного на дату подачи заявки. Новый технический результат, который может быть получен при осуществлении изобретения, заключается в достижении поставленной задачи – расширении арсенала технических средств определенного назначения, в частности, для конструкции двери, конструкции дверного полотна, конструкции рамы дверного полотна и конструкции коробки дверной.
Заявляемые объекты промышленно применимы, т.к. могут быть использованы в строительстве, промышленности, сельском хозяйстве и других отраслях народного хозяйства, где используются двери и ее составные части. Заявляемые технические решения (6 объектов) могут быть воспроизведены в том виде, как они охарактеризованы в любом из пунктов формулы изобретения с использованием известных материалов, технологий и технологического оборудования. В случае осуществления изобретения по любому из пунктов формулы изобретения действительно возможна реализация указанного выше назначения.
Технические решения заявляемых объектов соответствуют критерию «новизна», т.к. они неизвестны из уровня техники на дату подачи заявки. Не известна из уровня техники совокупность существенных признаков заявляемых технических решений и их влияние на получение требуемого технического результата.
Технические решения заявляемых объектов соответствуют критерию «изобретательский уровень», т.к. не выявлены решения, имеющие признаки, совпадающие с их отличительными признаками, и не обнаружена известность влияния отличительных признаков на получаемый технический результат.
Заявка относится к группе изобретений, связанных между собой настолько, что они образуют единый изобретательский замысел. Единство изобретения соблюдено, и заявляемые объекты соотносятся как целое и части целого и неразрывно связаны между собой и по этой причине заявляются в составе одной заявки.
Таким образом, заявляемые технические решения (6 объектов) связаны между собой настолько, что они образуют единый изобретательский замысел и соответствуют всем критериям, предъявляемым к изобретению, и обеспечивают получение нового технического результата.
На фиг.1, 3, 4 – показан общий вид двери (вид спереди); на фиг.2 – вид В на фиг.1; на фиг.5 – сечение Г-Г фиг.4; на фиг.6 – сечение Д-Д фиг.4; на фиг.7 – показан общий вид двери (вид спереди) в положении, когда подвижная часть дверного полотна смещена в сторону запорного элемента коробки дверной на величину, равную S, и введена во взаимодействие с запорным элементом коробки дверной; на фиг.8 – показан общий вид дверного полотна (вид спереди); на фиг.9 – сечение А-А фиг.1, 8, 4; на фиг.10 – сечение Б-Б (1) фиг.9; на фиг.11 – сечение Б-Б (2) фиг.9; на фиг.12 – показан общий вид рамы дверного полотна (вид спереди); на фиг.13 – сечение Ж-Ж фиг.12; на фиг.14 – сечение И-И фиг.12; на фиг.15 – вид К на фиг.12; на фиг.16 – показан общий вид коробки дверной (вид спереди); на фиг.17 – вид Л на фиг.16; на фиг.18 – сечение М-М фиг.16.
Дверь содержит:
внешнюю накладку 1 (см. фиг.1-7), ручку дверную 2, внешнюю панель 3, петли 4, крепежные изделия 5, 15 (см. фиг.9), внутреннюю панель 6 (см. фиг.16, 18), полости 7, 8 (см. фиг.5, 6, 9), внутреннюю накладку 9, раму дверного полотна 10, направляющую 11 (см. фиг.8, 12, 15), опорные элементы 12 (см. фиг.8) с отверстиями 13 с диаметрами, равными d, элементы качения с диаметрами, равными d2, или/и скольжения 14, отверстия или пазы 16, распорные втулки 17 (см. фиг.9), отверстия 18, 19 (см. фиг.9, 10, 12), фиксаторы 20 (см. фиг.11, однако их может и не быть), окна 21, 22, 23 (см. фиг.12), каркас с краями 24, элемент жесткости 25, отверстия 26, 27 (см. фиг.16, 18), ребро жесткости 28 и монтажные отверстия 29.
Дверное полотно – составная часть двери, содержащая в своем составе элементы конструкции, обозначенные поз.1, 5, 8, 9, 10, 11, 12, 13, 14, 15, 16, 17, 18, 19, 20, 21, 22, 23, 24 и 25. Внешняя накладка 1 (см. фиг.8) выполнена из стального листа и имеет края, включающие в себя верхний участок, размещенный между точками X2 и Y2, нижний участок, размещенный между точками Z2 и N2, и боковые участки, размещенный между точками Y2 и Z2, X2 и N2. Внутренняя накладка 9 также выполнена из стального листа и имеет форму преимущественно такую же, как и внешняя накладка 1. Внешняя накладка 1 и внутренняя накладка 9 размещены друг против друга на расстоянии, равном h1, согласно фиг.9, и скреплены между собой с образованием полости 8 крепежными изделиями 5, 15 образующими соединения винт – гайка, причем крепежные изделия 5 содержат головку и стержень с резьбовым участком, а крепежные изделия 15 содержат головку с отверстиями 16 и глухое отверстие с резьбовым участком. На внешней накладке 1 выполнены отверстия 19 (см. фиг.10) и внутренней накладке 9 также выполнены отверстия (на фиг.9, 11 условно позицией не обозначены) для обеспечения ввода указанных крепежных изделий. Части головок крепежных изделий 5, взаимодействующих с отверстиями 19, и отверстия 19 выполнены не круглой формы для исключения поворота крепежных изделий 5 в отверстиях 19. Фиксация крепежных изделий 5 от их поворота может быть обеспечена посредством фиксаторов 20 (см. фиг.11), которые обеспечивают фиксацию крепежных изделий 5 в отверстиях относительно внешней накладки 1. Коаксиально крепежным изделиям 5, 15 установлены распорные втулки 17 толщина или диаметр, которых равен d1, а их длина равна h1. Отверстия 16 предназначены для передачи крутящего момента к крепежным изделиям 15 посредством ключа, необходимого при завинчивании крепежных изделий 15. Рама дверного полотна 10 расположена в полости 8 между накладками 1 и 9 и имеет толщину, равную h2, причем h2 меньше h1. По меньшей мере, одна из распорных втулок 17 установлена с возможность взаимодействия с противоположными частями краев, по меньшей мере, одного отверстия 18, причем отверстие 18 имеет длину, равную h5, и высоту, равную h6 (см. фиг.12), причем h6 больше d1, a h5 равен сумме d1 плюс h, a h равен S (см. фиг.7), где S – ход перемещения подвижной части дверного полотна относительно неподвижной его части или/и относительно коробки дверной. Опорные элементы 12 с отверстиями 13 размещены в полости 8 и закреплены к внешней накладке 1 или внутренней накладке 9. Отверстия 13 имеют диаметр, равный d, причем d меньше d2. Наиболее оптимальным является соотношение – d2=1, 2…1, 4 d. Элементы качения или/и скольжения 14 (далее элементы качения) имеют диаметр, равный d2. Элементы качения 14 размещены в полости 8 между рамой 10 и опорными элементами 12 и контактируют с краями отверстий 13 и направляющими 11 (см. фиг.8, 15), которые выполнены, для примера, в виде отверстий, длиной равной h4 и шириной, равной h3, причем h4 равен или больше суммы d плюс S, a d2=1, 2…1, 4 h3. Внешняя накладка 1 имеет края, включающие в себя верхний участок, размещенный между точками Х2 и Y2, нижний участок, размещенный между точками Z2 и N2, и боковые участки, размещенный между точками Y2 и Z2, Х2 и N2, причем каждый из вышеперечисленных участков может иметь геометрическую форму на виде спереди, согласно фиг.1, 3, 4, 8: выпуклую, вогнутую, выпуклую и вогнутую, в виде ломаной линии, выпуклую и в виде ломаной линии, вогнутую и в виде ломаной линии, или выпуклую, вогнутую и в виде ломаной линии, а на фиг.1, 3, 4, 8 условно показаны указанные участки в виде прямых линий, хотя они могут быть и иной формы, т.е. прямые участки являются одним из вариантов исполнения предлагаемой конструкции дверного полотна, при котором обеспечивается получение максимального технического результата, причем указанные участки краев внешней накладки 1 могут быть конгруэнтны ответным частям краев внешней панели 3 коробки дверной, с которыми они могут вступать во взаимодействие, которое осуществляется при перемещении подвижной части дверного полотна в сторону запорного элемента на величину хода – S. Верхний участок края внешней накладки 1, размещенный между точками Х2 и Y2, выполнен под острым углом, равным L3, согласно фиг.8 и 1, или нижний участок края внешней накладки, размещенный между точками N2 и Z2, выполнен под острым углом, равным L1, согласно фиг.8, 3, или верхний участок края внешней накладки, размещенный между точками Х2 и Y2, выполнен под острым углом, равным L3, и нижний участок края внешней накладки, размещенный между точками N2 и Z2, выполнен под острым углом, равным L1, согласно фиг.8, 4. Острый угол L3 образован между мнимой горизонтальной линией, проходящей через точку Y2, и линией, проходящей через точки Y2 и X2 прямой, лежащей в плоскости верхнего участка внешней накладки 1. Острый угол L1 образован между мнимой горизонтальной линией, проходящей через точку Z2, и линией, проходящей через точки Z2 и N2 прямой, лежащей в плоскости нижнего участка внешней накладки 1. Острые углы L3 и L1 равны угловой величине, выбранной из интервала от 5 до 45 градусам, а их вершины размещены на боковом участке, размещенном между точками Y2 и Z2, т.к. при углах менее 5 градусов не обеспечивается требуемое надежное взаимодействие верхней или/и нижней подвижной части дверного полотна с запорным элементом коробки дверной, а при углах более 45 градусов происходит неоправданное перекрывание значительной части сквозной полости коробки дверной, а также приводит к неоправданному увеличению материалоемкости конструкции. Величина острых углов L3 и L1 выбирается из указанного диапазона, причем указанные углы могут быть равны между собой, а могут и не быть равными. Толщина дверного полотна равна V5, причем V5 меньше V. Дверное полотно образовано подвижной и неподвижной частями, причем подвижная часть, образованная накладками 1, 9 и др. конструктивными элементами, установлена с возможностью перемещения относительно неподвижной части, образованной в виде рамы 10 с конструктивными элементами.
Рама дверного полотна – составная часть двери, а также составная часть дверного полотна (см. фиг.5, 6, 9, 8, 12) содержит: каркас 24, направляющую 11, отверстия 18, окна 21, 22, 23 и элемент жесткости 25, причем каркас 24 имеет края, включающие в себя верхний участок, размещенный между точками Х3 и Y3 (см. фиг.12), нижний участок, размещенный между точками Z3 и N3, и боковые участки, размещенные между точками Y3 и Z3, Х3 и N3, верхний участок края, размещенный между точками Х3 и Y3, выполнен под острым углом, равным L4, согласно фиг.12, или нижний участок края, размещенный между точками N3 и Z3, выполнен под острым углом, равным L5, согласно фиг.12, или верхний участок края, размещенный между точками Х3 и Y3, выполнен под острым углом, равным L4, и нижний участок края, размещенный между точками N3 и Z3, выполнен под острым углом, равным L5, согласно фиг.12. Острые углы L4 и/или L5 имеют угловой размер, выбираемый из интервала от 5 до 45 градусов, т.к. при углах менее 5 градусов не обеспечивается требуемые прочностные свойства, а при углах более 45 градусов происходит неоправданное перекрывание значительной части сквозной полости коробки дверной, а также приводит к неоправданному увеличению материалоемкости конструкции. Величина острых углов L4 и L5 выбирается из указанного диапазона, причем указанные углы могут быть равны между собой, а могут и не быть равными. Внешние размеры и геометрическая форма каркаса на виде спереди, согласно фиг.12, может быть конгруэнтна геометрической форме внешней накладки 1. Направляющая 11 образована, например, четырьмя отверстиями, с размерами, показанными на фиг.15. Рама дверного полотна в сечениях И-И и Ж-Ж, согласно фиг.12, имеет геометрическую форму согласно фиг.13, 14. Рама дверного полотна выполнена из стального листа штамповкой, преимущественная толщина листа, равна 2-5 мм. Рама дверного полотна содержит отверстия 18, которые имеют размеры, показанные на фиг.12, а также окна 21, 22 и 23 (их может быть любое количество, и размещены они друг относительно друга могут быть любым образом). Элемент жесткости 25 соединяет противоположные части каркаса и предназначен для увеличения жесткости рамы дверного полотна в целом.
Коробка дверная содержит: внешнюю панель 3 (см. фиг.1, 3, 4, 5, 6, 7, 16, 18), внутреннюю панель 6, полость 7, отверстия 26, 27, ребро жесткости 28 (его может и не быть) и монтажные отверстия 29. Края отверстия 26 внешней панели 3 включают в себя верхний участок, размещенный между точками Х и Y, нижний участок, размещенный между точками Z и N, и боковые участки, размещенные между точками Y и Z, Х и N, причем верхний участок края, размещенный между точками Х и Y, выполнен под острым углом, равным L2, согласно фиг.16, или нижний участок края, размещенный между точками N и Z, выполнен под острым углом, равным L, согласно фиг.16, или верхний участок края, размещенный между точками Х и Y, выполнен под острым углом, равным L2, и нижний участок края, размещенный между точками N и Z, выполнен под острым углом, равным L, согласно фиг.16. Угловой размер указанных острых углов обозначен выше по тексту. Края отверстия 27 внутренней панели 6 включают в себя верхний участок, размещенный между точками X1 и Y1, нижний участок, размещенный между точками Z1 и N1, и боковые участки, размещенные между точками Y1 и Z1, X1 и N1 (см. фиг.16). Указанные выше участки краев отверстия 26 и 27 могут иметь выпуклую, вогнутую, выпуклую и вогнутую, в виде ломаной линии, выпуклую и в виде ломаной линии, вогнутую и в виде ломаной линии, или выпуклую, вогнутую и в виде ломаной линии, а на фиг.16 условно показаны указанные участки в виде прямых линий, хотя они могут быть и иной формы, т.е. прямые участки являются одним из вариантов исполнения предлагаемой конструкции коробки дверной, при котором обеспечивается получение максимального технического результата. Сквозная полость коробки дверной образована отверстием 27, частью отверстия 26 и частью полости 7, размещенных в зоне отверстия 27. Панели 3 и 6, имеющие поверхности «A1» и «А2», размещены друг против друга на расстоянии, равном V, и скреплены друг с другом с образованием полости 7, причем поверхности «A1» и «А2» обращены навстречу друг другу и в сторону полости 7. Ребро жесткости 28 образовано в виде края, отогнутого в сторону полости 7 панели 3. Монтажные отверстия 29 выполнены на боковой поверхности коробки дверной и предназначены для закрепления коробки к опорной поверхности проема. Коробка дверная выполнена из стального листа штамповкой (толщина листа равна 3-6 мм). Внешняя панель 3 имеет боковые участки, имеющие ширину, равную V1 и V3, а внутренняя панель – V2 и V4 (см. фиг.18), причем V2 больше V1, a V4 больше V3, преимущественно V2=1, 2…1, 4 V1, a V4=1, 2…1, 4 V3, причем V1 и V3 могут быть равны между собой, а могут быть и не равны. V2 и V4 могут быть равны между собой, а могут быть и не равны. Обозначим периметр отверстия 27 – P1, a периметр отверстия 26 – Р2. Можно указать, что Р2 больше Р1, в частности Р2=1, 2…1, 4 P1. Запорный элемент коробки дверной образован частью полости 7 и частями панелей 3 и 6, которые размещены на боковом участке YZ и на верхнем участке XY или/и на нижнем участке ZN.
Дверь работает следующим образом.
Дверное полотно шарнирно закреплено к коробке дверной посредством петель 4 и установлено с возможностью перекрывания сквозной полости. На фиг.1, 3, 4 показано положение, при котором дверное полотно размещено в дверной коробке и перекрывает сквозную полость, при этом дверное полотно размещено в полости 7, а подвижная часть дверного полотна может быть введена во взаимодействие с запорным элементом коробки. Распорная втулка 17 (см. фиг.9) расположена относительно отверстия 18, как показано на фиг.9. Для выполнения запирания двери берутся за ручку дверную 2 и перемещают подвижную часть дверного полотна влево на величину, равную h или S, до упора левого края распорной втулки 17 с краем отверстия 18. В результате такого перемещения левый край подвижной части дверного полотна, а также верхний или/и нижний край будут введены во взаимодействие с запорным элементом коробки дверной – дверь заперта (см. фиг.7). Отпирание двери осуществляют в обратной последовательности.
Таким образом, заявляемые технические решения (6 объектов) обеспечивают достижение поставленной задачи и получение нового технического результата. Благодаря взаимодействию наибольшего количества участков запорного элемента с наибольшим количеством подвижной части дверного полотна обеспечивается максимальная стойкость двери взлому.
Формула изобретения
1. Дверь, содержащая дверную коробку с соединенными между собой внешней и внутренней панелями, установленными с образованием сквозной полости, ручку дверную, шарнирно соединенное с коробкой посредством петель дверное полотно, имеющее расположенные напротив друг друга и соединенные между собой с образованием полости внешнюю и внутреннюю накладки, установленные с возможностью перемещения относительно рамы дверного полотна в направляющей и перекрывания сквозной полости коробки с образованием запорного элемента, отличающаяся тем, что внешняя панель выполнена с четырехугольным отверстием под дверное полотно, причем внешняя накладка дверного полотна выполнена конгруэнтно отверстию внешней накладки коробки, а верхние стороны четырехугольного отверстия и накладки наклонены к горизонтальной линии, проходящей через конец боковой стороны под углом от 5 до 45°.
2. Дверь, содержащая дверную коробку с соединенными между собой внешней и внутренней панелями, установленными с образованием сквозной полости, ручку дверную, шарнирно соединенное с коробкой посредством петель дверное полотно, имеющее расположенные напротив друг друга и соединенные между собой с образованием полости внешнюю и внутреннюю накладки, установленные с возможностью перемещения относительно рамы дверного полотна в направляющей и перекрывания сквозной полости коробки с образованием запорного элемента, отличающаяся тем, что внешняя панель выполнена с четырехугольным отверстием под дверное полотно, причем внешняя накладка дверного полотна выполнена конгруэнтно отверстию внешней накладки коробки, а верхняя сторона четырехугольного отверстия и накладки наклонена к горизонтальной линии, проходящей через конец боковой стороны под углом от 5 до 45°.
3. Дверь, содержащая дверную коробку с соединенными между собой внешней и внутренней панелями, установленными с образованием сквозной полости, ручку дверную, шарнирно соединенное с коробкой посредством петель дверное полотно, имеющее расположенные напротив друг друга и соединенные между собой с образованием полости внешнюю и внутреннюю накладки, установленные с возможностью перемещения относительно рамы дверного полотна в направляющей и перекрывания сквозной полости коробки с образованием запорного элемента, отличающаяся тем, что внешняя панель выполнена с четырехугольным отверстием под дверное полотно, причем внешняя накладка дверного полотна выполнена конгруэнтно отверстию внешней накладки коробки, а верхняя и нижняя стороны четырехугольного отверстия и накладки наклонены к горизонтальной линии, проходящей через конец боковой стороны под углом от 5 до 45°.
4. Дверное полотно двери по п.1, содержащее соединенные между собой с образованием полости внешнюю и внутреннюю накладки, раму дверного полотна, расположенную в полости между накладками, элементы качения или/и скольжения и опорные элементы для фиксации тел качения или/и скольжения, опорные элементы закреплены, по меньшей мере, к одной накладке, а элементы качения или/и скольжения размещены в полости между рамой дверного полотна и опорными элементами, отличающееся тем, что внешняя накладка выполнена по форме четырехугольника, а верхняя сторона четырехугольника наклонена к горизонтальной линии, проходящей через конец боковой стороны под углом от 5 до 45°.
5. Рама дверного полотна двери по п.1, содержащая каркас с соединенными верхним, нижним и боковыми элементами, отличающаяся тем, что боковые элементы установлены параллельно друг другу, а верхняя сторона наклонена к горизонтальной линии, проходящей через конец бокового элемента под углом от 5 до 45°.
6. Коробка дверная двери по п.1, содержащая расположенные напротив друг друга и соединенные между собой с образованием сквозной полости внешнюю и внутреннюю панели, отличающаяся тем, что панели выполнены с четырехугольными отверстиями, а верхняя сторона каждого из которых наклонена к горизонтальной линии, проходящей через конец боковой стороны под углом от 5 до 45°.
РИСУНКИ
|
|