|
|
(21), (22) Заявка: 2004136290/12, 05.06.2003
(24) Дата начала отсчета срока действия патента:
05.06.2003
(30) Конвенционный приоритет:
17.06.2002 (пп.1-6) DE 10227110.0
(43) Дата публикации заявки: 20.07.2005
(46) Опубликовано: 10.04.2007
(56) Список документов, цитированных в отчете о поиске:
DE 19808696 A1, 12.08.1999. FR 2719076 A3, 27.10.1995. RU 18416 U1, 20.06.2001. ЕР 0054245 A1, 23.06.1982.
(85) Дата перевода заявки PCT на национальную фазу:
17.01.2005
(86) Заявка PCT:
EP 03/05901 (05.06.2003)
(87) Публикация PCT:
WO 03/106797 (24.12.2003)
Адрес для переписки:
191186, Санкт-Петербург, а/я 230, “АРС-ПАТЕНТ”, пат.пов. В.М.Рыбакову, рег. № 90
|
(72) Автор(ы):
ЗОММЕР Франк-Уве (DE), ЗОММЕР Франк (DE)
(73) Патентообладатель(и):
ЗОММЕР АНТРИБС-УНД ФУНКТЕХНИК ГМБХ (DE)
|
(54) ПРИВОДНОЕ УСТРОЙСТВО
(57) Реферат:
Изобретение относится к приводному устройству, в особенности для гаражных и подобных ворот. Устройство содержит проходящее в направлении перемещения ворот направляющее устройство, в особенности рейку или направляющую рейку. Средства подвода электрического тока содержат первый вставной блок, который может быть вставлен в концы направляющего устройства и снабжен соединительным кабелем, при этом указанный вставной блок выполнен с возможностью вставки в концы направляющего устройства. Изобретение обеспечивает возможность выполнения функций вставки как на одном конце направляющего устройства, так и на другом конце направляющего устройства. 5 з.п. ф-лы, 6 ил.
Область техники, к которой относится изобретение
Настоящее изобретение относится к приводному устройству в соответствии с ограничительной частью пункта 1 формулы изобретения.
Уровень техники
В известных устройствах этого типа средства подвода энергии могут состоять из волочащегося кабеля или из соединительного кабеля и связанной с ним электропроводящей шины, которая проходит параллельно направляющей балке или рейке и от которой отбирается электрический ток для электромотора. Известны также решения, в которых тяговое средство расположено продольно в направляющей балке или рейке и укреплено на ее концах, причем данное тяговое средство в виде цепи используется также как средство подвода электрического тока для электромотора, перемещающегося в направляющей рейке на каретке. При этом тяговое средство получает приводной ток для электромотора через натяжное устройство тягового средства, расположенное на конце направляющей рейки. Эксплуатация устройства с волочащимся кабелем очень неудобна для пользователя. В случаях подачи тока через шину и электропроводящее тяговое средство подача возможна только от одного конца направляющей рейки, вблизи которого расположена розетка сети электроснабжения. Если ток необходимо подавать от другого конца направляющей рейки из-за расположения розетки, необходимо изменять систему подачи тока на направляющую рейку или даже иметь рейку в двух различных исполнениях.
Раскрытие изобретения
Задача, на решение которой направлено настоящее изобретение, заключается в создании приводного устройства по типу указанного в ограничительной части пункта 1 формулы изобретения, которое позволяет использовать одну и ту же направляющую балку или рейку для подвода электрического тока по выбору либо к одному, либо к другому ее концу без необходимости существенных работ по модификации.
В соответствии с изобретением решение поставленной задачи достигается за счет признаков устройства по пункту 1 формулы изобретения.
Приводное устройство по изобретению имеет то преимущество, что направляющую балку или рейку (далее будет использоваться общий термин рейка) легко приспосабливают к месту расположения розетки путем простой перестановки первого вставного блока.
Согласно дальнейшему примеру выполнения изобретения предусмотрен второй вставной блок без соединительного кабеля, который в остальном по конструкции соответствует первому вставному блоку и расположен на конце направляющей рейки, противоположном тому концу, который предусмотрен для первого вставного блока.
Согласно дальнейшему примеру выполнения приводное устройство относится к типу, в котором средство подвода электрического тока содержит саму направляющую рейку и тяговое средство, которые на конце направляющей рейки посредством натяжного устройства тягового средства соединены с соединительным кабелем. Это решение отличается тем, что первый вставной блок несет контактное тело, находящееся в контакте с направляющей рейкой. За счет этого устраняется обычное клеммное соединение жилы кабеля с направляющей рейкой.
Согласно дальнейшему примеру выполнения изобретения первый и/или второй вставной блок содержит первую часть, несущую натяжное устройство тягового средства, и вторую часть, образующую окружной упор для конца направляющей рейки. За счет этого тяговое средство удерживается наиболее простым образом.
Согласно дальнейшему примеру выполнения первая часть и вторая часть соединены между собой в единое целое. При этом вставной блок может быть изготовлен простым способом формования.
Согласно дальнейшему примеру выполнения изобретения вторая часть снабжена отверстиями для крепления направляющей рейки к крыше, стене и перемычке. При этом вставной блок служит одновременно опорной точкой для крепления направляющей рейки.
Перечень фигур чертежей
Далее со ссылками на прилагаемые чертежи будут подробно описаны примеры осуществления изобретения. На чертежах:
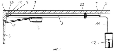
фиг.1 изображает на виде сбоку приводное устройство с подключением на стороне, удаленной от ворот,
фиг.2 изображает на виде сбоку приводное устройство с подключением на стороне, обращенной к воротам,
фиг.3 изображает в увеличенном виде снизу показанную на фиг.1 направляющую рейку с вставным блоком, соединительным кабелем, тяговым средством и средствами крепления направляющей рейки,
фиг.4 изображает в увеличенном виде снизу показанную на фиг.2 направляющую рейку с вставным блоком, соединительным кабелем, тяговым средством и средствами крепления направляющей рейки,
фиг.5 изображает в увеличенном виде в перспективе первый вставной блок при его использовании по фиг.1, 3,
фиг.6 изображает в увеличенном виде в перспективе первый вставной блок при его использовании по фиг.2, 4.
Осуществление изобретения
На фиг.1 показана часть гаража, а именно перемычка 1 ворот и крыша 2, на которых укреплено направляющее устройство, в данном примере выполнения направляющая балка или рейка 3, предпочтительно П-образного поперечного сечения (или в виде швеллера). На направляющей рейке подвижно установлена каретка 4, соединенная с помощью шарнирной тяги 5 с полотном 6 ворот гаража. Удаленный от полотна 6 ворот конец 7 направляющей рейки 3 закрыт первым вставным блоком 8, а обращенный к полотну 6 ворот конец 9 направляющей рейки 3 закрыт вторым вставным блоком 10. Первый вставной блок 8 несет электрический кабель 11, другой конец которого подведен к устройству 12 управления. Устройство 12 управления подсоединено к розетке (не показана), расположенной в задней части гаража.
На фиг.2, подобной фиг.1, первый и второй вставные блоки 8 и 10 установлены в другом порядке, с разворотом на угол 180°, так что конец 9 закрыт первым вставным блоком 8, а конец 7 – вторым вставным блоком 10. В этом случае устройство 12 управления подсоединено к розетке (не показана), расположенной в передней части гаража.
На фиг.3 и 4 более подробно показаны оба примера выполнения по фиг.1 и 2 в отношении выполнения направляющей рейки 3, в особенности профильной направляющей рейки. Фиг.3 соответствует примеру выполнения по фиг.1, а фиг.4 – примеру выполнения по фиг.2. На этих чертежах первый вставной блок 8 оснащен натяжным устройством 13 тягового средства, а второй вставной блок 10 оснащен натяжным устройством 14 тягового средства. Каждое натяжное устройство 13, 14 содержит крюк или другую часть замкнутой формы, например, в виде байонетного запорного устройства, которое позволяет закреплять или освобождать тяговое средство без применения дополнительного замка, а также регулировочное устройство для регулировки положения крюка по длине направляющей рейки. В примере выполнения по фиг.3 и 4 эти устройства представлены в виде крюков 15 и регулировочных устройств 16. Между этими крюками 15 натянуто тяговое средство 17. Натяжное устройство 13 и тяговое средство 17 соединены с жилой электрического кабеля 11. С тяговым средством 17 зацепляется не показанное зубчатое колесо или звездочка электромотора, расположенного на каретке 4. Таким образом, рабочая обмотка электродвигателя питается током, который подается по защищенному пути.
Первый вставной блок 8 показан более подробно на фиг.5. Он представляет собой по существу прямоугольный блок, который состоит из двух примыкающих друг к другу частей 18, 19 и изготовлен из синтетического материала в виде единого блока способом литья под давлением.
Первая часть 18 блока несет натяжное устройство 13 тягового средства с крюком 15 и регулировочное устройство 16, а также крышку 20, которая служит для разгрузки электрического кабеля 11 от натяжения, и расположенный сбоку контакт 21. Последний предназначен для контакта другой жилы электрического кабеля 11 с направляющей рейкой 3, так что с помощью этого контакта рабочая обмотка электромотора своим другим полюсом связана с электрическим кабелем 11.
Вторая часть 19 имеет большее поперечное сечение по сравнению с первой частью 18 и образует окружной упор 22 для удержания вставленного вставного блока 8 на конце 7 или 9 направляющей рейки 3. Вторая часть 19 имеет с торцевой стороны отверстие 23 для доступа к регулировочному устройству 16 и два боковых отверстия 24, 25, которые служат для крепления направляющей рейки 3 на перемычке 1 ворот (см. фиг.1). Как показано на фиг.3 и 4, это крепление может осуществляться с помощью уголков 26, 17. Другая точка крепления направляющей рейки 3 обеспечивается хомутом 28, укрепленным на крыше гаража.
Фиг.6 изображает вставной блок 8 с обратной стороны, при этом хорошо виден упор 22.
Второй вставной блок 10 предпочтительно выполнен аналогично первому вставному блоку 8, но без соединительного кабеля 11. В нем может также отсутствовать крышка 20 и контакт 21. За счет этого комплект запасных частей может ограничиваться одним типом вставных блоков. При перемене мест установки вставных блоков первый вставной блок 8 и второй вставной блок 10 меняют местами.
Формула изобретения
1. Приводное устройство в особенности для гаражных и подобных ворот, содержащее проходящее в направлении перемещения ворот направляющее устройство (3), в особенности рейку или направляющую рейку, перемещающуюся по ней оснащенную электромотором каретку (4) для привода в действие полотна (6) ворот и средства подвода электрического тока, соединяющие электромотор с источником (12) тока, ток от которого подводится к концу (7, 9) направляющей рейки (3), отличающееся тем, что средство подвода электрического тока содержит первый вставной блок (8), который снабжен соединительным кабелем (11) и выполнен с возможностью вставки в концы (7, 9) направляющего устройства (3), закрепления на конце направляющей рейки и выполнения своих функций как на одном конце (7) направляющей рейки, так и на другом конце (9) направляющей рейки.
2. Приводное устройство по п.1, отличающееся тем, что предусмотрен второй вставной блок (10) без соединительного кабеля, вставляемый в концы (7, 9) направляющего устройства и в остальном по конструкции соответствующий первому вставному блоку (8), причем указанный второй вставной блок расположен на конце (7 или 9) направляющей рейки, противоположном тому концу (7 или 9), на котором расположен первый вставной блок (8).
3. Приводное устройство по п.1 или 2, отличающееся тем, что средство подвода электрического тока содержит саму направляющую рейку (3) и тяговое средство (17), которые на конце (7 или 9) направляющей рейки посредством натяжного устройства (13) тягового средства соединены с соединительным кабелем (11), причем первый вставной блок (8) несет контактное тело (21), находящееся в контакте с направляющей рейкой (3).
4. Приводное устройство по п.3, отличающееся тем, что первый и/или второй вставной блок (8, 10) содержит первую часть (18), несущую натяжное устройство (13) тягового средства, и вторую часть (19), образующую окружной упор (22) для конца (7, 9) направляющей рейки.
5. Приводное устройство по п.4, отличающееся тем, что первая часть (18) и вторая часть (19) соединены между собой в единое целое.
6. Приводное устройство по п.4 или 5, отличающееся тем, что вторая часть (19) снабжена отверстиями (24, 25) для крепления направляющей рейки к крыше, стене и перемычке.
РИСУНКИ
|
|