|
(21), (22) Заявка: 2003102328/03, 27.01.2003
(24) Дата начала отсчета срока действия патента:
27.01.2003
(43) Дата публикации заявки: 27.07.2004
(46) Опубликовано: 10.04.2007
(56) Список документов, цитированных в отчете о поиске:
RU 2119026 С1, 20.09.1998. RU 2057234 С1, 27.03.1996. SY 903528 А1, 07.02.1982. RU 2078180 С1, 27.04.1997. RU 2194831 С2, 20.12.2002. DE 2426126 А1, 16.01.1975. RU 2029841 C1, 27.02.1995. SU 150220 А1, 01.01.1962.
Адрес для переписки:
630049, г.Новосибирск, ул. Балакирева, 1, кв.95, В.Ю. Еранову
|
(72) Автор(ы):
Еранов Владимир Юрьевич (RU)
(73) Патентообладатель(и):
Еранов Владимир Юрьевич (RU)
|
(54) КОМПЛЕКТ СРЕДСТВ ПОДМАЩИВАНИЯ ДЛЯ ВОЗВЕДЕНИЯ ЗДАНИЙ И СООРУЖЕНИЙ С МОНОЛИТНЫМ КАРКАСОМ
(57) Реферат:
Изобретение относится к строительной технологии и может быть использовано при возведении зданий и сооружений с монолитным каркасом с применением разборно-переставной, блочной или объемно-переставной опалубки. Комплект средств подмащивания для возведения зданий и сооружений с монолитным каркасом включает выкатные подмости, состоящие из ферм, рабочего настила и откидных ограждений. В комплект введены консольные кронштейны колонн с настилом и кронштейны настила. Фермы выкатных подмостей оснащены корзинами для дополнительного рабочего настила, навешиваемыми на наружный подкос фермы. При этом консольные кронштейны колонн состоят из рам, объединенных ригелями с возможностью переналадки консольных кронштейнов при изменении размеров колонн на величину, кратную модулю. Консольные кронштейны колонн могут быть установлены на перекрытие у колонн с закреплением к колоннам в их крайнем верхнем и нижнем сечении и дополнительно распором в перекрытия, а настил может быть снабжен ограждением и блокирующими механизмами. Кроме того, кронштейны настила могут быть оснащены откидными ригелями, позволяющими установку, опирание и закрепление в устойчивом положении настила на одну колонну. Технический результат изобретения заключается в расширении арсенала технических средств, технологических возможностей средств подмащивания и технологического оборудования при возведении зданий по каркасной конструктивной схеме, упрощении выполнения основных видов работ, уменьшении количества выполняемых операций, трудозатрат на их выполнение, повышении универсальности применяемого оборудования, его надежности, безопасности выполняемых работ. 2 з.п. ф-лы, 11 ил.
Изобретение относится к строительной технологии и может быть использовано для возведения зданий и сооружений с монолитным каркасом с применением разборно-переставной, блочной или объемно-переставной опалубки.
Наиболее близким техническим решением являются выкатные подмости, входящие в комплект объемно-переставной опалубки и устанавливающиеся на одном уровне по двум сторонам здания, состоящие из ферм, рабочего настила и откидных ограждений.
Недостатками подмостей являются их ограниченные технологические возможности, предполагающие перемещение персонала и технологического оборудования в одном уровне по двум сторонам здания, поскольку с других сторон предполагается наличие бетонных стен в бескаркасной конструктивной схеме или колонн в каркасной конструктивной схеме здания, а также невозможность постановки выкатных подмостей одновременно с двух сторон одного и того же угла здания каркасной конструктивной схемы при наличии в углу колонны. (1).
Известен кронштейн консольных лесов, включающий соединенные посредством шарниров звенья, где каждый шарнир выполнен в виде захвата с фиксирующим устройством, что позволяет закрепление кронштейна с одинаковым шагом к смонтированной на элементах сооружения штанге независимо от шага расположения элементов.
Недостатками этой конструкции являются высокая степень сборности консольных лесов, состоящих из замка, кронштейнов, штанг и щитов настила, отсутствие ограждений и блокирующих устройств (механизмов), препятствующих самопроизвольному перемещению замка, кронштейна и щитов настила, невозможность установки кронштейнов и настила при наличии только одного элемента сооружения (колонны), ненадежность установки замка, навешиваемого на конструктивные элементы сооружения, определяемая силой трения (2).
Известно устройство для крепления подвесок, состоящее из крюков, перевернутых относительно друг друга, жестко прикрепленных на заклепках к противоположным сторонам струбцины.
Недостатком этой конструкции являются ограниченные возможности, не предполагающие опирание и фиксацию в устойчивом положении плоских элементов (настила), ограниченные параметры струбцины, определенные длиной винта и величиной зева струбцины (3).
Целью предлагаемого изобретения является расширение технологических возможностей средств подмащивания при возведении зданий и сооружений в каркасной конструктивной схеме, обеспечивающих перемещение как минимум по двум сторонам – в двух уровнях и решающих проблему обеспечения средствами подмащивания всего периметра здания, а также максимальную надежность средств подмащивания и технологичность при их установке и демонтаже, в том числе и на одну колонну.
Поставленная цель достигается:
1. Определением необходимого модуля кратности габаритных размеров конструктивных элементов в плане и размеров в осях регулярного плана здания.
2. Приведением к единому модулю габаритных размеров в плане средств подмащивания.
3. Комплексным применением как существовавших ранее, так и вновь заявляемых средств подмащивания.
К ранее известным средствам подмащивания относятся выкатные подмости, навесные подмости, монтажные (рабочие) площадки, переходные мостики.
К вновь заявляемым средствам подмащивания относятся выкатные подмости с корзиной для дополнительного рабочего настила, консольные кронштейны с настилом, устанавливаемые на перекрытия у колонн, и кронштейн настила с откидным ригелем для установки настила при наличии одной колонны.
Конструкция выкатных подмостей отличается тем, что их фермы оснащены корзинами для дополнительного рабочего настила, навешиваемыми на наружный подкос фермы на хомутах, что позволяет организовать второй уровень настила, оборудовать дополнительные пути эвакуации.
Конструктивное решение консольных кронштейнов с настилом отличается тем, что кронштейны, способные к переналадке в зависимости от габаритов колонн при неизменном конструктивном решении настила и объединению с настилом в монтажные блоки, устанавливаются на перекрытие у колонн с закреплением к колоннам в их крайнем верхнем и нижнем сечении и дополнительно распором в перекрытия, а настил снабжен ограждением и блокирующими механизмами, препятствующими самопроизвольному перемещению отдельных элементов средств подмащивания.
Конструкция кронштейна настила отличается наличием откидного ригеля, позволяющего установку, опирание и последующее закрепление в устойчивом положении плоского настила, что создает возможность для установки настила на одну колонну, а также большим зевом струбцины, позволяющим ее установку на конструктивные элементы с большим диапазоном по толщине.
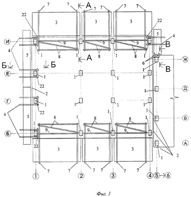
Предлагаемый комплект средств подмащивания для возведения зданий и сооружений с монолитным каркасом поясняется чертежами, где на фиг. 1 изображен фрагмент регулярного плана здания и схема расстановки средств подмащивания; на фиг.2 – выкатная подмость, разрез А-А; на фиг.3 узел I – крепление рамы корзины для дополнительного рабочего настила на наружный подкос фермы выкатной подмости; на фиг.4 узел II – поясняющий устройство рамы корзины и крепление дополнительного рабочего настила; на фиг.5 – принципиальная схема установки консольного кронштейна и настила с закреплением на существующих конструкциях здания или сооружения; на фиг.6 – консольный кронштейн колонны с настилом в рабочем положении, разрез Б-Б; на фиг.7 узел опирания, фиксации и блокировки настила на консольном кронштейне, разрез 1-1; на фиг.8 – узел блокировки кронштейна к колоннам и настила к кронштейнам, разрез 2-2; на фиг.9 – настил в транспортном и разблокированном положении; на фиг.10 – кронштейн настила в транспортном положении; на фиг.11 – схема установки настила на консольный кронштейн одной колонны и кронштейн настила, разрез В-В.
Представленный на фиг.1 фрагмент регулярного плана здания имеет расстояние между осями, кратное модулю, в данном случае 3М, где М=100 мм, и представлен на чертеже конструкциями, где железобетонные монолитные колонны 1 имеют размеры в плане, кратные М.
На монолитную плиту перекрытия 2 установлены средства подмащивания: выкатные подмости 3, консольные кронштейны колонн 4, настилы по кронштейнам колонн 5, кронштейны настила 6, образующие рабочий настил по всему периметру возводимого здания.
На представленном фрагменте видно, что традиционное решение организации средств подмащивания по фасаду в осях 1, И-Б; 4, Ж-И нецелесообразно, поскольку значительная часть внутреннего пространства по периметру здания или сооружения занята защемленной частью выкатных подмостей.
Выкатные подмости 3, представленные на фиг.2, состоят из ферм 7, собранных в жесткую пространственную конструкцию связями 8 и распорками 9, оборудованных монтажными петлями 10 и откидными стойками 11, устанавливаются на перекрытия 2 нижележащего этажа с защемлением между перекрытиями 2 и распираются распорками 9 в вертикальные конструкции 1.
Для производства работ по фасаду в осях 1-4; Б, И возводимого этажа, перемещению людей выкатные подмости оснащены рабочим настилом 12 и ограждением 13 по стойкам 11.
Для организации эвакуации людей с монтажного горизонта, перемещению вдоль фасада в затрудненных на монтажном горизонте местах подмости оборудуются дополнительным рабочим настилом 14 по горизонтальным элементам рамы корзины 15, навешиваемой, как показано на фиг.3, узел I, на хомутах 16 к наружному подкосу фермы 7 выкатных подмостей 3.
Дополнительный рабочий настил 14 выполняется аналогично основному рабочему настилу 12, как показано на фиг.4, узел II, крепится на болтах 17 к горизонтальным элементам рамы корзины 15 и оборудуется ограждением 13 по вертикальным элементам рамы корзины 15.
Для производства работ по фасаду в осях 1, Б-И возводимого этажа на перекрытиях 2 к колоннам 1 с защемлением между перекрытиями 2 нижележащих этажей, как показано на фиг.5, устанавливаются средства подмащивания, состоящие из консольных кронштейнов колонн 4, на которые опирается настил 5.
Консольные кронштейны колонн 4 состоят из рам 18 зеркального исполнения, объединенных в пространственную конструкцию нижними ригелями 19, верхними ригелями 20 через отверстие 21, 25 на болтах 17 и фиксаторами 22. Рамы консольных кронштейнов колонн 18 оборудованы монтажными петлями 10, домкратами 23, приводящими настил 5 в горизонтальное положение, опорами 24 и имеют ряд отверстий 21 с шагом М, соответствующим модулю кратности размеров колонн 1 в плане, и предназначены для переналадки консольных кронштейнов 4 в связи с изменением размеров колонн вдоль рам 18 консольных кронштейнов 4. Для переналадки консольных кронштейнов 4 в связи с изменением размеров колонн 1 поперек рам консольных кронштейнов 18 и определяющих расстояние между рамами 18 нижние ригели 19 и верхние ригели 20 имеют два ряда отверстий 25 с шагом 0,5 М, обеспечивая таким образом симметричное относительно оси колонны изменение размеров между рамами 18 с шагом М.
Для надежного опирания и фиксации настила 5 в плане верхние ригели 20 оборудованы консольно расположенными вертикальными фиксаторами 26.
Настил 5 состоит из металлической несущей рамы с вилочными фиксаторами 27 и поперечными связями 29, блокирующих механизмов 28, рабочего настила 12 и ограждения 13 по стойкам 11. Расстояние между вилочными фиксаторами 27 и поперечными связями 29 несущей рамы настила соответствуют диаметру консольно расположенных вертикальных фиксаторов 26, а расстояние между их осями кратно ЗМ. Благодаря этому при изменении расстояния между осями колонн по периметру здания с шагом 3М, при каждой перестановке консольных кронштейнов колонн 4 вилочные фиксаторы несущей рамы 27 настила 5 будут располагаться по обе стороны от консольно расположенных вертикальных фиксаторов 26, надежно фиксируя настил 5 на консольных кронштейнах 4 в плане.
Фиксация настила 5 на консольных кронштейнах 4 по высоте обеспечивается блокирующими механизмами 28, конструкция которых поясняется фиг.6, 7, 8.
Блокирующий механизм 28 состоит из попарно шарнирно закрепленных между поперечными связями 29 несущей рамы настила 5 П-образных откидных кронштейнов 30, оборудованных шарнирно к ним закрепленными монтажными петлями 31 и объединенных замыкающей штангой 32, расположенной на одной вертикальной оси с шарниром П-образных откидных кронштейнов 30, что позволяет штанге 32 под действием собственного веса автоматически замыкать настил 5 на верхнем ригеле 20 консольного кронштейна колонн 4, фиксируя его по высоте.
Демонтаж настила 5 осуществляется с автоматической разблокировкой при приведении его в транспортное положение. На фиг.9 показано, что при натяжении стропами за монтажные петли 31 блокирующих механизмов 28 П-образный откидной кронштейн 30 размыкает настил 5, а замыкающая штанга 32, упираясь в крайнем верхнем положении в поперечные связи 29 несущей рамы настила 5, обеспечивает его равномерный подъем.
Для сокращения выполняемых операций настил 5 может быть зафиксирован любым возможным способом на консольных кронштейнах колонн 4, образуя таким образом единый монтажный блок.
При организации средств подмащивания по фасаду здания или сооружения при наличии всего одной колонны (разрез В-В, фиг.1) помимо приведенных решений надежное опирание и фиксацию в устойчивом положении настила 5 обеспечивает показанный на фиг.10 кронштейн настила 6, состоящий из неразъемной струбцины с консольной опорной частью 33 и монтажной петлей 10, откидного ригеля 34 с монтажной петлей 10, оснащенных домкратами 23 и фиксатором 22.
Установив струбцину на перекрытие 2 при транспортном положении откидного ригеля 34, как показано на фиг.11, на консольную опорную часть струбцины и консольный кронштейн колонны 4 устанавливается настил 5. После приведения блокирующих механизмов 28 в рабочее состояние откидной ригель 34 устанавливается в горизонтальное положение и закрепляется фиксатором 22, после чего рабочий настил 12 вместе с несущей рамой настила 5 зажимаются домкратом 23, обеспечивая опирание консольной части настила 5 и его надежное закрепление в проектном положении.
Изобретение расширяет арсенал технических средств, технологические возможности средств подмащивания и технологического оборудования при возведении зданий и сооружений в каркасной конструктивной схеме, упрощает выполнение основных видов работ, уменьшает количество выполняемых операций, трудозатраты на их выполнение, повышает универсальность применяемого оборудования, его надежность, безопасность выполняемых работ.
Источники информации:
1. Патент РФ №2078180, кл. E 04 G 11/20, 1997.
2. Авторское свидетельство №484294, кл. E 04 G 5/06, 1975.
3. Патент Японии 2772780, кл. E 04 G 21/32, 1998.
Формула изобретения
1. Комплект средств подмащивания для возведения зданий и сооружений с монолитным каркасом, включающий выкатные подмости, состоящие из ферм, рабочего настила и откидных ограждений, отличающийся тем, что в комплект введены консольные кронштейны колонн с настилом и кронштейны настила, а фермы выкатных подмостей оснащены корзинами для дополнительного рабочего настила, навешиваемыми на наружный подкос фермы, при этом консольные кронштейны колонн состоят из рам, объединенных ригелями, с возможностью переналадки консольных кронштейнов при изменении размеров колонн на величину, кратную модулю.
2. Комплект средств подмащивания для возведения зданий и сооружений с монолитным каркасом по п.1, отличающийся тем, что консольные кронштейны колонн, способные к переналадке в зависимости от габаритов колонн при неизменном конструктивном решении настила и объединению с настилом в монтажные блоки, устанавливаются на перекрытие у колонн с закреплением к колоннам в их крайнем верхнем и нижнем сечении и дополнительно распором в перекрытия, а настил снабжен ограждением и блокирующими механизмами.
3. Комплект средств подмащивания для возведения зданий и сооружений с монолитным каркасом по п.1, отличающийся тем, что кронштейны настила оснащены откидными ригелями, позволяющими установку, опирание и закрепление в устойчивом положении настила на одну колонну.
РИСУНКИ
MM4A – Досрочное прекращение действия патента СССР или патента Российской Федерации на изобретение из-за неуплаты в установленный срок пошлины за поддержание патента в силе
Дата прекращения действия патента: 28.01.2006
Извещение опубликовано: 10.04.2008 БИ: 10/2008
NF4A – Восстановление действия патента СССР или патента Российской Федерации на изобретение
Дата, с которой действие патента восстановлено: 10.04.2008
Извещение опубликовано: 10.04.2008 БИ: 10/2008
QB4A – Регистрация лицензионного договора на использование изобретения
Лицензиар(ы): Еранов Владимир Юрьевич
Вид лицензии*: НИЛ
Лицензиат(ы): Закрытое акционерное общество “НОВИНКОМ”
Договор № РД0035890 зарегистрирован 12.05.2008
Извещение опубликовано: 20.06.2008 БИ: 17/2008
* ИЛ – исключительная лицензия НИЛ – неисключительная лицензия
|