|
|
(21), (22) Заявка: 2004134822/03, 29.11.2004
(24) Дата начала отсчета срока действия патента:
29.11.2004
(43) Дата публикации заявки: 10.05.2006
(46) Опубликовано: 10.04.2007
(56) Список документов, цитированных в отчете о поиске:
СН 508109 А, 15.07.1971. СН 466536 А, 31.01.1969. SU 894123 А1, 30.12.1981.
Адрес для переписки:
394033, г.Воронеж, ул. Остужева, 21, ООО “Воронежтеплотехнология”
|
(72) Автор(ы):
Беляев Виктор Александрович (RU), Чурсин Александр Николаевич (RU), Поляк Игорь Федорович (RU)
(73) Патентообладатель(и):
Беляев Виктор Александрович (RU)
|
(54) УСТРОЙСТВО ДЛЯ НЕРАЗЪЕМНОГО СОЕДИНЕНИЯ СТЕНОВЫХ ПАНЕЛЕЙ
(57) Реферат:
Изобретение относится к методу возведения в строительстве монолитных стен, облицованных панелями, имеющими различные свойства (например, теплозащита, звукоизоляция и т.п.). Технический результат: улучшение заполняемости бетоном пространства между панелями, а также компенсация погрешностей монтажа. Устройство для неразъемного соединения стеновых панелей, заливаемых бетоном, для возведения монолитных стен состоит из нескольких пар, смонтированных на обеих панелях, скоб, выполненных в виде упругих гнутых пластин, причем одна скоба из пары имеет П-образный профиль с четырьмя наклонными выступами на боковых сторонах, а другая – четыре ответных паза; все пары скоб смонтированы с возможностью фиксации панелей на определенном расстоянии друг от друга, причем, с целью улучшения заполняемости бетоном пространства внутри П-образной скобы с наклонными выступами, последние выполнены отогнутыми относительно боковых сторон скобы. 1 з.п. ф-лы, 6 ил.
Изобретение относится к области гражданского и промышленного строительства, а более конкретно к возведению монолитных стен, облицованных панелями из различных материалов (тепло- и звукоизолирующих, декоративных, влагостойких и т.д.) при строительстве жилых и нежилых помещений, гаражей, складов и т.д.
Известно устройство для неразъемного соединения стендовых панелей, заливаемых бетоном, для возведения монолитных стен, состоящее из нескольких пар смонтированных на обеих панелей профильных скоб, выполненных в виде упругих гнутых пластин. Одна скоба из пары имеет П-образный профиль с четырьмя наклонными выступами на обеих концах скобы, а другая – четыре ответных. Все пары скоб смонтированы на панелях с возможностью соединения между собой и фиксацией панелей на определенном расстоянии друг от друга (см. рекламный проспект по возведению стеновых панелей с помощью системы Gruber VS System фирмы VS Verbundschalungen GmBH & Co.KG, Австрия).
В этом устройстве при монтаже скобы с П-образным профилем на стеновой панели обе отогнутые плоскости скобы с наклонными выступами должны быть расположены перпендикулярно направлению заливки бетона, что затрудняет заполнение бетоном всего объема пространства внутри скобы.
Кроме того, у скобы с ответными пазами затруднительна компенсация монтажных неточностей в направлениях, перпендикулярных заливке бетона, неизбежно возникающих при установке на стеновых панелях множества пар скоб.
Следовательно, требуется повышенная точность при разметке и монтаже каждой пары скоб, что влияет на стоимость строительства монолитных стен с облицовкой.
Целью настоящего изобретения является улучшение заполняемости бетоном пространства внутри П-образной скобы с наклонными выступами и облегчение монтажа стеновых панелей.
Указанная цель достигается тем, что в известном устройстве для неразъемного соединения стеновых панелей, заливаемых бетоном, состоящем из нескольких пар смонтированных на обеих панелей скоб, выполненных в виде упругих гнутых пластин, причем одна скоба из пары имеет П-образный профиль с четырьмя наклонными выступами на боковых сторонах, а другая – четыре ответных паза, все пары скоб смонтированы с возможностью фиксации панелей на определенном расстоянии друг от друга, у П-образной скобы с наклонными выступами последние выполнены отогнутыми относительно боковых сторон скобы.
Кроме того, скоба с пазами имеет П-образный профиль, пазы размещаются на боковых сторонах, причем расстояние между боковыми сторонами отличается от такого же расстояния скобы с отогнутыми выступами на величину монтажного допуска, а высота самих выступов также равна монтажному допуску.
Сущность изобретения поясняется чертежами.
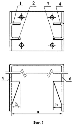
На фиг.1 изображена П-образная скоба из пары с четырьмя наклонными выступами; на фиг.2 – ответная П-образная скоба с пазами; на фиг.3 – пара соединенных между собой скоб; на фиг.4 – вариант исполнения скобы с наклонными выступами; на фиг.5 – пара соединенных между собой скоб с использованием варианта фиг.4; на фиг.6 – фрагмент стеновой панели с несколькими парами скоб.
Скоба на фиг.1 выполнена в виде упругой гнутой пластины и имеет П-образный профиль с четырьмя наклонными выступами 1, 2 3 и 4, отогнутыми относительно боковых сторон 5 и 6. Высота выступов h должна быть не менее величины монтажного допуска 
h .
Вторая скоба из пары на фиг.2 также выполнена в виде упругой гнутой пластины, имеет П-образный профиль и четыре продольных паза на боковых сторонах 7 и 8.
Разность расстояний между боковыми сторонами 1 и 2 скобы фиг.1 и боковыми сторонами 3 и 4 скобы фиг.2 должна быть не меньше величины монтажного допуска
a-b 
или с использованием варианта скобы на фиг.4
b-а’ .
Ширина пазов l должна быть не меньше величины монтажного допуска 
l .
Все скобы крепятся по разметке либо непосредственно к стеновым панелям 9 и 10, либо к более прочным промежуточным пластинам 11, 12 (фиг.5), причем плоскости всех скоб, кроме отогнутых выступов 1, 2, 3 и 4, располагаются по вертикали (фиг. 6). Промежуточные пластины 11, 12 перед монтажем скоб крепятся к стеновым панелям, например, приклеиванием.
При сближении панелей друг к другу с установленными на них скобами последние, упруго деформируясь, сцепляются попарно друг с другом и фиксируют панели на определенном расстоянии, равном толщине стены из бетона (фиг.3, 5, 6).
При заливке бетона стеновых панелей все плоскости скоб, расположенные по вертикали, кроме отогнутых выступов, не препятствуют заливке. Это способствует более лучшему заполнению бетоном пространства внутри скоб.
Расположение скоб на стеновых панелях по длине и высоте на фиг.6 определяется механической прочностью стеновых панелей, прочностью промежуточных пластин и другими факторами.
Предлагаемое устройство для неразъемного соединения стеновых панелей независимо от предлагаемого варианта конструкции пар скоб обеспечивает надежное их сцепление в замок при смещении от номинально расположения в любом направлении на величину монтажного допуска, заранее заданного перед монтажом. Это удешевляет стоимость монтажа скоб, который можно производить без разметки на стапелях, и расширяет возможность использования технологии возведения стен из бетона с облицовкой стеновыми панелями.
Формула изобретения
1. Устройство для неразъемного соединения стеновых панелей, заливаемых бетоном, для возведения монолитных стен, состоящее из нескольких пар смонтированных на обеих панелях скоб, выполненных в виде упругих гнутых пластин, причем одна скоба из пары имеет П-образный профиль с четырьмя наклонными выступами на боковых сторонах, а другая – четыре ответных паза; все пары скоб смонтированы с возможностью фиксации панелей на определенном расстоянии друг от друга, отличающееся тем, что, с целью улучшения заполняемости бетоном пространства внутри П-образной скобы с наклонными выступами, последние выполнены отогнутыми относительно боковых сторон скобы.
2. Устройство по п.1, отличающееся тем, что, с целью облегчения монтажа, скоба с пазами имеет П-образный профиль, пазы размещаются на боковых сторонах, причем расстояние между боковыми сторонами отличается от такого расстояния скобы с отогнутыми выступами на величину монтажного допуска, а высота самих выступов также равна монтажному допуску.
РИСУНКИ
MM4A – Досрочное прекращение действия патента СССР или патента Российской Федерации на изобретение из-за неуплаты в установленный срок пошлины за поддержание патента в силе
Дата прекращения действия патента: 30.11.2007
Извещение опубликовано: 10.02.2010 БИ: 04/2010
|
|