|
|
(21), (22) Заявка: 2005116174/03, 24.05.2005
(24) Дата начала отсчета срока действия патента:
24.05.2005
(43) Дата публикации заявки: 20.11.2006
(46) Опубликовано: 10.04.2007
(56) Список документов, цитированных в отчете о поиске:
RU 2131496 C1, 10.06.1999. RU 2099473 С1, 20.12.1997. RU 2112834 C1, 10.06.1998. SU 1636525 А1, 23.03.1991. БАЙЦУР А.И. Опускные колодцы, Киев, Будивельник, 1972, с.112-204. СИЛИН К.С., ГЛОТОВ Н.М. Опускные колодцы, Москва, Транспорт, 1971, с.9-185.
Адрес для переписки:
192289, Санкт-Петербург, а/я 155, пат.пов. Е.В.Савиковской
|
(72) Автор(ы):
Козлович Аркадий Викторович (RU)
(73) Патентообладатель(и):
Козлович Аркадий Викторович (RU)
|
(54) СПОСОБ УСТАНОВКИ ФУНДАМЕНТА ПОД БОЛЬШИЕ НАГРУЗКИ (ВАРИАНТЫ)
(57) Реферат:
Изобретение относится к области строительства и может быть использовано при строительстве опор для мостов, высотных зданий, коттеджей, подземных гаражей и т.д. Способ установки фундамента под большие нагрузки включает установку опалубки и бетонирование. Предварительно роют котлован глубиной 1-5 м, по краю котлована устанавливают цилиндрические наружную и внутреннюю опалубки, наружная опалубка в нижней части имеет расширяющийся участок высотой от 5 см до 5 м и шириной выступа 1-10 см, заканчивающийся острым цилиндрическим металлическим или железобетонным наконечником. Внутренняя опалубка в нижней части также имеет расширение высотой не более одного наружного диаметра фундамента, а в нижней части расширения расположен выступ. Между опалубками формируют бетонное изделие, при этом по мере опускания изделия с опалубкой в грунт под собственной тяжестью из внутренней части опалубки на дне котлована вынимают грунт. После углубления изделия на заданную глубину во внутреннюю часть изделия заливают бетон на высоту расширения внутренней опалубки для получения замка. При бетонировании замка в верхней его части устанавливают закладные элементы для колонн, затем с наружной стороны изделия засыпают грунт и производят уплотнение грунта вокруг бетонного изделия вибропогружением. Способ установки фундамента под большие нагрузки. При установке, преимущественно, опор для моста бетонное изделие в виде трубы опускают на дно водоема, наружная поверхность трубы в нижней части имеет расширяющийся участок высотой от 5 см до 5 м и шириной выступа 1-10 см, заканчивающийся острым цилиндрическим металлическим или железобетонным наконечником. Внутренняя поверхность трубы в нижней части также имеет расширение высотой не более одного внутреннего диаметра трубы, при этом по мере опускания изделия в грунт под собственной тяжестью из внутренней части трубы на дне водоема вынимают грунт. После опускания изделия на заданную глубину изделие соединяют с винтовыми сваями, завинченными в грунт с наружной стороны изделия. Во внутреннюю часть бетонного изделия заливают бетон на высоту расширения для получения замка, при бетонировании замка в верхней его части устанавливают закладные элементы для колонн. Технический результат состоит в повышении несущей способности и надежности фундамента при воздействии на него больших нагрузок. 2 н. и 5 з.п. ф-лы, 5 ил.
Изобретение относится к области строительства и может быть использовано при строительстве опор для мостов, высотных зданий, коттеджей, подземных гаражей и т.д.
Наиболее близким по технической сущности и достигаемому результату является способ установки фундамента, включающий установку опалубки, армирование и бетонирование (патент RU №2131496, Кл. Е 02 D 20/054,1999 г.) /1/.
Недостатками известного способа является использование полученного фундамента только для возведения подземных сооружений и невозможность его использования для возведения конструкций, создающих большие нагрузки на фундамент, например мостов, высотных зданий и т.д.
Технический результат, на достижение которого направлено настоящее изобретение, заключается в повышении несущей способности и надежности фундамента при воздействии на него больших нагрузок.
Указанный технический результат достигается тем, что в способе установки фундамента под большие нагрузки, включающем установку опалубки и бетонирование, согласно изобретению предварительно роют котлован глубиной 1-5 м, по краю котлована устанавливают цилиндрические наружную и внутреннюю опалубки, наружная опалубка в нижней части имеет расширяющийся участок высотой от 5 см до 5 м и шириной выступа 1-10 см, заканчивающийся острым цилиндрическим металлическим наконечником, внутренняя опалубка в нижней части также имеет расширение высотой не более одного наружного диаметра фундамента, а в нижней части расширения расположен выступ, между опалубками формируют бетонное изделие, при этом по мере опускания изделия с опалубкой в грунт под собственной тяжестью из внутренней части опалубки на дне котлована вынимают грунт, после углубления изделия на заданную глубину во внутреннюю часть изделия заливают бетон на высоту расширения внутренней опалубки для получения замка, при бетонировании замка в верхней его части устанавливают закладные элементы для колонн, затем с наружной стороны изделия засыпают грунт и производят уплотнение грунта вокруг бетонного изделия вибропогружением.
Бетонное изделие могут формировать следующим образом: между опалубками устанавливают арматуру, после установки арматуры непрерывно сверху в опалубку заливают бетон со скоростью 10-15 см/час, и по мере опускания изделия в грунт сверху между опалубками добавляют секции металлической арматуры.
Наружная опалубка может быть снабжена наружным гидроизоляционным покрытием.
Технический результат достигается также тем, что в способе установки фундамента под большие нагрузки, преимущественно опор для моста, бетонное изделие в виде трубы опускают на дно водоема, наружная поверхность трубы в нижней части имеет расширяющийся участок высотой от 5 см до 5 м и шириной выступа 1-10 см, заканчивающийся острым цилиндрическим металлическим или железобетонным наконечником, внутренняя поверхность трубы в нижней части также имеет расширение высотой не более одного наружного диаметра фундамента, при этом трубу опускаю в котлован, по мере опускания изделия в грунт под собственной тяжестью из внутренней части трубы на дне котлована вынимают грунт, после опускания изделия на заданную глубину изделие соединяют с винтовыми сваями, завинченными в грунт с наружной стороны изделия, во внутреннюю часть бетонного изделия заливают бетон на высоту расширения для получения замка, при бетонировании замка в верхней его части устанавливают закладные элементы для колонн.
Труба может быть выполнена из бетонных колец.
Труба может быть выполнена из секций.
В нижней части расширения может быть выполнен выступ.
Способ поясняется чертежами.
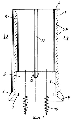
На фиг.1 изображен общий вид фундамента под большие нагрузки с заливкой бетона между опалубками.
На фиг.2 изображен разрез фундамента по А-А.
На фиг.3 изображен общий вид фундамента, являющегося опорой для моста.
На фиг.4 – «- вариант выполнения трубы из колец.
На фиг.5 – «- вариант выполнения трубы из секций.
Фундамент содержит цилиндрическую наружную опалубку 1 и внутреннюю опалубку 2. В нижней части наружной опалубки 1 имеется расширяющийся участок 3 высотой от 5 см до 5 м и шириной выступа 1-10 см, заканчивающийся острым цилиндрическим металлическим или железобетонным наконечником 4, размещенным по всей нижней поверхности расширяющегося участка 3 наружной опалубки 1. При необходимости наружную часть внутренней опалубки обрабатывают маслом, что облегчает выемку внутренней опалубки. Внутренняя опалубка 2 в нижней части также имеет расширение 5 высотой не более одного наружного диаметра фундамента для размещения замка 6. В нижней части расширения 5 расположен выступ 7, выполненный как компенсатор нагрузок.
Между опалубками 1 и 2 может быть установлена арматура 8, собираемая из секций 9, выполненных в виде металлического сварного шаблона.
Внутри кольцевого фундамента перед заливкой замка могут быть установлены винтовые сваи 10.
Наружная опалубка может быть снабжена гидроизоляционным покрытием (на чертеже не показано).
При закладке фундамента под опоры для моста на дно водоема устанавливают железобетонную трубу 11, наружная поверхность которой в нижней части имеет расширяющийся участок 3 высотой от 5 см до 5 м и шириной выступа 1-10 см, заканчивающийся острым цилиндрическим металлическим или железобетонным наконечником 4, внутренняя поверхность трубы 11 в нижней части также имеет расширение 5 высотой не более одного внутреннего диаметра трубы для размещения замка 6, а в нижней части расширения 5 расположен выступ 7. Из внутренней части трубы 11 на дне котлована вынимают грунт, труба опускается в грунт под собственной тяжестью. После опускания изделия на заданную глубину снаружи изделия устанавливают винтовые сваи 12, изделие соединяют с винтовыми сваями 12 крепежными элементами 13. Во внутреннюю часть фундамента после откачки воды заливают бетон на высоту расширения 5 внутренней опалубки для получения замка 6. Труба может быть выполнена из колец 14 или секций 15.
При заливке замка 6 в верхней его части устанавливают закладные элементы 16 для колонн 17.
Способ осуществляют следующим образом.
Предварительно роют котлован глубиной 1-5 м, по краю котлована устанавливают цилиндрические наружную 1 и внутреннюю 2 опалубки, наружная опалубка 1 в нижней части имеет расширяющийся участок 3 высотой от 5 см до 5 м и шириной выступа 1-10 см, заканчивающийся острым цилиндрическим металлическим или железобетонным наконечником 4. Наличие расширяющегося участка 5 с острым наконечником 4 облегчает погружение фундамента в грунт. Внутренняя опалубка 2 в нижней части также имеет расширение 5 высотой не более одного наружного диаметра фундамента для последующей заливки бетона, образующего при застывании замок 6. При бетонировании замка в верхней его части устанавливают закладные элементы для колонн.
Между опалубками 1 и 2 формируют бетонное изделие, при этом по мере опускания изделия с опалубкой в грунт под собственной тяжестью из внутренней части опалубки на дне котлована вынимают грунт, после углубления изделие на заданную глубину во внутреннюю часть изделия при необходимости устанавливают винтовые сваи 10 (заявка на изобретение «Винтовая свая, способ установки винтовой сваи, приспособление для завинчивания сваи и способ прокладки тоннеля открытым способом с использованием винтовой сваи», Кл. E 02 D 29/00, поданная в ФИПС одновременно с данной заявкой, автор Козлович А.В.), /2/, и заливают бетон на высоту расширения 5 внутренней опалубки 2 для получения замка 6. Затем с наружной стороны изделия и в пространство между фундаментом и котлованом засыпают грунт и производят его уплотнение вокруг бетонного изделия вибропогружением (RU, патент №2236503, Кл. E 02 D 3/02, 2003 г.) /3/.
Бетонное изделие при установке фундамента под наземные постройки (высотные здания, коттеджи, гаражи) формируют следующим образом. Между опалубками 1 и 2 устанавливают арматуру 8, выполненную из секций 9 в виде металлического сварного шаблона, после установки арматуры 8 непрерывно сверху в опалубку (в пространство между опалубками 1 и 2) заливают бетон со скоростью 10-15 см/ч и по мере опускания изделия в грунт сверху между опалубками добавляют секции 9 металлической арматуры 8, при опускании изделия на заданную глубину заливают внутрь изделия бетон для получения замка 6. Перед заливкой замка 6 при необходимости внутрь изделия ввинчивают винтовые сваи 10 /2/.
При сооружении опор для моста на дно водоема устанавливают железобетонную трубу 11, наружная поверхность которой в нижней части имеет расширяющийся участок 3 высотой от 5 см до 5 м и шириной выступа 1-10 см, заканчивающийся острым цилиндрическим металлическим или железобетонным наконечником 4, внутренняя поверхность трубы 11 в нижней части также имеет расширение 5 высотой не более одного внутреннего диаметра трубы для размещения замка 6, а в нижней части расширения 5 расположен выступ 7 для удобства формирования замка 6.
Трубу 11 опускают на дно водоема, из внутренней части трубы на дне водоема вынимают грунт, изделие опускается в грунт под собственной тяжестью. После опускания трубы на заданную глубину изделие для предотвращения всплытия соединяют с винтовыми сваями 12 /2/, завинченными в грунт с наружной стороны изделия. Соединение изделия со сваями 12 осуществляют при помощи крепежных элементов 13. Во внутреннюю часть трубы заливают бетон на высоту расширения 5 для получения замка 6.
При заливке замка 6 в верхней его части устанавливают закладные элементы 16 для колонн 17.
Закладные элементы для колонн устанавливают и в способе заливки фундамента по п.1.
Лишнюю землю, образующуюся при опускании изделия, постоянно убирают или вручную, или при помощи специальных механизмов. При прохождении грунтовых вод при наземной установке фундамента посередине котлована бурят отверстие и откачивают воду.
Выбор размеров обусловлен требованиями, предъявляемыми к фундаменту (надежность, прочность, несущая способность), и геологическими особенностями грунта, в котором устанавливается фундамент.
Процесс непрерывного бетонирования со скоростью 10-15 см/ч при наземной установке фундамента позволяет получать высококачественный фундамент без микротрещин.
Предложенный способ установки фундамента позволяет быстро и качественно закладывать фундамент под конструкции, создающие большие нагрузки на фундамент, как при наземном сооружении фундамента, так и при установлении фундамента в водоемах при сооружении опор для мостов.
Формула изобретения
1. Способ установки фундамента под большие нагрузки, включающий установку опалубки и бетонирование, отличающийся тем, что предварительно роют котлован глубиной 1-5 м, по краю котлована устанавливают цилиндрические наружную и внутреннюю опалубки, наружная опалубка в нижней части имеет расширяющийся участок высотой от 5 см до 5 м и шириной выступа 1-10 см, заканчивающийся острым цилиндрическим металлическим или железобетонным наконечником, внутренняя опалубка в нижней части также имеет расширение высотой не более одного наружного диаметра фундамента, а в нижней части расширения расположен выступ, между опалубками формируют бетонное изделие, при этом по мере опускания изделия с опалубкой в грунт под собственной тяжестью из внутренней части опалубки на дне котлована вынимают грунт, после углубления изделия на заданную глубину во внутреннюю часть изделия заливают бетон на высоту расширения внутренней опалубки для получения замка, при бетонировании замка в верхней его части устанавливают закладные элементы для колонн, затем с наружной стороны изделия засыпают грунт и производят уплотнение грунта вокруг бетонного изделия вибропогружением.
2. Способ установки фундамента под большие нагрузки по п.1, отличающийся тем, что бетонное изделие формируют следующим образом: между опалубками устанавливают арматуру, которую собирают из секций, выполненных в виде металлического сварного шаблона, после установки арматуры непрерывно сверху в опалубку заливают бетон со скоростью 10-15 см/ч и по мере опускания изделия в грунт сверху между опалубками добавляют секции металлической арматуры.
3. Способ установки фундамента под большие нагрузки по п.1, отличающийся тем, что наружная опалубка снабжена наружным гидроизоляционным покрытием.
4. Способ установки фундамента под большие нагрузки, отличающийся тем, что при установке преимущественно опор для моста бетонное изделие в виде трубы опускают на дно водоема, наружная поверхность трубы в нижней части имеет расширяющийся участок высотой от 5 см до 5 м и шириной выступа 1-10 см, заканчивающийся острым цилиндрическим металлическим или железобетонным наконечником, внутренняя поверхность трубы в нижней части также имеет расширение высотой не более одного внутреннего диаметра трубы, при этом по мере опускания изделия в грунт под собственной тяжестью из внутренней части трубы на дне водоема вынимают грунт, после опускания изделия на заданную глубину изделие соединяют с винтовыми сваями, завинченными в грунт с наружной стороны изделия, во внутреннюю часть бетонного изделия заливают бетон на высоту расширения для получения замка, при бетонировании замка в верхней его части устанавливают закладные элементы для колонн.
5. Способ установки фундамента под большие нагрузки по п.4, отличающийся тем, что труба выполнена из бетонных колец.
6. Способ установки фундамента под большие нагрузки по п.4, отличающийся тем, что труба выполнена из секций.
7. Способ установки фундамента под большие нагрузки по п.4, отличающийся тем, что в нижней части расширения расположен выступ.
РИСУНКИ
|
|