|
|
(21), (22) Заявка: 2005139940/11, 21.12.2005
(24) Дата начала отсчета срока действия патента:
21.12.2005
(46) Опубликовано: 10.04.2007
(56) Список документов, цитированных в отчете о поиске:
SU 446581, 15.10.1974. RU 29733 U1, 27.05.2003. RU 2156845 C1, 27.09.2000. RU 2192515 C2, 10.11.2002.
Адрес для переписки:
123592, Москва, Строгинский б-р, 10, корп.3, кв.8, Д.Н.Устюгову
|
(72) Автор(ы):
Устюгов Дмитрий Николаевич (RU)
(73) Патентообладатель(и):
Устюгов Дмитрий Николаевич (RU)
|
(54) УСТАНОВКА ДЛЯ СТРОИТЕЛЬСТВА СНЕЖНО-УПЛОТНЕННЫХ ДОРОГ И ВЗЛЕТНО-ПОСАДОЧНЫХ ПОЛОС
(57) Реферат:
Изобретение относится к области дорожно-строительных машин. Установка содержит переднюю и заднюю опоры, установленные на лыжи, тепловой агрегат, содержащий тепловые модули, устройство для статического и динамического уплотнения. Лыжа передней опоры имеет ширину, не меньшую ширины рабочей зоны агрегата. Установка дополнительно содержит средства для регулирования давления передней опоры на снег, а также расположенное пере дней опорой и тепловым модулем или между тепловыми модулями устройство для проделывания в снегу борозд, скрепленное с задней частью лыжи или с задней частью тепловых модулей. Устройства для проделывания в снегу борозд установлены с возможностью регулирования параметров борозд и независимого перемещения преимущественно в вертикальном направлении. Технический результат – повышение несущей способности и долговечности дорожного покрытия. 9 з.п. ф-лы, 7 ил.
Предложение относится к области дорожно-строительных машин, точнее к установке для сооружения дорожных покрытий из уплотненного снега и может быть использовано при строительстве снеголедовых дорог на Севере.
Употребляемые ниже термины и выражения имеют следующее толкование:
Статическое уплотнение – уплотнение снега при воздействии постоянной, либо медленно, – за времена порядка единиц секунд, изменяющейся нагрузки, например, под давлением нагруженной лыжи или колеса. Уплотняющий рабочий орган при этом может перемещаться (скользить) по снежной поверхности.
Динамическое уплотнение – уплотнение снега под воздействием быстро изменяющихся или ударных нагрузок, например, посредством виброплит, виброкатков или лыж с вибраторами.
Несущая способность дорожного покрытия – способность покрытия противостоять воздействию нагрузок от движения колесного автотранспорта. Несущая способность тем выше, чем большей массы автомобили и большее время эксплуатации в состоянии выдержать дорожное покрытие до ремонта.
Выражения «вперед» и «назад», «в передней части» и «в задней части», «вдоль», «ширина» используются относительно направления рабочего движения установок.
В настоящее время к экологической безопасности любых строительных работ предъявляются очень жесткие требования. В частности, не допускается повреждение мохового, травянистого и кустарникового покрова тундры, неизбежное при предварительной расчистке трассы бульдозерами. Не допускается также загрязнение поверхности земли топливом или его несгоревшими остатками. Поэтому от современных способов и устройств для строительства снежноуплотненных дорог и взлетно-посадочных полос требуется, чтобы они были экологически безвредны и применимы по неподготовленным трассам. Большинство снежноуплотненных дорог и взлетно-посадочных полос на Севере расположены на открытой местности, их постоянно заметает снегом, и они нуждаются в почти ежедневной повторной обработке. Из-за этого промышленный интерес представляют только установки, имеющие высокую производительность.
Свойства сухого снега на морозе таковы, что никаким механическим уплотнением не удается получить покрытие с плотностью выше 0,55 г/см3, тогда как строительными нормами требуется, чтобы плотность снега была не менее 0,6 г/см3 (Временные строительные нормы: Проектирование, строительство и содержание зимних автомобильных дорог в условиях Сибири и Северо-Востока СССР ВСН 137-89. – Госстрой России, ГУП ЦПП, 1999, стр.114). Поэтому все эффективные установки для строительства снежноуплотненных дорог основаны на увлажнении снежной массы прогревом и последующем ее уплотнении.
Известна прицепная снегоуплотняющая машина для строительства зимних дорог, включающая смонтированные на общей раме переднюю и заднюю скользящие опоры, фрезерный рыхлитель, вибратор, тепловое оборудование и двигатель для привода рыхлителя (а.с. СССР №156177, кл. Е 01 С 4/00 от 27.10.61). Недостатками известного устройства являются: техническая сложность оборудования, используемого для его реализации, неэкономичность, низкая надежность при прокладке дорог по неподготовленным трассам, непригодность для работы по глубокому снегу, низкая несущая способность получаемого покрытия. Для привода фрезы во вращение требуется мощный двигатель и система передачи его мощности к фрезе. Из-за того, что зона тепловой обработки открыта с боков, значительная часть тепла уходит в стороны и бесполезно теряется, что вызывает повышенный расход топлива. При прокладке дорог по неподготовленной трассе зубья фрезы быстро забиваются кустарником, вырывают и наматывают на себя мох, повреждаются камнями. Тепловая обработка разрыхленного снега с поверхности оказывается неэффективной из-за того, что летящие от фрезы снежные комья оказываются в зоне действия теплового оборудования на очень короткое время. За это время они лишь слегка оплавляются с поверхности, оставаясь рыхлыми внутри. После статического уплотнения лыжей и динамического – вибратором, комья смерзаются по поверхности, но рыхлый непрогретый снег внутри них уплотнению свыше 0,55 г/см3 не поддается. Поэтому несущая способность дороги, построенной этой машиной, оказывается недостаточной. Кроме того, при толщине снежного покрова более 20 см тепло не проникает вглубь летящего от фрезы потока рыхлого снега, и он оказывается увлажненным только с поверхности. Уплотненное и замерзшее покрытие оказывается лежащим на слое рыхлого снега и быстро разрушается при эксплуатации дороги.
Известно также устройство для уплотнения снега для прокладки зимних дорог, включающее трактор-тягач, установленный на лыжах агрегат для рыхления и подогрева снега, снабженный регулируемой по высоте фрезой и тепловой камерой, и виброплиту для уплотнения прогретого увлажненного снега. Лыжи установлены вдоль агрегата на всю его длину и служат стенками тепловой камеры. Устройство снабжено установленным на виброплите балластным ящиком для регулирования статического давления виброплиты на снег (а.с. СССР №202984, кл. Е 01 Н от 03.05.62). Применение тепловой камеры повышает экономичность устройства, но остальные недостатки у него те же.
Известна машина для образования снеголедяного покрытия дороги, аэродрома и тому подобных сооружений, включающая прицепную к тягачу раму с полозьями, тепловую камеру и фрезу. Для снижения потерь тепла, фреза установлена внутри тепловой камеры, а перед нею установлены погруженные в снег на всю его толщину сопла, через которые поток горячих газов вдувается в тепловую камеру навстречу фрезе. Сопла выполнены в виде полых стоек, отрытых в сторону фрезы, и имеют значительную ширину (а.с. СССР №277818 по кл. Е 01 Н 5/10 от 13.05.69). Как сказано в описании изобретения: «…мелкие частицы снега тают, а более крупные покрываются ледяной коркой». Поскольку внутри более крупных частиц плотность снега не увеличивается, дороги, построенные таким способом, имеют невысокую несущую способность и недолговечны. Установки технически сложны, так как содержат фрезу и мощный двигатель с трансмиссией для ее привода. Из-за наличия фрезы и вертикальных полых стоек-сопел, погруженных в снег на всю его толщину, способ неприменим при прокладке дорог по неподготовленным трассам. Широкие стойки при движении в снегу оказывают большое сопротивление, повышая затраты на тягу. Серьезным недостатком этой установки является то, что она не допускает даже небольшой подачи назад, так как сопла при этом сразу забиваются снегом. Необходимость же в таком маневре встречается часто, особенно в глубоком снегу.
Известна термовибрационная уплотняющая машина, содержащая тягач, соединенный с рамой. Рама через шарнирно-сцепное устройство опирается передним концом на тягач, а задним – на опору в виде скользящего виброуплотнителя с обогреваемой полостью. На раме размещено тепловое оборудование в виде вентилятора, сообщенного посредством камеры сгорания с размещенными в тепловой камере соплами, а также подвешена фреза и установлен двигатель для привода фрезы. Сопла шарнирно соединены с тепловой камерой, выполнены подвижными так, что при работе они скользят по поверхности снега и снабжены пружинами для снижения давления сопел на снег. Тепловая камера для уменьшения утечек горячих газов имеет заслонки на торцевых стенках (а.с. СССР №734334 кл. Е 01 Н 4/00 от 02.06.78).
Из-за наличия фрезы эта машина непригодна для прокладки дорог и устройства взлетно-посадочных полос на неподготовленной местности. Горелки, инжектирующие факела пламени внутрь тепловой камеры, работают очень ненадежно, забиваясь комьями снега, разбрасываемыми фрезой. Эта установка также не допускает даже небольшой подачи назад, так как гибко подвешенные и свободно лежащие на снегу сопла сразу же утыкаются в снег и выворачиваются навстречу гусеницам тягача.
Те же недостатки присущи другой известной машине для устройства снеголедяных покрытий, содержащей прицепную раму с передней и задней скользящими опорами, на которой установлены или подвешены фреза для рыхления снега, двигатель для ее привода, камеру сгорания, соединенную с погруженными в снег соплами, и ножи-рыхлители, установленные перед соплами. Выходные отверстия сопел направлены на фрезу, установленную в тепловой камере. Задняя скользящая опора снабжена виброуплотнителем (а.с. СССР №446581, кл. Е 01 Н 4/00 от 03.10.72).
Известен также прицепной агрегат для уплотнения снега, содержащий раму на передней и задней скользящих опорах, на которой подвешен тепловой агрегат, выполненный в виде погруженных в снег упругоподвешенных полых термоножей-рыхлителей, соединенных через коллектор-распределитель с тепловой энергетической установкой и окруженных сверху и с боков теплозащитным кожухом (а.с. СССР №1622497 кл. Е 04 Н 4/00 от 22.02.89). При движении установки термоножи взрезают и рыхлят снежное покрытие, одновременно подавая в его толпу горячие газы от тепловой установки. В случае наезда на препятствие, шарнирно подвешенные подпружиненные ножи откидываются кверху. Однако известный агрегат при работе на неподготовленных трассах не обеспечивает высокой несущей способности получаемого покрытия.
При повороте термоножа из-за наезда на препятствие струя продуктов сгорания направляется кверху, соответствующий участок дороги оказывается непрогретым до нужной степени и оказывается менее плотным. В ходе эксплуатации этот, внешне нормальный, участок быстро превращается в выбоину. Такие дефектные участки особенно недопустимы на взлетно-посадочных полосах, где неожиданный провал покрытия от удара колесами может привести к аварии. На неподготовленных трассах камни и кусты встречаются постоянно, и дороги, построенные с использованием описанного устройства, оказываются состоящими из одних выбоин. Для того чтобы термоножи могли пропускать сквозь себя раскаленные газы, они выполнены широкими, и при движении в глубоком снегу, особенно там, где он уплотнен гусеницами тягача, оказывают большое сопротивление, повышая затраты на тягу. Известный агрегат не допускает даже малейшего смещения назад.
Кроме того, всем устройствам, использующим прогрев снежной массы раскаленной струей продуктов горения топлива, вдуваемых в проделываемые в снегу щели, присущи еще три общих недостатка.
Первый состоит в сильном отрицательном воздействии на растительность. Это недопустимо в условиях вечной мерзлоты, где в основном прокладываются снежноуплотненные дороги. При прямой инжекции струи пламени или раскаленных газов вглубь проделанной в снегу и еще не осыпавшейся щели, снеговой покров проплавляется до поверхности земли, мох, трава и кустарники выгорают. Летом лишенная моховой теплозащиты поверхность почвы оттаивает, опускается, затапливается водой. Так как на воде мох вырасти вновь не может, то на восстановление поврежденных заболоченных участков требуются столетия.
Второй состоит в том, что при соприкосновении пламени со снегом, а пламя – это горящие пары топлива, пары конденсируются, несгоревшее топливо остается в снегу и весной отравляет растительный покров.
Третий недостаток состоит в низкой экономичности известных устройств, вызванной чрезмерно высокой температурой воздействующих на снег газов. Под воздействием пламени или раскаленных продуктов сгорания топлива снег мгновенно испаряется, покрываясь тонкой пленкой водяного пара, являющегося хорошим теплоизолятором. Теплоизолирующее действие пара можно оценить, наблюдая как катаются, не испаряясь, капли воды на раскаленной плите или утюге. Вследствие этого эффекта основная часть тепловой энергии затрачивается не на увлажнение снега, а на парообразование и нагрев пара. Уже при 100°С давление пара равно одной атмосфере и он покидает полость тепловой камеры через неизбежные зазоры с такой же скоростью, с какой из нее вытекала бы вода с толщиной слоя 10 метров. Водяной пар очень энергоемок и, уходя из тепловой камеры, уносит большую часть тепловой энергии топлива. Следствием низкой экономичности является низкая производительность, то есть низкая рабочая скорость известных устройств.
Наиболее близкой к предложенной по технической сущности и достигаемому результату является прицепная установка для сооружения снежноуплотненных покрытий, содержащая переднюю и заднюю скользящие опоры и расположенный между ними тепловой агрегат, который, в частности, может быть выполнен в виде отдельных, расположенных друг за другом, тепловых модулей, средства статического и динамического уплотнения, расположенные за тепловым агрегатом. Передняя скользящая опора известной установки состоит из двух раздельных лыж, а лыжа задней скользящей опоры имеет ширину, равную ширине теплового агрегата, то есть прогреваемой зоны дороги. Установка имеет средства для регулирования нагрузки на заднюю скользящую опору. Тепловые модули представляют собой открытые снизу коробки с установленными на них источниками тепла, обычно жидкотопливными горелками. Пламя горелок устанавливается так, чтобы ущерб природе был минимален, то есть, чтобы не выжигать мох и не допускать соприкосновения несгоревших паров топлива со снежной поверхностью, например, вверх или горизонтально. В частном случае, тепловой агрегат может состоять из одного теплового модуля. При работе устройство скользит по поверхности снега и не цепляется за кусты и камни (патент РФ №2268334, кл. Е 01 Н 4/00).
Недостаток известного устройства состоит в низкой несущей способности дорог, построенных с его использованием, поскольку он не обеспечивает большой глубины увлажнения и уплотнения снега. Если снег в естественном состоянии уплотнен ветром, то значительная часть тепла отражается от выглаженной поверхности и вглубь не проникает. Если же снег рыхлый, то глубина прогрева увеличивается, но незначительно из-за его малой теплопроводности. Более того, поскольку плотность рыхлого снега невелика, то после его увлажнения и уплотнения итоговая толщина покрытия будет даже меньшей, чем в случае плотного снега. Из-за небольшой глубины теплового воздействия плотная корка дорожного покрытия, образующаяся после смерзания снега, имеет толщину всего несколько сантиметров и обычно оказывается лежащей на рыхлом сухом снегу. Такое покрытие имеет низкую несущую способность, легко продавливается и быстро разрушается при эксплуатации.
Другой недостаток известного устройства состоит в том, что оно не обеспечивает постоянных, стабильных, не зависящих от свойств снега в естественном состоянии, характеристик обработанного покрытия, в первую очередь, толщины и твердости. Это приводит к неравномерному износу участков дороги в процессе эксплуатации и затрудняет контроль за состоянием дороги.
Указанная величина статической нагрузки при уплотнении увлажненной снежной массы никак не связана с конечным результатом – плотностью получаемого покрытия, поскольку последняя зависит не от абсолютной величины нагрузки, а от удельного давления.
Третий недостаток известного устройства состоит в низкой экономичности. Диапазон возможных значений плотности снега в естественном состоянии достигает одного порядка, причем участки с большой и малой плотностью снега обычно быстро чередуются по ходу одной и той же трассы. На открытых местах выглаженный ветром снег плотнее, в низинах намного рыхлее, но толще. Разными бывают также размеры и форма кристаллов снега. Поскольку разным исходным характеристикам снега соответствуют различные оптимальные тепловые режимы, а задача быстрой подстройки режима теплового воздействия пока не решена, работа установки оказывается неэффективной по расходу топлива для горелок. Еще одна причина низкой экономичности состоит в вышеописанном эффекте паровой подушки, возникающей из-за высокой удельной тепловой нагрузке на нагреваемый с поверхности снег.
Изменить тепловую мощность горелок, настраиваясь на оптимальный режим обработки, несложно. Но из-за того, что агрегат для прогрева снега обладает значительной тепловой инерцией, результат от изменения режима проявляется не сразу. За время установления нового теплового режима агрегата, пока станет ясно, является ли вновь заданный режим оптимальным, машина переместится на новое место, где, возможно, свойства снега будут другими. Подобрать тепловой режим на месте нельзя, так как снег будет немедленно проплавлен до земли, а подбирать его в движении означает рисковать тем, что определенные участки дороги окажутся бракованными из-за недостаточного или чрезмерного прогрева снежной массы.
Технические задачи, которые решаются предложенным устройством, состоят в повышении несущей способности и долговечности дорожного покрытия за счет увеличения его толщины и плотности, увеличении производительности установок, повышении экономичности нагревательного устройства, обеспечении независимости режимов и результатов тепловой обработки от исходных свойств снега в естественном состоянии.
При осуществлении предложенной установки для строительства снежноуплотненных дорог и взлетно-посадочных полос, содержащей переднюю и заднюю опоры, установленные на лыжи, тепловой агрегат, содержащий, по меньшей мере, один тепловой модуль, а также устройство для статического и динамического уплотнения увлажненного снега, указанные недостатки устраняются тем, что лыжа передней опоры имеет ширину, не меньшую ширины рабочей зоны теплового агрегата, установка дополнительно содержит средства для регулирования удельного давления передней опоры на снег, а также расположенное между передней опорой и, по меньшей мере, одним из тепловых модулей, по меньшей мере, одно устройство для проделывания в снегу борозд.
Кроме того, в установку дополнительно введено, по меньшей мере, одно устройство для уплотнения частично увлажненного снега, установленное перед устройством для проделывания борозд.
Кроме того, устройство для проделывания в снегу борозд установлено, по меньшей мере, перед вторым тепловым модулем.
Кроме того, устройства для проделывания в снегу борозд скреплены с задней частью лыжи передней опоры, либо с задней частью тепловых модулей.
Кроме того, установка снабжена средствами для изменения нагрузки на переднюю скользящую опору.
Кроме того, установка снабжена средствами для изменения площади передней скользящей опоры, например, откидным задником лыжи опоры.
Кроме того, устройство для проделывания в снегу борозд выполнено с возможностью регулирования параметров борозд.
Кроме того, устройство для проделывания в снегу борозд выполнено с возможностью регулирования глубины борозд от 0,01 до 0,2 метра.
Кроме того, устройство для проделывания в снегу борозд выполнено в виде набора рабочих органов, установленных в ряд поперек направления перемещения установки.
Кроме того, рабочие органы устройства для проделывания борозд выполнены в виде дисков, установленных с возможностью вращения.
Кроме того, каждый из рабочих органов устройства для проделывания в снегу борозд установлен с возможностью независимого перемещения преимущественно в вертикальном направлении.
Кроме того, рабочие органы устройства для проделывания в снегу борозд расположены в ряд с переменным шагом.
Кроме того, устройство для проделывания в снегу борозд снабжено приспособлением для фиксации его в транспортном положении.
Технические результаты от применения предложенной установки состоят в следующем.
Благодаря выполнению лыжи передней скользящей опоры шириной, не меньшей ширины рабочей зоны теплового агрегата, достигается однородность свойств покрытия по ширине дороги. Если ширина лыжи превосходит ширину рабочей зоны теплового агрегата, то на дороге образуются обочины с достаточной для того, чтобы выдержать вес пешехода прочностью. При этом на образование обочин не затрачивается тепловая энергия.
Оснащение установки средствами для регулирования удельного давления передней опоры на снег повышает несущую способность покрытия поскольку позволяет вести тепловую обработку всегда в оптимальном режиме, обеспечивающем наибольшую глубину увлажнения снежной массы. Оптимальность режима обеспечивается тем, что на тепловую обработку всегда поступает снег, уплотненный до заданного, определенного ранее опытным путем, значения плотности, на которое настроено тепловое оборудование. При работе устанавливается такое удельное давление опоры на снег, которое уплотняет снег до всегда постоянного, не зависящего от свойств снега в естественном состоянии, значения плотности. Свойства снега могут быстро изменяться на протяжении трассы, и подстройка величины удельного давления под свойства снега не составляет трудностей, тогда как быстрое изменение режима тепловой обработки трудноисполнимо из-за тепловой инерции модулей.
Благодаря введению в установку устройства для проделывания борозд в сухом уплотненном снегу, повышается несущая способность дороги за счет увеличения ее плотности на всю толщину. Кроме того, повышается экономичность процесса. Это обеспечено тем, что борозды способствуют проникновению тепла вглубь снежной толщи, в несколько раз увеличивают поверхность снега, взаимодействующего с тепловым потоком, что ускоряет прогрев, уменьшает теплопотери и устраняет эффект паровой подушки. Это позволяет повысить скорость движения установки, то есть повышает производительность строительных работ.
Благодаря тому, что устройство для проделывания борозд установлено вне тепловых модулей, перед ними, улучшается качество и однородность дорожного покрытия, за счет стабилизации режима тепловой обработки, так как горелки над спокойной, неподвижной поверхностью снега работают устойчиво.
Дополнительное устройство для уплотнения частично увлажненного снега, выравнивая обрабатываемую поверхность, повышает однородность и, тем самым, качество покрытия по ширине.
Размещение устройства для проделывания борозд не перед первым, а перед, по меньшей мере, вторым тепловым модулем уменьшает требуемое тяговое усилие.
Благодаря скреплению устройств для проделывания в снегу борозд с задней частью лыжи передней опоры (первое по ходу установки устройство, если оно предусмотрено), либо с задней стенкой тепловых модулей, образуемые борозды имеют заданную необходимую глубину независимо от неровностей трассы, что обеспечивает хорошую однородность и, следовательно, высокую несущую способность покрытия.
Оснащение установки средствами для регулирования нагрузки на переднюю опору позволяет плавно изменять ее удельное давление на снег в двух-трехкратном диапазоне.
Оснащение установки средствами для изменения площади передней скользящей опоры является наиболее простым средством для ступенчатого изменения ее удельного давления на снег на 20…100% и повышает качество дорожного покрытия, так как при такой регулировке не изменяется удельное давление и нагрузка на заднюю скользящую опору.
Использование передней скользящей опоры для уплотнения сухого снега упрощает изготовление установки. Кроме того, это делает возможным модернизацию уже действующих установок.
Выполнение устройства для проделывания в снегу борозд с возможностью регулирования параметров борозд повышает качество и несущую способность возводимого покрытия за счет того, что такое решение позволяет в зависимости от свойств снега оперативно регулировать глубину и степень прогрева снежной массы, не прибегая к изменению теплового режима агрегата или модулей.
Выполнение устройства для проделывания в снегу борозд с возможностью регулирования глубины борозд от 0,01 до 0,2 метра повышает качество покрытия за счет создания возможности оперативно управлять глубиной и степенью прогрева снежной массы во всем диапазоне рабочих возможностей установки при приемлемых затратах энергии на образование борозд. Кроме того, установлением глубины борозд меньше толщины уплотненного снега устраняется опасность повреждения растительности средствами проделки борозд.
Выполнение устройства для проделывания в снегу борозд в виде набора рабочих органов, установленных в ряд поперек направления перемещения установки, повышает экономичность установки по топливу, позволяя устанавливать оптимальный шаг борозд в зависимости от их глубины и толщины снежного покрова, сокращает продольный габарит установки.
Выполнение рабочих органов устройства для проделывания в снегу борозд в виде дисков, установленных с возможностью вращения, обеспечивает надежную работу установки в каменистой и заросшей кустарником местности, уменьшает наносимые кустарнику повреждения.
Установка каждого из рабочих органов устройства для проделывания в снегу борозд с возможностью независимого перемещения преимущественно в вертикальном направлении повышает надежность работы в каменистой местности при сохранении высокой однородности возводимого покрытия, поскольку борозда прерывается только там, где возникло препятствие, а не по всей ширине дороги.
Расположение рабочих органов устройства для проделывания в снегу борозд в ряд с переменным шагом позволяет, регулируя глубину увлажнения снега по ширине обрабатываемой полосы, получать желаемый поперечный профиль дороги, улучшая тем самым условия и безопасность ее эксплуатации.
Снабжение устройства для проделывания в снегу борозд приспособлением для фиксации его в транспортном положении позволяет предотвратить повреждение устройства при перегонах установки по местности с недостаточной толщиной снежного покрова и уменьшает расходы на тягу.
Существо предложения поясняется чертежами.
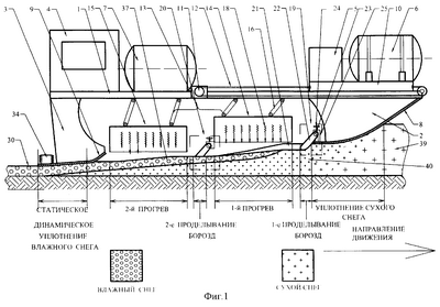
На фиг.1 представлена схема варианта установки с передней скользящей опорой, используемой для уплотнения сухого снега, двумя устройствами для проделывания борозд, установленными перед первым и вторым тепловыми модулями, и устройством для регулирования удельного давления лыжи передней опоры на снег путем изменения нагрузки.
На фиг.2 и фиг.3 представлена в двух проекциях схема одного из возможных исполнений устройства для проделывания борозд с рабочими органами в виде дисков.
На фиг.4 представлена схема установки с промежуточным между прогревами уплотнением снега и проделыванием борозд после первого прогрева.
На фиг.5 представлен вид сверху на поверхность строящейся дороги, соответствующий расположению установки фиг.1.
На фиг.6 представлена диаграмма увеличения плотности снегового покрытия вдоль установки.
На фиг.7 представлена схема варианта установки с регулированием удельного давления лыжи передней опоры на снег путем изменения нагрузки и площади лыжи.
Предложенная установка (фиг.1) состоит из платформы 1, установленной на передней и задней скользящих опорах 2 и 3 соответственно. Для повышения проходимости платформа 1 может быть разделена на части, соединенные шарнирами. На платформе устанавливается оборудование, необходимое для работы установки, например кабина оператора 4, электростанция 5, топливные баки 6 и 7. Нижняя часть опор 2 и 3 выполнена в виде сплошных лыж 8 и 9. Функции дополнительного устройства для уплотнения сухого снега выполняет лыжа 8, ширина которой, по меньшей мере, равна ширине полотна строящейся дороги. Ширина лыжи 9 задней скользящей опоры 3, используемой для уплотнения прогретого увлажненного снега, равна ширине полотна строящейся дороги, так как при большей ширине лыжа повисает на приподнятых непрогретых краях дороги.
Для изменения нагрузки на переднюю опору 2 с целью регулирования удельного давления лыжи на снег топливный бак 6 и электростанция 5 установлены на подвижной площадке 10, которая установлена с возможностью перемещения вдоль платформы 1 посредством лебедки 11 и троса 12. Возможно изменение нагрузки на переднюю опору посредством перераспределения топлива между баками 6 и 7, для чего установка может быть дополнительно снабжена насосом.
Между опорами 2 и 3 расположен тепловой агрегат 13. Как один из возможных вариантов на фиг.1 показан тепловой агрегат, выполненный из двух тепловых модулей 14 и 15, закрепленных один за другим на платформе 1 посредством шарнирных тяг 16 и установленных каждый на своих лыжах 17 (фиг.5). Тепловые модули представляют собой коробки, внутри которых тем или иным образом, обычно с помощью жидкотопливных горелок (на чертежах не показаны), создается высокая температура. Коробки модулей открыты снизу для того, чтобы тепловые потоки 18 из них могли воздействовать на снежную поверхность строящейся дороги. Разделение теплового агрегата на модули позволяет сохранять постоянное расстояние между модулем и поверхностью дороги независимо от неровностей трассы. Стоящие на своих лыжах модули следуют неровностям дороги, а тяговое усилие передается к ним через шарнирные тяги.
Между задним по ходу установки краем лыжи 8 и первым тепловым модулем 14, а также между первым и вторым тепловым модулями установлены устройства 19 и 20 для проделывания в снегу борозд 21. Такие же устройства могут быть установлены перед последующими, если они есть, тепловыми модулями. Устройство 19 может быть закреплено на задней кромке лыжи 8, последующие – на платформе 1 или задних стенках тепловых модулей. Это позволяет более точно выдерживать глубину борозд в оседающем под воздействием тепла снегу.
Рабочие органы 22 устройств 19 и 20 могут быть выполнены, как это показано в виде примера на фигурах 1, 4 и 5, в виде ножей или зубьев, установленных в ряд поперек направления перемещения установки. Рабочие органы (ножи) 22 не имеют никакого привода и проделывают борозды методом боронования только при движении установки за счет усилия тягача. Для того чтобы образуемые при движении борозды были шире, нижняя кромка ножей установлена под небольшим углом к направлению движения (фиг.5). Во избежание повреждения камнями каждый из рабочих органов или устройство для рыхления в целом установлены на эластичной подвеске с возможностью перемещения вверх преимущественно в вертикальном направлении под воздействием усилия, превышающего усилие, необходимое для проделывания борозд. С этой целью согласно варианту, изображенному на фиг.1, рабочие органы 22 закреплены верхними концами на оси 23 и могут свободно и независимо друг от друга поворачиваться на ней в случае, если, например, на дороге попадется камень или бревно. Для создания рабочего усилия и возврата рабочих органов 22 в рабочее положение могут использоваться пружины. Округлая форма нижнего конца рабочих органов облегчает их прохождение по кустарнику. Для повышения однородности дорожного покрытия при стадийном прогреве рабочие органы 22 устройств 19 и 20 устанавливают со смещением на половину шага при двух стадиях, одну треть шага при трех и т.д. (фиг.5).
Для регулировки глубины борозд устройства 19 и 20 снабжены приспособлением для перемещения полного ряда рабочих органов в вертикальном направлении, посредством, например, винтов 24, в раме 25. Более подробно указанное приспособление показано на фиг.2 и 3.
Приспособление обеспечивает возможность перемещения рабочих органов по вертикали в таком диапазоне, чтобы нижние концы рабочих органов 22, если они установлены сразу за передней скользящей опорой 2, могли выступать за опорную поверхности лыжи 8 на 0…..0,3 м. Рабочая глубина борозд должна находиться в пределах 0,01…0,2 м, но из-за осыпания стенок борозд рабочие органы должны погружаться в снег несколько глубже. Для предотвращения образования крупных комьев снега рабочие органы могут быть расположены в два и более рядов в шахматном порядке. Тогда последующие ряды будут разбивать комья, образовавшиеся после прохождения первого ряда. Для более эффективного разбивания комьев передняя кромка рабочих органов должна предпочтительно иметь в плане угол, близкий к прямому.
При прокладке дорог по кустарнику лучшие результаты получаются, если рабочие органы 22 выполнены в виде установленных наклонно и под углом к направлению движения дисков 26, аналогично дисковым боронам или лущильникам, применяемым в сельском хозяйстве (фиг.2 и 3). Для создания рабочего усилия и возврата дисков 26 в рабочее положение могут использоваться пружины 27. Устройство с дисками требует меньшего тягового усилия для образования борозд и, кроме того, оно позволяет подавать всю установку назад, не поднимая его, что составляет еще одно его преимущество перед вариантом с ножами (зубьями).
Согласно фиг.2 приспособление для регулирования глубины борозд выполнено в виде винтов 24, перемещающих в вертикальном направлении планку 28, в которую упираются свободные концы качающихся рычагов 29. Нижние концы рычагов 29 могут использоваться для закрепления дисков 26, но могут быть выполнены и в виде ножей для проделывания борозд.
Во избежание повреждения устройств 19 и 20 при перегонах установки с одного участка на другой установка содержит приспособления для перевода устройств 19 и 20 в транспортное положение. Конструкция этих приспособлений зависит от конкретного исполнения устройств 19 и 20. Например, если рабочие органы 22 вместе с осью 23 установлены на задней стенке теплового модуля (фиг.1), то их можно поднимать вверх к платформе 1 вместе с модулем (для устройства 20) или откидывать на шарнирах на лыжу 8 (для устройства 19).
Из-за ухода тепла через щели между нижней кромкой теплового модуля и дорогой, края дороги обычно прогреваются хуже, и получаемое покрытие 30 имеет меньшую плотность как раз там, где она должна быть наибольшей, то есть по будущим колеям. Поэтому лучше, когда ближе к краям дороги расстояние между бороздами устанавливается меньше, чем вблизи осевой линии дороги. Для этого рабочие органы 22 устанавливают на оси 23 с переменным шагом, как это показано на плане фиг.5.
После первого теплового модуля 14, перед вторым 15 и перед последующими, если они есть, сразу позади предшествующего теплового модуля могут быть установлены устройства 31 для дополнительного уплотнения увлажненного снега (фиг.4). Они выполнены, например, в виде короткой лыжи 32, закрепленной на раздвижной стойке 33 с возможностью вертикального перемещения и фиксации после того, как при отладке определена нужная высота лыжи над дорогой. Ширина лыжи 32 должна быть равна ширине прогреваемой части дороги. Назначение устройства 31 не только в том, чтобы уплотнять снег, выжимая воду в нижние слои покрытия, но и в том, чтобы выравнивать поверхность дороги, подготавливая ее к последующему проделыванию борозд. Поэтому устройство 31 устанавливается перед устройством 20.
Борозды в частично увлажненном прогретом снегу лучше сохраняют форму и меньше осыпаются, чем в сухом. Поэтому при недостатке тяги устройство 19 для проделывания борозд в сухом снегу можно не устанавливать, как это показано на фиг.4. Если тяги достаточно, то лучше проделывать борозды и в сухом и в увлажненном снегу.
Для повышения плотности снега и снежного покрытия установка может быть дополнительно оснащена средствами динамического уплотнения, например вибраторами 34, установленным на лыже 9. Вибраторы могут быть установлены и на лыжах 8 и 32. Во избежание передачи вибраций, лыжи могу быть отделены от остальной части установки упругими элементами.
Как один из вариантов возможного исполнения на фиг.7 представлена схема установки, в которой удельное давление лыжи 8 передней опоры на снег регулируется изменением ее площади. Для этого лыжа 8 разделена на соединенные балансирами 35 переднюю 36 и заднюю 37 части. Изменяя с помощью винтов 38 относительное расположение частей лыжи можно изменять площадь ее взаимодействия со снегом, то есть удельное давление.
Работает предложенная установка следующим образом. Для буксировки установки используется гусеничный тягач. Сухой целинный снег 39 (фиг.1) уплотняется до необходимого значения плотности лыжей 8. Динамическое уплотнение с помощью вибраторов желательно, но не обязательно. Лыжа 8 имеет ширину Т не менее ширины строящегося снежноуплотненного покрытия t, равной ширине зоны тепловой обработки. Для того чтобы можно было обходить остановленное на дороге транспортное средство, лучше, если ширина уплотненного сухого снега 40, равная T, превышает требуемую ширину t полосы 30, предназначенной для движения и устроенной из увлажненного снега. Уплотненный сухой снег впоследствии смерзается и хорошо выдерживает вес пешехода. При этом на образование обочин не затрачивается тепловая энергия.
Давление лыжи 8 на снег должно находиться в пределах 5-100 кПа. Нижний предел определяется технологическим потребностями, а верхний – приемлемым усилием тяги (чем больше давление, тем больше усилие) при разумных габаритах лыжи 8 и установки в целом (чем меньше давление, тем больше площадь лыжи). Давление устанавливается таким, чтобы снег после уплотнения приобретал плотность, обеспечивающую наибольшую глубину тепловой обработки при оптимальном режиме работы теплового оборудования. Рабочее значение плотности и обеспечивающего ее давления задаются технологом исходя из опыта работы или по результатам пробных заходов. Обычно оптимальная плотность составляет 0,2…0,45 г/см3. Необходимая величина удельного давления зависит от температуры, толщины снежного покрова и свойств снега. Так, опыт строительства снежноуплотненных дорог показывает, что ветровой снег, напоминающий по форме кристаллов сахарный песок, при температуре ниже – 20°С требует для уплотнения до заданного значения в 2…5 раз большего давления, чем снег в виде снежинок с длинными лучами при температуре – 10°С.
Для того чтобы плотность сухой снежной массы была одинаковой по всей ширине дороги, давление уплотнения не должно быть меньше удельного давления на снег гусениц тягача. Фактически в обработку поступает сухой снег, неоднородный в поперечном направлении, так как на нем всегда есть колеи от тягача. При тепловой обработке глубины прогрева в колеях и нетронутом снегу, как это происходит в прототипе, оказывается существенно отличающимися. Отличия возникают не только из-за разной плотности снега, но и из-за того, что в колеях снежная поверхность оказывается заметно дальше от источника тепла. Это снижает качество покрытия. Первичное уплотнение, выравнивая плотность и толщину снежной массы в поперечном направлении, устраняет этот недостаток.
Коэффициенты трения по металлу свежевыпавшего и принесенного ветром снега, а также при разных температурах существенно отличаются. На более скользком снегу при том же тяговом усилии можно увеличить удельное давление на снег, что всегда желательно, так как увеличивает к.п.д. прогрева.
Заданная технологом плотность снежной массы обеспечивается регулировкой в зависимости от свойств снега в естественном состоянии, удельного давления лыжи 8 на снег посредством изменения нагрузки на переднюю опору 2, либо площади опорной поверхности лыжи 8, как это было описано выше. Кроме того, нагрузку на переднюю опору можно также регулировать, изменяя высоту присоединения к установке дышла, передающего тяговое усилие от тягача. В результате предварительного, или первичного, уплотнения в дальнейшую обработку поступает снежная масса, имеющая постоянное значение плотности, независимое от плотности снега в естественном состоянии. Это позволяет всегда вести тепловую обработку в оптимальном для этой плотности режиме, то есть экономить топливо.
Далее в уплотненном сухом снегу 40 с помощью устройства 19 проделываются борозды 21. Если тепловая обработка производится в одну стадию, то борозды проделывают перед этой стадией. Покрытая бороздами снежная масса увлажняется потоками тепла 18 от теплового агрегата 13. В прогретой, осевшей и сглаженной с поверхности после обработки под первым тепловым модулем 14 снежной массе борозды проделываются вторично с помощью устройства 20. После этого она поступает в последующую тепловую обработку под модуль 15.
Цель проделывания борозд состоит не в перемешивании снега, а в увеличении тепловоспринимающей поверхности снежной массы, обеспечении стока образующейся воды, которая экранирует снег от теплового воздействия, то есть увеличении глубины тепловой обработки.
Благодаря бороздам, поверхность снега, непосредственно воспринимающая тепловой поток намного больше, чем у снега в естественном состоянии или гладкого уплотненного снега. Удельная мощность теплового потока на единицу площади снежной поверхности уменьшается примерно во столько же раз, во сколько увеличивается поверхность снега с бороздами по сравнению с выглаженным снегом. Это снижает или устраняет эффект паровой подушки, повышая тем самым к.п.д. установки по топливу.
Снег на стенках борозд глубже прогревается за счет создания лучших условий для отвода воды. На горизонтальной снежной поверхности впитывание воды, возникающей под воздействием теплового потока, замедлено высоким поверхностным натяжением и переохлаждением в приповерхностных слоях. Тонкая водяная пленка плохо проводит тепло к нижележащему снегу и хорошо отражает его. При наличии борозд вода стекает по их стенкам и не экранирует поверхность снега от теплового воздействия. При этом она значительно дольше находится под воздействием теплового потока, запасает больше тепла и уносит его в глубь снежного покрытия, увлажняя его тем самым на большую глубину.
Глубина борозд устанавливается в зависимости от условий местности. При первом проходе по снежной целине глубина борозд устанавливается на 4…12 см меньше толщины предварительно уплотненного снега, чтобы не повреждать моховой покров, при последующих проходах по уже построенным, заметенным снегом дорогам – равной или на 4…6 см меньшей толщины нанесенного или вновь выпавшего снега. Увеличение глубины борозд свыше 20 см нецелесообразно, так как глубина прогрева все равно уже не увеличивается, а сопротивление тяге возрастает. Борозды глубиной даже в 1 см дают существенный технологический эффект, выражающийся в повышении толщины увлажненной снежной массы на 10…15%.
Ширина борозд может составлять от 0,5 до 5 их глубины, в зависимости от склонности уплотненного снега к осыпанию. Оптимально, когда расстояние между бороздами составляет 0,3…1,0 от их глубины. Однако из-за технических сложностей изменения расстояния между рабочими органами в практических установках целесообразно устанавливать его в пределах 15…25 см, то есть близким к максимальной глубине.
Снег меньше осыпается, если борозды имеют трапецеидальную форму с наклонными стенками, составляющими с вертикалью угол 10…30°. Оптимизация глубины прогрева изменением ширины или глубины борозд технически проще и может осуществляться в более широком диапазоне, чем если бы она проводилась изменением удельного давления на снег при предварительном уплотнении. Поэтому давление передней лыжи на сухой снег устанавливается исходя из погодных условий в начале смены, а оперативная подстройка условий прогрева, обеспечивающая получение покрытия со стабильными характеристиками, производится изменением параметров рыхления по мере движения в зависимости от свойств снега на участках дороги.
При стадийной тепловой обработке перед каждой следующей стадией целесообразно перед проделыванием борозд предварительно уплотнять снег (фиг.4). Это выравнивает поверхность и свойства увлажненной снежной массы, поступающей на очередную стадию тепловой обработки, выдавливает воду в нижние слои снегового покрытия.
Если при неоднократном стадийном прогреве проделывать борозды перед каждой стадией (фиг.1), то экономичность процесса возрастает. В конце каждой стадии снег слегка оплавляется, покрывается пленкой воды, как бы остекловывается, его тепловоспринимающая поверхность уменьшается, а теплоотражающие свойства увеличиваются. Повторное проделывание борозд перед последующим прогревом снижает воздействие этих факторов и, кроме того, еще больше увеличивает глубину теплового воздействия.
После тепловой обработки увлажненная на полную толщину снежного покрова снежная масса уплотняется статически – лыжей 9 при давлении 50-300 кПа, и динамически – вибраторами 34. Построенное дорожное полотно (полоса) 30 перед началом эксплуатации выдерживается до полного промерзания при температуре воздуха – 10°С – не менее 24 часов, ниже – 10°С – не менее 15 часов.
Опыт строительства снежноуплотненных дорог и взлетно-посадочных полос предложенным способом показал, что при толщине снежного покрова до 30 см удается надежно прогреть и увлажнить снежную массу на всю ее толщину без повреждения подстилающего мха и обеспечить тем самым высокую несущую способность дороги при любых параметрах снега в естественном состоянии. После оснащения установки с четырьмя тепловыми модулями двумя устройствами для проделывания борозд (перед вторым и четвертым модулями) расход топлива для горелок снизился в среднем на 25…35%.
Формула изобретения
1. Установка для строительства снежно-уплотненных дорог и взлетно-посадочных полос, содержащая переднюю и заднюю опоры, установленные на лыжи, тепловой агрегат, содержащий по меньшей мере один тепловой модуль, а также устройство для статического и динамического уплотнения увлажненного снега, отличающаяся тем, что лыжа передней опоры имеет ширину, не меньшую ширины рабочей зоны теплового агрегата, при этом установка дополнительно содержит средства для регулирования давления передней опоры на снег, а также расположенное между передней опорой и по меньшей мере одним из тепловых модулей или между тепловыми модулями по меньшей мере одно устройство для проделывания в снегу борозд, скрепленное с задней частью лыжи передней опоры или с задней частью тепловых модулей.
2. Установка по п.1, отличающаяся тем, что устройство для проделывания в снегу борозд установлено, по меньшей мере, перед вторым тепловым модулем.
3. Установка по п.1, отличающаяся тем, что средствами для регулирования давления на переднюю скользящую опору может быть топливный бак и электростанция, установленные на подвижной площадке с возможностью перемещения вдоль платформы.
4. Установка по п.1, отличающаяся тем, что она снабжена средствами для изменения площади передней скользящей опоры, например откидным задником лыжи опоры.
5. Установка по п.1, отличающаяся тем, что устройство для проделывания в снегу борозд выполнено в виде набора рабочих органов, установленных в ряд поперек направления перемещения установки.
6. Установка по п.5, отличающаяся тем, что рабочие органы устройства для проделывания борозд выполнены в виде дисков, установленных с возможностью вращения.
7. Установка по п.6, отличающаяся тем, что каждый из рабочих органов устройства для проделывания в снегу борозд установлен с возможностью регулирования параметров борозд и независимого перемещения преимущественно в вертикальном направлении.
8. Установка по п.7, отличающаяся тем, что устройство для проделывания в снегу борозд выполнено с возможностью регулирования глубины борозд от 0,01 до 0,2 м.
9. Установка по п.5, отличающаяся тем, что рабочие органы устройства для проделывания в снегу борозд расположены в ряд с переменным шагом.
10. Установка по п.1, отличающаяся тем, что устройства для проделывания в снегу борозд снабжены приспособлением для их фиксации в транспортном положении.
РИСУНКИ
QB4A – Регистрация лицензионного договора на использование изобретения
Лицензиар(ы): Устюгов Дмитрий Николаевич
Вид лицензии*: НИЛ
Лицензиат(ы): Общество с ограниченной ответственностью Научно-производственная инновационная фирма “Новые технологии”
Договор № РД0029018 зарегистрирован 16.11.2007
Извещение опубликовано: 27.12.2007 БИ: 36/2007
* ИЛ – исключительная лицензия НИЛ – неисключительная лицензия
|
|