|
(21), (22) Заявка: 2005130885/11, 05.10.2005
(24) Дата начала отсчета срока действия патента:
05.10.2005
(46) Опубликовано: 10.04.2007
(56) Список документов, цитированных в отчете о поиске:
SU 1395723 A1, 15.05.1988. SU 1497324 A1, 30.07.1989. DE 19824395 C1, 22.07.1999. JP 9013302 A, 14.01.1997.
Адрес для переписки:
690035, Владивосток, а/я 35-94, ООО “Первое частное Приморское патентное агентство”, пат.пов. А.Г.Ермолинскому
|
(72) Автор(ы):
Кива Николай Иванович (RU), Летуновский Алексей Михайлович (RU), Лозин Геннадий Борисович (RU)
(73) Патентообладатель(и):
Открытое акционерное общество “Дальневосточная Горно-строительная Компания” (RU)
|
(54) СПОСОБ СООРУЖЕНИЯ БЕЗБАЛЛАСТНОГО ЖЕЛЕЗНОДОРОЖНОГО ПУТИ И УСТРОЙСТВО ДЛЯ ЕГО ОСУЩЕСТВЛЕНИЯ
(57) Реферат:
Изобретения относятся к укладке и ремонту верхнего строения пути (ВСП) безбалластного типа, например в туннелях, метрополитенах и на мостах. Способ сооружения верхнего строения пути заключается в том, что рельсовые звенья с подрельсовыми элементами устанавливают в проектное положение на бетонное основание на слой термопластичной смеси при помощи регулирующих приспособлений и прижимают подрельсовые элементы к бетонному основанию прижимными анкерами, замоноличенными в бетонном основании. При этом прижимные анкера пропускают сквозь бетонное основание и жестко крепят нижние части прижимных анкеров к обделке тюбинга тоннеля и/или несущей конструкции моста. Прижимной анкер для осуществления способа сооружения верхнего строения пути содержит шпильку с резьбой по крайней мере на одном конце и средство для крепления к обделке тюбинга тоннеля и/или несущей конструкции моста на другом конце. Техническим результатом изобретений является повышение надежности и неизменяемости верхнего строения железнодорожного пути, а также возможность проводить подвижной состав по уложенному или отремонтированному участку пути сразу после окончания работ. 2 н. и 11 з.п. ф-лы, 3 ил.
Изобретение относится к строительству и реконструкции искусственных сооружений железных дорог, в частности к укладке и ремонту верхнего строения пути безбалластного типа в туннелях, метрополитенах и на мостах.
Известен способ сооружения верхнего строения пути, когда рельсовые звенья с подрельсовыми элементами устанавливают в проектное положение на слой термопластичной смеси при помощи регулирующих приспособлений (а.с. SU 1023018, опубл. 15.06.1983). Однако крепление только с помощью мастики является ненадежным.
Также известен способ сооружения верхнего строения пути, когда рельсовые звенья с подрельсовыми элементами устанавливают в проектное положение на слой термопластичной смеси при помощи регулирующих приспособлений, при этом подрельсовые элементы крепят к бетонному основанию прижимными анкерами (патент US 4232822, опубл. 11.11.1980). В качестве прототипа выбран один из подобных способов, согласно которому прижимные анкера дополнительно замоноличивают в бетонном основании (а.с. SU 1395723, опубл. 15.05.1988). В этих известных решениях крепление является недостаточным, т.к. при долговременной динамической нагрузке от колес подвижного состава происходит постепенное смещение и отрыв бетонного основания от обделки тоннеля. Данная ситуация возникает по причине того, что анкера, замоноличенные в бетонном основании, не в состоянии сдержать отрыв нижнего строения пути от обделки тоннеля. Также для отвердевания смесей и набора ими прочности требуется определенное время, в течение которого невозможно проводить подвижной состав по уложенному или отремонтированному участку пути.
Решаемая техническая задача – повышение надежности и неизменяемости верхнего строения железнодорожного пути, а также возможность проводить подвижной состав по уложенному или отремонтированному участку пути сразу после окончания работ.
Данная задача решается предлагаемым способом сооружения верхнего строения пути, при котором рельсовые звенья с подрельсовыми элементами устанавливают в проектное положение на бетонное основание на слой термопластичной смеси при помощи регулирующих приспособлений и прижимают подрельсовые элементы к бетонному основанию прижимными анкерами, замоноличенными в бетонном основании. Новым является то, что прижимные анкера пропускают сквозь бетонное основание и жестко крепят нижние части прижимных анкеров к обделке тюбинга тоннеля и/или несущей конструкции моста. Это позволяет провести подвижной состав по уложенному или отремонтированному участку пути сразу после окончания работ до отвердения бетона, мастики и т.п.
Нижнюю часть прижимного анкера лучше крепить не менее чем в двух точках, где по крайней мере одна из которых не лежит на оси анкера. Т.о. повышается жесткость крепления анкера к обделке или несущей конструкции.
Нижнюю часть прижимного анкера можно крепить с помощью болтов.
Прижимные анкера лучше замоноличивать в бетонном основании полимерным составом, например, в случае, когда способ используют при ремонте.
В качестве подрельсовых элементов можно использовать предварительно изготовленные железобетонные плиты или рамы.
Предпочтительно использовать стальные резьбовые прижимные анкера диаметром 18-24 мм. При этом при прижимании подрельсовых элементов анкера рекомендуется затягивать с усилием 4-8 тс.
Также заявляется прижимной анкер для осуществления заявляемого способа. Анкер содержит шпильку с резьбой по крайней мере на одном конце и средство для крепления к обделке тюбинга тоннеля и/или несущей конструкции моста на другом конце.
Средство для крепления может содержать жесткую пластину. При этом лучше, когда жесткая пластина включает не менее двух элементов крепления, по крайней мере один из которых не лежит на оси анкера, а элементы крепления выполнены в виде отверстий.
Средство крепления может содержат стержень, служащий для удлинения анкера, который выполнен соосно шпильке и соединен с ней с помощью резьбовой муфты. При этом стержень может быть изготовлен из арматуры периодического профиля.
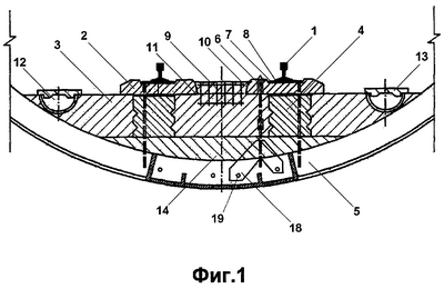
Изобретение поясняется чертежами. На фиг.1 представлен разрез верхнего строения пути, на фиг.2 показан элемент плана пути, на фиг.3 показан прижимной анкер.
Изобретение поясняем на примере выполнения, осуществленного заявителем при капитальном ремонте железнодорожного тоннеля с обделкой из чугунных тюбингов в республике Башкортостан. Предварительно на ремонтируемом участке тоннеля демонтируем рельсовые звенья 1 и железобетонные рамы 2 верхнего строения пути до бетонного основания 3 нижнего строения пути. Затем в существующем бетонном основании 3 выдалбливаем сквозные колодцы 4 до ребер 5 обделок из тюбингов. В выдолбленные колодцы 4 устанавливаем прижимные анкера 6, при этом нижнюю часть анкеров 6 жестко крепим при помощи болтов к ребру 5 обделки из тюбинга, а верхнюю резьбовую часть анкера 6 фиксируем в проектном положении от смещения в период укладки бетонной смеси в колодцы 4. Ребро 5 обделки вокруг отверстий и вскрытую внутреннюю поверхность тюбинга очищаем и покрываем битумным лаком. Смонтированные прижимные анкера 6 покрываем полимерным составом. Не дожидаясь твердения уложенного и уплотненного вибрацией бетона, устанавливаем железобетонные рамы 2 верхнего строения пути и рельсовые звенья 1. Каждую раму 2 устанавливаем по длине пути на восемь монтажных регулируемых клиновидных опор (не показаны), которые располагаем под путевыми подкладками 7. Опоры обеспечивают плавную регулировку положения и точную установку рам 2 на проектные отметки пути. Для увеличения упругости пути под рельсы 1 и под подкладки 7 укладываем резиновые прокладки 8. Внутри проема рамы 2 в бетонном основании 3 выполняем армированный выступ 9, который служит упором, препятствующим смещению рам 2 под воздействием колес подвижного состава в горизонтальном направлении. В швах между рамой 2 и выступом 9 по всему периметру проема выполняем вязкоупругую клеевую прослойку 10 из полимербитумной мастики, которую заливаем в швы в горячем состоянии. По периметру проема боковым граням рамы 2 и бетонному выступу 9 придаем параллельные вертикальные наклоны, а выступ 9 представляем в виде усеченной пирамиды с большим основанием сверху, тем самым образуем соединение по типу «ласточкина хвоста», которое улучшает условия работы мастичной прослойки 10 и исключает возможность подъема рамы 2 вверх. Нижнюю постель рамы 2 покрываем тонким слоем 11 полимербитумной мастики. Положение рельсовых звеньев 1 в плане и по высоте регулируем с помощью временно устанавливаемых домкратов (не показаны). После выверки и закрепления рельсовых звеньев 1 в проектном положении даем разрешение на проход подвижного состава сразу после окончания ремонтных работ. Для отвода воды в тоннеле выполняем в бетонном основании боковые водоотводные лотки 12. Бетонирование лотков 12 производим на месте с помощью металлической опалубки (не показана). Сверху лотки 12 закрываем типовыми чугунными крышками 13.
Укладка нового верхнего строения железнодорожного пути производится аналогичным способом, за исключением того, что после крепления низа прижимных анкеров 5 к обделке из тюбингов и фиксации верха анкеров в проектном положении, укладывается дренажный слой 14 и выполняется сплошное бетонирование основания 3.
Для обеспечения совместной работы под колесами подвижного состава верхнего строения пути и нижнего строения пути рамы прижимаются к нижележащему бетонному основанию 3 прижимными анкерами 6. Прижимной анкер 6 состоит из крепежной шпильки 15 с резьбовыми концами, соединенной через муфту 16 с арматурным стержнем периодического профиля 17. На свободном конце арматурного стержня 16 имеется крепежная пластина 18 с двумя отверстиями 19 под болты, причем отверстия 19 располагаются на разных уровнях и с эксцентриситетом относительно оси анкера 6, что при установке обеспечивает анкеру 6 пространственную жесткость. Анкер 6 посредством пластины 18 крепится болтами к ребру 5 обделки из тюбинга тоннеля.
Приведенные выше примеры использованы только для целей иллюстрации возможности осуществления изобретения и ни в коей мере не ограничивают объем правовой охраны, представленный в формуле изобретения, при этом специалист в данной области техники относительно просто способен осуществить и другие пути осуществления изобретения.
Формула изобретения
1. Способ сооружения верхнего строения пути, при котором рельсовые звенья с подрельсовыми элементами устанавливают в проектное положение на бетонное основание на слой термопластичной смеси при помощи регулирующих приспособлений и прижимают подрельсовые элементы к бетонному основанию прижимными анкерами, замоноличенными в бетонном основании, отличающийся тем, что прижимные анкеры пропускают сквозь бетонное основание и жестко крепят нижние части прижимных анкеров к обделке тюбинга тоннеля и/или несущей конструкции моста.
2. Способ по п.1, отличающийся тем, что нижнюю часть прижимного анкера крепят не менее чем в двух точках, по крайней мере одна из которых не лежит на оси анкера.
3. Способ по п.1, отличающийся тем, что нижнюю часть прижимного анкера крепят с помощью болтов.
4. Способ по п.1, отличающийся тем, что прижимные анкеры замоноличивают в бетонном основании полимерным составом.
5. Способ по п.1, отличающийся тем, что в качестве подрельсовых элементов используют предварительно изготовленные железобетонные плиты или рамы.
6. Способ по п.1, отличающийся тем, что используют стальные резьбовые прижимные анкеры диаметром 18-24 мм.
7. Способ по п.6, отличающийся тем, что при прижимании подрельсовых элементов анкера затягивают с усилием 4-8 тс.
8. Прижимной анкер для осуществления способа по любому из пп.1-7, содержащий шпильку с резьбой по крайней мере на одном конце и средство для крепления к обделке тюбинга тоннеля и/или несущей конструкции моста на другом конце.
9. Анкер по п.8, отличающийся тем, что средство для крепления содержит жесткую пластину.
10. Анкер по п.9, отличающийся тем, что жесткая пластина включает не менее двух элементов крепления, по крайней мере один из которых не лежит на оси анкера.
11. Анкер по п.10, отличающийся тем, что элементы крепления выполнены в виде отверстий.
12. Анкер по п.8, отличающийся тем, что средство крепления содержит стержень, соосный со шпилькой и соединенный с ней с помощью резьбовой муфты.
13. Анкер по п.12, отличающийся тем, что стержень изготовлен из арматуры периодического профиля.
РИСУНКИ
|