|
|
(21), (22) Заявка: 2005126989/12, 26.08.2005
(24) Дата начала отсчета срока действия патента:
26.08.2005
(46) Опубликовано: 10.04.2007
(56) Список документов, цитированных в отчете о поиске:
SU 1414889 A1, 07.08.1988. SU 848483 A, 23.07.1981. SU 726224 A, 05.04.1980. GB 2205865 A, 21.12.1988. FR 2584103 A1, 02.01.1987. DE 1905370 A, 15.02.1973. DE 3815771 A1, 23.11.1989.
Адрес для переписки:
156961, г.Кострома, ул. Комсомольская, 4, ГНУ “Всероссийский научно-исследовательский институт по переработке лубяных культур”
|
(72) Автор(ы):
Антонов Станислав Иванович (RU)
(73) Патентообладатель(и):
Государственное научное учреждение “Всероссийский научно-исследовательский институт по переработке лубяных культур” Российской академии сельскохозяйственных наук (RU)
|
(54) УСТРОЙСТВО ДЛЯ ФОРМИРОВАНИЯ СЛОЯ СТЕБЛЕЙ ЛУБЯНЫХ КУЛЬТУР
(57) Реферат:
Устройство для формирования слоя стеблей лубяных культур, включающее два последовательно расположенных зажимных транспортирующих механизма и узел для удаления из слоя выступающих стеблей, оно снабжено двумя узлами дозирования и утонения слоя с дозирующими, приемными и утоняющими дисками, а узел для удаления из слоя выступающих стеблей расположен между ними. Использование данного изобретения позволяет увеличить выход длинного волокна. 2 з.п. ф-лы, 1 ил.
Изобретение относится к области первичной обработки лубяных культур и может быть использовано в поточных линиях производства длинного льняного волокна.
Одной из основных причин, вызывающих снижение выхода длинного волокна при обработке льняной тресты на мяльно-трепальных агрегатах (МТА), является значительная растянутость поступающего слоя стеблей (продольное смещение стеблей относительно друг друга) и их дезориентация, которые характеризуются понятием «Пригодность слоя к трепанию». Стебли слоя тресты с низкой пригодностью не попадают под зажимы ремней МТА, выпадают в виде отходов при трепании и из них не может быть получено длинное волокно. Чем выше растянутость слоя стеблей и их дезориентация, тем ниже пригодность слоя к трепанию и выход длинного волокна. Величина пригодности слоя зависит от технологии уборки льна, правильности выполнения различных агроприемов и закладывается еще до подачи льняной тресты на механическую обработку на МТА.
Известно устройство для формирования слоя стеблей лубяных культур, содержащее питающий транспортер, средство для параллелизации комлевой и вершинной частей с лопастными валиками, установленными параллельно направлению перемещения порций стеблей, и зажимные транспортеры [1]. Однако данное устройство малоэффективно с точки зрения параллелизации стеблей и не обеспечивает удаление из внутренних частей слоя коротких и расположенных со значительным смещением относительно осевой линии слоя стеблей, которые потенциально не попадут под зажимы ремней МТА.
Наиболее близким аналогом является устройство для формирования слоя стеблей лубяных культур, содержащее последовательно расположенные утоняющий механизм и механизм прочеса слоя, состоящий из зажимного транспортера и двух прочесывающих средств, установленных под углом к зажимному транспортеру по его обе стороны [2]. Данное устройство обеспечивает параллелизацию и удаление из слоя «непригодных» для трепания стеблей. Однако удаляемый в результате прочеса материал представляет из себя перепутанную массу стеблей (очес), которые не могут быть в дальнейшем использованы для производства длинного волокна.
Задачей заявленного изобретения является увеличение выхода длинного волокна за счет как параллелизации стеблей слоя, так и повторного использования на МГТА удаленных из слоя, непригодных к первичному трепанию стеблей.
Технический результат, заключающийся в устранении указанных недостатков в устройстве для формирования слоя стеблей лубяных культур, включающем два последовательно расположенных зажимных транспортирующих механизма и узел для удаления из слоя выступающих стеблей, достигается тем, что оно снабжено двумя узлами дозирования и утонения слоя с дозирующими, приемными и утоняющими дисками, а узел для удаления из слоя выступающих стеблей расположен между ними.
Удаление стеблей осуществляют с помощью двух пар вращающихся валков, расположенных под углом к осевым линиям зажимных транспортирующих механизмов.
Оно снабжено бункерами, в которых накапливают удаленные из слоя стебли, которые могут быть использованы для производства длинного волокна.
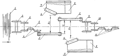
На чертеже схематично показана схема осуществления заявляемого устройства для формирования слоя стеблей лубяных культур.
Оно включает в себя дозирующие 2, приемные 3 и утоняющие 4 диски, образующие первый узел дозирования и утонения слоя, два последовательно расположенных транспортирующих механизма, узел для удаления из слоя выступающих стеблей в виде двух пар валков 6, расположенных под углом к осевым линиям зажимных транспортирующих механизмов, ограничители 7, бункеры 8, а также второй узел дозирования и утонения слоя, состоящий из дозирующих 9, приемных 10 и утоняющих дисков.
Устройство работает следующим образом. Поступающий от рулоноразмотчика слой стеблей 1 захватывается зубьями дозирующих дисков 2 и передается к приемным дискам 3. Благодаря тому, что линейная скорость зубьев дозирующих дисков больше скорости зубьев приемных дисков и привода первых через муфту предельного момента, в зоне между этими дисками стебли уплотняются. Диски 2 и 3 обеспечивают подачу к первому по ходу движения материала утоняющему диску 4 стеблей в идеале с постоянной плотностью.
В зонах между приемными дисками и первым утоняющим, а также между утоняющими дисками (2 зоны утонения) за счет постепенного возрастания их линейных скоростей происходит утонение слоя стеблей в 3-5 раз. В целом диски 2, 3 и 4 выполняют функцию первого узла дозирования и утонения слоя. При этом за счет поперечного смещения отдельных стеблей и групп стеблей происходит нарушение связей между ними, вызванное во многом предыдущими операциями при уборке и хранении тресты. Предварительное утонение слоя позволяет при последующих операциях, во-первых, облегчить условия удаления «не пригодных» к трепанию стеблей, а во-вторых, снизить неровноту слоя как по плотности, так и угловой дезориентации стеблей при его окончательном утонении.
Далее слой стеблей последовательно зажимается и транспортируется с помощью 2-х зажимных транспортирующих механизмов 5, расстояние между осями которых С соответствует расстоянию между осевыми линиями зажима слоя сырца в трепальной машине МТА и требуемым образом привязано к осевой линии Е слоя стеблей.
При движении зажимных транспортирующих механизмов концы стеблей, выступающих за пределы основной массы слоя, последовательно попадают в две пары вращающихся валков 6, расположенных под углом к осевым линиям зажимных транспортирующих механизмов. При этом, благодаря тому, что линейная скорость валков значительно (в 5-15 раз) превышает линейную скорость зажимных транспортирующих механизмов, эти стебли выдергиваются из слоя, ударяются в ограничители 7 и, скользя по наклонным плоскостям, попадают в бункеры 8. Расстояния между осевыми линиями зажимных транспортирующих механизмов и парами валков D1 и D2 регулируются в зависимости от средней длины стеблей и растянутости слоя в вершинной и комлевой частях. Попавшие в бункеры стебли периодически выгружаются, выравниваются по комлям, а затем из них формируют горсти, которые могут быть переработаны на МТА с целью получения длинного волокна.
Окончательное дозирование слоя стеблей по плотности и его утонение до требуемой с точки зрения последующего мятья и трепания величины осуществляется дозирующими 9, приемными 10 и утоняющими 11 дисками (второй узел дозирования и утонения слоя), которые по конструкции и принципу работы могут быть аналогичны соответственно дискам 2, 3 и 4.
Сформированный таким образом слой стеблей поступает в так называемое перекашивающее устройство (для ориентации стеблей под определенным углом к осям валков мяльной машины) или непосредственно в мяльную машину для механической обработки.
Источники информации
1. Авторское свидетельство (11). 986974, D 01 В 1/32 – Опубликовано 07.01.1983. – Бюллетень 1. Авторы: И.Н.Левитский, А.Н.Пигалов, А.К.Пальмов.
2. Авторское свидетельство (19) SU (11) 1414889 A1, D 01 В 1/32 – Опубликовано 07.08.1988. – Бюллетень 29. Авторы: В.В.Коновалов, Мараманов, А.Н.Пигалов.
Формула изобретения
1. Устройство для формирования слоя стеблей лубяных культур, включающее два последовательно расположенных зажимных транспортирующих механизма и узел для удаления из слоя выступающих стеблей, отличающееся тем, что оно снабжено двумя узлами дозирования и утонения слоя с дозирующими, приемными и утоняющими дисками, а узел для удаления из слоя выступающих стеблей расположен между ними.
2. Устройство по п.1, отличающееся тем, что удаление стеблей осуществляют с помощью двух пар вращающихся валков, расположенных под углом к осевым линиям зажимных транспортирующих механизмов.
3. Устройство по п.1, отличающееся тем, что оно снабжено бункерами, в которых накапливают удаленные из слоя стебли, которые могут быть использованы для производства длинного волокна.
РИСУНКИ
MM4A – Досрочное прекращение действия патента СССР или патента Российской Федерации на изобретение из-за неуплаты в установленный срок пошлины за поддержание патента в силе
Дата прекращения действия патента: 27.08.2007
Извещение опубликовано: 10.04.2009 БИ: 10/2009
|
|