|
(21), (22) Заявка: 2005129228/02, 19.09.2005
(24) Дата начала отсчета срока действия патента:
19.09.2005
(46) Опубликовано: 10.04.2007
(56) Список документов, цитированных в отчете о поиске:
US 3616289, 26.10.1971. SU 1250597 A1, 15.08.1986. RU 2207410 C1, 27.06.2003.
Адрес для переписки:
394086, г.Воронеж, ул. Южно-Моравская, 38, кв.99, Ю.Р. Копылову
|
(72) Автор(ы):
Копылов Юрий Романович (RU), Копылов Андрей Юрьевич (RU)
(73) Патентообладатель(и):
Копылов Юрий Романович (RU), Копылов Андрей Юрьевич (RU)
|
(54) УСТРОЙСТВО ДЛЯ ГАЛЬВАНОМЕХАНИЧЕСКОГО ВОССТАНОВЛЕНИЯ ТОКОПРОВОДЯЩИХ ДЕТАЛЕЙ
(57) Реферат:
Изобретение относится к области машиностроения и может быть использовано для восстановления посадочных отверстий под вкладыши коленчатых валов крупногабаритных блоков цилиндров. Устройство содержит емкость для электролита, анод и инструмент для пластического деформирования детали, при этом емкость для электролита представляет собой два соосных корпусных фланца, выполненных с возможностью герметичного охвата полости подлежащей обработке детали и связанных между собой стяжными элементами, а анод, размещенный в полости на одном из фланцев, выполнен в виде полого цилиндра, разделенного в осевом направлении на чередующиеся токопроводящие и диэлектрические части, сопряженные между собой, при этом токопроводящие части связаны с приводом их радиального перемещения. Технический результат: снижение себестоимости восстановления деталей и повышение ресурса двигателя за счет обеспечения требуемого качества покрытия. 2 ил.
Изобретение относится к области машиностроения, а конкретно к нанесению гальванических покрытий, в частности, железных, и может быть использовано для восстановления посадочных отверстий под вкладыши коленчатых валов блоков цилиндров (локомотивных, судовых).
При первом капитальном ремонте неравномерный износ отверстий под вкладыши достигает до 2,0 мм. Применяемое в настоящее время восстановление поверхности по диаметру путем наплавления сварочным электродом с последующей расточкой и шлифованием приводит к тепловым деформациям блока цилиндров. Помимо этого, этот процесс дорогостоящий в связи с обязательными неоправданно большими припусками при сварке (3,5-4,0 мм).
Наиболее эффективным методом восстановления посадочных отверстий крупногабаритных блоков цилиндров длиной до 4000 мм при диаметре отверстий 120-260 мм является электролитическое покрытие изношенных поверхностей при температуре не выше 45°С.
Устройства для нанесения электролитического покрытия на внутреннюю поверхность цилиндрических изделий известны. Так, приведенное в описании к а.с. SU №1250597 кл. С 25 D 7/04 устройство содержит подставку для крепления изделий в гальванической ванне, узел фиксации изделия, токовводы и планку для установки анода в центральное положение, плиту с мерной линейкой и пазами для перемещения катодов.
Наличие ванны для размещения в ней детали практически непригодно для обработки крупногабаритных изделий.
Наиболее близким решением к заявленному является устройство, приведенное в описании к патенту США №3616289, МПК С 23 В 5/56.
В известном решении, предназначенном для нанесения покрытия на внутреннюю поверхность полого изделия, анод размещают в полости изделия, а в процессе осаждения металла из раствора его пластически деформируют прижимами, перемещаемыми вдоль и поперек поверхности осаждения. Конструктивно вращение анода и прижимов выполнено соосным. Прижимы относительно анода имеют возможность возвратно-поступательного перемещения. В устройстве предусмотрены ввод и вывод электролита из полости изделия.
Недостатком устройства является его сложность и ограниченность сортамента обрабатываемых изделий по габаритам.
При создании предлагаемого изобретения была поставлена задача – создать упрощенное в сравнении с прототипом устройство для нанесения электролитического покрытия, позволяющего обеспечивать нанесение покрытия только на изношенную поверхность как в стационарных условиях, так и доставку его к месту нахождения подлежащего восстановлению блока цилиндров при обеспечении требуемого качества.
Задача достигается за счет того, что в предлагаемом решении, содержащем емкость для электролита, анод и инструмент для пластического деформирования поверхности детали, – емкость для электролита представляет собой два соосных корпусных фланца, выполненных с возможностью геометрического охвата полости, подлежащей обработке детали и связанных между собой стяжными элементами, а анод, размещенный в полости между фланцами, выполнен в виде полого цилиндра, разделенного в осевом направлении на чередующиеся токопроводящие и диэлектрические части, сопряженные между собой, при этом токопроводящие части связаны с приводом их радиального перемещения.
Выполнение емкости для электролита в виде двух соосных корпусных фланцев, выполненных с возможностью герметического охвата полости подлежащей обработке детали и связанных между собой стяжными элементами, обеспечивает минимальные размеры устройства и удовлетворяет требованиям экологичности процесса ввиду его замкнутости.
Выполнение анода в виде полого цилиндра, разделенного в осевом направлении на чередующиеся токопроводящие и диэлектрические части, сопряженные между собой, обеспечивает нанесение покрытия именно на требуемые участки (токопроводящая часть анода) и не нанесение покрытия на участки поверхности, которые не подверглись износу (диэлектрическая часть анода).
Выполнение токопроводящих частей подвижными в радиальном направлении позволяет варьировать интенсивность нанесения покрытия (чем ближе к поверхности, тем выше интенсивность). Интенсивность в этом случае можно увеличить еще больше путем подачи более высокого напряжения на эту часть анода.
Техническим результатом при реализации изобретения является снижение себестоимости восстановления деталей и повышение ресурса двигателя за счет обеспечения требуемого качества покрытия.
Сопоставительный анализ предлагаемого устройства и прототипа показывает, что предлагаемое устройство отличается как характером емкости, в которой происходит процесс нанесения покрытия, так и конструкцией анода. При анализе средств того же назначения, обнаруженных в результате патентного поиска, не были выявлены устройства, которые характеризуются признаками, сходными с существенными признаками заявляемого технического решения. Это позволяет сделать вывод о том, что оно отвечает критериям изобретения “новизна” и “изобретательский уровень”.
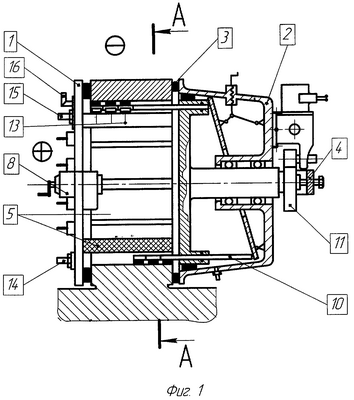
На чертеже представлено предлагаемое решение, где на фиг.1 – конструктивная схема устройства; на фиг.2 – сечение А-А фиг.1.
Устройство выполнено в виде емкости электролита, представляющей собой два соосных корпусных фланца 1 и 2. Совместно с подлежащей восстановлению поверхностью детали за счет эластичного уплотнения 3 они образуют герметичную емкость. Фланцы 1 и 2 между собой связаны стяжными элементами 4. Внутри полости на одном из фланцев размещен анод 5, выполненный в виде полого цилиндра, разделенного в осевом направлении на сопряженные между собой соединением типа “ласточкин хвост” чередующиеся токопроводящие части 6 и диэлектрические – 7. Токопроводящие части 6 связаны с приводом 8 их радиального перемещения. Длина дуги токопроводящей части анода 6 устанавливается в соответствии с длиной дуги изношенной части поверхности, а величина перемещения ее в радиальном направлении зависит от величины износа поверхности. Анод 5 относительно подлежащей восстановлению поверхности в процессе нанесения покрытия неподвижен.
Между анодом 5 и восстанавливаемой поверхностью размещен инструмент 9 для удаления окислов, солей и пластического деформирования поверхности, связанный тягой 10 с приводом 11 его возвратно-поступательного перемещения вдоль оси емкости, а тягой 12 с приводом 13 для перемещения в радиальном направлении. Во фланце 2 предусмотрен штуцер 14 для подачи электролита и штуцер 15 для слива его, а для стравливания газов – штуцер 16.
Процесс восстановления поверхности деталей осуществляют следующим образом.
После подготовки поверхности детали (очистка, обезжиривание) проводят размерную диагностику поверхности с соответствующей записью данных. На основе этих данных производят сборку частей анода 5 с учетом длины дуги и величины износа подлежащей обработки поверхности. В зависимости от требуемой величины покрытия осуществляют перемещение токопроводящей части анода 6 в радиальном направлении. Если расчетное перемещение недостаточно ввиду нахождения между восстанавливаемой поверхностью и этой частью анода инструмента для пластического деформирования 9, эффект усиления покрытия достигается повышением напряжения на эту часть анода. Определяем необходимую величину давления инструмента 9 для пластического деформирования, а также необходимую частоту и амплитуду перемещения его относительно наиболее изношенного участка поверхности. Производим сборку устройства, обращая особое внимание на герметичность соединения фланцев 1 и 2 относительно полости подлежащей восстановлению детали, после чего через штуцер 14 осуществляют подачу электролита, а через штуцер 15 – его слив. Подают напряжение на анод 5 и команду на перемещение инструмента 9.
Время нанесения покрытия в данном положении с учетом изношенности поверхности определяем по номограмме в зависимости от припуска под шлифование.
Таким образом, покрытие будет осуществляться преимущественно того участка поверхности, над которым расположена токопроводящая часть анода.
Часть поверхности, не подвергнутая износу и над которой расположена диэлектрическая часть анода, подвергаться покрытию не будет.
Возможно осуществление процесса восстановления одновременно на нескольких поверхностях.
Решение апробировано.
Формула изобретения
Устройство для гальваномеханического восстановления токопроводящих деталей, преимущественно внутренних поверхностей разъемных цилиндрических изделий, содержащее емкость для электролита, анод и инструмент для пластического деформирования поверхности детали, отличающееся тем, что емкость для электролита представляет собой два соосных корпусных фланца, выполненных с возможностью герметичного охвата полости, подлежащей обработке детали, и связанных между собой стяжными элементами, а анод, размещенный в полости на одном из фланцев, выполнен в виде полого цилиндра, разделенного в осевом направлении на чередующиеся токопроводящие и диэлектрические части, сопряженные между собой, при этом токопроводящие части связаны с приводом их радиального перемещения.
РИСУНКИ
MM4A – Досрочное прекращение действия патента СССР или патента Российской Федерации на изобретение из-за неуплаты в установленный срок пошлины за поддержание патента в силе
Дата прекращения действия патента: 20.09.2007
Извещение опубликовано: 20.05.2009 БИ: 14/2009
|