|
|
(21), (22) Заявка: 2005109187/15, 30.03.2005
(24) Дата начала отсчета срока действия патента:
30.03.2005
(43) Дата публикации заявки: 10.09.2006
(46) Опубликовано: 10.04.2007
(56) Список документов, цитированных в отчете о поиске:
RU 2232830 С2, 20.07.2004. SU 887629 A, 07.12.1981. RU 2051990 C1, 10.01.1996. US 4118307 A, 03.10.1978. US 4045323 A, 30.08.1977.
Адрес для переписки:
606000, Нижегородская обл., г. Дзержинск, Восточный промрайон, ул. Менделеева, 401, ООО “НПО “Эко-Технология-НН”, В.А. Внучковой
|
(72) Автор(ы):
Новичков Евгений Петрович (RU), Лейф Валерий Эдуардович (RU), Африн Сергей Александрович (RU), Коняхин Олег Анатольевич (RU), Внучкова Валентина Адамовна (RU)
(73) Патентообладатель(и):
Общество с ограниченной ответственностью “НПО “Эко-Технология-НН” (RU)
|
(54) ЭЛЕКТРОЛИЗЕР МОНОПОЛЯРНЫЙ ДИАФРАГМЕННЫЙ
(57) Реферат:
Изобретение относится к конструкции электролизера, предназначенного для электролиза рассола с целью получения хлора, водорода и каустической соды. Предложена конструкция монополярного диафрагменного электролизера, содержащего токоведущее анодное биметаллическое дно с установленными на нем анодами и катодами. Дно электролизера выполнено из цельных алюминиевой и титановой плит, соединенных сваркой взрывом. Токоведущая плита катодного каркас-кармана выполнена двусторонней выштамповкой, а катодная шина приварена к корпусу взрывным способом. Технический эффект – снижение энергетических затрат на ведение процесса, увеличение выхода по току целевых продуктов технологического цикла, уменьшение металлоемкости аппарата. 3 ил.
Изобретение относится к конструкции электролизера, предназначенного для электролиза рассола с целью получения хлора, водорода и каустической соды. Изобретение может быть использовано в производственных процессах химической технологии.
Известными и широко распространенными являются диафрагменные электролизеры серий БГК и ДМ, например электролизер БГК-50/25, состоящий из анодного и катодного блоков и крышки, причем анодный блок представляет собой комплект неразрушаемых анодов, закрепленных на металлическом токонесущем основании. Основание выполнено в виде титановой плиты, к которой снаружи приварены алюминиевые пластины, или алюминиевой плиты, на которой имеются пазы для сварки. Аноды коробчатой формы изготовлены из просечных титановых листов, покрытых активной анодной массой и расположенных параллельными рядами. Катодный блок состоит из стального корпуса и комплекта катодных элементов, причем металлические каркасы катодных элементов обтянуты плетеной проволочной сеткой, а внешняя общая катодная шина приварена к одной из стенок корпуса (Зимин В.М., Камарьян Г.М., Мазанко А.Ф. Хлорные электролизеры, М., Химия, 1984 г., с.109).
Недостатком таких конструкций электролизеров являются довольно высокие потери тока за счет большого сопротивления в сварных токоведущих соединениях.
Наиболее близким к предложенной конструкции электролизера и достигаемому результату является усовершенствованный диафрагменный электролизер, который содержит по меньшей мере один анод, прикрепленный к анодной базе и находящийся с ней в электрическом контакте посредством токосъемного стержня, отделенного от циркулирующего в анодном пространстве электролита за счет системы гидравлического уплотнения, содержащий по меньшей мере одно уплотнительное кольцо, установленное в соответствии с указанным токосъемным стержнем.
Электролизер дополнительно содержит электропроводящий и деформируемый контактный элемент, установленный между указанным токосъемным стержнем и указанной анодной базой и одним содержащим элементом, закрепленным на указанном токосъемном стержне (RU 2232830 С2, 20.07.04 г.).
К недостаткам данного электролизера следует отнести высокие энергозатраты на проведение технологического процесса и высокую трудоемкость изготовления аппарата.
Задачей данного изобретения является усовершенствование конструкции электролизера, обеспечивающей уменьшение металлоемкости аппарата, увеличение выхода по току целевых продуктов и снижение энергетических затрат на ведение технологического процесса.
Поставленная задача решается предложенной конструкцией монополярного диафрагменного электролизера, содержащего токоведущее анодное биметаллическое дно с установленными на нем анодами и катодами, отличающегося тем, что дно электролизера выполнено из цельных алюминиевой и титановой плит, соединенных сваркой взрывом, токоведущая плита катодного каркас-кармана выполнена двусторонней выштамповкой, а катодная шина приварена к корпусу взрывным способом.
Отличие предложенной конструкции электролизера от прототипа состоит в том, что токоведущая плита катодного каркас-кармана выполнена двусторонней выштамповкой. Катодный каркас-карман представляет собой конструкцию, в которой катодные элементы выполнены в виде штампованных токоведущих плит, к которым по бокам крепятся электроды, а сверху и снизу устанавливаются накладки. Модификация поверхности катода путем развития активной зоны его в пределах заданных форм и размеров позволяет уменьшить потери напряжения, снизить энергию активации для разряда ионов водорода, что позволяет снизить энергетические затраты на ведение процесса в целом.
Другим отличием является то, что дно электролизера (анодная база) выполнено из цельных алюминиевой и титановой плит сваркой взрывом вместо сварки-пайки. Применение сварки взрывом при изготовлении данного узла электролизера позволяет уменьшить толщину титановой плиты до 3 мм (вместо 6 мм), толщину алюминиевой плиты до 30 мм (вместо 50 мм, как в существующих конструкциях), т.к. при сварке взрывом достигается высокая степень равномерности соединения элементов, что обеспечивает передачу тока по всей поверхности плиты. Кроме того, катодная шина приварена к корпусу катодного комплекта также сваркой взрывом. Использование технологий сварки взрывом при изготовлении наиболее металлоемких узлов электролизера позволяет снизить толщину металлических плит, из которых изготавливаются эти элементы, и тем самым значительно снизить металлоемкость аппарата в целом. Равномерная передача тока по всей поверхности анодной базы, а также увеличение активной зоны катода позволяет увеличить выход целевых продуктов по току.
Таким образом, поскольку у предложенной конструкции электролизера появляются новые свойства, последняя обладает существенными отличиями.
Из научно-технической литературы авторам не известно применение метода сварки взрывом в процессах изготовления электролизеров.
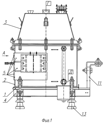
Сущность изобретения поясняется чертежами. На фиг.1 показан общий вид монополярного диафрагменного электролизера, на фиг.2 дан вид слева, а на фиг.3 приведен выносной элемент катодного комплекта.
Электролизер состоит из токоведущего анодного дна 1, корпуса 2, крышки 3 и опорной рамы 4. К корпусу 2 приварены взрывом катодные шины 5. Токоведущее дно выполнено в виде цельных алюминиевой плиты 6 и титановой плиты 7.
Катодный комплект состоит из корпуса 2, катодных шин 5 и катодных каркас-карманов. Каждый катодный каркас-карман в свою очередь состоит из токоведущей штампованной плиты 8, выполненной двусторонней выштамповкой, двух электродов 9 и двух накладок 10. Катодные каркас-карманы вместе с корпусом образуют катодное пространство электролизера, в котором в процессе электролиза получается щелочь, а через катодные шины подают электрический ток на корпус 2 и токоведущую плиту 8.
Сборку узлов электролизера по данному изобретению осуществляют следующим образом. Проводят сварку алюминиевой и титановой плит между собой взрывным способом, а затем выполняют сборку анодного комплекта, состоящего из биметаллической плиты, рамы 4, анодной шины 11 и анодов 12. Затем собирают катодный комплект, состоящий из катодных каркас-карманов, корпуса 2, к которому сваркой взрывом присоединяют катодные шины 5. Далее осуществляют сборку в соответствии с документацией на данный электролизер.
Электролизер работает следующим образом. Собранный аппарат устанавливают на электроизоляторах 13 и осуществляют технологическую и коммуникационную обвязку. Для включения в работу электролизер заполняют рассолом до установления стабильного уровня электролита, к токоведущим шинам 5 и 11 подают электрический ток. В аппарате протекает электролиз рассола, в анодном пространстве 14 образуется хлор, выделяющийся через штуцер Г, а в катодном пространстве 15 образуется щелочь, сливаемая через штуцер Д.
Использование изготовленного по данному изобретению электролизера позволяет снизить энергетические затраты на ведение процесса и увеличить выход по току целевых продуктов технологического цикла. Применение сварки взрывом при сборке узлов электролизера уменьшает металлоемкость аппарата в целом.
Из изложенного следует, что каждый из признаков заявленной совокупности в большей или меньшей степени влияет на достижение поставленных задач, а вся совокупность является достаточной для характеристики заявленного технического решения.
Формула изобретения
Электролизер монополярный диафрагменный, содержащий токоведущее анодное биметаллическое дно с установленными на нем анодами и катодами, отличающийся тем, что дно электролизера выполнено из цельных алюминиевой и титановой плит, соединенных сваркой взрывом, токоведущая плита катодного каркас-кармана выполнена двусторонней выштамповкой, а катодная шина приварена к корпусу взрывным способом.
РИСУНКИ
|
|