|
|
(21), (22) Заявка: 2004121521/02, 13.07.2004
(24) Дата начала отсчета срока действия патента:
13.07.2004
(43) Дата публикации заявки: 10.01.2006
(46) Опубликовано: 10.04.2007
(56) Список документов, цитированных в отчете о поиске:
WO 9428191 A1, 08.12.1994. RU 2090312 C1, 20.09.1997. RU 2173911 C2, 20.09.2001. RU 1753736 C, 20.10.1995. RU 2141005 C1, 10.11.1999. RU 2039127 C1, 09.07.1995. RU 2225459 C2, 10.03.2004. RU 2219282 C1, 20.12.2003.
Адрес для переписки:
445667, Самарская обл., г. Тольятти, ул. Белорусская, 14, Тольяттинский государственный университет, патентный отдел
|
(72) Автор(ы):
Гончаров Виталий Степанович (RU), Солопов Андрей Викторович (RU), Гончаров Максим Витальевич (RU)
(73) Патентообладатель(и):
Государственное образовательное учреждение высшего профессионального образования “Тольяттинский государственный университет” (RU)
|
(54) СПОСОБ УПРОЧНЕНИЯ ИНСТРУМЕНТА
(57) Реферат:
Изобретение относится к машиностроению, в частности к способу упрочнения инструмента, и может быть применено для повышения рабочего ресурса металлообрабатывающих инструментов, например пуансонов для холодной объемной штамповки. Перед нанесением многослойного покрытия на рабочую поверхность инструмента предварительно насыщают ее азотом на глубину 30-40 мкм, что способствует компенсации разницы тепло-физико-механических свойств материалов покрытия и инструмента. На азотированную поверхность наносят чередующиеся между собой промежуточные и компенсационные слои. Твердость последующего промежуточного слоя выше предыдущего. Промежуточные слои служат для плавного изменения твердости от подложки к поверхности покрытия, тем самым увеличивая ударную вязкость, а компенсационные слои, состоящие из чистого титана и/или хрома, осуществляют связи между слоями. После каждого нанесенного слоя производят ионное полирование. Последний поверхностный слой выполняют из пластичного материала, который служит для приработки и “залечивания” микротрещин износостойкого слоя покрытия. Такая обработка позволяет повысить рабочий ресурс инструмента, работающего при динамических нагрузках. 1 ил.
Изобретение относится к машиностроению и может быть применено для повышения рабочего ресурса металлообрабатывающих инструментов, например пуансонов для холодной объемной штамповки.
Однако отсутствие в данном слое пластичных прослоек в виде слоев с относительно низкой твердостью ведет к увеличению выкрашивания больших фрагментов покрытия за счет низкой ударной вязкости покрытия. Это делает невозможным применение инструмента с данным износостойким слоем для инструментов, работающих в ударных нагрузках.
Однако большая разница в твердости подложки и поверхностного слоя покрытия снижает ударную вязкость, что ведет к образованию усталостных трещин при динамических нагрузках инструмента. Это делает невозможным применение данного инструмента для работы в условиях динамических нагрузок.
Техническим результатом предлагаемого способа является повышение рабочего ресурса инструмента, работающего при динамических нагрузках.
Сущность изобретения заключается в том, что на обрабатываемую поверхность наносят многослойное покрытие, состоящее из промежуточного и поверхностного износостойкого слоя.
В отличие от прототипа, перед нанесением многослойного покрытия обрабатываемую поверхность инструмента насыщают азотом на глубину 30…40 мкм. Затем на азотированную поверхность наносят покрытие, состоящее из промежуточных и компенсационных слоев, которые чередуются между собой. Причем каждый последующий промежуточный слой выполняют из материала, твердость которого выше твердости предыдущего промежуточного слоя. Толщина компенсационных слоев, состоящих из пластичного материала, составляет 0,5…1 мкм. Толщина промежуточных слоев составляет 1,5…2 мкм. После каждого нанесенного слоя производят ионное полирование. На последний промежуточный износостойкий слой наносят пластичный поверхностный компенсационный слой.
Такая совокупность признаков предлагаемого способа позволяет повысить стойкость инструмента на контактных площадках путем увеличения пластической прочности и твердости поверхностных слоев и, в то же время, с сохранением ударной вязкости объема инструмента и всего покрытия именно за счет формирования многослойного износостойкого покрытия на основе карбидов, боридов и нитридов.
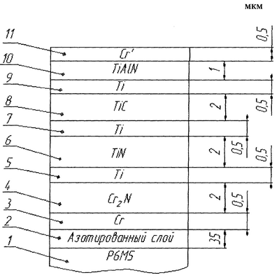
Изобретение иллюстрируется чертежом, где показано чередование наносимых слоев покрытия и их толщины.
Предлагаемый способ упрочнения инструментов заключается в нанесении на поверхность инструмента многослойного покрытия. Предварительно материал инструмента 1 насыщают азотом до получения диффузионного азотированного слоя 2 глубиной 30…40 мкм, который упрочняет поверхность подложки на молекулярном уровне, способствует компенсации разницы тепло-физико-механических свойств материалов покрытия и инструмента. При насыщении азотом сталей глубиной менее 30 мкм практически не происходит упрочнения матрицы материала подложки. Увеличение глубины азотированного слоя более 40 мкм ведет к увеличению шероховатости поверхности, что способствует ухудшению адгезии на границе фаз подложка – покрытие. Кроме того, это ведет к увеличению хрупкости объема инструмента, что не желательно для инструментов, работающих при динамических нагрузках.
Последующее нанесение компенсационного слоя 3 из относительно пластичного материала, например из чистого хрома и/или титана, служит для осуществления связи между слоями 2 и 4. Благодаря этому слою обеспечивается хорошая адгезия между материалом инструмента и первым промежуточным слоем 4. Он компенсирует разницу параметров и формы кристаллических решеток промежуточных слоев. Толщина слоя 3 лежит в пределах 0,5…1 мкм. Нанесение слоя 3 толщиной менее 0,5 мкм технологически не возможно. При толщине компенсационного слоя 3 более 1 мкм в нем увеличатся напряжения изгиба. Компенсационные слои выполняют из пластичного материала.
Затем производят ионное полирование нанесенного слоя 3, что существенно снижает шероховатость его поверхности. Из-за активации поверхности слоя 3, благодаря ионному полированию, идет улучшение адгезии между слоями 3 и 4.
Затем наносят промежуточный слой 4, имеющий большую твердость, чем материал покрытия, например, состоящий из Cr2N, и служащий для плавного увеличения твердости от подложки к поверхности покрытия, тем самым увеличивая ударную вязкость, что наиболее важно для инструмента, работающего в условиях ударной нагрузки. Постепенное увеличение твердости способствует уменьшению вероятности выкрашивания больших фрагментов покрытия. Толщину слоя 4 выбирают в пределах 1,5…2 мкм.
Показанные выше четыре операции (нанесение компенсационного слоя, ионное полирование компенсационного слоя, нанесение промежуточного слоя, ионное полирование промежуточного слоя) представляют собой один цикл нанесения покрытия.
Эти циклы повторяются до достижения нужной толщины покрытия. Причем твердость промежуточного слоя в последующих циклах должна быть больше, чем в предыдущих.
После достижения необходимой толщины покрытия наносят последний промежуточный слой 10 с наибольшей твердостью и низкой способностью к схватыванию, состоящий, например, из TiAlN, что позволяет снизить выкрашивание больших фрагментов поверхности покрытия и увеличить его износостойкость.
Затем наносят поверхностный слой 11 из относительно пластичного материала, например из чистого хрома, который служит для приработки и “залечивания” микротрещин последнего промежуточного износостойкого слоя покрытия, а также играет роль твердой смазки. Этот слой уменьшает период приработки инструмента и значительно снижает силу трения между поверхностным износостойким слоем и обрабатываемым материалом. Его толщина – 0,5-1 мкм. Это связано с тем, что нет необходимости делать этот слой более 1 мкм, так как из-за своей пластичности он сотрется в первые циклы работы инструмента.
Таким образом, предлагаемый способ уменьшает воздействие вредных факторов (выкрашивания фрагментов покрытия, напряжения на границе раздела, образования микротрещин внутри объема инструмента) и существенно повышает рабочий ресурс инструмента.
Примером применения данного способа может служить нанесение покрытия на пуансон из стали Р6М5, работающий при холодной объемной штамповке (ХОШ). Повышение стойкости пуансона достигается путем увеличения пластической прочности и твердости поверхностных слоев и, в то же время, с сохранением ударной вязкости объема инструмента и всего покрытия.
Ионное азотирование стали Р6М5 на глубину 35 мкм ведет к упрочнению поверхностных слоев материала инструмента. При этом микротвердость рабочей поверхности инструмента возрастает с 7 до 11 ГПа, что способствует некоторой компенсации разницы тепло-физико-механических свойств стали Р6М5 и покрытия. Также азотирование активизирует материал инструмента 1, что повышает адгезию и способствует образованию согласованных поверхностей фаз между слоями 1 и 3.
Исходя из условий работы пуансона и химического состава стали Р6М5, установили, что при толщине покрытий более 8-9 мкм отмечается резкое повышение разбросов прочности из-за возрастания их хрупкости. Вследствие этого выбираем девять слоев, что составляет четыре цикла нанесения покрытия.
Нанесенный компенсационный слой 3, состоящий из чистого хрома, имеет близкие параметры кристаллической решетки, с параметрами решетки стали Р6М5. Хром относительно пластичный материал и при образовании усталостной трещины на поверхности покрытия она гаснет в слое 3 и не пойдет дальше в объем материала.
При последующем ионном полировании идет сглаживание фрагментов хромового катода, попавших на поверхность инструмента, тем самым уменьшается наличие капельной компоненты и повышаетется температура поверхности. Это, в свою очередь, повышает адгезию между слоем Cr и Cr2N. Данный процесс ионного полирования осуществляется после каждого нанесенного промежуточного и компенсационного слоя. Нанесенный после слоя 3 промежуточный слой 4, состоящий из Cr2N, имеет твердость 16 ГПа и служит для плавного увеличения твердости от подложки к поверхности покрытия, тем самым увеличивая ударную вязкость.
Нанесенные компенсационные слои 5, 7, 9, состоящие из чистого титана, также являются связующими между промежуточными слоями 4 и 6, 6 и 8, 8 и 10. Титан имеет схожие кристаллические решетки как с Cr2N, так и с TiN и с TiC. Металлоподобные твердые материалы, как правило, образуют согласованные или полусогласованные поверхности раздела с металлами и другими металлическими материалами. Так, карбиды и нитриды переходных металлов с диборидами переходных металлов образуют согласованные поверхности раздела с низкой энергией.
Промежуточные слои наносят в порядке возрастания их твердости.
Первый промежуточный слой выполняют из Cr2N, второй – из TiN, третий – из TiC, четвертый – из TiAlN.
Слой 10 из TiAlN имеет наибольшую твердость 29 ГПа, а следовательно, и износостойкость.
После слоя 10 наносят поверхностный слой 11 из чистого хрома. Этот слой уменьшает период приработки штампа и значительно снижает силу трения между поверхностным износостойким слоем и обрабатываемым материалом. Его толщина – 0,5-1 мкм.
Рассмотренный способ упрочнения инструмента обеспечивает технический результат, заключающийся в повышении ресурса работы стальных деталей при динамических нагрузках за счет плавного повышения физико-механических свойств и за счет увеличения твердости рабочей поверхности инструмента с 7 до 29 Гпа.
Предлагаемый способ может быть осуществлен с помощью известных в технике средств. Следовательно, предлагаемый способ обладает промышленной применимостью.
Формула изобретения
Способ упрочнения инструмента, при котором на обрабатываемую поверхность инструмента наносят многослойное покрытие, отличающийся тем, что обрабатываемую поверхность инструмента перед нанесением многослойного покрытия насыщают азотом на глубину 30…40 мкм, а многослойное покрытие наносят в виде чередующихся между собой компенсационных и промежуточных слоев, при этом компенсационные слои выполняют толщиной 0,5…1 мкм из пластичного материала, промежуточные слои – из твердого материала, причем каждый последующий промежуточный слой выполняют из материала, твердость которого выше твердости предыдущего промежуточного слоя, после каждого нанесенного слоя производят ионное полирование, последний промежуточный слой выполняют износостойким и на него наносят пластичный поверхностный слой.
РИСУНКИ
|
|