|
|
(21), (22) Заявка: 2005127832/04, 06.09.2005
(24) Дата начала отсчета срока действия патента:
06.09.2005
(46) Опубликовано: 10.04.2007
(56) Список документов, цитированных в отчете о поиске:
RU 2071972 C1, 20.01.1997. RU 2109037 C1, 20.04.1998. RU 2123512 C1, 20.12.1998. US 5676840 A, 10.14.1997. Справочник «Топлива, смазочные материалы, технические жидкости», М., «Техинформ», 1999, с.170-172.
Адрес для переписки:
644021, г.Омск, ул. Б. Хмельницкого, 283, ОАО Омское моторостроительное конструкторское бюро, Первому зам. генерального директора В.М. Новикову
|
(72) Автор(ы):
Воробьева Валентина Ивановна (RU), Костогрыз Валентин Григорьевич (RU), Кушнарев Владимир Александрович (RU), Лаврик Евгений Геннадьевич (RU), Миронов Владимир Иванович (RU), Поздняков Александр Петрович (RU), Филимонов Валерий Геннадьевич (RU)
(73) Патентообладатель(и):
ОАО Омское моторостроительное конструкторское бюро (RU)
|
(54) СПОСОБ РЕГЕНЕРАЦИИ МАСЛА СИНТЕТИЧЕСКОГО ВТ-301
(57) Реферат:
Использование: в химической промышленности для регенерации масла синтетического ВТ-301, применяемого в теплонапряженных газотурбинных двигателях. Сущность: масло подают на фильтр с пористостью 5-10 мкм для фильтрации от механических примесей и затем на фильтр с микрофильтрационной мембраной с пористостью 0,9-2 мкм для фильтрации от мелкодисперсных гелеобразных частиц. В емкости для регенерированного масла создают вакуум от 104 Па до 102 Па. Фильтры расположены друг над другом и опираются на металлическую пластину с отверстиями и размещены между емкостями для грязного и регенерированного масла, соединенных между собой герметично. Технический результат – обеспечение высокой степени очистки масла, что дает возможность его повторного применения в теплонапряженных газотурбинных двигателях. 1 ил.
Изобретение относится к химической промышленности и может быть использовано для регенерации масла ВТ-301, применяемого в теплонапряженных газотурбинных двигателях.
При проведении патентного поиска, по имеющимся на предприятии бюллетеням «Открытия изобретения» с 1986 г. по 1991 г., «Изобретения» с 1992 г. по 1998 г., способ регенерации масла синтетического ВТ-301, аналоги не обнаружены.
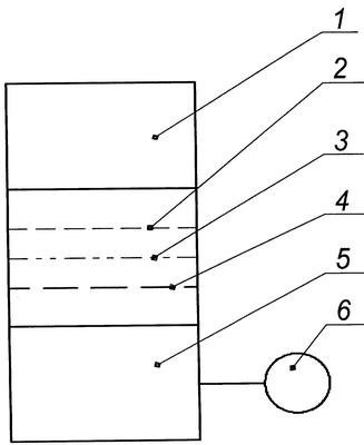
На схеме показаны элементы способа регенерации масла синтетического ВТ-301.
Схема содержит емкость для грязного масла 1, емкость для регенерированного масла 5, фильтр для очистки от крупных (свыше 200 мкм) механических примесей 2 с пористостью 5-10 мкм, микрофильтрационную мембрану для очистки от мелкодисперсионных механических и гелеобразных частиц 3, металлическую пластину с отверстиями 4, вакуумный насос 6 (для создания низкого вакуума в емкости для регенерированного масла 5).
Конструктивные особенности теплонапряженных газотурбинных двигателей требуют наличия у масла 11 класса чистоты по ГОСТ 17216-2001.
Задача: очистить масло ВТ-301 от механических и гелеобразных мелкодисперсных частиц с целью его повторного использования в определенных видах работ.
Способ регенерации масла синтетического ВТ-301 включает: фильтрацию от механических примесей (свыше 200 мкм) через фильтр 2, фильтрацию от мелкодисперсных механических и гелеобразных частиц (от 5 до 200 мкм) через микрофильтрационную мембрану 3 с нормированной величиной пор 0,9-2 мкм.
Фильтры расположены друг над другом, опираются на металлическую пластину с отверстиями 4 (позволяет сохранит целостность фильтров). Фильтры находятся между верхней емкостью для грязного масла 1 и емкостью для регенерированного масла 5, соединенных между собой герметично. Низкий вакуум от 104 Па до 102 Па создается в емкости для регенерированного масла 5 с помощью вакуумного насоса 6. Например: порция синтетического масла ВТ-301, проработавшая в двигателе 30 минут, имеет механические и гелеобразные частицы в количестве, соответствующем 13 классу чистоты. Масло помещают в емкость 1, и при создании низкого вакуума в емкости 5 масло проходит через фильтры 2 и 3, при этом механические и гелеобразные примеси остаются на фильтрах. После регенерации масло имеет требуемый 11 класс чистоты и повторно используется в работе двигателя. Масло, имеющее значительное количество механических и гелеобразных мелкодисперсных примесей, проходит повторную регенерацию с обязательной заменой фильтров на чистые, до достижения требуемого класса чистоты.
Таким образом, данный способ регенерации масла ВТ-301 позволяет решить задачу повторного использования масла для определенного вида работы двигателя.
Формула изобретения
Способ регенерации масла синтетического ВТ-301, включающий подачу из емкости грязного масла на фильтр с пористостью 5-10 мкм для фильтрации от механических примесей, последующую фильтрацию от мелкодисперсных гелеобразных частиц через микрофильтрационную мембрану с пористостью 0,9-2 мкм при создании вакуума в емкости для регенерированного масла от 104 до 102 Па, причем фильтры расположены друг над другом, опираются на металлическую пластину с отверстиями и размещены между емкостями для грязного и регенерированного масла, соединенными между собой герметично.
РИСУНКИ
|
|