|
(21), (22) Заявка: 2005102067/04, 04.06.2003
(24) Дата начала отсчета срока действия патента:
04.06.2003
(30) Конвенционный приоритет:
28.06.2002 EP 02014473.9
(43) Дата публикации заявки: 20.04.2006
(46) Опубликовано: 10.04.2007
(56) Список документов, цитированных в отчете о поиске:
WO 0043358 A, 27.07.2000. WO 0234382 A, 02.05.2002. RU 2042424 C1, 27.08.1995. RU 2072966 С1, 10.02.1997.
(85) Дата перевода заявки PCT на национальную фазу:
28.01.2005
(86) Заявка PCT:
EP 2003/005839 (04.06.2003)
(87) Публикация PCT:
WO 2004/002949 (08.01.2004)
Адрес для переписки:
101000, Москва, М.Златоустинский пер., 10, кв.15, “ЕВРОМАРКПАТ”, пат.пов. И.А.Веселицкой, рег. № 11
|
(72) Автор(ы):
ФИЛИППИ Эрманно (CH), РИЦЦИ Энрико (IT), ТАРОЦЦО Мирко (CH), ЦАРДИ Федерико (CH)
(73) Патентообладатель(и):
УРЕА КАЗАЛЕ С.А. (CH)
|
(54) УСТАНОВКА ДЛЯ ПОЛУЧЕНИЯ МОЧЕВИНЫ
(57) Реферат:
Изобретение относится к аппаратурному оформлению стадии синтеза в процессе получения мочевины из аммиака и диоксида углерода. Установка для получения мочевины содержит секцию высокого давления, состоящую из работающих по существу при одном и том же давлении реактора синтеза и расположенного внутри реактора конденсатора. Конденсатор состоит из множества плоских пластинчатых теплообменников по существу прямоугольной формы, длинные стороны которых расположены параллельно оси реактора. Каждый теплообменник изготовлен из двух уложенных друг на друга металлических листов, соединенных по периметру сваркой и образующих внутри теплообменника расположенную между ними полость определенной ширины. Листы, из которых изготовлены теплообменники, соединены также между собой сваркой в отдельных точках, формирующих во внутренней полости теплообменников извилистую траекторию течения текучей среды, состоящую из сообщающихся друг с другом участков, соединенных патрубками для входа и выхода в теплообменники текучего теплоносителя. Предпочтительно каналы для распределения подаваемого в теплообменник текучего теплоносителя и сбора выходящего теплоносителя образованы трубами, расположенными во внутренней полости теплообменника и закрепленными на его противоположных длинных сторонах. По меньшей мере один теплообменник имеет внутреннюю перегородку, которая проходит от одной его стороны к его другой, противоположной стороне и не доходит до нее на определенное расстояние, что формирует в полости теплообменника U-образную траекторию течения теплоносителя с опускающимся вниз и поднимающимся вверх участками, соединенными с соответствующими выходящими из теплообменника наружу патрубками. Участки U-образной траектории имеют постепенно возрастающее поперечное сечение. Технический результат – упрощение конструкционного оформления зоны синтеза и конденсации реакционной смеси при получении мочевины с увеличением производительности процесса. 14 з.п. ф-лы, 7 ил.
Область техники, к которой относится изобретение
Настоящее изобретение относится к так называемой “десорбционной установке” для получения мочевины из аммиака и диоксида углерода. Изобретение относится, в частности, к секции высокого давления установки для получения мочевины указанного выше типа, состоящей из реактора синтеза мочевины и конденсатора или реактора синтеза мочевины, десорбера и конденсатора.
Уровень техники
При взаимодействии аммиака и диоксида углерода при определенных по давлению и температуре условиях получают водный раствор, содержащий мочевину, карбамат аммония и свободный аммиак (т.е. аммиак, не связанный с карбаматом), и смесь газов, содержащую аммиак, диоксид углерода, воду (в виде водяного пара) и возможно инертные газы.
При получении мочевины методом десорбции содержащий мочевину выходящий из реактора синтеза водный раствор в соответствующем десорбере подвергают тепловой обработке, в результате которой происходит разложение карбамата на аммиак и диоксид углерода, с одновременной десорбцией (например, тем же диоксидом углерода, который подают на установку для получения мочевины) и выделением из раствора потока газа, содержащего бóльшую часть не вступивших в реакцию аммиака и диоксида углерода. Эти газы вместе с используемым для десорбции диоксидом углерода затем в соответствующем конденсаторе (известном как конденсатор карбамата высокого давления) снова конденсируют в карбамат, который возвращают в реактор синтеза. Аммиак и диоксид углерода, которые содержатся в газообразном состоянии в выходящей из реактора реакционной смеси, обычно превращают в карбамат аммония, в частности абсорбцией в соответствующем конденсаторе (так называемом скруббере) с использованием потока карбамата, подаваемого в конденсатор из секции выделения (регенерации) мочевины. Выходящий из скруббера поток карбамата пропускают через конденсатор карбамата высокого давления и возвращают обратно в реактор синтеза.
На установках для получения мочевины подобного типа (установках десорбционного типа) ректор синтеза, десорбер, конденсатор и скруббер работают по существу при одном и том же (высоком) давлении и являются наиболее важными компонентами так называемой “секции высокого давления” установки.
На известных в настоящее время установках для получения мочевины реактор синтеза и конденсатор карбамата высокого давления, а в некоторых случаях и скруббер, обычно объединяют в один аппарат с общим корпусом, рассчитанным на работу при высоком давлении. Так, например, в заявке WO 00/43358 (PCT/NL/00044), включенной в настоящее описание в качестве ссылки, описан аппарат с вертикальным корпусом с реактором, расположенным между находящимся под ним конденсатором и находящимся над ним скруббером, который сообщается с конденсатором вертикальным каналом, проходящим через центр реактора, и используется для подачи в конденсатор из скруббера всего образовавшегося в нем карбамата.
Такие известные в настоящее время установки для получения мочевины при всех своих несомненных преимуществах обладают и определенными недостатками.
Первым и наиболее существенным недостатком установок для получения мочевины с расположенными в одном корпусе реактором, конденсатором и скруббером является их ограниченная производительность, увеличить которую можно только путем использования на установке дополнительного количества подобных аппаратов и монтажа дополнительных трубопроводов.
Кроме того, используемые на известных в настоящее время установках для получения мочевины и, в частности, в их секциях высокого давления конденсатор и десорбер представляют собой теплообменники с пучками соединенных с противоположными трубными решетками труб, через которые проходят конденсирующиеся газы и водный раствор, содержащий подлежащий разложению и десорбции карбамат.
Конструкция трубных решеток непосредственно связана с количеством закрепленных в них труб. Интенсивность теплообмена в конденсаторе и десорбере, а тем самым и их “производительность”, зависят от количества и размера труб. Следовательно, и производительность всей установки для получения мочевины подобного типа, а точнее ее секции высокого давления, также зависит от количества и размера труб трубных пучков (а тем самым и от размера соответствующих трубных решеток) конденсатора и десорбера секции. Очевидно потому, что увеличение производительности такой секции высокого давления требует соответствующего увеличения размера (диаметра), толщины и веса трубных решеток.
Очевидно, что увеличение размеров и веса трубных решеток, расположенных внутри корпуса аппарата высокого давления, в частности в обычном реакторе синтеза мочевины или в конденсаторе или десорбере, сверх определенных пределов является экономически не выгодным и технически невозможным. По существу именно предельно допустимые размеры трубных решеток и определяют максимальную производительность известных в настоящее время установок для получения мочевины.
Другой недостаток использования трубных пучков связан с проблемами распределения потока жидкости в трубках пучка и ненадежным охлаждением или нагреванием каждой трубки протекающей в межтрубном пространстве теплообменника жидкостью.
Помимо этого, еще одним существенным недостатком известных реакторов, используемых на установках для получения мочевины, является слишком продолжительное время простоя установки, необходимое для выявления и замены поврежденных, например, в результате коррозии труб, а также конструктивная сложность и высокая стоимость подобных реакторов.
Краткое изложение сущности изобретения
В основу настоящего изобретения была положена задача разработать предназначенную для получения мочевины установку “десорбционного типа”, конструкция и функциональные характеристики основных компонентов секции высокого давления которой позволяли бы, не ограничивая производительности установки, устранить недостатки, присущие известным установкам для получения мочевины подобного типа.
Эта задача решается согласно изобретению с помощью установки для получения мочевины указанного выше типа, секция высокого давления которой состоит из работающих по существу при одном и том же давлении реактора синтеза, расположенного в корпусе реактора конденсатора, десорбера и скруббера и конструктивные особенности которой представлены в соответствующих пунктах формулы изобретения.
Краткое описание чертежей
На прилагаемых к описанию чертежах показано:
на фиг.1 – схема секции высокого давления предлагаемой в изобретении установки для получения мочевины,
на фиг.2 – схематичное изображение в увеличенном масштабе реактора синтеза мочевины установки, схема которой показана на фиг.1,
на фиг.3 – увеличенное изображение в аксонометрии теплообменника реактора, показанного на фиг.2,
на фиг.4 и 5 – другие варианты выполнения схематично изображенного в увеличенном масштабе соответственно в аксонометрии и в виде спереди теплообменника, показанного на фиг.3,
на фиг.6 – другой вариант выполнения схематично изображенного в увеличенном масштабе и показанного на фиг.2 реактора синтеза мочевины предлагаемой в изобретении установки для получения мочевины и
на фиг.7 – увеличенное изображение в аксонометрии теплообменника реактора, показанного на фиг.6.
Подробное описание изобретения
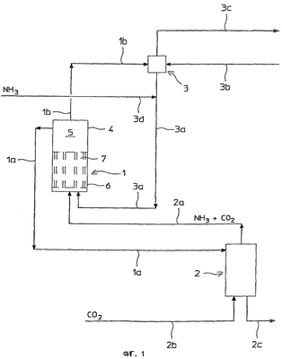
Показанная на фиг.1 секция высокого давления предназначенной для получения мочевины из аммиака и диоксида углерода установки так называемого “десорбционного типа” состоит по существу из реактора 1 синтеза, десорбера 2 и скруббера 3, которые работают при одном и том же давлении.
Внутреннее пространство вертикального корпуса 4 реактора 1 разделено на зону 5 реакции и зону 6 конденсации, в которой расположен подробно описанный выше конденсатор 7.
В зоне 5 реакции расположены перфорированные тарелки 5а обычной конструкции, показанные на фиг.1 пунктирными линиями.
Согласно одному, не ограничивающему объем изобретения примеру, при получении мочевины на упомянутой выше установке полученный в реакторе 1 водный раствор, содержащий мочевину, карбамат аммония и свободный аммиак по трубопроводу 1а подают в десорбер 2, в который одновременно снизу по трубопроводу 2b противотоком подают диоксид углерода (весь или часть диоксида углерода, подаваемого на установку).
Выходящие из десорбера 2 газы, по существу диоксид углерода и аммиак, по трубопроводу 2а подают в реактор 1 под конденсатором 7.
Раствор, выходящий из десорбера 2, по существу раствор мочевины, карбамата аммония и свободного аммиака, по трубопроводу 2с подают в (не показанную на схеме) секцию выделения мочевины.
Выходящие из реактора 1 синтеза газы, по существу не вступившие в реакцию аммиак и диоксид углерода и возможно инертные газы, по трубопроводу 1b подают в скруббер 3, в котором очищенные от инертных газов, отбираемых из скруббера по трубопроводу 3с, аммиак и диоксид углерода конденсируют потоком карбамата, который подают в скруббер по трубопроводу 3b из секции выделения мочевины.
Выходящий из скруббера раствор карбамата вместе с необходимым для проведения реакции аммиаком, добавляемым к раствору карбамата по трубопроводу 3d, подают по трубопроводу 3а в реактор 1 синтеза под конденсатором 7.
Как показано на фиг.2, цилиндрический корпус 4 реактора 1 закрыт с противоположных концов нижним 8 и верхним 9 днищами, при этом в центре нижнего днища 8 расположен патрубок с отверстием 11, предназначенный для подачи в реактор выходящих из десорбера 2 газов (см. ниже) и смеси карбамата аммония, отбираемой из скруббера 3 по трубопроводу 3а. Верхнее днище 9 имеет расположенный в центре патрубок с отверстием 12, через которое из реактора выходят образующиеся в процессе реакции газы, и люк 13, предназначенный для обслуживания реактора.
Конденсатор 7 имеет форму цилиндрического кольца, ось которого совпадает с осью корпуса 4. Наружный диаметр конденсатора несколько меньше внутреннего диаметра корпуса 4, а в центральном отверстии 14 конденсатора расположена съемная труба 15. Труба 15, длина которой больше высоты конденсатора 7, имеет выступающие из конденсатора наружу концы.
Для установки конденсатора 7 в корпусе реактора предназначен круглый кронштейн 16, закрепленный на внутренней стенке корпуса 4 на определенном расстоянии от его нижнего днища 8.
Предлагаемый в изобретении конденсатор 7 состоит из множества плоских теплообменников 17, которые равномерно расположены концентричными (в данном случае тремя) рядами по окружности конденсатора и каждый из которых (фиг.3) выполнен в виде плоской коробки в форме вытянутого прямоугольника с двумя противоположными длинными сторонами 17а, 17а и двумя противоположными короткими сторонами 17b, 17b.
В предлагаемом в изобретении конденсаторе 7 теплообменники 17 расположены по существу в радиальных плоскостях с параллельными оси конденсатора 7 (а следовательно, и корпуса 4) длинными сторонами 17а и радиальными короткими сторонами 17b и образуют множество состоящих из трех теплообменников 17 групп, лежащих в разных радиальных плоскостях.
Очевидно, что в зависимости от конкретных требований в каждой радиальной плоскости конденсатора можно расположить не три, а два или даже один плоский теплообменник, заполнив при этом теплообменниками по существу полностью все кольцевое пространство между центральной трубой 15 и корпусом 4.
Каждый теплообменник 17 (фиг.3) состоит из двух уложенных друг на друга и сваренных по периметру металлических листов 18, 19, между которыми остается свободное пространство, образующее внутреннюю полость 21 теплообменника, через которую проходит текучий теплоноситель.
На противоположных сторонах каждого теплообменника расположены патрубки 22, 23 соответственно для входа текучего теплоносителя во внутреннюю полость 21 теплообменника и его выхода из нее.
В первом варианте осуществления изобретения листы 18, 19, из которых изготовлен теплообменник, соединены друг с другом точечной сваркой во множестве равномерно расположенных предпочтительно по пять в каждом ряду точек 18а, которые придают теплообменнику 17 вид “стеганого полотна”. Такой теплообменник, у которого листы соединены между собой точечной сваркой в большом количестве точек 18а, а текучий теплоноситель протекает по извилистой траектории, обладает повышенной эффективностью теплообмена.
Входные патрубки 22 теплообменников 17 соединены с расположенной в корпусе над конденсатором 7 согнутой по окружности распределительной трубой 24, в которую по выходящей наружу из реактора 1 трубе 25 подают (или выводят) текучий теплоноситель.
Выходные патрубки 23 теплообменников соединены с расположенным под конденсатором 7 изготовленным из согнутой по окружности трубы коллектором 26, который трубой 27 соединен с патрубком 28 для выхода из реактора 1 (или подачи в него) текучего теплоносителя.
Под конденсатором 7 расположен закрепленный обычным способом в корпусе реактора изготовленный из согнутой по окружности трубы распределитель 29 газа, соединенный трубой 30 с соответствующим патрубком 30а, который в свою очередь соединен с трубопроводом 2а, по которому в реактор из десорбера 2 подают отбираемые из него газы.
На фиг.4 и 5 показан другой вариант конструкции теплообменника 17, отличающийся от рассмотренного выше варианта более высокой эффективностью теплообмена.
В этом варианте каждый теплообменник 117 также изготовлен из двух уложенных друг на друга, но соединенных сваркой только по периметру листов 118, 119 (и поэтому в отличие от описанного выше со ссылкой на фиг.3 теплообменника не имеет вида “стеганого полотна”), образующих на противоположных длинных сторонах 117а теплообменника каналы 31 и 32, один из которых служит распределителем, а другой – коллектором 32 текучего теплоносителя. Каналы 31 и 32 по меньшей мере через одно, предпочтительно через множество отверстий 31 а и 32а, расположенных вдоль одной или нескольких образующих цилиндра, сообщаются с внутренней полостью 121 теплообменника и соединены с патрубками 33 и 34 с выходящими наружу из реактора трубами для подачи в теплообменник 117 и отбора из него текучего теплоносителя.
Каналы 31 и 32 можно выполнить на длинных сторонах 117а теплообменника 117 либо сваркой штампованных краев металлических листов 118 и 119, либо из вваренных между листами труб, проходящих параллельно длинным сторонам 117а, 117а теплообменника рядом с краями его внутренней полости 121. Изготовленные из труб каналы имеют выходящие наружу из теплообменника 117 концы, используемые в качестве упомянутых выше патрубков 33 и 34.
Другой отличительной особенностью выполненного по этому варианту теплообменника является расположение патрубков 33 и 34 для входа и выхода текучего теплоносителя на одной и той же короткой стороне 117b теплообменника.
В конденсаторе, показанном на фиг.2, короткие стороны 117b теплообменников с соответствующими патрубками 33 и 34 расположены на верхней стороне каждого теплообменника 117.
По меньшей мере часть теплообменников 117 предлагаемого в изобретении конденсатора предпочтительно изготовить по схеме, показанной на фиг.5.
В изготовленных по этому варианту теплообменниках 117 внутренняя полость разделена на множество не сообщающих непосредственно друг с другом камер 121а, образованных, например, сварными швами 121b, параллельными коротким сторонам 117b теплообменника 117 и соответственно перпендикулярными каналам 31, 32 распределителя и коллектора, которыми сварены между собой металлические листы 118, 119, из которых изготовлен теплообменник. В камерах 121а, которые в зависимости от назначения теплообменника могут иметь одну и ту же или разную ширину, расположены параллельные каналам 31, 32 отражающие пластины 122, формирующие в каждой камере 121а спиральную траекторию движения текучего теплоносителя.
Каждая камера 121а соединена, по меньшей мере, одним отверстием 31а с распределителем 31 и, по меньшей мере, одним отверстием 32а с коллектором 32.
Необходимо отметить, что для регулирования падения давления, а следовательно, и более равномерного распределения текучего теплоносителя в камерах 121а отверстия 31а в распределителе 31 имеют разную ширину или диаметр, который увеличивается в направлении движения текучего теплоносителя в распределителе 31.
На фиг.6 в увеличенном масштабе показан реактор 1 синтеза мочевины, оборудованный конденсатором 107, который в целом аналогичен конденсатору 7, показанному на фиг.2, но состоит из теплообменников 123, которые конструктивно отличаются от теплообменников описанной выше конструкции.
Отдельные элементы предлагаемого в этом варианте осуществления изобретения реактора 1, которые конструктивно и функционально не отличаются от аналогичных элементов реактора, показанного на фиг.2, обозначены на чертежах теми же позициями и повторно не рассматриваются.
Конденсатор 107, предлагаемый в предпочтительном, но не ограничивающем объем изобретения варианте, показанном на фиг.6, состоит из множества равномерно распределенных в трех имеющих общую ось концентричных группах плоских полых теплообменников 123 прямоугольной формы. В конденсаторе 107, показанном на фиг.6, длинные стороны 123а всех теплообменников 123 расположены параллельно оси корпуса 4, а их короткие стороны 123b, 123с направлены радиально к оси корпуса.
Теплообменники 123 в этом варианте осуществления изобретения предпочтительно выполнить по типу теплообменника, показанного на фиг.3, т.е. теплообменника, изготовленного из двух сваренных между собой по периметру металлических листов с внутренней полостью 125 для прохода текучего теплоносителя.
Одной из отличительных особенностей этого варианта осуществления изобретения является наличие внутри теплообменника 123 примыкающей к одной из коротких сторон 123с теплообменника перегородки 124, длина которой меньше длины параллельных ей длинных сторон 123а теплообменника.
Перегородку 124 предпочтительно выполнить сваркой двух листов, из которых изготовлен теплообменник, по линии, проходящей по середине от одной короткой стороны 123с к другой, противоположной короткой стороне 123b и заканчивающейся на некотором расстоянии от нее.
Выполненная таким образом перегородка 124 разделяет внутреннюю полость 125 теплообменника 123 на две смежные части 125а, 125b, соединяющиеся друг с другом только у короткой стороны 123b, противоположной короткой стороне 123с, к которой примыкает перегородка.
Другой отличительной особенностью этого варианта осуществления изобретения является наличие расположенных на короткой стороне 123с теплообменника, к которой примыкает перегородка 124, двух выходящих наружу патрубков 126, 127, соединенных с обеими частями 125а, 125b внутренней полости 125 теплообменника.
В выполненном таким образом теплообменнике 123 разделенная перегородкой на две части 125а, 125b внутренняя полость 125 имеет U-образую форму, и проходящий через нее текучий теплоноситель сначала опускается вниз, а потом поднимается вверх.
В конденсаторе 107, предлагаемом в этом варианте осуществления изобретения (фиг.6), расположенные в радиальных плоскостях внутри корпуса 4 теплообменники 123 имеют вертикальные длинные стороны 123а и короткие горизонтальные нижнюю 123b и верхнюю 123с стороны, и расположенные на верхней стороне соединительные патрубки 126 и 127 и крепятся внутри корпуса 4 реактора к кронштейну 16 описанным выше образом.
Каждая группа из трех расположенных радиально теплообменников 123 соединена с трубой 128 для распределения подаваемого в них текучего теплоносителя и изготовленным из трубы коллектором 129, в котором собирается выходящий из теплообменников текучий теплоноситель. Труба 128 соединена с патрубками 126 теплообменников 123 трубами 128а, а труба 129 соединена трубами 129а с их другими патрубками 127.
Труба 128, через которую в теплообменники подается текучий теплоноситель, выходит наружу через стенку корпуса 4 реактора и соединяется с не показанным на схеме источником текучего теплоносителя (например, кипящей воды).
Коллектор 129 аналогично трубе 128 для подачи в теплообменники текучего теплоносителя выходит через стенку корпуса 4 реактора наружу и соединяется с различными внешними трубопроводами.
Для вывода труб 128 и 129 из корпуса 4 реактора наружу предназначены соответствующие соединительные патрубки 130 и 131, расположенные на корпусе на определенной высоте, близкой к высоте расположения верхних сторон 123с отдельных теплообменников 123 или совпадающей с ней.
Рассмотренный выше вариант обладает еще одним существенным преимуществом. Используемые в этом варианте теплообменники 123 не связаны жестко с другими частями реактора 1, в частности с его корпусом 4, и могут свободно расширяться вверх в вертикальном направлении.
Предлагаемая в изобретении конструкция позволяет избежать проблем механического характера, связанных с разным тепловым расширением теплообменников и корпуса реактора. Такие проблемы обычно возникают в тех случаях, когда протекающий внутри теплообменников текучий теплоноситель отличается от обтекающей теплообменники снаружи текучей среды.
На фиг.7 показан еще один вариант конструкции теплообменника 123, который предназначен главным образом при использовании воды в качестве протекающего через теплообменники текучего теплоносителя. В соответствии с этим вариантом расположенная во внутренней полости 125 теплообменника перегородка 124 наклонена под углом к примыкающей к ней стороне 123с теплообменника 123 (т.е. под углом к его длинным сторонам) и образует внутри теплообменника U-образную внутреннюю полость 125 с опускающимся, а затем поднимающимся вверх участками, которые имеют в направлении течения текучего теплоносителя постепенно возрастающую площадь поперечного сечения.
Размеры поперечного сечения теплообменников 17, 117 и 123 выбирают с учетом того, чтобы каждый теплообменник мог свободно пройти через расположенный на корпусе реактора 1 люк 13.
Преимущества настоящего изобретения можно в итоге сформулировать следующим образом:
– возможность создания установки для получения мочевины с существенно большей по сравнению с известными установками подобного типа производительностью, достигаемой за счет того, что наиболее важный с этой точки зрения аппарат, в частности конденсатор, в предлагаемой в изобретении установке не имеет никаких ограничивающих производительность установки трубных решеток;
– отсутствие проблемы, связанной с неравномерным распределением раствора мочевины и карбамата по трубам трубных пучков и негарантированным эффективным нагревом или охлаждением труб обтекающей их снаружи текучей средой;
– возможность устранения недостатков механического характера, связанных с разным тепловым расширением теплообменников и корпуса реактора;
– возможность легкого и быстрого определения и замены поврежденных пластин или групп теплообменников;
– легкость и быстрота монтажа конденсатора внутри соответствующего корпуса, обусловленная небольшим размерами теплообменников, выбранных с учетом их прохождения через обычно расположенный на корпусе реактора люк;
– снижение капитальных затрат и возможность создания установки более простым и более дешевым по сравнению с известными установками способом.
Изобретение не исключает возможности внесения в рассмотренные выше варианты его осуществления различных очевидных для специалистов изменений и усовершенствований, не искажающих смысла и не выходящих за объем изобретения, определяемый его формулой.
Формула изобретения
1. Установка для получения мочевины из аммиака и диоксида углерода, содержащая так называемую секцию высокого давления, состоящую из работающих, по существу, при одном и том же давлении реактора синтеза и расположенного внутри реактора конденсатора (7, 107), отличающаяся тем, что конденсатор (7, 107) состоит из множества плоских пластинчатых теплообменников (17, 117, 123), по существу, прямоугольной формы, длинные стороны (17а, 117а, 123а) которых расположены параллельно оси реактора (1).
2. Установка по п.1, отличающаяся тем, что каждый теплообменник (17, 117, 123) изготовлен из двух уложенных друг на друга металлических листов (18, 19; 118, 119), соединенных по периметру сваркой и образующих внутри теплообменника расположенную между ними полость (21, 121, 125) определенной ширины.
3. Установка по п.2, отличающаяся тем, что листы (18, 19), из которых изготовлены теплообменники, соединены также между собой сваркой в отдельных точках (18а), формирующих во внутренней полости теплообменников извилистую траекторию течения текучей среды, состоящую из сообщающихся друг с другом участков, соединенных с расположенными на противоположных сторонах теплообменников (17) патрубками (22, 23) для входа и выхода в теплообменники (17) текучего теплоносителя.
4. Установка по п.3, отличающаяся тем, что точки (18а) сварки распределены по группам, каждая из которых состоит из пяти точек.
5. Установка по п.3, отличающаяся тем, что входные и выходные патрубки (22, 23) всех теплообменников (17) соединены с трубами (24, 26), предназначенными для распределения текучего теплоносителя, подаваемого в теплообменники, соответственно для сбора текучего теплоносителя, выходящего из теплообменников.
6. Установка по п.2, отличающаяся тем, что она имеет расположенные на двух противоположных сторонах (117а) каждого теплообменника (117) по меньшей мере один канал (31) для распределения подаваемого в теплообменник текучего теплоносителя и по меньшей мере один канал (32) для сбора выходящего из теплообменника текучего теплоносителя, которые соединены с одной стороны с внутренней полостью (121) теплообменника по меньшей мере одним выполненным в них отверстием (31а, 32а), а с другой стороны – с расположенными на одной и той же короткой стороне (117b) теплообменника (117) выходящими из теплообменника наружу патрубками (33, 34) для подачи в теплообменник и отвода из него текучего теплоносителя.
7. Установка по п.6, отличающаяся тем, что каналы (31, 32) для распределения подаваемого в теплообменник текучего теплоносителя и сбора выходящего из теплообменника текучего теплоносителя образованы трубами, расположенными во внутренней полости (121) теплообменника (117) и закрепленными на его противоположных длинных сторонах (117а).
8. Установка по п.7, отличающаяся тем, что каналы (31, 32) для распределения и сбора текучего теплоносителя выполнены в соответствующих длинных сторонах (117а) теплообменника во время его изготовления.
9. Установка по п.2, отличающаяся тем, что внутренняя полость (121) теплообменника разделена на множество камер (121а), непосредственно не сообщающихся друг с другом, а соединенных с каналом (31) для распределения подаваемого в теплообменник текучего теплоносителя и с каналом (32) для сбора выходящего из теплообменника текучего теплоносителя через выполненные в них отверстия (31а, 32а).
10. Установка по п.9, отличающаяся тем, что камеры (121а) образованы расположенными перпендикулярно каналам (31, 32) сварными швами (121b), которыми сварены друг с другом металлические листы, из которых изготовлен теплообменник.
11. Установка по п.10, отличающаяся тем, что в каждой камере (121а) имеется множество параллельных каналам (31, 32) перегородок (122), формирующих во внутренней полости теплообменника извилистую траекторию течения текучего теплоносителя.
12. Установка по любому из пп.1-11, отличающаяся тем, что конденсатор имеет, по существу, форму цилиндрического кольца с центральным отверстием (14) определенного диаметра и состоит из множества теплообменников (17, 117, 123), расположенных радиально и распределенных на несколько концентричных групп, имеющих общую ось.
13. Установка по п.2, отличающаяся тем, что по меньшей мере один теплообменник (123) имеет внутреннюю перегородку (124), которая проходит от одной его стороны (123с) к его другой, противоположной стороне (123b) и не доходит до нее на определенное расстояние и формирует в полости (125) теплообменника U-образную траекторию течения текучего теплоносителя с опускающимся вниз и поднимающимся вверх участками (125a, 125b), соединенными с соответствующими выходящими из теплообменника наружу патрубками (126, 127).
14. Установка по п.13, отличающаяся тем, что перегородка (124) расположена в полости (125) теплообменника под углом к стороне (123с) теплообменника и поэтому участки (125a, 125b) U-образной траектории имеют постепенно возрастающее поперечное сечение.
15. Установка по п.1, отличающаяся тем, что поперечное сечение теплообменников (17, 117, 123) меньше поперечного сечения люка, который расположен на днище корпуса реактора.
РИСУНКИ
|