|
|
(21), (22) Заявка: 2004118066/04, 12.11.2002
(24) Дата начала отсчета срока действия патента:
12.11.2002
(30) Конвенционный приоритет:
16.11.2001 (пп.1-9) EP 01309673.0
(43) Дата публикации заявки: 10.01.2006
(46) Опубликовано: 10.04.2007
(56) Список документов, цитированных в отчете о поиске:
RU 2014318 C1, 15.06.1994. ЕР 0434485 А1, 26.06.1991. US 4480134 A, 30.01.1984. US 3932534 A, 13.01.1976. E. DE RUITER et al, L’hydrogenation en phase liquide sur le nickel. Bull. Soc.Chim.Belg., vol.58, № 1-3, 1949, p.230. КРУЖАЛОВ Б.Д. и др., Совместное получение фенола и ацетона. М.: Госхимиздат, 1963.
(85) Дата перевода заявки PCT на национальную фазу:
16.06.2004
(86) Заявка PCT:
EP 02/12650 (12.11.2002)
(87) Публикация PCT:
WO 03/011801 (13.02.2003)
Адрес для переписки:
129010, Москва, ул. Б.Спасская, 25, стр.3, ООО “Юридическая фирма Городисский и Партнеры”, пат.пов. Е.Е.Назиной, рег. № 517
|
(72) Автор(ы):
ЧУИТЕР Лесли Эндрю (NL), ДЕККЕР Вильхельмус Корнелис Николас (NL), ЛЕКРИВЭН Стефан Жан Пьер (NL), МЕСТЕРС Каролус Маттиас Анна Мария (NL), РОДЖЕРС Эндрю Нив (NL), СИНГОРЕДЬО Лидия (NL)
(73) Патентообладатель(и):
ШЕЛЛ ИНТЕРНЭШНЛ РИСЕРЧ МААТСХАППИЙ Б.В. (NL)
|
(54) СПОСОБ ПОЛУЧЕНИЯ ИЗОПРОПАНОЛА, СПОСОБ ПОЛУЧЕНИЯ ФЕНОЛА И ИЗОПРОПАНОЛА, СОДЕРЖАЩЕГО ПРОДУКТЫ ГИДРИРОВАНИЯ БЕНЗОЛА, И СПОСОБ ГИДРИРОВАНИЯ ИСХОДНОГО АЦЕТОНА, ЗАГРЯЗНЕННОГО БЕНЗОЛОМ
(57) Реферат:
Изобретение относится к способам получения изопропанола (варианты) и к способу получения фенола и изопропанола, содержащего продукты гидрирования бензола. Способ получения изопропанола включает гидрирование исходного ацетона, содержащего от 0,01 ч/млн до 10000 ч/млн бензола, в присутствии водорода и катализатора с получением изопропанола и продуктов гидрирования бензола, при этом гидрирование ацетона и бензола в исходном сырье протекает одновременно. Вариант способа получения изопропанола включает стадии разделения продуктов. Способ получения фенола и изопропанола, содержащего продукты гидрирования бензола, включает стадии алкилирования бензола изопропанолом и/или пропиленом с образованием кумола, окисления полученного кумола, в гидропероксид кумола, кислотного расщепления гидропероксида кумола с получением фенола и ацетона, загрязненного бензолом, содержащего от 0,01 ч/млн до 10000 ч/млн бензола, предпочтительно, концентрирования полученного ацетона, загрязненного бензолом и гидрирования загрязненного бензолом ацетона, содержащего от 0,01 ч/млн до 10000 ч/млн, в присутствии водорода и катализатора, в изопропанол, содержащий продукты гидрирования бензола, причем гидрирование ацетона и бензола проводят одновременно. 3 н. и 6 з.п. ф-лы, 1 табл., 1 ил.
Настоящее изобретение относится к процессу гидрирования исходного ацетона, содержащего бензол, получением изопропанола.
Изопропанол является широко используемым промежуточным соединением в органическом синтезе, а также важным коммерческим растворителем.
Ацетон получают в больших количествах в качестве побочного продукта в производстве фенола по кумоловому способу. В кумоловом способе бензол алкилируют пропеном и/или изопропанолом и получают кумол, кумол окисляют в гидропероксид кумола, а гидропероксид кумола расщепляют кислотой с получением фенола и ацетона. Ацетон, получаемый по указанному кумоловому способу, загрязнен бензолом. Как указано, например, в европейской заявке ЕР-А-0434485, производство ацетона в кумоловом способе является недостатком, поскольку потребность в феноле растет значительно быстрее, чем потребность в ацетоне. Поэтому в заявке ЕР-А-0434485 предлагается гидрировать ацетон, полученный по кумоловому способу, в изопропанол и возвращать изопропанол в кумоловый процесс.
В заявке ЕР-А-0434485 не указано, что в ацетоне, который получают по кумоловому способу, присутствует бензол.
Если ацетон, полученный по кумоловому способу, описанному в заявке ЕР-А-0434485, действительно содержит бензол, то наличие этого бензола в возвращаемом в процесс потоке получаемого изопропанола не влияет на сам процесс. Любое количество бензола, который присутствует в рециклируемом потоке, может повторно использоваться при получении кумола. Таким образом, в процессе, приведенном в заявке ЕР-А-0434485, выгодно гидрировать лишь сам ацетон.
Более того, если ацетон действительно содержит бензол, то специалист вправе ожидать, что в реакцию будет вступать только ацетон. Гидрирование бензола протекает значительно труднее, чем гидрирование ацетона. Это иллюстрирует, например, статья Е. de Ruiter and J.C.Jungers, Bull. Soc. Chim. Belg., 58, p.230, 1949, в которой указано, что в том случае, когда гидрируют смесь ацетона и бензола, ацетон реагирует первым.
В последнее время стало желательным превращать ацетон, полученный по кумоловому способу, в изопропанол, который может быть использован для других целей помимо рециклирования в кумоловый процесс.Однако присутствие любых количеств бензола делает неудобным использование изопропанола в других целях, кроме возврата в кумоловый процесс.
Удаление следов бензола из ацетона путем дистилляции весьма затруднительно. Удаление бензола из изопропанола после гидрирования является еще более трудным, поскольку температуры кипения бензола и изопропанола близки.
Целью настоящего изобретения поэтому является способ, в котором ацетон, загрязненный бензолом, такой как ацетон, получаемый по кумоловому способу, может быть экономически выгодным образом превращен в изопропанол, который может использоваться в других целях, помимо рециклирования.
Такой экономически выгодный процесс был найден путем гидрирования имеющегося бензола.
В соответствии с изобретением предлагается способ получения изопропанола, в котором исходный, загрязненный бензолом, ацетон, содержащий от 0,01 до 10000 ч/млн бензола, гидрируют с получением изопропанола и продуктов гидрирования бензола и в котором гидрирование ацетона и бензола проводят одновременно.
Способ по настоящему изобретению имеет то преимущество, что он может использоваться для получения изопропанола, содержащего сниженное количество бензола или практически не содержащего бензол, который может найти различные применения.
Под изопропанолом, который практически не содержит бензол, понимают изопропанол, который содержит менее 2 ч/млн (2 мг/кг), приемлемо менее 1 ч/млн (1 мг/кг), предпочтительно менее 0,4 ч/млн (0,4 мг/кг), более предпочтительно менее 0,1 ч/млн (0,1×10-6), еще более предпочтительно менее 20 частей на миллиард (20 мкг/кг) и наиболее предпочтительно вообще не содержит бензол.
В процессе по настоящему изобретению бензол может, например, гидрироваться в циклогексан, циклогексен или циклогексадиен.
Гидрированию предпочтительно подвергается более 70% бензола, более предпочтительно более 90%, еще более предпочтительно более 95% и наиболее предпочтительно от 99% до 100% бензола.
Предпочтительными факторами, которые влияют на гидрирование бензола, являются тип и количество используемого катализатора; температура; количество каждого из реагентов или скорость подачи, с которой каждый реагент подается в реактор. Гидрирование бензола преимущественно проводят с использованием катализатора определенного типа, способного гидрировать бензол, в то время как все другие факторы предпочтительно выбирают таким образом, чтобы осуществить оптимальный процесс гидрирования.
Гидрирование ацетона и бензола в исходном ацетоне, загрязненном бензолом, можно осуществить в одну или несколько отдельных стадий, однако преимущественно их гидрирование проводят одновременно. Таким образом, катализатором преимущественно является катализатор, способный одновременно гидрировать ацетон и бензол.
Гидрирование ацетона и бензола преимущественно проводят в присутствии катализатора, содержащего металл, который способен осуществлять гидрирование.
Предпочтительные металлы для гидрирования включают медь, никель, платину, палладий, рутений и родий. Может использоваться только один металл или комбинация металлов.
Металл преимущественно наносят на носитель. Подходящими носителями являются углерод, оксид алюминия, оксид кремния, оксид циркония и оксид титана. Предпочтительным носителем является оксид кремния, поскольку использование носителя из оксида кремния приводит к очень высокой селективности в отношении гидрирования ацетона в изопропанол. Предпочтительными примерами носителей из оксида кремния являются Кизельгур, осажденный оксид кремния и силикагель.
Особенно предпочтительным катализатором является катализатор гидрирования, содержащий никель, преимущественно нанесенный на носитель. Наиболее предпочтительным является катализатор, содержащий никель на носителе из оксида кремния.
Из практических соображений в настоящее время могут быть использованы катализаторы, содержащие на носителе от 5% масс./масс. до 80% масс./масс. металла. Если металлом для гидрирования является никель, то предпочтительными являются катализаторы, содержащие более 25% масс./масс. никеля, преимущественно более 50% масс./масс. никеля и более предпочтительно в диапазоне от 50 до 70% масс./масс. никеля включительно.
Предпочтительным способом обеспечения одновременного гидрирования ацетона и бензола является использование никелевого катализатора, дисперсия и содержание никеля в котором таково, что площадь поверхности никеля составляет по крайней мере 15 м2 никеля на грамм катализатора. Более предпочтительно площадь поверхности никеля составляет по крайней мере 20 м2 никеля на грамм катализатора и наиболее предпочтительно площадь поверхности никеля составляет по крайней мере 30 м2 никеля на грамм катализатора. Подходящий практический верхний предел получают при величине 50 м2 никеля на грамм катализатора.
Площадь поверхности никеля можно определить измерением емкости монослоя для хемисорбции водорода, как это описано в J.W.E.Coenen and B.C.Linsen, “Physical and Chemical Aspects of Adsorbents and Catalysts”, B.C.Linsen, ed. Academic Press (1970) 471 или в R.Z.C. van Meerten, A.H.G.M.Beaumont, P.F.M.T. van Nisselrooij and J.W.E.Coenen, Surface Sci 135 (1983) 565. При измерении площади поверхности никеля монослой определяют как количество водорода, абсорбированного при давлении водорода 1 бар и температуре 293 К. Количество адсорбированного водорода определяют после измельчения при температуре 725 К в течение 4 час, последующего вакуумирования в течение 2 час при температуре 675 К и контролируемого напуска водорода.
Катализатор предпочтительно имеет объемную плотность в интервале 800-1200 кг/м3, предпочтительно имеет БЭТ-площадь поверхности в интервале 100-250 м2/г, предпочтительно имеет объем пор в диапазоне от 0,20 до 0,50 см3/г и предпочтительно имеет диаметр экструдата в диапазоне от 1 до 6 мм.
Катализатор находится преимущественно в виде неподвижного слоя. В наиболее предпочтительном варианте осуществления изобретения способ по настоящему изобретению проводят в режиме подачи небольшого потока реагентов. Т.е. жидкий ацетон подают тонкой струей вдоль поверхности катализатора, который помещают в атмосферу, заполненную газообразным водородом.
Молярное отношение водорода к ацетону преимущественно составляет по крайней мере 1. Более предпочтительно значение молярного отношения водорода к ацетону находится в интервале от 1:1 до 10:1, наиболее более предпочтительно в интервале от 1,5:1 до 5:1.
Процесс гидрирования можно проводить в широком диапазоне температур, давлений в реакторе и используемых скоростей движения жидкости и газа вдоль поверхности. В зависимости от типа используемого катализатора, каждое из указанных условий реакции оптимизируют таким образом, чтобы получить оптимальное гидрирование бензола. Например, менее активный катализатор требует более высокой температуры реакции. Далее, использование более высоких скоростей движения жидкости и газа вдоль поверхности потребует более высоких температур, в то время как использование более низкой температуры реакции может потребовать использования более низких скоростей движения жидкости и газа вдоль поверхности. Предпочтительное значение температуры в реакторе находится в интервале от 40°С до 150°С, более предпочтительно в интервале от 60°С до 130°С. По мере старения катализатора может потребоваться более высокая температура. Величина давления реакции предпочтительно составляет в интервале от 1 до 100 бар, более предпочтительно в интервале от 10 до 40 бар. Более высокое давление ведет к увеличению затрат на компрессию газа, в то время как более низкое давление может привести к низкой скорости конверсии.
Скорость движения газа вдоль поверхности предпочтительно составляет в интервале 0,01-10 м/с, а скорость движения жидкости вдоль поверхности преимущественно составляет в интервале 0,0001-0,1 м/с.
Газ преимущественно представляет собой по существу чистый водород, хотя указанный водород может содержать небольшое количество, например, в интервале от 0 до 15% масс./масс., в частности, метана, этана, азота и других примесей.
Способ по настоящему изобретению обладает тем преимуществом, что может осуществляться для исходного ацетона, содержащего бензол в широком диапазоне концентраций. Возможное содержание бензола в исходном ацетоне может быть в диапазоне от 0,01 ч/млн до 10000 ч/млн, более предпочтительно от 0,1 ч/млн до 100 ч/млн Способ по настоящему изобретению далее предоставляет особые преимущества для исходного ацетона, содержащего по крайней мере 0,5 ч/млн бензола, и эти преимущества становятся еще более заметны, когда концентрация бензола возрастает по крайней мере до 1 ч/млн Преимущества еще более заметны для исходного ацетона содержащего по крайней мере 1,5 ч/млн бензола.
Способ по настоящему изобретению очень удобно комбинировать с процессом получения фенола. Таким образом, в настоящем изобретении предлагается процесс получения фенола, включающий:
a) алкилирование бензола изопропанолом и/или пропиленом с получением кумола;
b) окисление кумола со стадии а) в гидропероксид кумола;
c) кислотное расщепление гидропероксида кумола с получением фенола и ацетона, загрязненного бензолом;
d) предпочтительно концентрирование ацетона, загрязненного бензолом, который получают на стадии с);
е) гидрирование ацетона, загрязненного бензолом, который получают на стадии d), в изопропанол, содержащий продукты гидрирования бензола.
Стадии с а) по с) удобно проводить, как описано, например, в заявках ЕР-А-0371738 и ЕР-А-0434485. Стадию d) удобно осуществлять дистилляцией. Стадию е) удобно проводить, как указано ранее в настоящем описании. Изопропанол, полученный на стадии е), может быть использован в качестве растворителя в различных применениях. Если необходимо, изопропанол, полученный на стадии е), можно также вернуть на стадию а). Подобный рецикл удобно осуществлять, как описано в заявках ЕР-А-0371738 и ЕР-А-0434485.
С целью дальнейшего повышения качества изопропанола, способ по настоящему изобретению предпочтительно комбинируют с рядом стадий разделения.
Таким образом, в изобретении также предлагается способ гидрирования исходного ацетона, загрязненного бензолом, как указано ранее, который включает следующие стадии:
i) одновременное гидрирование обоих компонентов исходного ацетона, содержащего от 0,01 ч/млн до 10000 ч/млн бензола, в присутствии водорода, с образованием продукта реакции, содержащего изопропанол и продукты гидрирования бензола;
ii) отделение газообразных продуктов от продукта реакции, полученного на стадии i), и выделение жидкого продукта реакции;
iii) отделение легких побочных продуктов и непрореагировавшего ацетона от жидкого продукта реакции, полученного на стадии ii), и выделение полученного сырого изопропанола;
iv) отделение тяжелых побочных продуктов от сырого изопропанола, полученного на стадии iii), и извлечение продукта в виде очищенного изопропанола;
v) рециклирование непрореагировавшего ацетона и/или части легких побочных продуктов, полученных на стадии iii), и/или части тяжелых побочных продуктов, полученных на стадии iv), на стадию гидрирования i).
Указанный процесс включает ряд стадий разделения веществ, что приводит к получению изопропанола очень высокого качества. Более того, рециклирование побочных продуктов, как указано на стадии v), улучшает селективность процесса.
Способ можно проводить как периодический, полупериодический и непрерывный процесс. Процесс удобно проводить как непрерывный. В указанном непрерывном процессе предварительно нагретую и предпочтительно предварительно подготовленную смесь исходного ацетона, загрязненного бензолом, и водорода подают на стадию i), тем самым начиная процесс. Затем ацетон и бензол, преимущественно одновременно, гидрируют. Поток продуктов со стадии i) может содержать изопропанол, побочные продукты, такие как диизопропиловый эфир и/или гексиленгликоль, необязательно продукты гидрирования бензола, такие как, например, циклогексан, и, если они присутствуют, непрореагировавший водород и/или ацетон.
На стадии ii) далее проводят отделение газообразных продуктов от продукта реакции, полученного на стадии i). Для этого преимущественно применяют газожидкостной сепаратор. Газообразные продукты, помимо других испаряющихся побочных продуктов, могут содержать непрореагировавший водород. Часть газообразного продукта предпочтительно отдувают, а оставшееся количество предпочтительно рециклируют на стадию i). На стадии ii) получают жидкий продукт реакции. Затем на стадии iii) легкие побочные продукты и непрореагировавший ацетон отделяют от указанного жидкого продукта реакции. Указанное разделение преимущественно осуществляют дистилляцией. После указанного разделения получают продукт в виде сырого изопропанола, от которого на стадии iv) отделяют тяжелые побочные продукты. Указанное разделение также предпочтительно осуществляют дистилляцией. После разделения получают продукт в виде очищенного изопропанола. В предпочтительном варианте осуществления изобретения этот очищенный изопропанол подвергают дальнейшей обработке и получают конечный продукт в виде изопропанола. Указанную дополнительную обработку с целью получения конечного продукта в виде изопропанола преимущественно осуществляют на следующих дополнительных стадиях:
vi) выделение азеотропной смеси изопропанола, воды и циклогексана из очищенного изопропанола, полученного на стадии iv), и получение конечного продукта в виде изопропанола;
vii) разделение азеотропной смеси изопропанола, воды и циклогексана, полученной на стадии vi, на воду и азеотропную смесь изопропанола и циклогексана; и
viii) необязательное рециклирование азеотропной смеси изопропанола и циклогексана, полученной на стадии vii), на стадию vi).
Разделение на стадии vi) и стадии vii) преимущественно осуществляют дистилляцией.
Непрореагировавший ацетон и часть легких побочных продуктов, полученных на стадии iii), и часть тяжелых побочных продуктов со стадии iv) возвращают для гидрирования на стадию i). В предпочтительном варианте осуществления изобретения поток продуктов, рециклируемых со стадии iii) на стадию i), в основном содержит ацетон и диизопропиловый эфир. Поток продуктов, рециклируемых со стадии iv) на стадию i), предпочтительно содержит в основном гексиленгликоль. За счет рециклирования указанных побочных продуктов селективность процесса улучшается, что приводит к повышению общего выхода изопропанола.
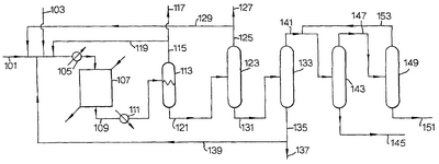
Иллюстрация способа по настоящему изобретению далее проводится со ссылкой на чертеж.
Поток ацетона (101), загрязненного бензолом, смешивают с потоком свежего водорода (103), предварительно нагревают в теплообменнике (105) и подают в реактор (107), содержащий 55-62% масс./масс. катализатора никеля на оксиде кремния, площадь поверхности никеля в котором составляет 34 м2/г, в виде неподвижного слоя катализатора. Вытекающий поток продукта реакции (109) выводят из реактора (107) и охлаждают в теплообменнике (111). После охлаждения газообразные соединения из потока продуктов отделяют от жидких соединений в газожидкостном сепараторе (113). Из верхней части газожидкостного сепаратора (113) выводится поток газа (115). Часть этого потока (115) отдувают (117), в то время как остальную часть рециклируют в реактор (119). Из нижней части газожидкостного сепаратора удаляют поток жидкости (121) и подают его в дистилляционную колонну (123). Из верхней части дистилляционной колонны (123) выделяют поток легких продуктов (125). Поток (125) в основном состоит из непрореагировавшего ацетона и побочного продукта в виде диизопропилового эфира. Часть указанного потока легких продуктов (125) отдувают (127), в то время как другую часть рециклируют в реактор (129). Из нижней части указанной дистилляционной колонны (123) удаляют поток сырого изопропанола (131) и направляют его во вторую дистилляционную колонну (133). Из нижней части указанной второй дистилляционной колонны (133) удаляют поток тяжелых продуктов (135). Поток (135) в основном содержит побочный продукт в виде гексиленгликоля. Часть этого потока тяжелых продуктов (135) отдувают (137), в то время как остальную часть рециклируют в реактор (139). Из верхней части указанной второй дистилляционной колонны (133) удаляют поток очищенного изопропанола (141) и направляют его в третью дистилляционную колонну (143). Из нижней части этой третьей дистилляционной колонны (143) получают поток конечного продукта – изопропанола (145). Из верхней части этой третьей дистилляционной колонны (143) получают поток азеотропной смеси циклогексана, воды и изопропанола (147), который подают в четвертую дистилляционную колонну (149). Из нижней части этой четвертой дистилляционной колонны (149) удаляют поток воды (151), которую отбрасывают. Из верхней части четвертой дистилляционной колонны (149) выделяют поток азеотропной смеси циклогексана и изопропанола (153), который рециклируют в третью дистилляционную колонну (143).
Изобретение далее проиллюстрировано следующими примерами.
Примеры
В реакторе в виде трубки длиной 35 см и внутренним диаметром 10 мм формируют неподвижный слой, содержащий 5 г катализатора, как указано в таблице 1. Исходный ацетон, содержащий 50 ч/млн (50 мг/кг) бензола, помещают в реактор в количестве, выраженном в весовых частях на пространственный объем в час (WHSV), как указано в таблице 1. Исходный ацетон гидрируют в присутствии водорода и катализатора при температуре и под давлением, указанными в таблице 1. Степени превращения бензола и ацетона приведены в таблице 1. Селективность в отношении изопропанола, рассчитанная по отношению ко всем продуктам превращения ацетона, превышает 99%. Содержание бензола в потоке полученного продукта в виде изопропанола определяют методом газовой хроматографии/масс-спектрометрии по массе 78 в одноионном режиме. Содержание бензола в полученном изопропаноле указано в таблице 1.
| Таблица 1 |
| Пример |
Катализатор |
Т (°С) |
Р (бар) |
мол Н2/мол ацетона |
WHSV (кг сырья/кг катализатора/час |
Конверсия ацетона (% масс./масс.) |
Конверсия бензола (% масс./масс.) |
Количество бензола, оставшееся в продукте |
| 1 |
Leuna 6564 tl 1.2 |
90 |
20 |
2 |
1,5 |
>99,9 |
>99,9 |
<20 частей на миллиард |
| 2 |
Leuna 6512 AS |
130 |
20 |
2 |
1,5 |
99,9 |
>99,9 |
<20 частей на миллиард |
| 3 |
Leuna 6512 AS |
70 |
20 |
2 |
0,5 |
>99,9 |
>99,9 |
26 частей на миллиард |
| 4 |
Leuna 6512 AS |
90 |
20 |
2 |
0,5 |
>99,9 |
>99,9 |
<20 частей на миллиард |
| 5 |
Leuna 6512 AS |
110 |
20 |
2 |
0,5 |
>99,9 |
>99,9 |
<20 частей на миллиард |
– Leuna 6512 AS обозначает катализатор 55-62% масс./масс. никель на оксиде кремния, площадь поверхности никеля в котором составляет 34 м2/г катализатора, объемная плотность составляет 850-1150 кг/м3, БЭТ-поверхность составляет 180-240 м2/г катализатора и объем пор составляет 0,25-0,45 см3/г катализатора (катализатор Leuna 6512 AS получают от компании CRI KataLeuna).
– Leuna 6564 tl 1.2 обозначает катализатор 28% масс./масс. никель на оксиде алюминия, площадь поверхности никеля в котором составляет 43 м2/г катализатора, объемная плотность составляет 810-910 кг/м3, БЭТ-поверхность составляет 100-120 м2/г катализатора и объем пор составляет 0,38-0,46 см3/г катализатора (катализатор Leuna 6564 tl 1.2 получают от компании CRI KataLeuna).
Формула изобретения
1. Способ получения изопропанола, в котором исходный ацетон, содержащий от 0,01 до 10000 ч/млн бензола, гидрируют в присутствии водорода и катализатора с получением изопропанола и продуктов гидрирования бензола, при котором гидрирование ацетона и бензола в исходном сырье протекает одновременно.
2. Способ по п.1, в котором гидрирование проводят в присутствии катализатора, содержащего никель.
3. Способ по п.2, в котором гидрирование проводят в присутствии никелевого катализатора, площадь поверхности никеля в котором составляет, по крайней мере, 15 м2 никеля на грамм катализатора.
4. Способ по п.2 или 3, в котором катализатор находится преимущественно в виде неподвижного слоя.
5. Способ по п.1 или 2, в котором процесс проводят при подаче небольшого потока реагентов.
6. Способ по п.1 или 2, в котором исходный ацетон содержит от 0,1 до 100 ч/млн бензола.
7. Способ получения фенола и изопропанола, содержащего продукты гидрирования бензола, включающий:
a) алкилирование бензола изопропанолом и/или пропиленом с образованием кумола;
b) окисление кумола, полученного на стадии а), в гидропероксид кумола;
c) кислотное расщепление гидропероксида кумола с получением фенола и ацетона, загрязненного бензолом, содержащего от 0,01 до 10000 ч/млн бензола;
d) предпочтительно, концентрирование ацетона, загрязненного бензолом, который получают на стадии с);
e) гидрирование загрязненного бензолом ацетона, полученного на стадии d) и содержащего от 0,01 до 10000 ч/млн, в присутствии водорода и катализатора, в изопропанол, содержащий продукты гидрирования бензола, причем гидрирование ацетона и бензола проводят одновременно.
8. Способ по п.7, в котором стадию е) проводят в присутствии катализатора, содержащего никель.
9. Способ гидрирования исходного ацетона, загрязненного бензолом, включающий следующие стадии:
i) гидрирование исходного ацетона, содержащего от 0,01 до 10000 ч/млн бензола, в присутствии водорода и катализатора, при этом гидрирование ацетона и бензола в исходном сырье протекает одновременно с образованием продукта реакции, содержащего изопропанол и продукты гидрирования бензола;
ii) отделение газообразных продуктов от продукта реакции, полученного на стадии i); выделение жидкого продукта реакции;
iii) отделение легких побочных продуктов и непрореагировавшего ацетона от жидкого продукта реакции, полученного на стадии ii), и выделение полученного сырого изопропанола;
iv) отделение тяжелых побочных продуктов от сырого изопропанола, полученного на стадии iii), и выделение продукта в виде очищенного изопропанола;
v) рециклирование непрореагировавшего ацетона и/или части легких побочных продуктов, полученных на стадии iii), и/или части тяжелых побочных продуктов, полученных на стадии iv), на стадию гидрирования i).
РИСУНКИ
QB4A – Регистрация лицензионного договора на использование изобретения
Лицензиар(ы): ШЕЛЛ ИНТЕРНЭШНЛ РИСЕРЧ МААТСХАППИЙ Б.В. (NL)
Вид лицензии*: НИЛ
Лицензиат(ы): ШЕЛЛ РИСЕЧ ЛИМИТИД (GB)
Договор № РД0044384 зарегистрирован 09.12.2008
Извещение опубликовано: 20.01.2009 БИ: 02/2009
* ИЛ – исключительная лицензия НИЛ – неисключительная лицензия
|
|