|
|
(21), (22) Заявка: 2002123287/12, 29.08.2002
(24) Дата начала отсчета срока действия патента:
29.08.2002
(30) Конвенционный приоритет:
30.08.2001 (пп.1-6) US 09/942,899
(43) Дата публикации заявки: 10.04.2004
(46) Опубликовано: 10.04.2007
(56) Список документов, цитированных в отчете о поиске:
JP 63236718 А, 03.10.1988. US 4529431 A, 16.07.1985. US 3650723 A, 21.03.1972. DE 19643108 A, 23.04.1998.
Адрес для переписки:
103735, Москва, ул. Ильинка, 5/2, ООО “Союзпатент”, пат.пов. Ю.В.Пинчуку, рег.№ 656
|
(72) Автор(ы):
ХЕЙС Ден М. (US), ТИППИНГ Марк Р. (US)
(73) Патентообладатель(и):
ОУЭНС-БРОКВЭЙ ГЛАСС КОНТЕЙНЕР ИНК. (US)
|
(54) УСТРОЙСТВО ТРАНСПОРТИРОВАНИЯ КАПЕЛЬ СТЕКЛОМАССЫ В МАШИНУ ДЛЯ ИЗГОТОВЛЕНИЯ СТЕКЛОТАРЫ
(57) Реферат:
Изобретение относится к устройству для подачи капель расплавленного стекла из источника капель стекломассы в черновую форму одной из прилегающих секций формующей машины стеклянных емкостей отдельно-секционного (ОС) типа. В частности, изобретение относится к лотку колеблющегося типа для подачи капель расплавленного стекла из калленарезочного устройства в относительно стационарный желоб. Задача данного изобретения заключается в выполнении лотка для транспортирования капель расплавленного стекла, с возможностью работы с широким диапазоном размеров капель стекломассы, и форма которого будет гарантировать прохождение капель стекломассы без контактирования с жидким хладагентом, который может протекать через лоток по его дну. Элемент для транспортирования капель расплавленного стекла является криволинейным в вертикальной плоскости, проходящей параллельно продольной оси, от более высокого положения на входе до более низкого положения на выходе. Элемент выполнен в виде колеблющегося лотка для транспортирования капель расплавленного стекла в относительно стационарный желоб. Указанный элемент имеет в поперечном сечении конфигурацию, по существу соответствующую конфигурации обращенной вверх букве V с противоположными двумя сторонами, соединенными на их нижних концах за счет скругления. Стороны на их верхних свободных концах отделены друг от друга некоторым интервалом, расстояние которого больше ширины самой крупной капли, проходящей через удлиненный элемент. Указанное скругление имеет радиус, который меньше радиуса наименьшего размера капель в данном диапазоне размеров капель стекломассы. Колеблющийся лоток имеет контактирующую с каплей стекломассы поверхность, выполненную гладкой и не имеющей покрытия. Лоток также содержит средство для косвенного охлаждения указанной поверхности, контактирующей с каплей стекломассы. 5 з.п. ф-лы, 13 ил.
Область техники, к которой относится изобретение
Изобретение относится к устройству для подачи капель расплавленного стекла из источника капель стекломассы в черновую форму одной из прилегающих секций формующей машины стеклянных емкостей отдельно-секционного (ОС) типа. В частности, изобретение относится к лотку колеблющегося типа для подачи капель расплавленного стекла из капленарезочного устройства в относительно стационарный желоб.
Уровень техники
Большинство бутылок и банок и прочих типов стеклянных емкостей в настоящее время формуют в ОС-машине, которая обычно состоит из множества аналогичных прилегающих секций формирования емкости, например – восьми или десяти, или даже двенадцати таких секций. В моделях ОС-машин повышенной производительности множество аналогичных емкостей одновременно формируют в каждой секции ОС-машины, например – две или три, или даже четыре такие емкости, с помощью способов, характеризуемых как двухкапельный, трехкапельный или четырехкапельный способы, соответственно. В любом случае каждую емкость, формируемую секцией ОС-машины, формируют из формуемой капли формуемого расплавленного стекла согласно двухэтапному способу. На первом этапе: предварительно отформованную заготовку емкости, которую часто называют заготовкой или черновой формой, формируют в первой пресс-форме раздувом или прессованием. Заготовку или черновую форму, которую формируют в перевернутом положении, т.е. когда ее верхнее отверстие расположено под ее дном, затем переносят, за счет поворота на 180°, в вертикальной плоскости, во вторую форму, обычно называемую выдувной формой, где ее выдувают, чтобы придать ей окончательную конфигурацию; при этом она находится в нормальной прямостоящей ориентации; и после этого емкость вместе с другими емкостями, одновременно сформированными в этой секции ОС-машины, выводят из ОС-машины для последующей обработки.
Система подачи для подачи капель расплавленного стекла из капленарезочного устройства в черновую форму ОС-машины состоит из колеблющегося лотка для капель стекломассы, через который капли стекломассы проходят в по существу параллельную совокупность пар стационарных, но регулируемых, устройств; причем указанные устройства представляют собой прямолинейный наклоненный вниз желоб, в который входят капли стекломассы из колеблющегося лотка для капель стекломассы, и наклоненный вниз отражатель с искривленной вниз частью, в которую входят капли стекломассы из желоба и которая направляет их в черновую форму ОС-машины. Это общее устройство описывается в патенте США №4529431 (Mumford), который переуступлен правопредшественнику цессионария данной заявки и раскрытие которого включено в данный документ в качестве ссылки.
В устройстве согласно патенту ‘431 важный момент заключается в обеспечении возможности сократить необходимое число лотков для капель стекломассы в одной формующей машине за счет увеличения размера капли стекломассы, которая может поместиться в данном капельном лотке для капель стекломассы без ущерба для точности размещения на месте капель стекломассы в широком диапазоне размеров в отношении входа в желоба для капель стекломассы, куда их доставляют.
Сущность изобретения
Согласно изобретению, удлиненный элемент для транспортирования капель расплавленного стекла от входа в это устройство до выхода из этого устройства, выполненный криволинейным в вертикальной плоскости, проходящей параллельно продольной оси указанного устройства, от более высокого положения на входе до более низкого положения на выходе, выполнен в виде колеблющегося лотка для транспортирования капель расплавленного лотка в относительно стационарный желоб, при этом указанный элемент имеет в поперечном сечении конфигурацию, по существу соответствующую конфигурации обращенной вверх букве V с противоположными двумя сторонами, которые соединены на их нижних концах за счет скругления, указанные стороны на их верхних свободных концах отделены друг от друга некоторым интервалом, расстояние которого больше ширины самой крупной капли в широком диапазоне размеров капель стекломассы, проходящих через удлиненный элемент, при этом указанное скругление имеет радиус, который меньше радиуса наименьшего размера капель в данном диапазоне размеров капель стекломассы, а указанный колеблющийся лоток имеет контактирующую с каплей стекломассы поверхность, выполненную гладкой и не имеющую покрытие, и также содержит средство для косвенного охлаждения указанной поверхности, контактирующей с каплей стекломассы.
Предпочтительно, средство для косвенного охлаждения контактирующей с каплей стекломассы поверхностью содержит средство, установленное под указанным лотком, для циркуляции жидкого хладагента через лоток в косвенном контакте с указанной контактирующей с каплей стекломассы поверхностью.
Средство, установленное под указанным лотком, для циркуляции хладагента через указанный лоток в косвенном контакте с указанной контактирующей поверхностью содержит средство для циркуляции газообразного хладагента в указанном лотке.
Предпочтительно, удлиненный элемент содержит совокупность отверстий в указанном лотке для капель стекломассы для обеспечения возможности прохождения газообразного хладагента в средство, установленное под указанным лотком, для последующего прохождения в указанный лоток в непосредственном охлаждающем контакте с каплями стекломассы, проходящими через указанный лоток.
Контактирующая с каплей стекломассы поверхность должна иметь чистоту обработки поверхности, по меньшей мере соответствующую 10 RMS.
Целесообразно, чтобы удлиненный элемент имел некоторый радиус вблизи своего входа, вдоль продольной оси, который по существу меньше, чем радиус вблизи его выхода, вдоль продольной оси, причем конечная часть удлиненного элемента непосредственно внутри выхода должна быть прямолинейной.
Лоток для капель стекломассы согласно данному изобретению имеет поперечное сечение в форме обращенной вверх буквы V, причем интервал между его свободными концами превышает интервал, нужный для прохождения через него самой крупной капли стекломассы. Таким образом, интервал между противоположными сторонами V изменяется от большего интервала на верхнем или открытом конце V до существенно меньшего интервала в нижнем или закрытом конце V; при этом интервал в нижнем или закрытом конце V меньше, чем ширина прохождения через него наименьшей капли стекломассы. За счет этого обеспечивают возможность прохождения по лотку всех капель стекломассы в широком диапазоне размеров без необходимости замены лотка для вмещения капель стекломассы разных размеров; и также исключают контактирование капли стекломассы в данном диапазоне размеров с дном лотка; поэтому также исключают контактирование с каким-либо жидким хладагентом, текущим по лотку. Лоток согласно данному изобретению может иметь установленный внизу воздушный трубопровод для подачи газообразного хладагента в лоток через отверстия в лотке, чтобы уравнивать лотковые температуры в разных лотках, используемых в любой данной ОС-машине, и тем самым обеспечивать более единообразное поступление капель стекломассы в лотки, идущие в разные секции ОС-машины. При необходимости этот охлаждающий воздух можно также использовать для частичной левитации капель стекломассы в лотке для ускорения времени прохождения капель стекломассы по лотку.
Лоток, согласно данному изобретению, может иметь средство, установленное под указанным лотком, для циркуляции жидкого хладагента, такого как вода, для косвенного охлаждения капли стекломассы, контактирующей с поверхностью лотка, чтобы тем самым предотвратить термодеструкцию материала, из которого отлит или изготовлен лоток, и снизить коэффициент трения между каплями стекломассы и поверхностями лотка, контактирующими с каплями стекломассы. В любом случае, надлежащее охлаждение лотка и очень высокая чистота обработки поверхности, контактирующей с каплями стекломассы, обеспечивают возможность исключить необходимость нанесения покрытия на контактирующие с каплями стекломассы поверхности лотка, чтобы свести к минимуму теплопередачу от капель стекломассы к лотку при прохождении их по лотку.
Соответственно, задача данного изобретения заключается в изготовлении усовершенствованного лотка для транспортирования капель расплавленного стекла от капленарезочного устройства в лоток для транспортирования капель расплавленного стекла в черновую форму ОС-формующей машины. В частности, задача изобретения заключается в обеспечении характеризуемого выше лотка, выполненного с возможностью работы с широким диапазоном размеров капель стекломассы, чтобы устранить необходимость частой замены лотков в ОС-машине, когда машину перестраивают на изготовление стеклянных емкостей разного размера из капель стекла стекломассы разного размера. И в частности, задача данного изобретения заключается в выполнении лотка, форма которого будет гарантировать прохождение капель стекломассы без контактирования с жидким хладагентом, который может протекать через лоток по его дну.
Для пояснения данного изобретения и его задач далее следуют чертежи, их краткое описание, подробное описание предпочтительного варианта осуществления и формула изобретения.
Перечень фигур чертежей
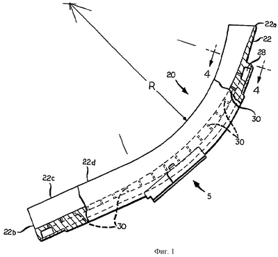
Фиг.1 – вертикальная проекция, частично в сечении, колеблющегося лотка для капель стекломассы согласно предпочтительному варианту осуществления изобретения;
Фиг.2 – вид сверху лотка для капель стекломассы, изображенного на Фиг.1;
Фиг.3 – вид с торца нижней части лотка для капель стекломассы, изображенного на Фиг.1 и 2;
Фиг.4 – сечение по линии 4-4, указанной на Фиг.1;
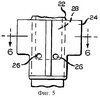
Фиг.5 – вид в направлении стрелки 5, указанной на Фиг.1;
Фиг 6 – разрез по линии 6-6, указанной на Фиг.5;
Фиг.7 – вид, аналогичный Фиг.1, альтернативного осуществления лотка для капель стекломассы согласно данному изобретению;
Фиг.8 – вид сверху лотка для капель стекломассы, изображенного на Фиг.7;
Фиг.9 – вид с торца дна лотка для капель стекломассы, изображенного на Фиг.7 и 8;
Фиг.10 – разрез по линии 10-10, указанной на Фиг.7;
Фиг.11 – вид в направлении стрелки 11, указанной на Фиг.7;
Фиг.12 – разрез по линии 12-12, указанной на Фиг.11;
Фиг.13 – схематическое изображение лотка для капель стекломассы согласно изобретению: обработка капель стекломассы в широком диапазоне размеров.
Сведения, подтверждающие возможность осуществления изобретения
Фиг.1-6 иллюстрируют лоток для капель стекломассы под общим обозначением 20 согласно осуществлению данного изобретения. Капля 20 стекломассы подвергается колебаниям поэтапно, например, с помощью привода лотка для капель стекломассы, тип которого раскрыт в патенте США №5895514 (DiFrank), раскрытие которого включено в данный документ в качестве ссылки, для доставки капель расплавленного стекла в желоба разной конструкции, например в желоба 10 ОС-машины. Лоток 20 для капель стекломассы имеет криволинейный элемент 22, в который входят вертикально падающие капли стекломассы в верхнем его конце 22а, и выпускает эти капли стекломассы с небольшим наклоном в горизонтальную ориентацию из его нижнего конца 22b.
Криволинейный элемент 22 закрепляют в положении между его концами 22а, 22b к выполненному заодно, проходящему в поперечном направлении опорному элементу 24; и он имеет по существу V-образную форму сечения по его длине – Фиг.7 и 8. Криволинейный элемент 22 имеет две противолежащие стороны 22с и 22d, которые искривляются с постепенно увеличивающимся радиусом вверх и наружу от скругления 22е. Интервал между свободными концами сторон 22с и 22d превышает ширину самой крупной капли стекломассы в широком диапазоне размеров капель, проходящих через лоток 20 для капель стекломассы; и радиус скругления 22е меньше радиуса наименьшей капли стекломассы в этом широком диапазоне размеров, в результате чего все капли стекломассы этих размеров будут опираться на противоположные точки на сторонах 22с, 22d при прохождении через лоток 20 для капель стекломассы. Поэтому какого-либо местного охлаждения капель в результате контакта с жидким хладагентом, протекающим через лоток 20 для капель стекломассы из капленарезочного устройства, расположенного над верхним концом 22а элемента 22, происходить не будет.
Опорный элемент 24 имеет, по меньшей мере, один вход 26 для газообразного охлаждающего средства; изображены два таких входа для введения воздуха или иного газа в пространство 28 под скруглением 22е элемента 22. Газ, вводимый в пространство 28, можно использовать для косвенного охлаждения элемента 22; и в этом случае один из входов 26 будет использоваться как выход; и проходящая в продольном направлении перегородка (не изображена) будет проходить по большей части длины пространства 28 между входами 26, чтобы направлять хладагент в пару последовательно соединенных охлаждающих проходов. Либо, согласно изображению, элемент 22 может иметь совокупность отделенных друг от друга интервалом отверстий 30. Эти отверстия позволят протекать газообразному хладагенту из пространства 28, чтобы контактировать с каплями стекломассы, проходящими через лоток 20 для капель стекломассы, для дальнейшего охлаждения элемента 22 и для создания подъема или частичного подъема капель стекломассы, проходящих через лоток 20 для капель стекломассы, в целях ускорения их поступления на нижний конец 22b элемента 22. Элемент 22 может быть выполнен литым из соответствующей жаропрочной нержавеющей стали или из алюминия, и в этом случае опорный элемент 24 предпочтительно выполняют литым заодно с элементом 22. Опорный элемент 24 и элемент могут быть также выполнены из отдельных деталей.
Лоток для капель стекломассы в соответствии с осуществлением согласно Фиг.7-12 указан общим обозначением 40 и, кроме указываемых ниже исключений, лоток 40 для капель стекломассы с точки зрения конструкции и функции соответствует лотку 20 для капель стекломассы. Так, лоток 40 для капель стекломассы имеет криволинейный элемент 42 с верхним входом 42а капель стекломассы и нижний конец 42b выхода капель стекломассы. Согласно Фиг.9 и 10: элемент 42 имеет конфигурацию сечения в виде обращенной вверх буквы V с криволинейным скруглением 42е, от которого криволинейные противоположные стороны 43с, 42d проходят вверх. При этом радиус скругления 42е меньше радиуса наименьшей капли стекломассы, проходящей через лоток 40 для капель стекломассы; и интервал между свободными концами сторон 42с, 42d превышает ширину самой крупной капли стекломассы, проходящей через лоток 40 для капель стекломассы; в результате чего все капли стекломассы в широком диапазоне размеров капель будут опираться в противоположных положениях на стороны 42с, 42d и не будут контактировать со скруглением 42е, и поэтому будет исключено местное охлаждение за счет хладагента капленарезочного устройства, который может протекать через лоток 40 для капель стекломассы. Элемент 42, с которым соединен опорный элемент 44, может быть выполнен литым из соответствующей жаропрочной нержавеющей стали или алюминия, и в этом случае опорный элемент предпочтительно отливают заодно с элементом 42. Элемент 42 и опорный элемент 44 могут быть также изготовлены из отдельных деталей. В любом случае опорный элемент 44 имеет впускное отверстие 46а для хладагента и выпускное отверстие 46b для хладагента, через которые может протекать вода или другой жидкий хладагент через пространство 48 в косвенной охлаждающей взаимосвязи с контактирующими с каплями стекломассы поверхностями элемента 42. Проходящую в продольном направлении перегородку 48а обеспечивают в пространстве 48, чтобы разделить его на параллельные проходы впуска и обратного потока.
Фиг.13 схематически изображает функцию обоих лотков 20 и 40 для капель стекломассы в отношении криволинейного элемента 52, который может считаться осуществлением признака, являющегося общим с криволинейным элементом 22 осуществления согласно Фиг.1-6 и криволинейным элементом 42 осуществления согласно Фиг.7-12. Элемент 52 изображает контакт между стенками 52с, 52d элемента 52 с самой крупной каплей стекломассы G1 в некотором диапазоне размеров капли стекломассы, проходящей через элемент 52, и также с наименьшей каплей стекломассы G2 в этом диапазоне размеров капли стекломассы. Обе капли стекломассы G1 и G2, и также все капли с размерами от G1 до G2, опираются на стенки 52с, 52d в противоположных местоположениях LI, L2 – для капли G1 и L3, L4 – для капли G2; и капли G1 или G2 и какая-либо капля размером от размера G1 до размера G2 не контактируют со скруглением 52е элемента 52.
Поскольку капля стекломассы – будь то G1 или G2, или любая капля с размером между значениями размера этих двух капель – опирается своими противоположными сторонами на любой из искривленных элементов 22, 42, 52, то, вероятно, она будет очень точно отцентрирована относительно центральной линии желоба, в который она поступает, и это обстоятельство будет способствовать сведению к минимуму потерь от трения и уравнивать время прохождения капель стекломассы через этот желоб.
Радиус кривизны R каждого из искривленных элементов 22, 42 постепенно увеличивается от впускного к выпускному концам искривленных элементов 22 или 42 – по меньшей мере до перехода искривленного элемента в прямолинейную часть на последних 6-7 дюймах ее длины; и такая конфигурация помогает удерживать каплю стекломассы в контакте с искривленным элементом при ее прохождении через искривленный элемент в противоположность движению с биением на искривленном элементе при прохождении по нему. Это обстоятельство способствует уравниванию времени прохождения капель через искривленный элемент и предотвращению заклинивания капли стекломассы между сторонами искривленных элементов, когда она опускается из положения нахождения в воздухе относительно искривленного элемента.
Для каждого искривленного элемента 22 осуществления согласно Фиг.1-6 и искривленного элемента 42 осуществления согласно Фиг.7-12: обращенная вверх контактирующая с каплей стекломассы поверхность предпочтительно является очень гладкой, чтобы устранить необходимость обеспечения этой поверхности каким-либо покрытием. Обнаружено, что чистота обработки поверхности, соответствующая 10 RMS, является соответствующей в этих целях.
В данном описании иллюстрировано и описано оптимальное осуществление данного изобретения, предполагаемое авторами на дату его подачи; и специалистам данной области техники будет очевидно, что в рамках данного изобретения возможны соответствующие модификации, изменения и эквиваленты; причем рамки данного изобретения определены только прилагаемой формулой изобретения и его правомерными эквивалентами.
Формула изобретения
1. Удлиненный элемент для транспортирования капель расплавленного стекла от входа в это устройство до выхода из этого устройства, причем указанный элемент является криволинейным в вертикальной плоскости, проходящей параллельно продольной оси указанного устройства, от более высокого положения на входе до более низкого положения на выходе и выполнен в виде колеблющегося лотка для транспортирования капель расплавленного стекла в относительно стационарный желоб, при этом указанный элемент имеет в поперечном сечении конфигурацию, по существу, соответствующую конфигурации, обращенной вверх букве V с противоположными двумя сторонами, которые соединены на их нижних концах за счет скругления, указанные стороны на их верхних свободных концах отделены друг от друга некоторым интервалом, расстояние которого больше ширины самой крупной капли в широком диапазоне размеров капель стекломассы, проходящих через удлиненный элемент, при этом указанное скругление имеет радиус, который меньше радиуса наименьшего размера капель в данном диапазоне размеров капель стекломассы, а указанный колеблющийся лоток имеет контактирующую с каплей стекломассы поверхность, выполненную гладкой и не имеющую покрытие, и также содержит средство для косвенного охлаждения указанной поверхности, контактирующей с каплей стекломассы.
2. Элемент по п.1, отличающийся тем, что средство для косвенного охлаждения контактирующей с каплей стекломассы поверхности содержит средство, установленное под указанным лотком, для циркуляции жидкого хладагента через лоток в косвенном контакте с указанной контактирующей с каплей стекломассы поверхностью.
3. Элемент по п.1, отличающийся тем, что средство, установленное под указанным лотком, для циркуляции хладагента через указанный лоток в косвенном контакте с указанной контактирующей поверхностью содержит средство для циркуляции газообразного хладагента в указанном лотке.
4. Элемент по п.1, отличающийся тем, что содержит совокупность отверстий в указанном лотке для капель стекломассы для обеспечения возможности прохождения газообразного хладагента в средство, установленное под указанным лотком, для последующего прохождения в указанный лоток в непосредственном охлаждающем контакте с каплями стекломассы, проходящими через указанный лоток.
5. Элемент по п.1, отличающийся тем, что контактирующая с каплей стекломассы поверхность имеет чистоту обработки поверхности, по меньшей мере соответствующую 10 RMS.
6. Элемент по п.1, отличающийся тем, что элемент имеет некоторый радиус вблизи своего входа вдоль продольной оси, который, по существу, меньше, чем радиус вблизи его выхода вдоль продольной оси, причем конечная часть удлиненного элемента непосредственно внутри выхода является прямолинейной.
РИСУНКИ
|
|