|
(21), (22) Заявка: 2005116896/15, 02.06.2005
(24) Дата начала отсчета срока действия патента:
02.06.2005
(43) Дата публикации заявки: 10.12.2006
(46) Опубликовано: 10.04.2007
(56) Список документов, цитированных в отчете о поиске:
RU 2087421 C1, 20.08.1997. US 4985122 А, 15.01.1991. BG 64504 B1, 31.05.2005. RU 2142912 C1, 20.12.1999. US 4880504 А, 14.11.1989.
Адрес для переписки:
140109, Московская обл., г. Раменское, ул. Гурьева, 1, кв.57, В.А. Чернышу
|
(72) Автор(ы):
Черныш Виктор Александрович (RU), Крусиян Александр Борисович (RU)
(73) Патентообладатель(и):
Черныш Виктор Александрович (RU), Крусиян Александр Борисович (RU)
|
(54) УСТРОЙСТВО ДЛЯ ОПРЕСНЕНИЯ МОРСКОЙ ВОДЫ
(57) Реферат:
Изобретение относится к способам опреснения морской воды и устройствам для его реализации. Принцип действия опреснительной установки заключается в создании пониженного давления над поверхностью воды, что приводит к ее закипанию, интенсивному парообразованию и последующей конденсации паров воды в специальном холодильнике. Для создания пониженного давления используется принцип Торричелли. Бак имеет три трубопровода нагнетающий, сливной и для дистиллированной воды и установлен над уровнем опресняемой воды на высоте не менее максимальной высоты столба жидкости при данном атмосферном давлении и снабжен воронкой для сбора пресной воды. В баке установлены пластины, на которые непрерывно льют опресняемую воду. Рядом с баком расположен холодильник, имеющий два трубопровода с холодным и нагретым хладагентами, которые расположены внутри бака. На трубопровод с холодным хладагентом льют опресненную воду, часть которой забирают из воронки для сбора пресной воды. Технический результат состоит в увеличении площади испаряемой воды и увеличении скорости конденсации паров воды. 1 ил.
Изобретение относится к устройствам опреснения морской воды и может найти применение в проектировании и изготовлении опреснительных станций для получения пресной воды для сельского хозяйства, промышленности и коммунального хозяйства.
Существует несколько способов получения пресной воды: выпаривание, электродиализ и обратный осмос [1, 2]. Все эти способы достаточно сложные и энергоемкие.
Удаление солей из воды до предела, близкого к содержанию их в дистиллированной воде (несколько мг/л), называется обессоливанием, а удаление солей до концентраций, допустимых при применении воды для питья (до 1 г/л), – опреснением.
Обессоливание воды электродиализом или обратным осмосом характеризуется существенно меньшими энергетическими затратами по сравнению с дистилляцией. При электродиализе используют селективные, ионообменные мембраны.
При обратном осмосе – полупроницаемые мембраны, пропускающие молекулы воды, но задерживающие растворенные минеральные и органические вещества.
Расход электроэнергии на 1 м3 воды, обессоленной электродиализом, составляет до 30 кВтч, а обратным осмосом до 15 кВтч.
Электродиализом воду можно обессолить на 90%, обратным осмосом – на 98%.
В установках обратного осмоса рабочее давление достигает 5-10 МПа (50-100 атмосфер).
Как видно, обессоливание воды электродиализом или обратным осмосом сопряжено со значительными затратами электроэнергии, изготовлением достаточно сложных и дорогих опреснительных установок, постоянным контролем их работоспособности, ремонтом, заменой мембран, имеющих ограниченных срок службы, и т.п.
Есть еще способ дистилляции морской воды, основанный на законе уменьшения температуры кипения воды при уменьшении давления над ее поверхностью [3, 6].
Если снизить давление над поверхностью воды, то начнется интенсивное испарение даже при температуре, близкой к температуре замерзания. Интенсивность испарения зависит от температуры воды и разности давлений между давлением над ее поверхностью и давлением насыщенных паров при данной температуре. При достижении над поверхностью воды давления, равного давлению насыщенных паров воды при данной температуре, испарение прекратится. Если непрерывно удалять образовывающиеся пары воды, то процесс испарения будет продолжаться. Этого можно достичь двумя способами: откачиванием паров вакуумным насосом с последующей их конденсацией вне зоны пониженного давления или конденсацией паров и удалением конденсата из зоны пониженного давления. В качестве третьего варианта используется комбинация указанных способов [4, 5].
Недостатками указанных способов являются сложность и дороговизна оборудования, низкая производительность опреснительной установки, высокая себестоимость полученной воды.
Изобретение [7] является наиболее близким прототипом заявленного способа.
В данном способе описано устройство для непрерывной дистилляции при пониженном давлении, имеющее герметичный бак, имеющий устройство для конденсации паров воды, представляющее собой холодильник, трубопровод с нагретым хладагентом которого находится ниже уровня воды в баке и отдает ей свое тепло, а трубопровод с охлажденным хладагентом находится выше уровня воды в баке и служит для конденсации паров воды, которая стекает в трубопровод для дистиллированной воды.
Первым недостатком устройства являются высокие затраты энергии на создание вакуума над поверхностью воды и, следовательно, высокая себестоимость опресненной воды.
Вторым недостатком указанного устройства является низкая удельная производительность опреснительной установки, так как скорость испарения воды прямо пропорциональна площади зеркала воды в опреснительном баке. Для получения приемлемой производительности опреснительной установки требуется изготовление герметичного бака большого диаметра.
Третьим недостатком данного устройства является низкая скорость конденсации паров воды на трубопроводе с холодным хладагентом, так как из-за большого поверхностного натяжения воды капли не могут начать скатываться с трубопровода, пока не достигнут определенного размера. В результате этого трубопровод покрывается значительным слоем воды, препятствующим передаче тепла от пара к холодному трубопроводу.
Устранение указанных недостатков осуществляется следующим образом.
Для того чтобы не тратить энергию на создание вакуума в баке, используется принцип Торричелли. Герметичный бак поднят на высоту примерно 10,5 метров. В нем имеется три трубопровода: нагнетающий, сливной и для дистиллированной воды, нижние концы которых находятся ниже уровня опресняемой воды. Вода под собственным весом стремится опуститься вниз, но ей противодействует атмосферное давление, поэтому уровень воды опустится, примерно, до 10-ти метров над уровнем моря. Над водой в баке образуется пониженное давление. На нагнетающем трубопроводе установлен насос, который постоянно подает свежую воду в бак, а из него вода самотеком выходит обратно в море по сливному трубопроводу. Таким образом, вода попадает в зону пониженного давления, где происходит ее интенсивное испарение.
Для увеличения открытой площади воды, на которой происходит испарение, внутри бака над зеркалом воды устанавливаются металлические или пластиковые пластины, на которые производится полив воды из бака. Таким образом, можно увеличить испаряемую площадь воды в десятки раз. В результате этого, при небольшом диаметре бака можно получить большую площадь испарения.
Третий недостаток устраняется следующим образом. Рядом с баком расположен холодильник, имеющий два трубопровода с холодным и нагретым хладагентами, которые расположены внутри бака. Холодильник предназначен для конденсации паров воды. Трубопровод с нагретым хладагентом находится ниже уровня воды в баке и отдает ей свое тепло, а трубопровод с охлажденным хладагентом находится выше уровня воды в баке и отбирает тепло у пара. Пар конденсируется на холодном трубопроводе и по нему стекает в трубопровод для дистиллированной воды, а из него в емкость для дистиллированной воды. Чтобы увеличить скорость конденсации трубопровод с холодным хладагентом поливается опресненной водой. Тем самым непрерывно смываются только начавшие зарождаться капли пресной воды. Кроме того, сами капли стекающей воды создают дополнительную поверхность захвата водяного пара.
Сущность изобретения поясняется чертежом.
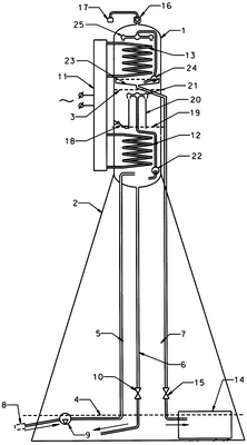
Устройство опреснительной установки для осуществления предлагаемого способа представляет собой герметичный бак 1, установленный на подставке 2. Верхний торец бака находится выше уровня столба воды 3 в трубке (уровень столба воды в барометре Торричелли при данном атмосферном давлении), верхний конец которой запаян, а нижний опущен в воду 4.
Бак имеет три трубопровода: нагнетающий 5 для морской воды, сливной 6 для рассола и для дистиллированной воды 7. Нижние концы всех трубопроводов расположены ниже уровня опресняемой воды. Нагнетающий трубопровод 5 снабжен водозаборником с фильтром 8 и насосом 9.
Нижний конец сливного трубопровода 6 снабжен запорным устройством (кран) 10, открывающим или закрывающим его.
Для конденсации пара и нагрева опресняемой воды предназначен холодильник 11, расположенный рядом с баком 1.
Из холодильника 11 в бак 1 идут два трубопровода с нагретым хладагентом 12, который находится ниже уровня воды в баке, и трубопровод с охлажденным хладагентом 13, который находится выше уровня воды в баке. Трубопровод с охлажденным хладагентом 13 служит для конденсации паров воды, которая стекает с него в трубопровод для дистиллированной воды 7, а из него в бак для дистиллированной воды 14.
Трубопровод для дистиллированной воды 7 содержит запорное устройство (кран) 15.
Сверху бак имеет обратный клапан 16, который открывается при повышении давления в нем и закрывается при понижении давления ниже атмосферного, и датчик полноты бака 17. Этот датчик сигнализирует о полном заполнении бака водой. Внутри бака имеется датчик нижнего предельного уровня воды 18. Высота нижнего предельного уровня воды 19 выбирается из условия, что трубопровод с нагретым хладагентом 12 всегда должен быть ниже уровня воды в баке, то есть полностью закрыт водой.
Над зеркалом воды установлены пластины 20, на которые из распылителя 21 льется вода на обе стороны пластин. Вода берется из этого же бака и насосом 22 подается в распылитель 21.
В воронке для сбора пресной воды 23 установлен насос 24, подающий пресную воду в распылитель 25, которая льется на трубопровод с холодным хладагентом 13.
Принцип действия опреснительной установки заключается в создании пониженного давления над поверхностью воды, что приводит к ее закипанию, интенсивному парообразованию и последующей конденсации паров воды в специальном приемнике. Пары воды конденсируются и сливаются в приемник 14.
Для того чтобы не тратить энергию на создание вакуума в баке, используется принцип Торричелли. В бак 1 закачивается опресняемая вода при закрытых кранах сливного 10 и откачивающего 15 трубопроводов. Воздух из бака выходит через обратный клапан 16, расположенный в верхней части бака. Когда бак 1 наполнится и вода начнет выливаться из него через обратный клапан, по сигналу от датчика полноты бака 17 открываются краны 10 сливного трубопровода и 15 трубопровода для дистиллированной воды.
Вода под собственным весом стремится опуститься вниз, но ей противодействует атмосферное давление, поэтому уровень воды опустится, примерно, до 10-ти метров над уровнем моря. Точная высота уровня воды зависит от атмосферного давления в данный момент, в данной географической точке земли.
Над поверхностью воды образуется пониженное давление. Вода начнет интенсивно испаряться.
Включается холодильник 11, предназначенный для конденсации паров воды. Трубопровод с нагретым хладагентом 12 находится ниже уровня воды в баке и отдает ей свое тепло, а трубопровод с охлажденным хладагентом 13 находится выше уровня воды в баке и служит для конденсации паров воды, которая стекает в трубопровод для дистиллированной воды 7. Конденсированная вода самотеком попадает в трубопровод для дистиллированной воды 7 и по нему в емкость для дистиллированной воды 14.
Так как в воде всегда присутствует растворенный воздух, то он будет выходить из воды и скапливаться над поверхностью в баке. Особенно интенсивно это происходит при пониженном давлении. По мере выхода воздуха уровень воды в баке будет понижаться. Когда уровень воды опустится до трубопровода с нагретым хладагентом 12, производительность установки начнет уменьшаться, так как начнет уменьшаться теплопередача опресняемой воде, а часть тепла будет передаваться пару, снижая эффективность работы холодильника.
Для предотвращения остановки дистилляции нужно периодически удалять скопившийся воздух.
Это достигается тем, что при опускании уровня воды в баке до предельного установленного уровня 18 закрываются краны в сливном трубопроводе 10 и трубопроводе для дистиллированной воды 15. Вода по нагнетающему трубопроводу 5 продолжает заполнять бак 1 водой и воздух, скопившийся над поверхностью воды, выдавливается через обратный клапан в атмосферу.
В момент, когда вода начнет выливаться из бака через обратный клапан 16, датчик полноты бака 17 вырабатывает сигнал, по которому открываются краны на сливном трубопроводе 10 и трубопроводе для дистиллированной воды 15. Обратный клапан бака 16 закрывается, уровень воды опускается, над поверхностью воды опять создается пониженное давление, и процесс дистилляции возобновляется.
Источники информации.
1. Химическая энциклопедия. В 5-ти т. – М.: Советская энциклопедия, 1988.
2. Физическая энциклопедия. В 5-ти т. – М.: Советская энциклопедия, 1988.
3. Матвеев А.Н. Молекулярная физика: Учеб. пособие для вузов. – М.: Высшая школа, 1981. – 400 с., ил.
4. Патент России №2142912, класс C 02 F 1/04.
5. Патент России №2206510, класс C 02 F 1/04.
6. Патент России №2087421, класс C 02 F 1/14.
7. Патент US №4985122, В 01 D 3/10, 15.01.1991.
Формула изобретения
Устройство для опреснения морской воды, содержащее герметичный бак, нагнетающий трубопровод, на котором имеется насос для непрерывной подачи опресняемой воды в бак, два трубопровода: сливной и для дистиллированной воды, имеющих запорные краны, при этом бак имеет устройство для нагрева и конденсации паров воды, представляющее собой холодильник, трубопровод с нагретым хладагентом которого находится ниже уровня воды в баке и отдает ей свое тепло, а трубопровод с охлажденным хладагентом находится выше уровня воды в баке и служит для конденсации паров воды, которая стекает в трубопровод для дистиллированной воды и далее в емкость для дистиллированной воды, отличающееся тем, что бак установлен над уровнем опресняемой воды на высоте не менее максимальной высоты столба жидкости при данном атмосферном давлении и снабжен воронкой для сбора пресной воды, над поверхностью воды в баке установлены пластины, на которые непрерывно льют опресняемую воду, а на трубопровод с холодным хладагентом льют опресненную воду, часть которой забирают из воронки для сбора пресной воды.
РИСУНКИ
MM4A – Досрочное прекращение действия патента СССР или патента Российской Федерации на изобретение из-за неуплаты в установленный срок пошлины за поддержание патента в силе
Дата прекращения действия патента: 03.06.2008
Извещение опубликовано: 20.06.2010 БИ: 17/2010
|