|
|
(21), (22) Заявка: 2005104801/11, 24.02.2005
(24) Дата начала отсчета срока действия патента:
24.02.2005
(43) Дата публикации заявки: 10.08.2006
(46) Опубликовано: 10.04.2007
(56) Список документов, цитированных в отчете о поиске:
RU 2169688 C1, 27.06.2001. SU 990601 A1, 23.01.1983. SU 1479369 А1, 15.05.1989. DE 2616017 Al, 20.10.1977.
Адрес для переписки:
140050, Московская обл., Люберецкий р-н, пос. Красково, ул. Вокзальная, 38, ЗАО “ВИК “ТЕНЗО-М”, В.А. Годзиковскому
|
(72) Автор(ы):
Вуколов Владимир Николаевич (RU), Федосеева Алевтина Алексеевна (RU), Лапшин Александр Сергеевич (RU), Краячич Валерий Владимирович (RU)
(73) Патентообладатель(и):
Закрытое акционерное общество “Весоизмерительная компания “ТЕНЗО-М” (RU)
|
(54) БУНКЕР ДЛЯ СЫПУЧИХ МАТЕРИАЛОВ
(57) Реферат:
Изобретение относится к технике хранения, взвешивания и упаковки сыпучих материалов и может быть использовано в различных отраслях, связанных с переработкой, транспортированием, хранением и реализацией сыпучих материалов. Бункер для сыпучих материалов содержит корпус с боковыми и торцевыми стенками, образующие днище поворотные пластины, расположенные вдоль боковых стенок с возможностью образования между пластинами продольных щелевых отверстий и привод поворота пластин. В конструкцию бункера введена предкамера, выполненная по крайней мере двухручьевой с шиберным затвором с приводом, ручьи расположены в одной вертикальной плоскости, выходные отверстия ручьев – в одной горизонтальной плоскости, оси вращения пластин совпадают с осями продольной симметрии пластин и через кривошипы соединены с приводом поворота пластин. В шибере шиберного затвора выполнены окна по числу ручьев. Шаг выходных отверстий ручьев предкамеры соответствует ширине окон шибера, установленного с возможностью перемещения в направлении, параллельном вертикальной и горизонтальной плоскостям расположения ручьев и их выходных отверстий. Приводы шибера и поворота пластин выполнены кривошипно-шатунными. Техническим результатом изобретения является повышение производительности устройства, а также упрощение работы и повышение его надежности. 5 ил.
Изобретение относится к технике хранения, взвешивания и упаковки сыпучих материалов и может быть использовано в различных отраслях, связанных с переработкой, транспортированием, хранением и реализацией сыпучих матералов.
Известны бункерные затворы, содержащие шарнирно закрепленные на горловине створки, соединенные с приводом (см., например, патенты РФ №2092417, М.кл. В 65 G 65/30 от 11.11.94 и №2123461, М.кл. В 65 G 1/00 от 03.10.97).
Недостатками указанных технических решений, по мнению заявителя, являются смещение и рассеивание выпускаемого потока материала, неравномерность выдачи материала. Кроме того, при использовании устройства по пат. №2092417 возможно заклинивание затвора в потоке материала.
Более близким техническим решением к предложенному устройству является бункерный затвор, используемый фирмой Cronos Richardson в весах «crono – weigh» тип Е 25 (см. Инструкцию по эксплуатации от 08.96, рис.11.2.3).
Данный затвор содержит шарнирно закрепленные на корпусе бункера створки, тягу, один конец которой шарнирно соединен с одной створкой, на другом конце тяги установлен шарнир, силовой цилиндр с корпусом и штоком, на концах которых установлены шарниры, оси вращения всех шарниров устройства параллельны.
Это устройство имеет достаточно простую конструкцию и обеспечивает требуемую производительность при выгрузке материала и формирование его потока.
Однако и это техническое решение обладает тем недостатком, что усилие запирания обеспечивается приводным механизмом, к которому прикладывается сила веса материала.
Известен также бункер для сыпучих материалов, содержащий корпус с боковыми и торцевыми стенками, образующие днище поворотные пластины, расположенные вдоль боковых стенок с возможностью образования между пластинами продольных щелевых отверстий, привод поворота пластин (см., напр., Пат. РФ №2169688, М.кл. В 65 G 65/30 от 18.04.2000). По мнению заявителя, данное техническое решение является наиболее близким к предлагаемому с точки зрения выполняемых функций и достижения положительного эффекта.
Недостатком этого технического решения является сложность конструкции, необходимость использования мощного привода для подрезания слежавшегося материала и распыление выгружаемого материала на выпускной решетке, которая, кроме того, снижает скорость выгрузки, так как препятствует свободному истечению материала.
Целью изобретения является повышение надежности работы устройства при одновременном упрощении и повышении производительности устройства.
С этой целью в бункер для сыпучих материалов, содержащий корпус с боковыми и торцевыми стенками, образующие днище поворотные пластины, расположенные вдоль боковых стенок с возможностью образования между пластинами продольных щелевых отверстий, привод поворота пластин, согласно изобретению введена предкамера, выполненная по крайней мере двухручьевой с шиберным затвором с приводом, ручьи расположены в одной вертикальной плоскости, выходные отверстия ручьев – в одной горизонтальной плоскости, оси вращения пластин совпадают с осями продольной симметрии пластин и через кривошипы соединены с приводом поворота пластин, в шибере шиберного затвора выполнены окна по числу ручьев, шаг выходных отверстий ручьев предкамеры соответствует ширине окон шибера, установленного с возможностью перемещения в направлении, параллельном вертикальной и горизонтальной плоскостям расположения ручьев и их выходных отверстий, приводы шибера и поворота пластин выполнены кривошипно-шатунными, положение “открыто” и “закрыто” пластин и шибера соответствует положению кривошипно-шатунных механизмов привода соответственно в “мертвых точках”.
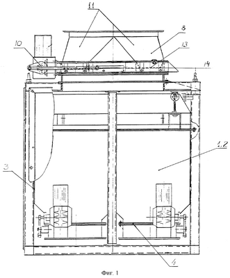
Сущность изобретения поясняется чертежами, на которых показан пример выполнения предлагаемого устройства в соответствии с изобретением для случая двухручьевой предкамеры. На фиг.1 показан вид спереди на предлагаемый бункер, на фиг.2 – вид сверху на шибер, установленный на выходе предкамеры, на фиг.3 – вид этого шибера сбоку, на фиг.4 – вид сбоку на днище бункера в положении “закрыто”, на фиг.5 – вид сверху на днище бункера также в положении “закрыто”.
На чертежах обозначено: корпус 1 бункера с боковыми 2 и торцевыми 3 стенками, днище 4, образованное поворотными пластинами 5, расположенными вдоль боковых стенок 2 с возможностью образования между пластинами 5 продольных щелевых отверстий 6, привод 7 поворота пластин 5, предкамера 8, выполненная по крайней мере двухручьевой с шиберным затвором 9 с приводом 10, ручьи 11 расположены в одной вертикальной плоскости 12, выходные отверстия 13 ручьев 11 расположены в горизонтальной плоскости 14, оси 15 вращения пластин 5 совпадают с осями продольной симметрии пластин 5 и через кривошипы 16 соединены с приводом 7 поворота пластин 5, в шибере 17 шиберного затвора 9 выполнены окна 18 по числу ручьев 11 предкамеры 8, шаг выходных отверстий 13 ручьев 11 предкамеры 8 соответствует ширине окон 18 шибера 17, направление возможности перемещения шибера 17 параллельно вертикальной 12 и горизонтальной 14 плоскостям расположения ручьев 11 и их выходных отверстий 13, привод 10 шибера 17 и привод 7 поворота пластин 5 выполнены кривошипно-шатунными, положение “открыто” и “закрыто” пластин 5 и шибера 17 соответствует положению кривошипно-шатунных механизмов приводов соответственно в “мертвых точках”, как это показано на чертежах.
Устройство работает следующим образом.
Для заполнения корпуса 1 бункера с помощью соответствующих приводов 10 и 20 поворотные пластины 5 устанавливают в положение “закрыто”, как это показано на чертежах фиг.4 и 5, и шибер 17 затвора 9 переводят в положение “открыто”, как это показано на чертежах фиг.1, 2 и 3. Выполнение предкамеры 8 с по меньшей мере двумя ручьями 11, а также перемещение шибера в направлении, параллельном вертикальной 12 и горизонтальной 14 плоскостям расположения ручьев и их выходных отверстий, как это показано на приведенном на чертежах примере выполнения, позволяет, во-первых, обеспечить более равномерное распределение сыпучего материала по сечению корпуса 1 бункера, а, во-вторых, уменьшить ход шибера 17 затвора 9, что сокращает габариты устройства и повышает быстродействие и точность дозирования засыпаемого материала. Так как в исходном состоянии образующие днище поворотные пластины 5 находятся в положении, показанном на фиг.4 и 5, т.е. пластины 5 расположены горизонтально, продольные щелевые отверстия 6 между пластинами 5 замкнуты. При этом оси 15 вращения пластин 5 совпадают с осями продольной симметрии пластин 5, поэтому давление на правые и левые (по чертежу) половины пластин 5, обусловленное давлением загружаемого в корпус 1 бункера сыпучего материала, взаимно уравновешивается. Кроме того, привод 7 поворота пластин 5 находится в положении “мертвая точка”, как это видно из чертежа. Поэтому самопроизвольное открывание днища 4 при положении пластин 5 “закрыто” невозможно. При необходимости освобождения корпуса 1 бункера от материала включают привод 7 поворота пластин 5, которые при этом поворачиваются синхронно до вертикального (по чертежу) положения, обеспечивая при этом разрыхление предварительно загруженного материала, если он предрасположен к слеживанию. Вертикальное расположение пластин 5 в положении днища 4 “открыто” обеспечивает формирование потока разгружаемого материала.
Формула изобретения
Бункер для сыпучих материалов, содержащий корпус с боковыми и торцевыми стенками, образующие днище поворотные пластины, расположенные вдоль боковых стенок с возможностью образования между пластинами продольных щелевых отверстий, привод поворота пластин, отличающийся тем, что в него введена предкамера, выполненная по крайней мере двухручьевой с шиберным затвором с приводом, ручьи расположены в одной вертикальной плоскости, выходные отверстия ручьев – в одной горизонтальной плоскости, оси вращения пластин совпадают с осями продольной симметрии пластин и через кривошипы соединены с приводом поворота пластин, в шибере шиберного затвора выполнены окна по числу ручьев, шаг выходных отверстий ручьев предкамеры соответствует ширине окон шибера, установленного с возможностью перемещения в направлении, параллельном вертикальной и горизонтальной плоскостям расположения ручьев и их выходных отверстий, приводы шибера и поворота пластин выполнены кривошипно-шатунными, положение “открыто” и “закрыто” пластин и шибера соответствует положению кривошипно-шатунных механизмов привода соответственно в “мертвых точках”.
РИСУНКИ
|
|