|
|
(21), (22) Заявка: 2005127167/13, 30.08.2005
(24) Дата начала отсчета срока действия патента:
30.08.2005
(46) Опубликовано: 10.04.2007
(56) Список документов, цитированных в отчете о поиске:
RU 2225337 C1, 10.03.2004. RU 2193000 C1, 20.11.2002. RU 2150417 C1, 10.06.2000. RU 2199475 C2, 27.02.2003. US 6276544 B1, 21.08.2001. RU 2129512 C1, 27.04.1999.
Адрес для переписки:
246015, Республика Беларусь,г.Гомель, ул. Хуторянского, 35а, ИУПП “Белкэпс”, Л.А. Андриенко
|
(72) Автор(ы):
Пахомов Дмитрий Иванович (BY), Бирюков Николай Петрович (BY)
(73) Патентообладатель(и):
Иностранное унитарное производственное предприятие компании “Белкапс Бетайлингус ГмбХ” Белкэпс (BY)
|
(54) КОМБИНАЦИЯ ПРЕДОХРАНИТЕЛЬНОЙ КРЫШКИ И КОНТЕЙНЕРА
(57) Реферат:
Изобретение относится к области техники, предназначенной для хранения и/или транспортировки емкостей с маловязкими жидкостями, предотвращает подделку и повторное заполнение емкостей. Контейнер включает корпус, горловину с венчиком, при этом по торцовой части венчика выполнены стопорные ребра с заданным шагом, а на боковой поверхности венчика горловины имеется кольцевая канавка. Предохранительная крышка включает винтовую крышку, закрепленную посредством резьбы на наружной втулке, соединенной ребрами с внутренней втулкой с образованием проходных каналов, упругий элемент с пропускным отверстием и выступами, образующими открытую сверху кольцевую полость с расположенной в ней нижней частью внутренней втулки с образованием зазора между днищем и выступами упругого элемента, металлический кожух, закрепленный на винтовой крышке, при этом последняя выполнена по контуру с контрольным индикаторным венчиком, а металлический кожух выполнен из двух соприкасающихся частей, кромки которых завальцованы в контрольный индикаторный венчик с возможностью освобождения одной из указанных кромок при отворачивании крышки, при этом в нижней части наружной втулки выполнен выступающий буртик с кольцевой канавкой, в которую завальцован металлический кожух для фиксации в осевом направлении, в верхней части упругого элемента имеется кольцевой уплотнительный буртик, по торцу которого выполнены стопорные осевые шлицы с заданным шагом, имеющие заостренные вершины, а в нижней части упругого элемента имеется кольцевой выступ, на внутренней поверхности которого выполнены зубчики для фиксации со стопорными ребрами контейнера. Такое техническое решение позволяет упростить конструкцию контейнера и предохранительной крышки, при этом обеспечивается высокая степень защиты от вскрытия. 5 з.п. ф-лы, 6 ил.
Изобретение относится к области техники, предназначенной для хранения и/или транспортировки емкостей с маловязкими жидкостями, и предотвращает подделку и повторное заполнение емкостей.
Известны контейнеры с горловиной, на которой выполнены стопорные выступы и впадины, совместно образующие рифленый или желобчатый профиль (RU №2129512, МПК B 65 D 41/34, опубл. 1999 г.). Известны бутылки, на горловине которых имеется комбинация наружной резьбы и стопорных пазов или шлицов (US 6276544, МПК B 65 D 41/62, опубл. 5.07.2000, US 5115932, МПК B 65 D 41/34, опубл. 26.05.92). Эти бутылки изготовлены под специальные укупорочные колпачки, которые крепятся непосредственно на горловине при помощи ребер или шлицов и предотвращают случайное вскрытие или подделку жидкости.
Известна комбинация крышки и контейнера, в которой контейнер имеет горловину, снабженную на ее наружной поверхности многозаходной резьбой, содержащей чередующиеся гребни и канавки, причем каждая резьбовая канавка начинается на верхнем свободном конце горловины или смежно с ним и оканчивается на углублении, образованном в горловине, а крышка содержит, по существу, круглую верхнюю часть и отходящую от нее юбку, при этом юбка на ее радиально внутренней поверхности имеет множество выступов, отстоящих друг от друга по окружности на расстояниях, соответствующих расстояниям между резьбовыми канавками, и отстоящих в осевом направлении от внутренней поверхности верхней части крышки на таком расстоянии, что при установке крышки вниз на горловину контейнера каждый из выступов войдет в зацепление с одним из углублений, образованных на горловине, когда крышка будет герметично зацеплена с горловиной контейнера, и смежно с каждым углублением скошенный элемент, расположенный так, что при относительном повороте крышки, установленной на горловине контейнера, по меньшей мере, некоторые из выступов будут опираться, по меньшей мере, на некоторые из скошенных элементов и будут направляться скошенными элементами в соответствующую резьбовую канавку для обеспечения свинчивания крышки с горловины контейнера (RU №2199475, МПК В 65 D 41/17, опубл. 2003 г.). Недостаток указанного технического решения состоит в сложной конструкции контейнера, крышки, а также недостаточную степень защиты от вскрытия и подделки жидкости.
Известна комбинация крышки и контейнера, в которой контейнер имеет корпус, горловину и венчик, причем на боковой верхней части горловины выполнены стопорные выступы для взаимодействия с укупорочным колпачком и предотвращающие проворачивание колпачка при открывании (ЕР №1121298, МПК В 65 D 11/04, опубл. 8.08.2001).
Известны широко описанные в отечественных и зарубежных источниках информации укупорочные устройства для бутылки. Среди известных аналогов “Затвор для емкости” по авт. свид. СССР N 765129 (МКИ В 65 D 51/10, опубл. 23.09.80), “Приспособление для предотвращения долива в бутылку” по патенту Великобритании N 2272418 (МКИ В 65 D 49/02, опубл. 18.05.94), “Устройство для предотвращения повторного заполнения” по патенту Великобритании N 2274824 (МКИ В 65 D 49/02, опубл. 09.02.94), “Устройство для предотвращения повторного заполнения” по патенту Великобритании N 2274637 (МКИ В 65 D 49/06, опубл. 17.01.94), “Устройство для предотвращения повторного заполнения” по патентам Великобритании N 2274638 и N 2274639, МКИ В 65 D 49/10, опубл. 17.01.94), а также “Укупорочное устройство для бутылок” по заявке ЕР 0670271 (МКИ В 65 D 49/00, опубл. 06.09.92).
Известные аналоги достаточно сложны конструктивно, изготовление их элементов технологически затруднено в условиях массового производства (требует специальную оснастку). Известно также, что многие из этих устройств не обеспечивают выливание необходимого количества жидкости или качественное ее выливание из-за множества конструктивных элементов и недостаточного расстояния между ними. В большинстве конструкций в качестве запорного элемента используется шар, который, как известно, не имеет устойчивого положения, в связи с чем требуются вспомогательные элементы, усложняющие конструкцию, а в ряде случаев – ограничивающие свободное передвижение элемента, необходимое для быстрого перехода из одного положения в другое. Запорный элемент, выполненный в виде шара, обладает неустойчивостью, что диктует форму вертикальных направляющих для посадки на седло, причем эти направляющие так расположены, что шар зажат между ними, в связи с чем его подвижность ограничена. В результате охлаждения емкости происходит понижение давления в бутылке, что может привести к залипанию запорного элемента и отказу выливания жидкости и что требует резкого встряхивания емкости.
Известно также укупорочное устройство, содержащее втулку цилиндрической формы, верхняя часть которой является винтовой пробкой и имеет подвижный эластичный кольцевой выступ для фиксации на бутылке, создавая неразъемное соединение. На винтовую пробку запрессован колпак с гарантийным венчиком, внутри корпуса установлен на резьбе рассекатель в виде кольца с ребрами, делящими внутреннее пространство на проходные каналы для потока жидкости. В полости корпуса для заливки жидкости размещен упругий элемент, по центру которого расположено седло с пропускным отверстием, на которое опирается запорный элемент в виде клапана. Упругий элемент герметично зафиксирован внутри горлышка бутылки с помощью эластичных кольцевых выступов и герметично соединен с корпусом для заливки жидкости, что не допускает вытекания жидкости. Выливание жидкости из бутылки после предварительного разрыва гарантийного венчика осуществляется путем наклона бутылки, при котором сила потока жидкости выталкивает запорный элемент, лежащий на седле с пропускным отверстием, открывая его и пропуская жидкость через проходные каналы корпуса, образованные пространствами между ребрами. При возвращении бутылки в исходное вертикальное положение запорный элемент под действием собственной силы тяжести возвращается в исходное положение и запирает пропускное отверстие, после чего повторное заполнение бутылки жидкостью становится невозможным (RU 2150417, кл. В 65 D 49/02, опубл. 2000 г.).
Однако данное устройство имеет ряд недостатков, влияющих на его функциональную работу. В связи с наличием подвижного клапана возможен его перекос и заклинивание, а также залипание при понижении температуры за счет сниженного давления в емкости, что приводит к отказу вытекания жидкости и необходимости встряхивания емкости для срабатывания клапана.
Указанные недостатки устраняет предохранительная крышка для бутылки, включающая винтовую крышку, закрепленную посредством резьбы на наружной втулке, соединенной ребрами с внутренней втулкой и с образованием проходных каналов, упругий элемент с пропускным отверстием и выступами, образующими открытую сверху кольцевую полость с расположенной в ней нижней частью внутренней втулки с образованием зазора между днищем и выступами упругого элемента (RU 2193000, кл. В 65 D 49/02, опубл. 20.11.2002). Однако данное техническое решение достаточно сложное в изготовлении, имеет высокую материалоемкость и недостаточную степень защиты от вскрытия.
Ближайшим техническим решением к данному изобретению является предохранительная крышка для бутылки, включающая винтовую крышку, закрепленную посредством резьбы на наружной втулке, соединенной ребрами с внутренней втулкой и с образованием проходных каналов, упругий элемент с пропускным отверстием и выступами, образующими открытую сверху кольцевую полость с расположенной в ней нижней частью внутренней втулки с образованием зазора между днищем и выступами упругого элемента, имеется металлический кожух, закрепленный на винтовой крышке, при этом последняя выполнена по контуру с контрольным индикаторным венчиком, а металлический кожух выполнен из двух соприкасающихся частей, кромки которых завальцованы в контрольный индикаторный венчик с возможностью освобождения одной из указанных кромок при отворачивании крышки (RU №2225337, МПК B 65 D 49/02, опубл. 1999 г.). Указанная крышка предназначена для контейнеров, описанных в патенте ЕР №1121298, надевается нажатием сверху вниз и снимается свинчиванием.
Недостатками прототипа являются сложность конструкции и высокая материалоемкость за счет выполнения наружной втулки с удлиненным корпусом, что приводит к дополнительным затратам.
Задача изобретения состоит в упрощении конструкции контейнера, создании относительно недорогой для формования и простой для сборки предохранительной крышки, чтобы оно обеспечивало при использовании высокую степень защиты от вскрытия и снижении его материалоемкости.
Указанный технический результат достигается также тем, что предлагается комбинация предохранительной крышки и контейнера, в которой контейнер имеет корпус, горловину с венчиком, а предохранительная крышка включает по существу винтовую крышку, закрепленную посредством резьбы на наружной втулке, соединенной ребрами с внутренней втулкой с образованием проходных каналов, упругий элемент с пропускным отверстием и выступами, образующими открытую сверху кольцевую полость с расположенной в ней нижней частью внутренней втулки с образованием зазора между днищем и выступами упругого элемента, металлический кожух закреплен на винтовой крышке, причем последняя выполнена по контуру с контрольным индикаторным венчиком, металлический кожух выполнен из двух соприкасающихся частей, кромки которых завальцованы в контрольный индикаторный венчик с возможностью освобождения одной из указанных кромок при отворачивании крышки, при этом по торцовой части венчика горловины контейнера выполнены стопорные ребра с заданным шагом, а на боковой части венчика горловины имеется кольцевая канавка, в нижней части наружной втулки выполнен выступающий буртик с кольцевой канавкой, в которую завальцован металлический кожух для фиксации в осевом направлении, в верхней части упругого элемента имеется кольцевой уплотнительный буртик, по торцу которого выполнены стопорные осевые шлицы с заданным шагом, имеющие заостренные вершины, а в нижней части упругого элемента имеется кольцевой выступ, на внутренней поверхности которого выполнены зубчики для фиксации со стопорными ребрами венчика горловины контейнера.
Кроме того, в частном случае реализации изобретения на внешней поверхности верхней части металлического кожуха и внешней поверхности винтовой крышки выполнены вертикальные рифления, взаимодействующие друг с другом. На внутренней поверхности винтовой крышки выполнен кольцевой уплотнительный выступ, а между боковой поверхностью крышки и уплотнительным выступом выполнены компенсаторы.
Зубчики выступают за торцовую поверхность кольцевого выступа упругого элемента.
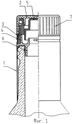
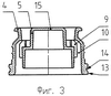
Изобретение поясняется чертежами, где на фиг.1 схематично показан общий вид предохранительной крышки в разрезе; на фиг.2 – винтовая крышка; на фиг.3 – наружная и внутренняя втулки; на фиг.4 – упругий элемент; на фиг.5 – вид А на фиг.4; на фиг.6 – контейнер.
Предохранительная крышка содержит металлический кожух 1, разделенный на две части, винтовую крышку 2 с контрольным индикаторным венчиком 3, в который завальцованы кромки кожуха 1, наружную втулку 4, внутреннюю втулку 5, упругий элемент 6.
Наружная поверхность верхней части кожуха 1 выполнена гладкой или с рифлениями 7.
Винтовая крышка 2 выполнена с внутренней резьбой, взаимодействующей с наружной резьбой наружной втулки 4, внешняя поверхность винтовой крышки 2 может быть гладкой или с рифлениями 8, взаимодействующими с рифлениями 7 кожуха для фиксации от проворота. Крышка 2 закреплена на наружной втулке 4, соединенной ребрами 9 с внутренней втулкой 5 и с образованием проходных каналов 10. На внутренней поверхности крышки 2 имеются кольцевой цилиндрический выступ 11 и компенсаторы 12, предохраняющие изделие от деформации и разрушения при укупорке.
В нижней части наружной втулки 4 выполнен выступающий буртик 13 с кольцевой канавкой 14, в который завальцован металлический кожух 1 для фиксации в осевом направлении.
К нижней части внутренней втулки 5 с заглушенным верхним торцом 15 примыкает упругий элемент 6 с пропускным отверстием 16 и выступами 17 и 18, образующими открытую сверху кольцевую полость 19. Нижняя часть внутренней втулки 5 расположена в кольцевой полости 19 с образованием зазора между днищем 20, выступами 17 и 18 упругого элемента 6, что обеспечивает создание гидрозатвора.
Упругий элемент 6 имеет кольцевой уплотнительный буртик 21, по торцу которого выполнены стопорные осевые шлицы 22 с заданным шагом, имеющие заостренные вершины, для фиксации с ребрами наружной втулки 2. Упругий элемент 6 имеет в нижней части кольцевой выступ 23, на внутренней поверхности которого выполнены фиксирующие зубчики 24, которые выступают за торцовую поверхность кольцевого выступа 23 упругого элемента 6, что дополнительно предохраняет изделие от деформации при укупорке. Упругий элемент герметично фиксируется внутри горлышка контейнера, для чего в нижней его части выполнены эластичные кольцевые выступы 25, которые не допускают вытекания жидкости.
Контейнер содержит корпус 26, горловину 27, венчик 28. На торцовой поверхности венчика 28 выполнены стопорные ребра 29, взаимодействующие с зубчиками 24 для фиксации от проворота. На боковой поверхности венчика 28 бутылки выполнена кольцевая канавка 30 для последующей завальцовки нижней части металлического кожуха 1 при укупорке.
Данный контейнер разработан с учетом современных требований к простой и удобной укупорке более экономичными средствами укупоривания. Корпус контейнера может быть выполнен различной формы и конфигурации, иметь современный дизайн и широкий профиль применения.
Предохранительная крышка работает следующим образом.
При свинчивании винтовой крышки 2 происходит освобождение завальцованного контрольного индикаторного венчика 3. При наклоне бутылки (не показана) жидкость поступает через пропускное отверстие 16 в кольцевую полость 19 гидрозатвора и далее по проходным каналам 10 вытекает из бутылки.
При возвращении бутылки в вертикальное положение жидкость, находящаяся в проходных каналах 10, поступает в кольцевую полость 19 гидрозатвора и далее в бутылку, создавая избыточное давление, препятствующее дальнейшему поступлению жидкости. Созданное внутри емкости гидрозатвором давление препятствует заполнению емкости жидкостью.
Предохранительная крышка, собранная из 4-х частей и имеющая несколько стандартных высот, подходит к широкой гамме форм контейнеров. Контрольный предохранительный венчик и гидрозатвор обеспечивают высокий уровень защиты от повторного заполнения. Укупорка выполняется нажатием сверху вниз посредством укупорочной машины (не показана) с последующей завальцовкой металлического кожуха 1 в кольцевую канавку 30 венчика 29.
Контейнер выполнен формованием на стеклоформующем оборудовании с заданной конфигурацией венчика согласно изобретению.
Все детали укупорочного устройства для бутылки изготавливаются из экологически чистых материалов, полиэтилена, полистирола и металла на высокопроизводительных термопластавтоматах литьем под давлением на пресс-формах с горячеканальной системой и штампах.
На боковую и торцовую поверхности металлического кожуха в процессе изготовления могут наноситься покрытия и средства идентификации методом горячего тиснения, методами офсетной, трафаретной или тампонной печати, белыми, цветными, прозрачными или металлизированными лаками. Покрытие также может быть нанесено спрей напылением или вакуумным напылением.
Опытный образец укупорочного устройства изготовлен в опытно-механическом производстве ИУПП АО “БЕЛКЭПС” на токарно-фрезерном оборудовании. Наружная и внутренняя втулки изготовлена из полиметилметакрилата (оргстекла), упругий элемент – из капролона, кожух – из алюминиевого листа.
Предлагаемое техническое решение позволит упростить конструкцию контейнера и предохранительной крышки, снизить материалоемкость, повысить экономичность изделий.
Формула изобретения
1. Комбинация предохранительной крышки и контейнера, в которой контейнер имеет корпус, горловину с венчиком, а предохранительная крышка включает, по существу, винтовую крышку, закрепленную посредством резьбы на наружной втулке, соединенной ребрами с внутренней втулкой с образованием проходных каналов, упругий элемент с пропускным отверстием и выступами, образующими открытую сверху кольцевую полость с расположенной в ней нижней частью внутренней втулки с образованием зазора между днищем и выступами упругого элемента, металлический кожух закреплен на винтовой крышке, при этом последняя выполнена по контуру с контрольным индикаторным венчиком, металлический кожух выполнен из двух соприкасающихся частей, кромки которых завальцованы в контрольный индикаторный венчик с возможностью освобождения одной из указанных кромок при отворачивании крышки, отличающийся тем, что по торцевой части венчика горловины контейнера выполнены стопорные ребра с заданным шагом, а на боковой части венчика горловины имеется кольцевая канавка, при этом в нижней части наружной втулки выполнен выступающий буртик с кольцевой канавкой, в которую завальцован металлический кожух для фиксации в осевом направлении, в верхней части упругого элемента имеется кольцевой уплотнительный буртик, по торцу которого выполнены стопорные осевые шлицы с заданным шагом, имеющие заостренные вершины, а в нижней части упругого элемента имеется кольцевой выступ, на внутренней поверхности которого выполнены зубчики для фиксации со стопорными ребрами венчика горловины контейнера.
2. Комбинация предохранительной крышки и контейнера по п.1, отличающаяся тем, что внешняя поверхность верхней части металлического кожуха выполнена гладкой или рифленой.
3. Комбинация предохранительной крышки и контейнера по п.1, отличающаяся тем, что внешняя поверхность винтовой крышки выполнена гладкой или рифленой.
4. Комбинация предохранительной крышки и контейнера по п.1, отличающаяся тем, что на внутренней поверхности верхней части винтовой крышки выполнен кольцевой уплотнительный выступ.
5. Комбинация предохранительной крышки и контейнера по п.1, отличающаяся тем, что на внутренней поверхности винтовой крышки между боковой поверхностью и уплотнительным выступом выполнены компенсаторы.
6. Комбинация предохранительной крышки и контейнера по п.1, отличающаяся тем, что зубчики выступают за торцовую поверхность кольцевого выступа упругого элемента.
РИСУНКИ
PD4A – Изменение наименования обладателя патента СССР или патента Российской Федерации на изобретение
(73) Новое наименование патентообладателя:
Иностранное частное производственное унитарное предприятие “Белкэпс” (BY)
Адрес для переписки:
246015, г. Гомель, ул. Хуторянского, 35а, ИП “Белкэпс”
Извещение опубликовано: 27.06.2007 БИ: 18/2007
PD4A – Изменение наименования обладателя патента СССР или патента Российской Федерации на изобретение
(73) Новое наименование патентообладателя:
Иностранное частное производственное унитарное предприятие «АЛКОПАК» (BY)
Адрес для переписки:
246015, г. Гомель, ул. Хуторянского, 35а, ИП «АЛКОПАК»
Извещение опубликовано: 20.08.2008 БИ: 23/2008
|
|