|
(21), (22) Заявка: 2005127609/11, 02.09.2005
(24) Дата начала отсчета срока действия патента:
02.09.2005
(46) Опубликовано: 10.04.2007
(56) Список документов, цитированных в отчете о поиске:
US 5129348 А, 14.07.1992. US 4266500 A, 12.05.1981. US 4029034 А, 14.06.1977. RU 2086463 C1, 10.08.1997.
Адрес для переписки:
190121, Санкт-Петербург, наб. р. Фонтанки, 203, ФГУП “Адмиралтейские верфи”, Инженерный центр, И.И. Черновой
|
(72) Автор(ы):
Канарейкин Олег Николаевич (RU), Фурсов Александр Николаевич (RU)
(73) Патентообладатель(и):
Федеральное государственное унитарное предприятие “Адмиралтейские верфи” (RU)
|
(54) СИСТЕМА УПРАВЛЕНИЯ ПЛАВУЧЕСТЬЮ ПРОНИЦАЕМОГО ПОДВОДНОГО АППАРАТА
(57) Реферат:
Изобретение относится к подводному судостроению и касается создания систем управления плавучестью проницаемых подводных аппаратов. Система управления плавучестью проницаемого аппарата имеет резервуар плавучести, вмещающий регулируемые объемы газа и воды и сообщающийся с источником сжатого газа и клапанами для подачи и удаления сжатого газа. Резервуар плавучести выполнен в виде цилиндра с поршнем, разделяющим объемы газа и воды, и штоком. Поршень подпружинен со стороны газового объема и насажен на шток с возможностью перемещения вместе с жестко соединенным с поршнем полым ходовым цилиндром. На наружной поверхности штока выполнен бурт, разделяющий полости ходового цилиндра, а внутри выполнены каналы для подачи сжатого газа в каждую полость ходового цилиндра слева и справа от бурта. Технический результат заключается в автоматическом компенсировании изменения плавучести при использовании энергии сжатого газа, что дает возможность пилоту сконцентрироваться на выполнении задач погружения, освобождая его от необходимости постоянно следить за глубиной погружения и вручную изменять плавучесть. 2 ил.
Изобретение относится к области подводного судостроения, в частности к системам управления плавучестью проницаемого подводного аппарата (ППА) в погруженном положении.
Для подводных аппаратов малых и средних глубин плавучесть регулируется приемом и откачкой воды из прочной уравнительной цистерны, для этой цели устанавливается водяной насос, откачивающий воду из цистерны, приборы и аппаратура дистанционного контроля и управления (А.Н.Дмитриев. Проектирование подводных аппаратов. Л., Судостроение, 1978, стр.139).
Известен, принятый в качестве прототипа, «Подводный аппарат» (патент США №5129348, B63G 8/22, НКИ 114-333).
Аппарат, удерживающийся на заданной глубине погружения, имеет жесткостенную плавучую камеру, вмещающую регулируемые объемы газа и воды. Отношение объема газа к объему воды определяет плавучесть камеры. Источник сжатого газа через первый клапан сообщается с камерой, чтобы добавлять в нее газ. Второй клапан присоединен к верхней части камеры для регулирования удаления газа из нее в окружающую среду. К нижней части камеры присоединен третий клапан, который обеспечивает впуск и выпуск воды из камеры.
Первый исполнительный механизм открывает первый клапан с целью увеличения объема газа в камере и увеличения плавучести аппарата.
Второй исполнительный механизм открывает второй клапан для выпуска газа из камеры и уменьшения плавучести аппарата.
Третий исполнительный механизм открывает третий клапан, когда первый или второй клапаны открыты для увеличения или уменьшения объема воды в камере. Третий исполнительный механизм закрывает третий клапан, когда первый или второй клапаны закрыты для удерживания неизменной плавучести аппарата. Аппарат оборудован приборами для определения давления забортной воды, связанными с блоком управления. Четвертый исполнительный механизм, присоединенный к блоку, управляется им в зависимости от выходного сигнала.
Управление данной системой осуществляется пилотом. Конструкция системы сложна, так как требует наличия приборов и специального блока управления, имеющих электрическое питание. При ее использовании на ППА, в погруженном положении заполненным водой, должны быть соблюдены условия герметизации электрического оборудования.
Задача заявляемого изобретения – освободить пилота ППА от необходимости контроля за изменением плавучести при работах на глубине, а также упрощение конструкции системы управления плавучестью.
Для решения поставленной задачи в системе управления плавучестью ППА, включающей резервуар плавучести, вмещающий регулируемые объемы газа и воды, и сообщающийся с источником сжатого газа и клапанами для подачи и удаления сжатого газа, резервуар плавучести выполнен в виде цилиндра с поршнем, разделяющим объемы газа и воды, и штоком. Поршень подпружинен со стороны газового объема и насажен с возможностью перемещения вместе с жестко соединенным с ним полым ходовым цилиндром на шток. На наружной поверхности штока выполнен бурт, разделяющий полости ходового цилиндра, а внутри выполнены каналы для подачи сжатого газа в каждую полость ходового цилиндра слева и справа от бурта.
Система управления плавучестью подключена к источникам сжатого газа системы дыхания.
Поставленная задача решается за счет создания системы, позволяющей компенсировать изменение плавучести автоматически, используя энергию сжатого газа.
Заявляемое изобретение поясняется следующими чертежами, где изображены:
– на фиг.1 – Система управления плавучестью ППА перед началом работы;
– на фиг.2 – Система управления плавучестью ППА в процессе работы, в погруженном положении.
Осуществление изобретения представлено на примере, где в системе управления плавучестью в качестве рабочей среды вместо сжатого газа используется сжатый воздух.
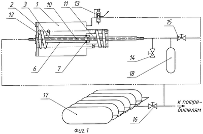
Система управления плавучестью проницаемого подводного аппарата состоит из цилиндра 1 с поршнем 2 и штоком 3. Поршень 2 разделяет цилиндр 1 на полости сжатого воздуха 4 и воды 5. Полость 4 герметична, а полость 5 сообщается с окружающей средой (в погруженном положении – водой). В цилиндре 1 неподвижно установлен шток 3, на который насажен с возможностью перемещения поршень 2, жестко соединенный с полым ходовым цилиндром 6. На наружной поверхности штока 3 выполнен бурт 7, разделяющий внутренний объем ходового цилиндра 6 на полости 8 и 9. Внутри штока 3 выполнены каналы 10 и 11 для подачи сжатого воздуха в эти полости. Внутри полости сжатого воздуха 4 цилиндра 1 установлена пружина 12, подпружинивающая поршень 2.
Пружина 12 имеет рабочий ход, равный ;
где mв – масса израсходованного воздуха;
– плотность воды;
Sц – площадь рабочего сечения цилиндра.
К полости сжатого воздуха 4 присоединен клапан поддержания давления 13, обеспечивающий равенство давлений в полостях 4 и 5 независимо от глубины погружения. Полость 9 ходового цилиндра 6 подсоединена к клапану вентиляции 14. Полости 8 и 9 соединены через клапаны 15 и 16 с баллонами сжатого воздуха системы дыхания 17. Между клапаном 15 и клапаном вентиляции 14 полости 9 ходового цилиндра 6 расположен баллон сжатого воздуха 18. Объем баллона сжатого воздуха 18 значительно меньше объемов баллонов сжатого воздуха системы дыхания 17, но значительно больше наибольшего объема полости 9 ходового цилиндра 6
Система работает следующим образом.
Перед началом работы, до погружения ППА, производят вентиляцию полостей 4 и 9 ходового цилиндра 6 открытием клапанов 13 и 14. При закрытом клапане 15 в полость 8 подают сжатый воздух от источников сжатого воздуха системы дыхания 17 через клапан 16. В процессе работы полость 8 всегда сообщается с источниками сжатого воздуха системы дыхания 17. Под действием усилия пружины 12 и давления сжатого воздуха в полости 8 поршень 2 приходит в крайнее левое положение. Затем закрытием клапанов 13 и 14 прекращают вентиляцию полостей 4 и 9. Клапан 15 открывают для подачи сжатого воздуха в баллон 18 от баллонов сжатого воздуха системы дыхания 17. Клапан 15 закрывают. Давления в полостях 8 и 9 равны. Устройство готово к работе.
В погруженном положении ППА заполнен водой. В процессе работы, вследствие расхода сжатого воздуха пилотами, давление в баллонах сжатого воздуха системы дыхания 17 снижается и соответственно ППА теряет плавучесть. Между полостями 8 и 9 ходового цилиндра 6 возникает перепад давлений
р=р0-р1;
где р0 – начальное давление в системе;
p1 – давление в системе дыхания ППА в текущий момент времени.
Так как объемы баллонов сжатого воздуха системы дыхания 17, и тем более баллона сжатого воздуха 18, значительно превышают объемы полостей 8 и 9, то расширения воздуха в полости 8 и соответственно сжатия воздуха в полости 9 практически не происходит. Усилие от перепада давления воспринимается пружиной 12, которая сжимается на величину перепада давлений р. При этом клапан 13 открывается и избыточный воздух стравливается. Поршень 6 занимает новое положение, сдвигаясь вправо, а в полость 5 поступает вода, количество которой по массе равно потере воздуха в системе. Плавучесть ППА восстанавливается.
Предложенное устройство работает за счет энергии сжатого воздуха и не требует внешних источников энергии и блока управления герметичного исполнения, что значительно упрощает его конструкцию. Устройство позволяет пилоту сконцентрироваться на выполнении задач погружения, освобождая его от необходимости постоянно следить за глубиной погружения и вручную изменять плавучесть.
Формула изобретения
Система управления плавучестью проницаемого подводного аппарата, включающая резервуар плавучести, вмещающий регулируемые объемы газа и воды и сообщающийся с источником сжатого газа и клапанами для подачи и удаления сжатого газа, отличающаяся тем, что резервуар плавучести выполнен в виде цилиндра с поршнем, разделяющим объемы газа и воды, и штоком, при этом поршень подпружинен со стороны газового объема и насажен с возможностью перемещения вместе с жестко соединенным с ним полым ходовым цилиндром на вышеупомянутый шток, на наружной поверхности которого выполнен бурт для разделения полости ходового цилиндра, а внутри выполнены каналы для подачи сжатого газа в разделенные полости ходового цилиндра, причем вся система управления плавучестью подключена к источникам сжатого газа системы дыхания.
РИСУНКИ
PD4A – Изменение наименования обладателя патента СССР или патента Российской Федерации на изобретение
(73) Новое наименование патентообладателя:
Открытое акционерное общество «Адмиралтейские верфи» (RU)
Адрес для переписки:
190121, Санкт-Петербург, наб. реки Фонтанки, 203, ОАО «Адмиралтейские верфи», инженерный центр А.К. Андрееву
Извещение опубликовано: 20.04.2009 БИ: 11/2009
|