|
|
(21), (22) Заявка: 2002129997/11, 12.11.2002
(24) Дата начала отсчета срока действия патента:
12.11.2002
(30) Конвенционный приоритет:
16.11.2001 (пп.1-14) EP 01660206.2
(43) Дата публикации заявки: 10.05.2004
(46) Опубликовано: 10.04.2007
(56) Список документов, цитированных в отчете о поиске:
ЕР 0642964 В1, 15.03.1995. GB 1508173 A1, 19.04.1978. SU 1654071 A1, 07.06.1991.
Адрес для переписки:
191186, Санкт-Петербург, а/я 230, “АРС-ПАТЕНТ”, пат.пов. В.М.Рыбакову, рег. № 90
|
(72) Автор(ы):
СЯНТТИ Кай (FI), КОИВУРОВА Юкка (FI)
(73) Патентообладатель(и):
ТАЛГО ОЙ (FI)
|
(54) СОЕДИНИТЕЛЬНЫЙ ПРОХОД МЕЖДУ ДВУХЭТАЖНЫМИ ЖЕЛЕЗНОДОРОЖНЫМИ ПАССАЖИРСКИМИ ВАГОНАМИ
(57) Реферат:
Изобретение относится к железнодорожному транспорту. Соединительный проход (9) между двухэтажными сочлененными железнодорожными пассажирскими вагонами, имеющими нижнее пассажирское отделение (7) с полом (3) первого этажа, расположенным на первом нижнем уровне (H1а) между парами колес, и верхнее пассажирское отделение (8) с расположенным на верхнем уровне (Н2) полом (4) второго этажа, содержит колесную раму с опущенной центральной частью и парой колес, расположенную на участке между двумя соседними вагонами. В проходе мостик первого этажа проходит между двумя соседними вагонами и располагается на втором нижнем уровне (Н1b) пола первого этажа, а мостик второго этажа проходит между двумя соседними вагонами практически на том же верхнем уровне, что и пол второго этажа соединенных вагонов. Первый и второй нижние уровни (H1a, H1b) пола первого этажа и мостика первого этажа находятся ниже самых верхних точек (Р) окружностей упомянутых колес. Изобретение повышает эффективность. 13 з.п. ф-лы, 6 ил.
Область техники, к которой относится изобретение
Изобретение относится к соединительным проходам между двухэтажными сочлененными железнодорожными пассажирскими вагонами, имеющими ограниченный кинематический габарит и содержащими нижнее пассажирское отделение с некоторой высотой внутреннего пространства и полом первого этажа, находящимся на нижнем уровне, и верхнее пассажирское отделение с некоторой высотой внутреннего пространства и полом второго этажа, находящимся на верхнем уровне, причем верхнее отделение расположено над упомянутым нижним пассажирским отделением.
Уровень техники
В публикации DE-4335420 описывается область соединения пассажирских вагонов с лестницами для двухэтажных железнодорожных поездов, спроектированная таким образом, чтобы пассажиры, быстро поднявшись на верхний этаж по лестнице, могли также быстро сориентироваться и с удобством пройти к своим местам в соответствующих вагонах. Публикация раскрывает недостатки двухэтажных железнодорожных пассажирских вагонов, свойственные такой области прохода на верхний этаж и лестницу, где существуют, например, сложности, связанные со слишком узким проходом и лестничным соединением с верхним этажом, следовательно, приводящие к потерям полезного пространства в вагоне. В соответствии с данной публикацией эти проблемы решаются путем размещения лестниц и коридоров в конце двух сцепленных вагонов по диагонали друг к другу, так что образуется Х-образная компоновка. В результате эти лестницы и коридоры идут от единого мостика, проходя от вагона к вагону на несколько более низком уровне, чем верхние этажи сцепленных вагонов. Сочетание области схода с лестницы и области соединения между вагонами, находящейся в зоне их сцепки, позволяет сэкономить размеры прохода.
Публикация ЕР-0336809 описывает двухэтажный железнодорожный вагон для перевозки автомобилей, оснащенный растяжимой упругой мембраной в соединительном проходе между вагонами. Основным предметом публикации является конструкция и расположение гофрированной мембраны, обеспечивающей свободное перемещение автомобилей и пассажиров. Публикация также касается двух сплошных полов, удлиняющих пол вагона за счет соответствующей деформации и вложенных в гофрированную мембрану. Каким образом это становится возможным, публикация не объясняет. Вагоны такого типа предлагается использовать для транспортировки автомобилей через Ла Манш, причем наружные размеры вагонов значительно превосходят габариты, допустимые для обычных железных дорог. По ширине эти размеры могут быть рассчитаны, исходя из железнодорожной колеи, ширина которой между внутренними сторонами рельсов равна 1400 мм, в то время как высота вагона, описанного в публикации, измеренная от поверхности рельса, приблизительно равна 6060 мм, а его ширина составляет около 4730 мм. Кроме того, форма вагона в поперечном сечении его верхней угловой части еще больше отклоняется от погрузочного и кинематического габаритов, допустимых для обычных железных дорог. Пол нижнего этажа вагона проходит как одна плоскость между универсально используемыми двухосными тележками с четырьмя колесами и над этими двухосными тележками, что невозможно в вагонах, имеющих стандартный кинематический габарит или профиль в соответствии с нормами и правилами UIC 505-1 OR, Приложение 4, которое определяет максимальную высоту в 4660 мм или 4310 мм, т.к. при таких размерах пространство между верхней стороной двухосной тележки и верхним пределом габарита недостаточно для двух полов или этажей. Таким образом, ограниченное вертикальное пространство над двухосными тележками требует конструкции, в которой имеется только один этаж в зоне тележек, а пол нижнего этажа расположен ниже верхней стороны тележек в пространстве между этими тележками, чтобы обеспечить требуемую высоту отделений именно так, как описано в публикации DE-4335420. Упомянутые ограничения справедливы также для всех прочих кинематических габаритов, применяемых для обычных железнодорожных путей в Западной и Восточной Европе, и для большей части кинематических габаритов, применяемых для обычных железнодорожных путей на других континентах.
Обычно используемая до сих пор конструкция, недостатки которой описаны в DE-4335420, показана на Фиг.6, где видны потери пространства вокруг двери и лестницы, а также в зоне двухосных тележек. Можно подсчитать, что только около 40% общей длины вагона может быть использовано для размещения пассажирских мест. Это означает, что коэффициент эффективности размещения пассажирских мест в обычных вагонах приблизительно равен 40%+1/2·20%=50%. Коэффициент эффективности размещения пассажирских мест в вагоне согласно DE-4335420 составляет около 60%, т.е. немногим больше, чем в обычных вагонах.
Публикации GB-589565 и GB-1508173 касаются сочлененных железнодорожных вагонов, в которых колеса направлены таким образом, что они соприкасаются с рельсами под небольшим отрицательным углом, допуская тем самым применение в конструкции поезда легких материалов и обеспечивая возможность движения поезда с высокой скоростью без риска схода с рельсов. В соответствии с GB-589565 это достигается благодаря монтажу колесной пары на тележке, расположенной между двумя смежными вагонами и выполненной с возможностью сцепления с одним или другим из упомянутых вагонов в зависимости от направления движения. Колеса установлены на тележке независимо друг от друга вокруг общей оси. Более поздняя публикация GB-1508173 описывает усовершенствования в сочлененных железнодорожных вагонах, имеющих корпус, один конец которого опирается на ходовую часть вагона или на раму тележки, или на траверсу с колесной парой. Далее корпус вагона установлен на рессорах, передающих нагрузку на ходовую часть и расположенных независимо друг от друга, симметрично с каждой стороны центральной вертикальной продольной плоскости корпуса вагона. Рессоры представляют собой регулируемые пневматические рессоры, призванные уменьшить дискомфорт пассажира от несбалансированной центробежной силы, когда поезд набирает скорость выше заданного минимального значения, и когда рельсовый путь имеет существенную заданную кривизну. Таким образом, обе эти публикации относятся только к конструкции и работе колесного устройства.
Публикация ЕР-0642964 раскрывает двухэтажный сочлененный поезд, состоящий из сочлененных головной части и соединительных блоков, одноосных тележек в узлах сочленения, входов в соединительные блоки и переходов в узлах сочленения, а также оперативно сцепляемых и расцепляемых двухэтажных узлов сочленения и двухэтажных головных блоков, одноосных тележек, расположенных на концах каждого узла сочленения, и подвижных шарнирных сцепок в узлах сочленения. Следовательно, имеется традиционная ось между двумя колесами в тележке. Публикация не касается каких-либо подвесок или рессор. Переходы в узлах сочленения между двухэтажными блоками спроектированы как двухэтажные, каждый в виде отдельного перехода для каждого нижнего и верхнего этажей, а двухэтажные блоки состоят из замкнутых кольцеобразных гофрированных межвагонных переходов, сопоставленных с внешним контуром двухэтажного блока с одного конца и кольцом, в которое входят гофрированные переходы в оконечной торцевой поверхности рамы, с другого конца. Шарнирные сцепки в узлах сочленения могут перемещаться в трех направлениях и имеют конструкцию, при которой на них воздействуют как горизонтальные, так и вертикальные силы, включая поперечные силы и реакции опоры. Попытка разместить в конструкции недостающие подвески показывает, что в этом случае высота перехода существенно уменьшится по сравнению с изображенной на чертежах данной публикации. При такой конструкции тележка и сочленение подвергаются воздействию чрезмерно больших сил и моментов сил, следовательно, необходима тяжелая конструкция.
Сущность изобретения
Основной задачей изобретения является дальнейшее повышение эффективности размещения пассажирских мест в железнодорожных вагонах, используемых на обычных железных дорогах. Такие пассажирские вагоны имеют наружный профиль, соответствующий европейским нормам и правилам UIC 505-1 OR, Приложение 4, или другим соответствующим национальным или международным правилам или стандартам, применимым для обычных железных дорог, по меньшей мере для железных дорог, участки которых проходят через города и другие населенные пункты. При этом вагон должен иметь как можно больше пассажирских мест. Второй задачей изобретения является обеспечение таких конструктивных особенностей вагона, благодаря которым поезд способен развивать высокие скорости без каких-либо функциональных проблем. Третьей задачей изобретения является обеспечение упомянутого повышения эффективности при как можно более простой и надежной конструкции без излишних затрат.
Вышеуказанные задачи изобретения и описанные проблемы могут быть решены за счет обеспечения колесной рамы в пространстве между двумя соседними вагонами, имеющей опущенную центральную часть и пару колес, опирающуюся на индивидуальные подшипники и связанную посредством этих подшипников с колесной рамой; прохода, в котором мостик первого этажа проходит между двумя соседними вагонами и расположен по существу на одном нижнем уровне с полом первых этажей соединенных вагонов, а мостик второго этажа проходит между упомянутыми двумя соседними вагонами и расположен по существу на одном верхнем уровне с полом вторых этажей соединенных вагонов, причем упомянутые нижние уровни пола и мостика первого этажа находятся ниже самых верхних точек окружностей упомянутых колес.
При этом было обнаружено, что можно избежать необходимость прохода пассажиров только через один этаж в области колес между вагонами, а вместо этого обеспечить два мостика и два прохода между вагонами, как продолжение пола первого этажа и пола второго этажа, и за счет этого существенно уменьшить потери пространства. Главным преимуществом такого расположения в соответствии с изобретением является то, что на практике можно легко довести коэффициент эффективности размещения пассажирских мест, по крайней мере, до 80-90%. Это значит, что почти вся длина вагона может быть использована для образования двух этажей или полов с местами для пассажиров. Другое преимущество состоит в том, что оба прохода между вагонами имеют достаточную высоту.
Краткий перечень фигур чертежей
Детальное описание изобретения приводится ниже со ссылками на сопроводительные чертежи, где
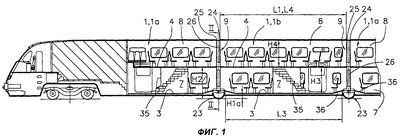
на фиг.1 в продольном сечении вертикальной центральной плоскостью I-I (фиг.2) показана в основном часть поезда с соединительными проходами между двухэтажными сочлененными железнодорожными пассажирскими вагонами согласно изобретению;
на фиг.2 изображен соединительный проход согласно изобретению, имеющий мостик первого этажа и мостик второго этажа, а также колесную раму с парой независимо вращающихся колес между соседними вагонами, частично в поперечном сечении вертикальной плоскостью II-II (фиг.1) и частично в соответствующем направлении;
на фиг.3 изображен соединительный проход по фиг.1 в увеличенном масштабе и колесная рама с парой независимых колес между соседними вагонами в той же проекции, что и на фиг.2;
на фиг.4 изображена деталь гофрированного перехода на участке IV (фиг.3), являющегося частью соединительного прохода и окружающего соединительный проход согласно изобретению;
на Фиг.5 схематически изображены на виде сверху, обозначенном стрелкой V на фиг.2, мостики на полах первого и второго этажей вагонов, переходящие из вагона в вагон внутри соединительного прохода согласно изобретению;
на фиг.6 на том же виде, что на фиг.1 изображена в основном часть поезда, известного из уровня техники, где каждый вагон снабжен тележными узлами, каждый из которых состоит из двухосных тележек, размещенных на концах вагона, а также единственным полом в области соединительного прохода.
Сведения, подтверждающие возможность осуществления изобретения
Соединительный проход 9 между двухэтажными сочлененными железнодорожными пассажирскими вагонами 1 согласно изобретению имеет несколько конструктивных особенностей. Двухэтажные пассажирские вагоны 1 включают нижнее пассажирское отделение 7 и верхнее пассажирское отделение 8, расположенное над нижним пассажирским отделением. Нижнее пассажирское отделение имеет высоту внутреннего пространства Н3 и пол 3 первого этажа на первом нижнем уровне H1а, на котором установлены места для пассажиров, как показано на фиг.1. Это отделение обеспечивает необходимое вертикальное пространство для прохода пассажиров по вагону, а также к своим местам и от них. Пол 3 первого этажа нижнего пассажирского отделения 7 расположен между парами 23 колес 12а, 12b, размещенными в концах 24, 25 каждого вагона, как описано ниже, т.е. на уровне, находящемся ниже линии, проходящей через самые верхние точки колес. Подобным же образом верхнее пассажирское отделение 8 имеет высоту внутреннего пространства Н4 и пол 4 второго этажа на верхнем уровне Н2, на котором установлены места для пассажиров, как показано на фиг.1. Верхнее отделение обеспечивает необходимое вертикальное пространство для прохода пассажиров по вагону, а также к своим местам и от них. Верхнее пассажирское отделение, находящееся над нижним пассажирским отделением, имеет длину L4, которая так же как и длина L3 нижнего пассажирского отделения практически равна длине L1 вагона 1, что обеспечивает высокоэффективное использование общего внутреннего пространства вагонов. Длина L3 нижнего пассажирского отделения лишь немного меньше общей длины L1 вагона. Такое уменьшение обусловлено детально описанными ниже средствами подвески 29, представляющими собой пару рессор, передающих вес вагонов на колесную пару с колесной рамой 10, расположенную между вагонами. Продольное пространство между смежными концами 24, 25 соседних вагонов, которое в любом случае требуется для этих средств подвески 29, по меньшей мере частично входящими в зазор 26, лишь в незначительной степени сокращает полезное пространство нижнего пассажирского отделения и практически не вызывает потери полезного пространства верхнего пассажирского отделения. Конечно, между верхним пассажирским отделением 8 и нижним пассажирским отделением 7 необходима лестница 35, но одна лестница в вагоне приводит к потере лишь нескольких пассажирских мест. При сравнении с обычным двухэтажным пассажирским железнодорожным вагоном, показанным на фиг.6, можно легко обнаружить, что высота между верхним пределом стандартного кинематического габарита и верхними сторонами двухосных тележек, установленных на обоих концах каждого вагона, настолько мала, что на участках тележек можно оборудовать только одноуровневое пассажирское отделение. Это приводит к существенным потерям пространства, которые вместе с потерями пространства из-за наличия лестниц оказывают чрезвычайно негативное влияние на эффективность использования пространства в обычных вагонах.
Для обычных железнодорожных путей поперечные размеры пассажирских и грузовых вагонов строго стандартизованы и ограничены по меньшей мере на Европейском континенте, и еще более ограничены в Великобритании, а также до некоторой степени в США в отношении поездов, проходящих через города и крупные населенные пункты. Например, в Западной Европе, как правило, руководствуются стандартом, основанным на нормах и правилах UIC 505-1 OR, Приложение 4. По вертикали определенный кинематический габарит настолько мал, что в области расположения обычных двухосных тележек с колесами достаточно большого диаметра, обеспечивающих требуемую грузоподъемность и высокую скорость движения, не остается внутреннее пространство с высотой, достаточной для расположения друг над другом двух пассажирских отделений. Именно поэтому пол нижнего этажа, обычно проходящий между колесами, расположен вне зависимости от типа колесного устройства на уровне ниже самых верхних точек окружностей колес. При этих стандартных условиях участок высотой Нр между верхним пределом стандартного кинематического габарита и упомянутыми колесами меньше суммы Н3+Н4 высот внутреннего пространства двух расположенных друг над другом пассажирских отделений 7, 8, т.е. Н3+Н4 Нр. В действительности, в высоту отделений следовало бы включить толщину полов и перекрытия между этажами, но поскольку эта толщина в вагонах очень мала, ею можно пренебречь. Максимальная сумма упомянутой высоты Нр и диаметра окружности колес должна быть меньше или равна вертикальному кинематическому габариту, т.е. Нр+ “кинематический габарит”, в результате чего сумма Нр+ высоты и диаметра колес приближается к вертикальному кинематическому габариту. Диаметр колес 12а, 12b зависит от действующей на них весовой нагрузки и требуемой скорости поезда. Типичный диаметр колеса равен по меньшей мере 800 мм, а предпочтительно порядка 900-950 мм. Высота внутреннего пространства Н3 нижних пассажирских отделений 7 практически равна высоте внутреннего пространства Н4 верхних пассажирских отделений 8.
Смежные концы 24, 25 каждого из двух соседних вагонов 1а и 1b или 1b и 1а опираются на колесную раму 10, расположенную вместе с колесами 12а, 12b по меньшей мере частично в пределах зазора 26 между двумя соседними вагонами. Обозначение 1 обычно используется для вагонов, а обозначения 1a, 1b используются только в тех случаях, когда имеется необходимость различить соседние вагоны. Зазор 26 между смежными концами 24, 25 соседних вагонов необходим, чтобы обеспечить возможность поворота вагонов относительно друг друга на криволинейном участке железнодорожного пути, т.е. для обеспечения угла между продольными осями соседних вагонов, отличающегося от 180°. Колесная рама 10 имеет опущенную центральную часть 11, соответственно, U-образную форму в плоскости, перпендикулярной продольной оси L1 вагона, и пару колес 12а, 12b, опирающихся на индивидуальные подшипники 13 и связанных через них с упомянутой колесной рамой, как видно на фиг.2. Эти колеса 12а, 12b в колесной паре 23 имеют общую осевую линию 14, но не имеют общей оси. Верхняя поверхность 102 опущенной части 11 колесной рамы расположена ниже осевой линии 14 колес 12а, 12b, частота вращения которых независима благодаря конструкции с независимыми подшипниками. Соответственно, опущенная часть находится ниже осевой линии 14. Далее вагоны содержат средства подвески 29, установленные между колесной рамой 10 и корпусом вагона в двух точках 28а, 28b на расстоянии W2 друг от друга по ширине вагона. Средства подвески 29 жестко прикреплены в этих двух точках 28а, 28b к корпусу одного из двух соседних вагонов в опорной зоне 27с у его конца, а конец другого вагона поддерживается по меньшей мере парой несущих стержней 27а, 27b, расположенных на обеих продольных сторонах вагонов, например по вертикали в области упомянутых опорных точек 28а, 28b средств подвески, и пересекающих зазор 26. Несущие стержни 27а, 27b прикреплены к вагону со средствами подвески в точке, находящейся существенно выше, чем точка крепления в другом вагоне, который поддерживается этими несущими стержнями. Поэтому нагрузка от обоих смежных концов 24, 25 двух соседних вагонов передается через средства подвески 29 и одноосную колесную раму 10 с колесной парой 23. Кроме того, соседние вагоны 1а, 1b содержат между собой две пары 30 соединительных тяг 31а, 31b. Соединительные тяги в обеих парах 30, каждая из которых находится с одной продольной стороны вагона, расположены друг за другом и пропущены при помощи рычага управления 32 через сцепку 33. Каждый рычаг управления 32 шарнирно прикреплен к одному из противоположных концов колесной рамы 10, а соединительные тяги спарены со стационарными сцепками 34 с противоположных концов соседних вагонов. Соединительные тяги 31а, 31b и рычаг управления 32 через зазор 26 уравнивают совместное продольное перемещение колесных рам с обеих сторон поезда, то есть сокращающееся перемещение с одной стороны и увеличивающееся перемещение с другой стороны, обеспечивая тем самым параллельность прямого участка железнодорожного пути и плоскости качения колес. Таким образом, две соединительные тяги 31а, 31b с их рычагом управления 32 формируют соединение переменной длины между соседними вагонами. На несущие стержни 27а, 27b действуют вертикальные силы и частично поперечные силы между вагонами, а соединительные тяги 31а, 31b с рычагами управления 32 обеспечивают систему управления колесной парой таким образом, чтобы осевая линия 14 была всегда перпендикулярна железнодорожному пути. Далее, сцепное устройство содержит не показанные детально на чертежах два соединительных стержня 100, которые проходят от концов соседних вагонов по направлению друг к другу и которые соединяются через сцепное устройство 101. Соединительные стержни 100 со сцепным устройством 101 соединяют соседние вагоны 1a, 1b, 1a и т.д. без какого-либо контакта с колесной рамой. Вертикальная линия, проходящая через ось поворота сцепного устройства 101, и горизонтальная осевая линия 14 расположены в одной плоскости, т.е. пересекаются. В типовом варианте соединительные стержни 100 со сцепным устройством 101 расположены в пространстве, образованном опущенной центральной частью 11, т.е. соединительные стержни со сцепным устройством проходят от вагона к вагону над опущенной центральной частью, но под мостиком первого этажа 5. Желательно, чтобы соединительные стержни со сцепным устройством могли быть по высоте приблизительно на уровне осевой линии или ниже этого уровня. Это устройство позволяет исключить образование момента сил в соединении вагонов. При такой конструкции сцепка нагружена продольными и частично поперечными силами, но никаких вертикальных сил между вагонами не возникает. Другие технические особенности сцепки между каждыми двумя соседними вагонами, т.е. конструкция сцепки, детали конструкции рычага управления 32, соединительных тяг 31а, 31b, несущих стержней 27а, 27b и средств подвески 29 в дальнейшем подробно не описываются, поскольку эти дополнительные отличия не влияют на изобретение.
Согласно изобретению в соединительном проходе имеется мостик 5 первого этажа, проходящий между двумя соседними вагонами 1а, 1b и расположенный в основном на втором нижнем уровне Н1b на полу 3 первого этажа соединенных вагонов, а также мостик 6 второго этажа, проходящий между двумя соседними вагонами 1а, 1b. Первый нижний уровень H1а пола первого этажа и второй нижний уровень Н1b мостиков первого этажа расположены ниже самых верхних точек Р окружностей колес. В варианте осуществления изобретения, показанном на чертежах, второй нижний уровень Н1b несколько выше первого нижнего уровня H1а, так что имеется небольшая разность высот Н, вследствие чего второй нижний уровень Н1b мостика 5 первого этажа расположен на высоте между осевой линией 14 и самыми верхними точками Р окружностей колес. Для создания непрерывного пола, желательно без ступеней, чтобы обеспечить удобство прохода пассажиров и, в особенности, инвалидов, например, в инвалидных колясках, пол 3 первого этажа снабжен пандусами 36 на обоих концах вагона, поднимающимися от первого нижнего уровня H1а до второго нижнего уровня Н1b. В зависимости от конфигурации и размеров колесной рамы 10 между колесами 13а и 13b возможно также обеспечить мостик первого этажа в основном на том же уровне, что и пол 3 первого этажа. В этом варианте изобретения второй нижний уровень Н1b мостика первого этажа и первый нижний уровень H1а пола первого этажа могут быть расположены низко, приблизительно на высоте осевой линии 14. В любом случае, первый нижний уровень H1а пола 3 первого этажа и второй нижний уровень Н1b мостиков 5 первого этажа расположены ниже верхних точек Р окружностей колес, а обычно между самой верхней точкой Р окружности колеса и общей осевой линией 14 колес. Поэтому мостик 5 первого этажа проходит от вагона к вагону 1a-1b-1a и т.д. между колесами 12а и 12b колесной пары и над опущенной центральной частью 11 колесной рамы 10. Мостик 6 второго этажа расположен по существу на том же верхнем уровне Н2, что и пол 4 второго этажа соединенных вагонов. Мостик 5 обычно опирается на пол 3 первого этажа или пандусы 36 соседних вагонов. Подобным же образом, мостик 6 обычно опирается на пол 4 второго этажа соседних вагонов. По возможности второй нижний уровень Н1b мостика 5 должен быть ближе к общей осевой линии 14 упомянутой колесной пары, чем самые верхние точки Р окружностей колес.
Поскольку мостики 6 вторых этажей находятся над мостиками 5 первых этажей, которые расположены на втором нижнем уровне Н1b, т.е. существенно ниже самых верхних точек Р окружностей колес и рядом с первым нижним уровнем пола 3 первого этажа, соединительный проход согласно изобретению имеет нижний проход 15 над мостиком 5, идущий от нижнего пассажирского отделения 7 в одном из соседних вагонов 1а или 1b до нижнего пассажирского отделения 7 в другом соседнем вагоне 1b или 1а. Нижний проход 15 идет от вагона к вагону в пределах расстояния W2 между точками крепления 28а, 28b средств подвески к вагону. Этот нижний проход 15 имеет высоту 5 внутреннего пространства Н5, по существу такую же или приближающуюся по значению к высоте внутреннего пространства H3 нижнего пассажирского отделения. Возможная разница между высотой внутреннего пространства Н5 нижнего прохода и высотой внутреннего пространства Н3 нижнего пассажирского отделения 7 составляет разность высот Н, являющуюся частью высоты внутреннего пространства Н3 нижнего пассажирского отделения. Разность высот Н меньше 20%, предпочтительно меньше 15%, а обычно составляет от 5% до 10% от высоты внутреннего пространства Н3 нижнего пассажирского отделения. Соединительный проход согласно изобретению также имеет верхний проход 16 над мостиком второго этажа 6, идущий от верхнего пассажирского отделения 8 в одном из соседних вагонов 1а или 1b до верхнего пассажирского отделения 8 в другом соседнем вагоне 1b или 1а. Этот верхний проход имеет высоту внутреннего пространства Н6, приближающуюся по значению к высоте внутреннего пространства Н4 верхнего пассажирского отделения. В большинстве случаев высота внутреннего пространства Н6 верхнего прохода 16 практически равна высоте внутреннего пространства Н4 верхнего пассажирского отделения. Отклонения высоты находятся в пределах толщины мостика, что является несущественным, поскольку толщина мостиков 5, 6 может быть исключительно мала, в пределах 10-30 мм, допустимой благодаря малой величине нагрузки, создаваемой пассажирами, и малой ширине зазора 26 между вагонами. Нижний проход 15 имеет ширину внутреннего пространства W5, существенно меньшую ширины внутреннего пространства W3 нижнего пассажирского отделения 7, а верхний проход 16 имеет ширину внутреннего пространства W6, существенно меньшую ширины внутреннего пространства W4 верхнего пассажирского отделения 8. Эти сужения проходов W5, W6 допустимы и практичны, поскольку они достаточно широки для передвижения пассажиров и позволяют использовать простые и легкие мостики 5, 6.
Конструкция и крепление мостиков выполнены следующим образом: один из соседних вагонов оснащен замком 20, закрепленным в полу 3 первого этажа, который шарнирно поворачивается вокруг вертикальной оси V и соединяет мостик 5 с вагоном, а также замком 20, закрепленным в полу 4 второго этажа, который шарнирно поворачивается вокруг вертикальной оси V и соединяет мостик 6 с вагоном. Замки 20 могут быть простыми вертикальными стержнями, устанавливаемыми вблизи одного из концов мостика, которые не допускают нежелательного смещения мостика и, в то же время, позволяют ему шарнирно поворачиваться вокруг вертикальной оси V, проходящей через стержень. Шарнирный поворот происходит при прохождении поезда по криволинейному участку железнодорожного пути. Другой из соседних вагонов, не оснащенный шарнирным соединением, имеет пару боковых ограничителей 21, закрепленных в полу 3 первого этажа, и пару боковых ограничителей 21, закрепленных в полу 4 второго этажа, так что боковые ограничители расположены по обе стороны первого и второго мостиков 5, 6. Обычно между ограничителями и продольными сторонами 19 мостиков имеется небольшой зазор С, благодаря которому края мостиков могут скользить вдоль боковых ограничителей 21, когда вагоны поворачиваются при входе на криволинейный участок пути, движении по нему и выходе из такого участка. Боковые ограничители могут также включать устройства для закрепления мостиков на соответствующем вагоне 1, а также устройства, препятствующие нежелательному смещению мостиков. Поскольку оба смежных конца 24, 25 соседних вагонов одновременно опираются на общие для обоих вагонов средства подвески 29, вертикальные перемещения между этими практически соприкасающимися концами 24 и 25 соседних вагонов 1а и 1b и 1a и т.д. крайне незначительны, если вообще существуют, что позволяет осуществить простое закрепление мостиков на вагонах, предпочтительно непосредственно на полах 3, 4 первого и второго этажей и/или на их опорных элементах в соседних вагонах. Благодаря этому мостики 5, 6 едва ощущаются пассажирами при движении поезда.
Далее вагоны содержат гофрированные оболочки 39, которые окружают проход. Гофрированные оболочки 39 расположены по существу в пределах установленного кинематического габарита, поэтому они проходят вдоль заданной ограничительной линии или зоны соединения верхнего прохода 16 и нижнего прохода 15, как ясно видно из фиг.2. Такая компоновка обеспечивает снижение шума в проходах, сохраняет чистоту и позволяет пассажирам воспринимать проходы как части пассажирских отделений 7, 8. Можно также предусмотреть отдельные гофрированные оболочки для верхнего и нижнего проходов соответственно, вместо единой гофрированной оболочки для обоих проходов.
Формула изобретения
1. Соединительный проход между двухэтажными сочлененными пассажирскими железнодорожными вагонами, содержащий колесную раму с парой колес; причем упомянутые вагоны включают нижнее пассажирское отделение с высотой внутреннего пространства (Н3) и полом первого этажа, расположенным на первом нижнем уровне (H1а) между колесными парами на концах вагона, и верхнее пассажирское отделение с высотой внутреннего пространства (Н4) и расположенным на верхнем уровне (Н2) полом второго этажа, которое находится над упомянутым нижним пассажирским отделением; при этом проход имеет мостик первого этажа, проходящий между двумя соседними вагонами и расположенный на втором нижнем уровне (Н1b) на полу первых этажей соединенных вагонов, и мостик второго этажа, проходящий между упомянутыми двумя соседними вагонами и расположенный, по существу, на одном верхнем уровне (Н2) с полами вторых этажей соединенных вагонов, отличающийся тем, что упомянутая колесная рама содержит опущенную центральную часть, а в области между двумя соседними вагонами упомянутая пара колес опирается на индивидуальные подшипники и связана посредством этих подшипников с колесной рамой; в упомянутых вагонах высота (Нр) участка между верхним пределом стандартного кинематического габарита и упомянутыми колесами меньше суммы (Н3+Н4) высот внутреннего пространства и в упомянутом проходе первый и второй нижние уровни (H1а, H1b) пола и мостика первого этажа находятся ниже самых верхних точек окружностей упомянутых колес.
2. Проход по п.1, отличающийся тем, что первый нижний уровень (H1а) пола первого этажа находится, по существу, на высоте общей осевой линии упомянутой пары колес, а второй нижний уровень (H1b) мостика первого этажа находится от общей осевой линии пары колес на меньшем расстоянии, чем самые верхние точки окружностей упомянутых колес.
3. Проход по п.1 или 2, отличающийся тем, что он имеет нижний проход над мостиком первого этажа, ведущий из нижнего пассажирского отделения одного соседнего вагона в нижнее пассажирское отделение другого соседнего вагона, причем этот нижний проход имеет высоту внутреннего пространства (Н5), близкую к высоте внутреннего пространства (Н3) нижнего пассажирского отделения.
4. Проход по п.1 или 2, отличающийся тем, что он имеет верхний проход над мостиком второго этажа, ведущий из верхнего пассажирского отделения одного соседнего вагона в верхнее пассажирское отделение другого соседнего вагона, причем этот верхний проход имеет высоту внутреннего пространства (Н6), близкую к высоте внутреннего пространства (Н4) верхнего пассажирского отделения.
5. Проход по п.3 или 4, отличающийся тем, что высота внутреннего пространства (Н3) нижнего пассажирского отделения, по существу, равна высоте внутреннего пространства (Н4) верхнего пассажирского отделения.
6. Проход по п.1 или 2, отличающийся тем, что мостик первого этажа проходит от вагона к вагону между колесами упомянутой пары колес и над опущенной центральной частью колесной рамы.
7. Проход по п.3 или 4, отличающийся тем, что ширина внутреннего пространства (W5) нижнего прохода и ширина внутреннего пространства (W6) верхнего прохода значительно меньше соответственно ширины внутреннего пространства (W3, W4) нижнего и верхнего пассажирских отделений.
8. Проход по п.1, отличающийся тем, что упомянутые соседние вагоны содержат между собой две пары соединительных тяг, которые в обеих парах расположены друг за другом и пропущены через сцепки при помощи рычага управления, закрепленного шарнирно на одном из противоположных концов колесной рамы, причем эти соединительные тяги спарены со стационарными сцепками с противоположных концов соседних вагонов.
9. Проход по п.8, отличающийся тем, что один из соседних вагонов оснащен замками, соединяющими упомянутые мостики с вагоном с возможностью их вращения вокруг вертикальной оси, а другой из соседних вагонов оснащен парой боковых ограничителей, закрепленных в полу первого этажа и в полу второго этажа, причем эти ограничители расположены по обеим сторонам мостиков первого и второго этажей.
10. Проход по любому из пп.1, 8 и 9, отличающийся тем, что мостики первого и второго этажей опираются соответственно на пол первого этажа и пол второго этажа.
11. Проход по п.1, отличающийся тем, что один из упомянутых соседних вагонов содержит средства подвески, установленные между колесной рамой и корпусом вагона в двух точках, находящихся на расстоянии (W2) друг от друга по ширине вагона, и нижний проход, ведущий из вагона в вагон и находящийся в пределах упомянутого расстояния.
12. Проход по п.1, отличающийся тем, что упомянутые вагоны содержат по меньшей мере одну гофрированную оболочку, окружающую проход, которая расположена, по существу, в пределах установленного кинематического габарита.
13. Проход по п.1, отличающийся тем, что упомянутая опущенная часть расположена ниже общей осевой линии, а упомянутые соседние вагоны содержат соединительные стержни со сцепным устройством, соединяющие вагоны без контакта с колесной рамой.
14. Проход по п.11, отличающийся тем, что второй из двух соседних вагонов поддерживается по меньшей мере одной парой несущих стержней, расположенных на обеих продольных сторонах вагонов.
РИСУНКИ
|
|