|
|
(21), (22) Заявка: 2005121838/12, 09.12.2003
(24) Дата начала отсчета срока действия патента:
09.12.2003
(30) Конвенционный приоритет:
13.12.2002 DE 10258326.9
(43) Дата публикации заявки: 20.01.2006
(46) Опубликовано: 10.04.2007
(56) Список документов, цитированных в отчете о поиске:
US 4895070 А, 23.01.1990. DE 2927127 А, 08.01.1981. JP 01232045 А, 18.09.1989. JP 09011435 А, 14.01.1997. RU 2158203 С1, 27.10.2000.
(85) Дата перевода заявки PCT на национальную фазу:
13.07.2005
(86) Заявка PCT:
DE 03/04038 (09.12.2003)
(87) Публикация PCT:
WO 2004/054804 (01.07.2004)
Адрес для переписки:
105064, Москва, ул. Казакова, 16, НИИР Канцелярия “Патентные поверенные Квашнин, Сапельников и партнеры”, пат.пов. В.П.Квашнину
|
(72) Автор(ы):
БОЛЬЦА-ШЮНЕМАНН Клаус Аугуст (DE)
(73) Патентообладатель(и):
Кениг унд Бауер Акциенгезельшафт (DE)
|
(54) СПОСОБ УПРАВЛЕНИЯ ПЕРВЫМ ВАЛИКОМ, ВПИТЫВАЮЩИМ УВЛАЖНЯЮЩЕЕ СРЕДСТВО ИЗ ИСТОЧНИКА УВЛАЖНЯЮЩЕГО СРЕДСТВА, И ВТОРЫМ ВАЛИКОМ И УВЛАЖНЯЮЩИЕ АППАРАТЫ
(57) Реферат:
Изобретение относится к увлажняющим аппаратам печатных машин, в частности к способу управления первым валиком (04), впитывающим увлажняющее средство (02) из источника (03) увлажняющего средства, и вторым валиком (06). Первый валик (04) переносит увлажняющее средство (02) на второй валик (06), причем первый валик и второй валик имеют отдельные приводные устройства (07; 08). Поверхностные скорости обоих валиков, приводимых в действие соответствующими приводными устройствами каждого из них, отличаются друг от друга. Вследствие изменения поверхностной скорости формного цилиндра (09) меняется проскальзывание между первым и вторым валиками. Это обеспечивает за счет проскальзывания из-за разности окружных скоростей возможность правильного дозирования наносимого на валики увлажняющего средства. 3 н. и 22 з.п. ф-лы, 2 ил.
Настоящее изобретение относится к способу управления первым валиком, впитывающим увлажняющее средство из источника увлажняющего средства, и вторым валиком согласно ограничительной части пунктов 1, 2, 4, 6 или 8 формулы изобретения и к увлажняющим аппаратам согласно ограничительной части пунктов 24, 26, 29, 31 или 87 формулы изобретения.
Из заявки на патент США US 3168037 А известен увлажняющий аппарат, у которого либо погружной валик, впитывающий увлажняющее средство из резервуара с увлажняющим средством, либо перекатывающийся по погружному валику передаточный валик приводится во вращение управляемым приводом так, что хотя скорости вращения обоих этих валиков и являются переменными, однако эти скорости всегда равны по величине.
Из заявки на патент США US 3986452 А известен увлажняющий аппарат, у которого погружной валик, впитывающий увлажняющее средство из резервуара с увлажняющим средством, и, по меньшей мере, еще один валик, находящийся с погружным валиком в перекатывающемся контакте, имеют каждый независимо друг от друга управляемый привод, причем этот другой валик находится в перекатывающемся контакте с увлажняющим накатным валиком, установленным в рабочее положение с формным цилиндром, причем с увлажняющим накатным валиком установлен в рабочее положение переключаемый мостовой валик.
Из заявки на Европейский патент ЕР 0893251 А2 известен увлажняющий аппарат, включающий в себя погружной валик, впитывающий увлажняющее средство из резервуара с увлажняющим средством, и проскальзывающий валик, перекатывающийся по погружному валику, причем оба валика, при необходимости, могут приводиться во вращение отдельными приводными устройствами, причем, однако, оба валика постоянно имеют одну и ту же поверхностную скорость.
Из заявки на Европейский патент ЕР 0462490 А1 известен пленочный увлажняющий аппарат для ротационной печатной машины, причем погружной валик и дозировочный валик в состоящей из трех или четырех валиков, начиная от ящика с увлажняющим средством и до формного цилиндра, валковой цепочке приводятся во вращение совместно от первого электродвигателя, причем установленный вслед за дозировочным валиком в валковой цепочке увлажняющий растирочный валик с помощью соответствующего механизма может дополнительно приводиться в возвратно-поступательное аксиальное движение, и причем в рабочее положение с увлажняющим накатным валиком, приведенным в рабочее положение с увлажняющим растирочным валиком и формным цилиндром, установлен мостовой валик.
Из заявки на патент Германии DE 2932105 С2 известен увлажняющий аппарат для офсетной ротационной печатной машины, причем увлажняющий аппарат, начиная от приема увлажняющего средства до формного цилиндра, включает в себя валковую цепочку, состоящую из трех валиков, и каждый из этих трех валиков приводится во вращение независимо друг от друга электродвигателем предпочтительно с бесступенчатым регулированием.
Из заявки на патент Германии DE 3832527 С2 известно приводное устройство для увлажняющего аппарата офсетной печатной машины, причем предусмотрен переключаемый мостовой валик, установленный в рабочее положение одновременно с увлажняющим накатным валиком и красочным накатным валиком, причем мостовой валик приводится во вращение пневматически, причем управление частотой вращения производится с помощью изменения давления в пневматической системе.
Из заявки на патент Германии DE 29900216 U1 известен увлажняющий аппарат для печатной машины, причем предусмотрены первый валик, впитывающий увлажняющее средство, и связанный с первым валиком по передаче увлажняющего средства второй валик, причем оба валика приводятся во вращение, и причем при работе увлажняющего аппарата между обоими валиками существует проскальзывание, регулируемое с помощью средства управления.
Из международной публикации WO 03/039873 А1 известны приводы печатного аппарата, причем привод вращательного движения и привод переключения валика расположены на его противоположных концах.
Из заявки на патент Японии JP-A-01232045 известен увлажняющий аппарат для офсетной ротационной печатной машины, причем увлажняющий аппарат, начиная от приема увлажняющего средства до формного цилиндра, включает в себя состоящую из трех валиков валковую цепочку, и причем как погружной валик (первый валик), так и передаточный валик (второй валик) приводятся независимо друг от друга регулируемым двигателем.
В основе изобретения лежит задача – создать способ управления первым валиком, впитывающим увлажняющее средство от источника увлажняющего средства, и вторым валиком, а также увлажняющие аппараты.
Эта задача решается согласно изобретению с помощью признаков п.п.1, 2, 4, 6, 8, 24, 26, 29, 31 или 87 формулы изобретения.
Достигаемые с помощью настоящего изобретения преимущества состоят, в частности, в том, что погружной валик и соседний с ним передаточный валик увлажняющего аппарата могут управляться полностью независимо друг от друга. Возникающее между ними проскальзывание по причине произвольной разности в их поверхностных скоростях при необходимости используется для правильного дозирования наносимого на валики увлажняющего средства. Настройка величины проскальзывания производится в зависимости от изменения поверхностной скорости формного цилиндра.
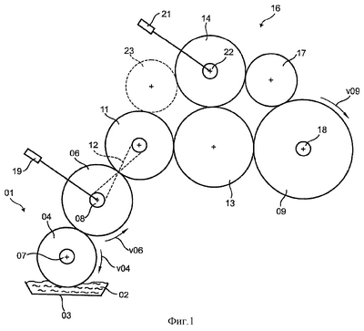
Ниже изобретение подробнее поясняется на примерах его осуществления со ссылкой на прилагаемые чертежи, на которых показано:
Фиг.1 – увлажняющий аппарат с четырьмя валиками в валковой цепочке к формному цилиндру;
Фиг.2 – увлажняющий аппарат с тремя валиками в валковой цепочке к формному цилиндру.
На Фиг.1 и 2 показаны соответственно в схематическом изображении увлажняющий аппарат 01, предпочтительно пленочный увлажняющий аппарат 01, с первым валиком 04 и вторым валиком 06, причем первый валик 04 впитывает увлажняющее средство 02, например воду 02 или водно-спиртовую смесь 02, из источника 03 увлажняющего средства, например резервуара 03 с увлажняющим средством, в частности ящика 03 с увлажняющим средством, или из заполненной увлажняющим средством ванны 03, причем первый валик 04 переносит увлажняющее средство 02, по меньшей мере, частично непосредственно на соседний с первым валиком 04 второй валик 06. С этой целью первый валик 04 выполнен предпочтительно в виде погружного валика 04 или в виде дукторного валика 04. Альтернативно, источник 03 увлажняющего средства может быть выполнен, например, в виде разбрызгивающей плашки 03 с, по меньшей мере, одним разбрызгивающим увлажняющее средство 02 соплом 03 на первый валик 04, причем увлажняющее средство 02 наносится на первый валик 04 в виде тонко распределенных капелек. В других вариантах выполнения предусматривается, что увлажняющий аппарат 01 выполнен в виде щеточного увлажняющего аппарата или центробежного увлажняющего аппарата, в которых увлажняющее средство 02 наносится точно также бесконтактно на первый валик 04. Второй валик 06 может быть выполнен в виде дозировочного валика 06, увлажняющего передаточного валика 06 или растирочного валика 06, в любом случае с хромированной или покрытой керамикой поверхностью. Первый валик 04 является первым из нескольких валиков в валковой цепочке, с помощью которой увлажняющее средство 02 из резервуара 03 с увлажняющим средством транспортируется к тому формному цилиндру 09, работающей по способу офсетной печати печатной машины, который обслуживается данным увлажняющим аппаратом 01. Фиг.1 и 2 различаются, в частности, количеством валиков, расположенных в валковой цепочке.
Печатная машина выполнена, например, в виде акцидентной печатной машины. Ее печатный аппарат имеет, по меньшей мере, один формный цилиндр 09 и один передаточный цилиндр (не показан), причем оба эти цилиндра перекатываются один по другому. Под акцидентной печатной машиной, преимущественно печатной машиной, печатающей офсетным способом акцидентную продукцию, следует понимать печатную машину с формным цилиндром 09, у которой на формном цилиндре 09 в его аксиальном направлении расположена только одна единственная печатная форма, причем печатная форма имеет предпочтительно несколько позиций печати в аксиальном к формному цилиндру 09 направлении, причем позиции печати свободны от заданного формата, т.е. могут иметь, в частности, в аксиальном к формному цилиндру 09 направлении внутри определенных границ любую ширину.
Увлажняющие аппараты 01, использующие увлажняющее средство 02, в которое, например, с целью снижения нагрузки на окружающую среду или уменьшения издержек на увлажняющее средство, предпочтительно либо совсем не добавляется, либо добавляется, по меньшей мере, лишь очень мало спирта, в частности изопропилового спирта (IPA) (количество добавляемого спирта составляет заметно меньше 5% по объему от всего количества добавляемых в увлажняющее средство веществ), для получения хорошего качества печати требуют очень точного регулирования, в зависимости от соответствующей рабочей скорости, количества увлажняющего средства 02, подлежащего передаче на формный цилиндр 09 во время работы печатной машины, т.е. в процессе печатания. Осложняющим обстоятельством является то, что для печатной машины должна быть реализована все более и более высокая эксплуатационная скорость. В современных печатных машинах эксплуатационная скорость цилиндров печатного аппарата доходит до 70000-80000 оборотов в час. Если диаметры находящихся в эффективном контакте друг с другом передаточного цилиндра и формного цилиндра 09 идентичны, то эксплуатационная скорость печатной машины соответствует поверхностной скорости v09 формного цилиндра 09. Увлажняющий аппарат 01 с описываемыми ниже признаками обеспечивает даже при столь высокой эксплуатационной скорости транспорт достаточного и точно отмеряемого количества увлажняющего средства 02.
Кроме того, количество увлажняющего средства 02, необходимое для получения хорошего качества печати на формном цилиндре 09, зависит от эмульгирующей способности применяемой краски и от количества краски, требуемой для получения печатной продукции. Краска и увлажняющее средство 02 образуют смесь, причем в определенных границах в краске, в зависимости от ее свойств, может быть замешано переменное волюметрическое количество увлажняющего средства 02. Возвращаемая в увлажняющий аппарат 01 краска может принять в себя, например, от 15% до 25% увлажняющего средства 02. Количественная доля увлажняющего средства 02 в краске возрастает при увеличении поверхностной скорости v09 формного цилиндра 09. Однако количественная доля эмульгируемого краской увлажняющего средства 02 имеет верхний предел, обусловленный, например, тем, что нанесенная на запечатываемый материал, например бумажное полотно, краска во время прохождения запечатываемого материала через включенный за печатным аппаратом сушильный агрегат, например сушилку Heatset, должна еще надежно высохнуть. Принимая во внимание стремление работать с высокими эксплуатационными скоростями 12 и более м/с, время пребывания запечатываемого материала в сушильном агрегате является очень коротким.
Чем больше цветных позиций печати имеет печатный продукт, тем больше краски требуется на формном цилиндре 09. Если на печатной машине производится печатная продукция, содержащая большее количество цветных элементов, то, следовательно, в таком случае для установки требуемого для печати равновесия между краской и увлажняющим средством 02 необходимо подавать на формный цилиндр 09 также большее количество увлажняющего средства 02. Поэтому для получения хорошего качества печати увлажняющий аппарат 01 с описываемыми ниже признаками регулирует подаваемое на формный цилиндр 09 количество увлажняющего средства 02 также и в зависимости от свойств краски, и ее количественной потребности для изготовления печатной продукции.
Чтобы обеспечить технологически правильное дозирование подаваемого на формный цилиндр 09 количества увлажняющего средства 02, в зависимости от рабочей скорости печатной машины и устанавливаемого равновесия между краской и увлажняющим средством 02, первый валик 04 и второй валик 06 имеют отдельные, т.е. управляемые независимо друг от друга приводные устройства 07; 08. Управляемые независимо друг от друга приводные устройства 07; 08 для первого валика 04 и второго валика 06 имеют то преимущество, что создаваемая приводным устройством 07 поверхностная скорость v04 первого валика 04 и создаваемая приводным устройством 08 поверхностная скорость v06 второго валика 06 не следует жестко за изменением параметра, влияющего на количество увлажняющего средства 02, но что для технологически правильного определения транспортируемого количества увлажняющего средства 02 соотношение поверхностных скоростей v04; v06 также может быть установлено переменным и соответствующим потребности, что оказывает значительное влияние на дозирование увлажняющего средства 02, транспортируемого через увлажняющий аппарат 01. В зависимости от конкретного реального процесса печатания при одном и том же значении поверхностной скорости v09 формного цилиндра 09 могут получаться различные установки поверхностной скорости v04 для первого валика 04 и поверхностной скорости v06 для второго валика 06, а также для их соотношения.
Поверхностная скорость v04 первого валика 04, создаваемая приводным устройством 07, и поверхностная скорость v06 второго валика 06, создаваемая приводным устройством 08, как правило, отличны друг от друга. Предпочтительно поверхностная скорость v04 первого валика 04 меньше, чем поверхностная скорость v06 второго валика 06. Поверхностные скорости v04; v06 являются независимыми друг от друга и могут быть установлены переменными. В предпочтительном варианте поверхностная скорость v06 второго валика 06, например, в два-четыре с половиной раза, предпочтительно в три раза больше поверхностной скорости v04 первого валика 04. Величина поверхностной скорости v04 первого валика 04 ограничена требованием, чтобы первый валик 04 на своей поверхности надежно впитывал увлажняющее средство 02 из резервуара 03. Согласно изобретению, начиная с поверхностной скорости v04 первого валика 04 более 2 м/с достаточное впитывание увлажняющего средства 02 уже не обеспечивается, так как в этом случае увлажняющее средство 02 в значительной мере отбрасывается с поверхности первого валика 04. Поэтому поверхностная скорость v04 первого валика 04 предпочтительно установлена на меньшие значения в сравнении с ее верхней предельной скоростью, например, на значение максимально 1,5 м/с. В соответствии с этим поверхностная скорость v09 формного цилиндра 09 находится в пределах, например, от 12 м/с до 15 м/с.
Если поверхностная скорость v06 второго валика 06 установлена большей, чем поверхностная скорость v04 первого валика 04, что, как правило, обычно и наблюдается, то между первым валиком 04 и вторым валиком 06 существует проскальзывание, потому что поверхностная скорость v04 первого валика 04 отстает от поверхностной скорости v06 второго валика 06. Это проскальзывание, вызванное соотношением поверхностных скоростей v04; v06 обоих валиков 04; 06, может быть установлено переменным с помощью независимых друг от друга приводных устройств 07; 08 для первого валика 04 и второго валика 06.
В зависимости от изменения поверхностной скорости v09 формного цилиндра 09, приводимого во вращение от другого приводного устройства 18, например, при переходе поверхностной скорости v09 формного цилиндра 09 от заправочной скорости печатной машины к ее более высокой эксплуатационной скорости, необходимо отрегулировать количество увлажняющего средства 02, подлежащего транспортированию валковой цепочкой увлажняющего аппарата 01. Заправочная скорость печатной машины лежит, например, в пределах от 1,7 м/с до 3,4 м/с, предпочтительно от 2 м/с до 2,6 м/с, и составляет тем самым от 11% до 25% эксплуатационной скорости печатной машины, соответственно поверхностной скорости v09 формного цилиндра 09. Таким образом, для перехода от заправочной скорости к эксплуатационной скорости поверхностная скорость v09 формного цилиндра 09 повышается, например, в четыре-девять раз. Для такого большого скачка скорости необходим увлажняющий аппарат 01, который способен быстро реагировать и перестраиваться на изменение потребности в количестве транспортируемого увлажняющего средства. Точно также приходится регулировать транспортируемое количество увлажняющего средства 02 и при пуске печатной машины после простоя или при снижении эксплуатационной скорости. Кроме того, действительная потребность в увлажняющем средстве 02 – как уже упоминалось – зависит от количества краски, которое требуется для изготовляемой печатной продукции. Жесткая связь, например трансмиссионная связь между первым валиком 04 и вторым валиком 06, во многих случаях применения, в частности в печатных машинах с большим скачком скоростей, не всегда может в достаточной мере обеспечить быстрое реагирование на такую потребность в подгонке.
Для осуществления требуемого согласования частота вращения приводных устройств 07; 08 валиков 04; 06 увлажняющего аппарата 01 является управляемой, предпочтительно управляемой бесступенчато, в частности управляемой с помощью электроники. Управление может производиться дистанционно, например, с предусмотренного для печатной машины пульта управления. Приводные устройства 07; 08 для первого валика 04 и второго валика 06 выполнены предпочтительно в виде электродвигателей 07; 08, например, в виде двигателей переменного или постоянного тока или в виде частотно-управляемых трехфазных электродвигателей 07; 08. Приводное устройство 18 формного цилиндра 09 также может быть выполнено в виде электродвигателя 18 переменного или постоянного тока или в виде частотно-управляемого трехфазного электродвигателя 18 и так же, как и приводные устройства 07; 08 валиков 04; 06 увлажняющего аппарата 01, выполнены с возможностью управления ими. Приводное устройство 18 формного цилиндра 09, в частности, является независимым от приводных устройств 07; 08 валиков 04; 06 увлажняющего аппарата 01; это значит, что не существует, в частности, геометрического замыкания между приводными устройствами 07; 08 валиков 04; 06 и приводным устройством 18 формного цилиндра 09. Совершенно необязательно, чтобы приводное устройство 18 формного цилиндра 09 приводило в действие исключительно только формный цилиндр 09; это приводное устройство 18 передает создаваемый им крутящий момент, по меньшей мере, на формный цилиндр 09, однако при необходимости оно может передавать его также и на взаимодействующий с ним передаточный цилиндр (не показан).
Если это необходимо для регулирования процесса, управление приводными устройствами 07; 08; 18 может быть расширено путем добавления обратной связи, фиксирующей действительное значение величины, и обрабатывающего устройства, которое обрабатывает этот сигнал обратной связи, причем действительное значение частоты вращения валиков 04; 06 или формного цилиндра 09 предпочтительно фиксируется, например, чувствительным элементом, выдающим выходной электрический сигнал. Управление, соответственно регулирование приводных устройств 07; 08; 18 производится с помощью вычислительного устройства (не показано), которое задает коридор для оптимальных настроек.
Первый валик 04 и второй валик 06 увлажняющего аппарата 01 образуют первые валики в валковой цепочке, которая транспортирует увлажняющее средство 02 к формному цилиндру 09, причем поверхностная скорость v04 первого валика 04 и поверхностная скорость v06 второго валика 06 устанавливаются независимо друг от друга и без жесткой зависимости от поверхностной скорости v09 формного цилиндра 09. Поверхностная скорость v04 первого валика 04 или поверхностная скорость v06 второго валика 06, как правило, меньше, чем поверхностная скорость v09 формного цилиндра 09.
Может быть предусмотрено, что в первом режиме работы увлажняющего аппарата 01 поверхностная скорость v09 формного цилиндра 09 и поверхностная скорость v06 второго валика 06 находятся в первом отношении друг к другу, в то время как во втором режиме работы увлажняющего аппарата 01 поверхностные скорости v06; v09 находятся во втором отношении друг к другу. При работе в обоих режимах увлажняющего аппарата 01 поверхностная скорость v09 формного цилиндра 09 может иметь одно и то же значение или принимать отличные друг от друга значения.
Валковая цепочка, транспортирующая увлажняющее средство 02 к формному цилиндру 09, может быть расширена третьим валиком 11 или же четвертым валиком 13, причем третий валик 11 включен за вторым валиком 06, а четвертый валик 13 – за третьим валиком 11. Третий валик 11 связан, например, передачей 12, например, зубчатой передачей 12 или ременным приводом 12, со вторым валиком 06. Альтернативно привод третьего валика 11 осуществляется с помощью трения, например, о второй валик 06 или трения о формный цилиндр 09. Поверхностная скорость v04 валиков в валковой цепочке, транспортирующей увлажняющее средство 02 к формному цилиндру 09, установлена так, что между вторым валиком 06 и третьим валиком 11 или между третьим валиком 11 и четвертым валиком 13 имеется проскальзывание. Между первым валиком 04 и вторым валиком 06 проскальзывание может составлять, например, 1:3, причем первый валик 04 вращается медленнее, чем второй валик 06. Проскальзывание между вторым валиком 06 и третьим валиком 11 может быть выбрано значительно большим, причем третий валик 11 вращается намного быстрее, чем второй валик 06.
Чтобы обеспечить лучшее распределение увлажняющего средства 02 по поверхности валиков 06; 11; 13, расположенных в валковой цепочке, и препятствовать шаблонированию, по меньшей мере, один из этих валиков 06; 11; 13, расположенных за первым валиком 04 в валковой цепочке, может быть выполнен в виде специального переключаемого валика. Целесообразно отцепить предусмотренный для этого привод 19 переключения от привода 07; 08 вращательного движения валиков 06; 11; 13 и выполнить их управляемыми независимо друг от друга. В частности, частота переключаемого (реверсируемого движения) может быть выбрана произвольной. Ход реверсируемого движения составляет, например, ±8 мм. Однако может быть предусмотрен переменно устанавливаемый ход, например, в пределах от 0 мм до 16 мм. Привод 19 переключения (реверсирования) выполнен, например, в виде электродвигателя 19, например, в виде линейного электродвигателя 19. Наносящий увлажняющее средство 02 на формный цилиндр 09 валик 11; 13 приводится во вращение, в частности, формным цилиндром 09 через трение.
Формному цилиндру 09 сопоставлен красочный аппарат 16 с, по меньшей мере, одним красочным накатным валиком 17, устанавливаемым в рабочее положение с формным цилиндром 09, причем посредством красочного накатного валика 17 красочный аппарат 16 окрашивает смонтированную на поверхности формного цилиндра 09 печатную форму (не показана). Преимущественно наносящий увлажняющее средство 02 на формный цилиндр 09 валик 04; 06; 11; 13, т.е. в зависимости от исполнения валковой цепочки второй валик 06, третий валик 11 или четвертый валик 13, в этом случае может быть установлен в рабочее положение, предпочтительно одновременно, с формным цилиндром 09 и с красочным накатным валиком 17 или с красочным растирочным валиком взаимодействующего с формным цилиндром 09 красочного аппарата 16. Таким образом установка валика 04; 06; 11; 13, наносящего увлажняющее средство 02 на формный цилиндр 09, в рабочее положение с красочным накатным валиком 17 может производиться непосредственно или опосредованно через мостовой валик 14, также выполненный в виде красочного растирочного валика 14. В частности, в увлажняющем аппарате 01 с четырьмя валиками 04; 06; 11; 13 в валковой цепочке может быть предусмотрен второй мостовой валик 23, включенный перед первым мостовым валиком 14 (Фиг.1, отмечен штриховой линией), причем этот предвключенный мостовой валик 23 расположен между первым мостовым валиком 14 и третьим валиком 11, т.е. тем валиком, который расположен в валковой цепочке перед четвертым валиком 13, наносящим увлажняющее средство 02 на формный цилиндр 09. Первый мостовой валик 14 предпочтительно закреплен в раме (не показана) и благодаря наличию, по меньшей мере, одного установочного средства, например, дистанционно приводимого в действие рабочего цилиндра, в частности пневмоцилиндра (не показан), выполнен подвижным так, что он, управляемый с пульта, может занимать одно из четырех ниже описываемых рабочих положений. В одном рабочем положении он подведен к красочному накатному валику 17, а не к наносящему увлажняющее средство 02 на формный цилиндр 09 валику 06; 11; 13. В другом рабочем положении мостовой валик 14 подведен к наносящему увлажняющее средство 02 на формный цилиндр 09 валику 06; 11; 13, а не к красочному накатному валику 17. В еще одном рабочем положении мостовой валик 14 одновременно подведен к наносящему увлажняющее средство 02 на формный цилиндр 09 валику 06; 11; 13 и к красочному накатному валику 17, в чем и состоит его нормальное рабочее положение, причем мостовой валик 14 при необходимости может быть дополнительно перемещен в остальные рабочие положения. Кроме того, мостовой валик 14 одновременно может быть отключен от наносящего увлажняющее средство 02 на формный цилиндр 09 валика 06; 11; 13 и от красочного накатного валика 17. Мостовой валик 14 включен тогда, когда он находится в контакте с наносящим увлажняющее средство 02 на формный цилиндр 09 валиком 06; 11; 13 и/или с красочным накатным валиком 17 или, по меньшей мере, находится в активной связи для транспорта краски или увлажняющего средства 02, и выключен тогда, когда его поверхность не касается поверхности одного из названных валиков 06; 11; 13; 17 или поверхности названных валиков 06; 11; 13; 17 не находятся, по меньшей мере, в активной связи для транспорта краски или увлажняющего средства 02. Предвключенный мостовой валик 23 может иметь несколько рабочих положений, реализуемых благодаря тому, что он может быть либо подключен к первому мостовому валику 14 или к третьему валику 11 либо отключен от, по меньшей мере, одного их этих валиков 11; 14, причем предусмотрено, по меньшей мере, одно установочное средство (не показано), например рабочий цилиндр, в частности пневмоцилиндр, причем установочное средство перемещает предвключенный мостовой валик 23 из одного рабочего положения в другое рабочее положение, причем приведение в действие этого установочного средства может производиться предпочтительно также дистанционно, в частности с пульта управления.
При контакте между названными валиками 04; 06; 11; 13 на их поверхности, предпочтительно в их аксиальном направлении, образуется сплющенная полоска шириной от 3 мм до 8 мм, предпочтительно от 5 мм до 6 мм. Между наносящим увлажняющее средство 02 на формный цилиндр 09 валиком 06; 11; 13, соответственно красочным накатным валиком 17 и формным цилиндром 09 сплющенная полоска может иметь ширину от 8 мм до 10 мм. Контакт между названными валиками 04; 06; 11; 13; 17, соответственно формным цилиндром 09 создается, например, вручную с помощью установочного винта предпочтительно путем изменения длины пути, причем установленная ширина полоски в процессе печатания остается неизменной. Если ширина полоски в процессе печатания должна изменяться, то настройку валиков 04; 06; 11; 13; 17 целесообразно проводить с помощью валкового замка, который выполняет радиальный ход, например, по команде, дистанционно передаваемой с пульта управления. Настройка ширины полоски производится, как правило, независимо от поверхностной скорости v09 формного цилиндра 09.
Мостовой валик 14 предпочтительно выполнен в виде специального переключаемого валика и приводится предпочтительно независимо от его относительного движения, например приводом 21 переключения, выполненным предпочтительно в виде управляемого двигателя 21, например, в виде линейного двигателя 21, причем для сообщения ему вращательного движения может быть предусмотрено еще одно, независимое от остальных приводных устройств 07; 08; 18, приводное устройство 22, например двигатель 22, предпочтительно двигатель 22 переменного или постоянного тока или частотно-управляемый трехфазный электродвигатель 22, в частности дистанционно управляемый электродвигатель 22.
Если наносящий увлажняющее средство 02 на формный цилиндр 09 валик 11; 13 приводится в действие трением, то этот валик 11; 13 может быть закреплен в раме таким образом, что возможен его аксиальный ход, например, от 3 мм до 4 мм, причем этот ход выполняется в результате того, что валик увлекается переключаемым движением мостового валика 14. Между наносящим увлажняющее средство 02 на формный цилиндр 09 валиком 11; 13 и формным цилиндром 09 предпочтительно не существует проскальзывания или существует лишь минимальное проскальзывание менее 2%, предпочтительно менее 1%. В особых случаях применения, но опять-таки в качестве альтернативы фрикционному приводу вращательного движения наносящего увлажняющее средство 02 на формный цилиндр 09 валика 11; 13, может быть предусмотрено собственное, независимое от остальных приводных устройств 07; 08; 18; 22 приводное устройство (не показано), например двигатель, предпочтительно двигатель переменного или постоянного тока или частотно-управляемый трехфазный электродвигатель.
Для перевода увлажняющего аппарата 01 из режима “прямое увлажнение” в режим “косвенное увлажнение” может быть предусмотрено, что наносящий увлажняющее средство 02 на формный цилиндр 09 валик 11; 13 может включаться в работу с мостовым валиком 14 или отключаться от него. С этой целью наносящий увлажняющее средство 02 на формный цилиндр 09 валик 11; 13, в данном случае валик 13, на Фиг.2 показан в двух рабочих положениях. В положении, обозначенном штрихпунктирной линией, валик 13 отключен от мостового валика 14. Чтобы наносящий увлажняющее средство 02 на формный цилиндр 09 валик 11; 13 переместить в его заданное рабочее положение, предусмотрено, по меньшей мере, одно предпочтительно дистанционно управляемое, например с пульта, установочное средство (не показано), например рабочий цилиндр, предпочтительно пневмоцилиндр, который перемещает наносящий увлажняющее средство 02 на формный цилиндр 09 валик 11; 13 в отношении мостового валика 14 в одно из двух рабочих положений или отключает от формного цилиндра 09. Наносящий увлажняющее средство 02 на формный цилиндр 09 валик 11; 13 может быть установлен, например, в эксцентриковой втулке, в которой наносящий увлажняющее средство 02 на формный цилиндр 09 валик 11; 13 перемещается установочным средством в свое заданное рабочее положение. Режим “прямое увлажнение” выбирают, если наносящий увлажняющее средство 02 на формный цилиндр 09 валик 11; 13 подключен к формному цилиндру 09 и отключен от мостового валика 14. В этом режиме наносящий увлажняющее средство 02 на формный цилиндр 09 валик 11; 13 наносит увлажняющее средство 02 только на формный цилиндр 09. Режим “косвенное увлажнение” выбирают, если наносящий увлажняющее средство 02 на формный цилиндр 09 валик 11; 13 подключен одновременно к формному цилиндру 09 и к мостовому валику 14. При “косвенном увлажнении” наносящий увлажняющее средство 02 на формный цилиндр 09 валик 11; 13 также в значительной мере транспортирует к формному цилиндру 09 краску, поступающую из красочного аппарата 16.
Можно предусмотреть, чтобы первый валик 04 и второй валик 06 вместе могли отводиться от наносящего увлажняющее средство 02 на формный цилиндр 09 валика 11; 13. Для этого первый валик 04 и второй валик 06 могут быть установлены в общем суппорте, причем суппорт, например, имеет центр вращения, вокруг которого суппорт вращается, благодаря чему первый валик 04 и второй валик 06 вместе откидываются от наносящего увлажняющее средство 02 на формный цилиндр 09 валика 11; 13. Поверхность первого валика 04 выполнена, например, из эластомерного материала, предпочтительно из резины, в частности из материала с твердостью от 20 до 30 единиц по Шору А, предпочтительно около 25 единиц по Шору А. Поверхность второго валика 06 выполнена, например, из керамики или хромсодержащего материала, причем, например, на стержень валика из металлического материала нанесено покрытие из хромсодержащего материала. Поверхность наносящего увлажняющее средство 02 на формный цилиндр 09 валика 11; 13 выполнена также, например, из эластомерного материала, предпочтительно из резины, в частности из материала с твердостью от 25 до 40 единиц по Шору А, предпочтительно около 35 единиц по Шору А. Таким образом, поверхность наносящего увлажняющее средство 02 на формный цилиндр 09 валика 11; 13 выполнена предпочтительно более твердой, чем поверхность первого валика 04. Поверхность второго валика 06 предпочтительно выполнена гораздо более твердой, например, в десять раз более твердой, чем поверхность первого валика 04 или поверхность наносящего увлажняющее средство 02 на формный цилиндр 09 валика 11; 13. Поверхность мостового валика 14 выполнена, например, из пластмассы, предпочтительно из рильсана (Rilsan). Поверхность предвключенного мостового валика 23, напротив, может быть выполнена из эластомерного материала, предпочтительно из резины.
Поверхностная скорость формного цилиндра 09 относится к поверхностным скоростям наносящего увлажняющее средство 02 на формный цилиндр 09 валика 11; 13, третьего валика 11, второго валика 06, первого валика 04 соответственно как, например, 1:(1-0,98), 1:(0,4-0,98), 1:(0,25-0,4), 1:(0,08-0,18), предпочтительно как 1:0,99, 1:0,96, 1:0,33, 1:0,1. При применении только трех валиков в валковой цепочке между формным цилиндром 09 и резервуаром 03 увлажняющего средства отпадает отношение проскальзывания, о котором говорилось выше отдельно для третьего валика 11, потому что третий валик 11 уже является валиком, наносящим увлажняющее средство 02 на формный цилиндр 09.
Перечень позиций
01 – увлажняющий аппарат 01; пленочный увлажняющий аппарат 01
02 – увлажняющее средство; вода; водно-спиртовая смесь
03 – источник увлажняющего средства; резервуар с увлажняющим средством; ящик с увлажняющим средством; ванна
04 – валик, первый; погружной валик; дукторный валик
06 – валик, второй; дозировочный валик; увлажняющий передаточный валик; растирочный (растирочный) валик
07 – приводное устройство; двигатель; двигатель переменного или постоянного тока; трехфазный электродвигатель
08 – приводное устройство; двигатель; двигатель переменного или постоянного тока; трехфазный электродвигатель
09 – формный цилиндр
11 – валик, третий
12 – передача; зубчатая передача; ременная передача
13 – валик, четвертый
14 – мостовой валик; красочный растирочный (растирочный) валик
16 – красочный аппарат
17 – красочный накатный валик
18 – приводное устройство; двигатель; трехфазный электродвигатель
19 – привод реверсирования; двигатель; линейный двигатель
21 – привод реверсирования; двигатель; линейный двигатель
22 – приводное устройство; двигатель; двигатель переменного или постоянного тока; трехфазный электродвигатель
23 – предвключенный мостовой валик
v04 – поверхностная скорость (04)
v06 – поверхностная скорость (06)
Формула изобретения
1. Способ управления первым валиком (04), впитывающим увлажняющее средство (02) из источника (03) увлажняющего средства, и вторым валиком (06), причем валики (04; 06) принадлежат к валковой цепочке увлажняющего аппарата (01), транспортирующей увлажняющее средство (02) к формному цилиндру (09) печатной машины, причем первый валик (04) переносит увлажняющее средство (02) на второй валик (06), причем первый валик (04) приводится в действие от двигателя (07), а второй валик (06) – от другого двигателя (08) и оба валика (04; 06) независимо один от другого устанавливаются на создаваемую соответствующим двигателем (07; 08) поверхностную скорость (v04; v06), отличающийся тем, что между первым и вторым валиками (04; 06) изменяют проскальзывание, причем изменение проскальзывания между первым и вторым валиками (04; 06) производится в зависимости от изменения поверхностной скорости (v09) формного цилиндра (09).
2. Способ по п.1, отличающийся тем, что поверхностную скорость (v04; v06) первого и/или второго валика (04; 06) и/или проскальзывание между первым и вторым валиками (04; 06) устанавливают в зависимости от свойства краски, расходуемой с формного цилиндра (09) в процессе печати, причем свойство краски состоит в количественной доле смешанного с ней увлажняющего средства (02).
3. Способ по п.1, отличающийся тем, что поверхностную скорость (v04; v06) первого и/или второго валика (04; 06) и/или проскальзывание между первым и вторым валиками (04; 06) устанавливают в зависимости от необходимого для изготовления печатного продукта количества краски, расходуемой с формного цилиндра (09) в процессе печати.
4. Способ по п.1, отличающийся тем, что управление обоими валиками (04; 06) производится независимо от поверхностной скорости (v09) формного цилиндра (09).
5. Способ по п.1, отличающийся тем, что поверхностную скорость (v04) первого валика (04) устанавливают меньшей в сравнении с поверхностной скоростью (v06) второго валика (06).
6. Способ по п.1, отличающийся тем, что поверхностную скорость (v04) первого валика (04) или поверхностную скорость (v06) второго валика (06) устанавливают меньшей в сравнении с поверхностной скоростью (v09) формного цилиндра (09).
7. Способ по п.1, отличающийся тем, что первый валик (04) погружается в резервуар (03) с увлажняющим средством для впитывания увлажняющего средства (02).
8. Способ по п.1, отличающийся тем, что увлажняющее средство (02) наносится на первый валик (04) в виде тонко распределенных капелек.
9. Способ по п.1, или 2, или 3, или 4, или 5, или 6, или 7, или 8, отличающийся тем, что поверхностную скорость (v04; v06) первого и/или второго валика (04; 06) и/или проскальзывание между первым и вторым валиками (04; 06) изменяют с помощью вычислительного устройства.
10. Способ управления первым валиком (04), впитывающим увлажняющее средство (02) из источника (03) увлажняющего средства, и вторым валиком (06), причем валики (04; 06) принадлежат к валковой цепочке увлажняющего аппарата (01), транспортирующей увлажняющее средство (02) к формному цилиндру (09) печатной машины, причем первый валик (04) переносит увлажняющее средство (02) на второй валик (06), причем первый валик (04) приводится в действие от двигателя (07), а второй валик (06) – от другого двигателя (08) и оба валика (04; 06) независимо один от другого устанавливаются на создаваемую соответствующим двигателем (07; 08) поверхностную скорость (v04; v06), отличающийся тем, что поверхностную скорость (v04; v06) первого и/или второго валика (04; 06) и/или проскальзывание между первым и вторым валиками (04; 06) устанавливают в зависимости от свойства краски, расходуемой с формного цилиндра (09) в процессе печати, причем краска и увлажняющее средство (02) образуют смесь, причем свойство краски состоит в количественной доле смешанного с ней увлажняющего средства (02).
11. Способ по п.10, отличающийся тем, что поверхностную скорость (v04; v06) первого и/или второго валика (04; 06) устанавливают в зависимости от поверхностной скорости (v09) формного цилиндра (09).
12. Способ по п.10, отличающийся тем, что управление обоими валиками (04; 06) производится независимо от поверхностной скорости (v09) формного цилиндра (09).
13. Способ по п.10, отличающийся тем, что поверхностную скорость (v04) первого валика (04) устанавливают меньшей в сравнении с поверхностной скоростью (v06) второго валика (06).
14. Способ по п.10, отличающийся тем, что поверхностную скорость (v04) первого валика (04) или поверхностную скорость (v06) второго валика (06) устанавливают меньшей в сравнении с поверхностной скоростью (v09) формного цилиндра (09).
15. Способ по п.10, отличающийся тем, что первый валик (04) погружается в резервуар (03) с увлажняющим средством для впитывания увлажняющего средства (02).
16. Способ по п.10, отличающийся тем, что увлажняющее средство (02) наносится на первый валик (04) в виде тонко распределенных капелек.
17. Способ по п.10, или 11, или 12, или 13, или 14, или 15, или 16, отличающийся тем, что поверхностную скорость (v04; v06) первого и/или второго валика (04; 06) и/или проскальзывание между первым и вторым валиками (04; 06) изменяют с помощью вычислительного устройства.
18. Способ управления первым валиком (04), впитывающим увлажняющее средство (02) из источника (03) увлажняющего средства, и вторым валиком (06), причем валики (04; 06) принадлежат к валковой цепочке увлажняющего аппарата (01), транспортирующей увлажняющее средство (02) к формному цилиндру (09) печатной машины, причем первый валик (04) переносит увлажняющее средство (02) на второй валик (06), причем первый валик (04) приводится в действие от двигателя (07), а второй валик (06) – от другого двигателя (08) и оба валика (04; 06) независимо один от другого устанавливаются на создаваемую соответствующим двигателем (07; 08) поверхностную скорость (v04; v06), отличающийся тем, что поверхностную скорость (v04; v06) первого и/или второго валика (04; 06) и/или проскальзывание между первым и вторым валиками (04; 06) устанавливают в зависимости от необходимого для получения печатного продукта количества краски, расходуемой с формного цилиндра (09) в процессе печати.
19. Способ по п.18, отличающийся тем, что поверхностную скорость (v04; v06) первого и/или второго валика (04; 06) устанавливают в зависимости от поверхностной скорости (v09) формного цилиндра (09).
20. Способ по п.18, отличающийся тем, что управление обоими валиками (04; 06) производится независимо от поверхностной скорости (v09) формного цилиндра (09).
21. Способ по п.18, отличающийся тем, что поверхностную скорость (v04) первого валика (04) устанавливают меньшей в сравнении с поверхностной скоростью (v06) второго валика (06).
22. Способ по п.18, отличающийся тем, что поверхностную скорость (v04) первого валика (04) или поверхностную скорость (v06) второго валика (06) устанавливают меньшей в сравнении с поверхностной скоростью (v09) формного цилиндра (09).
23. Способ по п.18, отличающийся тем, что первый валик (04) погружается в резервуар (03) с увлажняющим средством для впитывания увлажняющего средства (02).
24. Способ по п.18, отличающийся тем, что увлажняющее средство (02) наносится на первый валик (04) в виде тонко распределенных капелек.
25. Способ по п.18, или 19, или 20, или 21, или 22, или 23, или 24, отличающийся тем, что поверхностную скорость (v04; v06) первого и/или второго валика (04; 06) и/или проскальзывание между первым и вторым валиками (04; 06) изменяют с помощью вычислительного устройства.
РИСУНКИ
|
|